0001750106 false FY 0001750106 2021-01-01 2021-12-31 0001750106 2021-06-30 0001750106 2022-03-31 0001750106 2021-12-31 0001750106 2020-12-31 0001750106 2020-01-01 2020-12-31 0001750106 AEI:RealEstateRentalMember 2021-01-01 2021-12-31 0001750106 AEI:RealEstateRentalMember 2020-01-01 2020-12-31 0001750106 AEI:RealEstatePropertyMember 2021-01-01 2021-12-31 0001750106 AEI:RealEstatePropertyMember 2020-01-01 2020-12-31 0001750106 AEI:BioHealthMember 2021-01-01 2021-12-31 0001750106 AEI:BioHealthMember 2020-01-01 2020-12-31 0001750106 AEI:OtherMember 2021-01-01 2021-12-31 0001750106 AEI:OtherMember 2020-01-01 2020-12-31 0001750106 us-gaap:PreferredStockMember us-gaap:SeriesAPreferredStockMember 2019-12-31 0001750106 us-gaap:PreferredStockMember us-gaap:SeriesBPreferredStockMember 2019-12-31 0001750106 us-gaap:CommonStockMember 2019-12-31 0001750106 us-gaap:AdditionalPaidInCapitalMember 2019-12-31 0001750106 us-gaap:AccumulatedOtherComprehensiveIncomeMember 2019-12-31 0001750106 us-gaap:RetainedEarningsMember 2019-12-31 0001750106 AEI:AlsetEHomeInternationalStockholdersEquityMember 2019-12-31 0001750106 us-gaap:NoncontrollingInterestMember 2019-12-31 0001750106 2019-12-31 0001750106 us-gaap:PreferredStockMember us-gaap:SeriesAPreferredStockMember 2020-12-31 0001750106 us-gaap:PreferredStockMember us-gaap:SeriesBPreferredStockMember 2020-12-31 0001750106 us-gaap:CommonStockMember 2020-12-31 0001750106 us-gaap:AdditionalPaidInCapitalMember 2020-12-31 0001750106 us-gaap:AccumulatedOtherComprehensiveIncomeMember 2020-12-31 0001750106 us-gaap:RetainedEarningsMember 2020-12-31 0001750106 AEI:AlsetEHomeInternationalStockholdersEquityMember 2020-12-31 0001750106 us-gaap:NoncontrollingInterestMember 2020-12-31 0001750106 us-gaap:PreferredStockMember us-gaap:SeriesAPreferredStockMember 2020-01-01 2020-12-31 0001750106 us-gaap:PreferredStockMember us-gaap:SeriesBPreferredStockMember 2020-01-01 2020-12-31 0001750106 us-gaap:CommonStockMember 2020-01-01 2020-12-31 0001750106 us-gaap:AdditionalPaidInCapitalMember 2020-01-01 2020-12-31 0001750106 us-gaap:AccumulatedOtherComprehensiveIncomeMember 2020-01-01 2020-12-31 0001750106 us-gaap:RetainedEarningsMember 2020-01-01 2020-12-31 0001750106 AEI:AlsetEHomeInternationalStockholdersEquityMember 2020-01-01 2020-12-31 0001750106 us-gaap:NoncontrollingInterestMember 2020-01-01 2020-12-31 0001750106 us-gaap:PreferredStockMember us-gaap:SeriesAPreferredStockMember 2021-01-01 2021-12-31 0001750106 us-gaap:PreferredStockMember us-gaap:SeriesBPreferredStockMember 2021-01-01 2021-12-31 0001750106 us-gaap:CommonStockMember 2021-01-01 2021-12-31 0001750106 us-gaap:AdditionalPaidInCapitalMember 2021-01-01 2021-12-31 0001750106 us-gaap:AccumulatedOtherComprehensiveIncomeMember 2021-01-01 2021-12-31 0001750106 us-gaap:RetainedEarningsMember 2021-01-01 2021-12-31 0001750106 AEI:AlsetEHomeInternationalStockholdersEquityMember 2021-01-01 2021-12-31 0001750106 us-gaap:NoncontrollingInterestMember 2021-01-01 2021-12-31 0001750106 us-gaap:PreferredStockMember us-gaap:SeriesAPreferredStockMember 2021-12-31 0001750106 us-gaap:PreferredStockMember us-gaap:SeriesBPreferredStockMember 2021-12-31 0001750106 us-gaap:CommonStockMember 2021-12-31 0001750106 us-gaap:AdditionalPaidInCapitalMember 2021-12-31 0001750106 us-gaap:AccumulatedOtherComprehensiveIncomeMember 2021-12-31 0001750106 us-gaap:RetainedEarningsMember 2021-12-31 0001750106 AEI:AlsetEHomeInternationalStockholdersEquityMember 2021-12-31 0001750106 us-gaap:NoncontrollingInterestMember 2021-12-31 0001750106 AEI:ChanHengFaiMember 2021-01-01 2021-12-31 0001750106 AEI:AlsetGlobalPteLtdMember 2018-01-31 0001750106 AEI:AlsetGlobalPteLtdMember 2018-09-29 2018-10-01 0001750106 AEI:AlsetGlobalPteLtdMember 2018-10-01 0001750106 2021-12-01 2021-12-31 0001750106 AEI:HengfaiInternationalPteLtdAndHengfaiBusinessDevelopmentPteLtdMember 2020-12-01 2020-12-31 0001750106 2020-12-01 2020-12-31 0001750106 AEI:AlsetInternationalIncMember 2021-12-31 0001750106 AEI:AlsetInternationalIncMember 2020-12-31 0001750106 AEI:HengFaiEnterprisesPteLtdMember 2018-10-01 0001750106 AEI:HengFaiEnterprisesPteLtdMember 2018-09-28 2018-10-01 0001750106 AEI:GlobaleHealthLimitedMember 2018-09-28 2018-10-01 0001750106 AEI:HFEHoldingsLimitedMember 2020-06-23 2020-06-24 0001750106 AEI:ChanHengFaiMember 2020-06-23 2020-06-24 0001750106 2020-11-21 2020-11-24 0001750106 2021-05-11 2021-05-13 0001750106 2021-07-29 2021-07-30 0001750106 2021-12-07 2021-12-08 0001750106 AEI:FKASedIntelligentHomeIncMember 2021-12-31 0001750106 AEI:GigWorldIncMember 2021-12-31 0001750106 AEI:GlobalBioMedicalPteLtdMember 2019-11-08 0001750106 AEI:GlobalBioMedicalPteLtdMember 2021-01-01 2021-12-31 0001750106 AEI:GlobalBioMedicalPteLtdMember 2019-11-08 0001750106 AEI:IgalenInternatonalIncMember 2020-12-30 0001750106 AEI:IgalenInternatonalIncMember 2021-12-30 0001750106 AEI:IgalenInternatonalIncMember 2021-01-01 2021-12-31 0001750106 AEI:IgalenInternatonalIncMember 2020-01-01 2020-12-31 0001750106 AEI:IgalenInternatonalIncMember 2021-12-31 0001750106 AEI:IgalenInternatonalIncMember 2020-12-31 0001750106 AEI:HWHWorldMember 2021-01-01 2021-12-31 0001750106 AEI:HWHWorldMember 2020-01-01 2020-12-31 0001750106 AEI:HWHWorldMember 2021-12-31 0001750106 AEI:HWHWorldMember 2020-12-31 0001750106 AEI:SecuritiesPurchaseAgreementMember AEI:AlsetInternationalLimitedMember 2021-03-12 0001750106 2021-03-09 2021-03-12 0001750106 AEI:SecuritiesPurchaseAgreementMember AEI:TruePartnerCapitalHoldingLimitedMember 2021-03-09 2021-03-12 0001750106 AEI:SecuritiesPurchaseAgreementMember AEI:AmericanPacificBancorpIncMember 2021-03-09 2021-03-12 0001750106 AEI:SecuritiesPurchaseAgreementMember 2021-03-12 0001750106 AEI:AmericanPacificBancorpMember AEI:HengfengFinanceLimitedMember 2020-10-14 2020-10-15 0001750106 AEI:AmericanPacificBancorpMember AEI:HengfengFinanceLimitedMember 2020-10-15 0001750106 2021-03-12 0001750106 AEI:AlsetCPNMember 2021-05-11 2021-06-14 0001750106 AEI:AlsetCPNMember 2021-06-14 0001750106 us-gaap:SeriesBPreferredStockMember AEI:AlsetCPNMember 2021-05-11 2021-06-14 0001750106 AEI:ManufacturersAndTradersTrustCompanyMember srt:MinimumMember 2021-12-31 0001750106 AEI:ManufacturersAndTradersTrustCompanyMember 2021-12-31 0001750106 AEI:ManufacturersAndTradersTrustCompanyMember 2020-12-31 0001750106 country:AU 2021-12-31 0001750106 AEI:LoanAgreementMember AEI:NationalAustralianBankLimitedMember 2021-12-31 0001750106 AEI:LoanAgreementMember AEI:NationalAustralianBankLimitedMember 2020-12-31 0001750106 AEI:BrokerageMember 2021-12-31 0001750106 AEI:BrokerageMember 2020-12-31 0001750106 AEI:AmarantusBioScienceHoldingsMember 2021-12-31 0001750106 AEI:TrustPartnerMember 2021-12-31 0001750106 AEI:GigWorldIncMember AEI:ValueExchangeInternationalMember 2021-04-10 2021-04-12 0001750106 AEI:GigWorldIncMember AEI:ValueExchangeInternationalMember 2021-04-12 0001750106 AEI:ValueExchangeInternationalMember 2021-04-12 0001750106 AEI:DocumentSecuritiesSystemsIncMember 2021-12-31 0001750106 AEI:DocumentSecuritiesSystemsIncMember 2020-12-31 0001750106 AEI:HolistaCollTechLimitedMember 2021-12-31 0001750106 AEI:AmericanPremiumWaterCorpMember 2021-12-31 0001750106 AEI:AmericanMedicalREITIncMember 2021-12-31 0001750106 AEI:AmericanMedicalREITIncMember 2020-12-31 0001750106 AEI:VivacitasMember 2021-01-01 2021-12-31 0001750106 AEI:VivacitasMember 2021-12-31 0001750106 AEI:VivacitasMember 2020-12-31 0001750106 AEI:DocumentSecuritiesSystemsIncMember 2021-03-16 2021-03-18 0001750106 AEI:DocumentSecuritiesSystemsIncMember 2021-03-18 0001750106 AEI:NervotecPteLtdMember 2020-09-06 2020-09-08 0001750106 AEI:NervotecPteLtdMember 2020-09-08 0001750106 AEI:HytenGlobalThailandCoLtdMember 2020-09-28 2020-09-30 0001750106 AEI:HytenGlobalThailandCoLtdMember 2020-09-30 0001750106 AEI:KBeautyResearchLabCoLtdMember 2021-12-31 0001750106 AEI:AmericanMedicalREITIncMember srt:MaximumMember 2021-12-31 0001750106 AEI:BioLifeMember 2018-04-25 0001750106 AEI:QualityIngredientsMember 2018-04-25 0001750106 AEI:SweetSenseMember 2018-04-25 0001750106 AEI:SweetSenseMember 2019-11-08 0001750106 AEI:SweetSenseMember 2019-11-06 2019-11-08 0001750106 AEI:SweetSenseMember 2020-09-30 0001750106 AEI:SeDCapitalPteLtdMember AEI:NovumAlphaPteLtdMember 2021-04-20 0001750106 AEI:SeDCapitalPteLtdMember AEI:CredasCapitalPteLtdMember 2021-04-20 0001750106 us-gaap:CommonStockMember 2021-03-09 2021-03-12 0001750106 AEI:SeriesACommonStockMember 2021-09-07 2021-09-08 0001750106 AEI:AmericanPacificBancorpIncMember 2021-01-01 2021-12-31 0001750106 AEI:AmericanPacificBancorpIncMember 2021-09-08 0001750106 AEI:AmericanPacificBancorpIncMember 2021-09-07 2021-12-31 0001750106 AEI:AmericanPacificBancorpIncMember 2021-12-31 0001750106 AEI:SharingServicesConvertibleNoteMember 2021-12-31 0001750106 AEI:VectorComcoLtdMember 2021-02-26 0001750106 AEI:VectorComcoLtdMember 2021-02-24 2021-02-26 0001750106 AEI:VectorComcoLtdMember 2021-12-31 0001750106 AEI:HWHWorldCoMember 2021-12-31 0001750106 us-gaap:VariableInterestEntityPrimaryBeneficiaryMember 2021-12-31 0001750106 us-gaap:VariableInterestEntityPrimaryBeneficiaryMember 2020-12-31 0001750106 AEI:AMREMember 2021-12-31 0001750106 AEI:AmericanMedicalReitIcbMember 2021-12-31 0001750106 AEI:AmericanMedicalReitIcbMember AEI:LoanOneMember 2021-12-31 0001750106 AEI:AmericanMedicalReitIcbMember us-gaap:SubsequentEventMember 2022-03-03 0001750106 AEI:AmericanMedicalReitIcbMember 2021-01-01 2021-12-31 0001750106 AEI:AmericanMedicalReitIcbMember us-gaap:SubsequentEventMember 2023-11-29 0001750106 AEI:AMREAndAMREManagementMember 2021-12-31 0001750106 AEI:AmericanMedicalReitIcbMember 2020-12-31 0001750106 AEI:CredasCapitalPteLtdMember 2021-12-31 0001750106 AEI:CredasCapitalPteLtdMember 2021-12-01 2021-12-31 0001750106 AEI:CredasCapitalPteLtdMember 2020-12-01 2020-12-31 0001750106 srt:MinimumMember 2021-01-01 2021-12-31 0001750106 srt:MaximumMember 2021-01-01 2021-12-31 0001750106 AEI:BallengerProjectsMember 2021-01-01 2021-12-31 0001750106 AEI:BlackOakProjectsMember 2020-01-01 2020-12-31 0001750106 AEI:FrontFootBenefitAssessmentsMember srt:MinimumMember 2021-01-01 2021-12-31 0001750106 AEI:FrontFootBenefitAssessmentsMember srt:MaximumMember 2021-01-01 2021-12-31 0001750106 AEI:FrontFootBenefitAssessmentsMember 2021-01-01 2021-12-31 0001750106 AEI:FrontFootBenefitAssessmentsMember 2020-01-01 2020-12-31 0001750106 AEI:DeferredRevenueMember 2021-01-01 2021-12-31 0001750106 AEI:DeferredRevenueMember 2020-01-01 2020-12-31 0001750106 AEI:AlsetGlobalPteLtdMember 2021-01-01 2021-12-31 0001750106 AEI:HengfaiInternationalPteLtdMember 2021-01-01 2021-12-31 0001750106 AEI:HengfaiInternationalPteLtdMember 2021-12-31 0001750106 AEI:HengfaiInternationalPteLtdMember 2020-12-31 0001750106 AEI:AlsetBusinessDevelopmentPteLtdMember 2021-01-01 2021-12-31 0001750106 AEI:HengfaiBusinessDevelopmentPteLtdMember 2021-01-01 2021-12-31 0001750106 AEI:HengfaiBusinessDevelopmentPteLtdMember 2021-12-31 0001750106 AEI:HengfaiBusinessDevelopmentPteLtdMember 2020-12-31 0001750106 AEI:ImpactOncologyPteLtdMember 2021-01-01 2021-12-31 0001750106 AEI:ImpactOncologyPteLtdMember 2021-12-31 0001750106 AEI:ImpactOncologyPteLtdMember 2020-12-31 0001750106 AEI:GlobaleHealthLimitedMember 2021-01-01 2021-12-31 0001750106 AEI:GlobaleHealthLimitedMember 2021-12-31 0001750106 AEI:GlobaleHealthLimitedMember 2020-12-31 0001750106 AEI:AlsetInternationalIncMember 2021-01-01 2021-12-31 0001750106 AEI:AlsetInternationalIncMember 2021-12-31 0001750106 AEI:AlsetInternationalIncMember 2020-12-31 0001750106 AEI:SingaporeConstructionDevelopmentPteLtdMember 2021-01-01 2021-12-31 0001750106 AEI:SingaporeConstructionDevelopmentPteLtdMember 2021-12-31 0001750106 AEI:SingaporeConstructionDevelopmentPteLtdMember 2020-12-31 0001750106 AEI:ArtEStudioPteLtdMember 2021-01-01 2021-12-31 0001750106 AEI:ArtEStudioPteLtdMember 2021-12-31 0001750106 AEI:ArtEStudioPteLtdMember 2020-12-31 0001750106 AEI:SingaporeConstructionPteLtdMember 2021-01-01 2021-12-31 0001750106 AEI:SingaporeConstructionPteLtdMember 2021-12-31 0001750106 AEI:SingaporeConstructionPteLtdMember 2020-12-31 0001750106 AEI:GlobalBioMedicalPteLtdMember 2021-01-01 2021-12-31 0001750106 AEI:GlobalBioMedicalPteLtdMember 2021-12-31 0001750106 AEI:GlobalBioMedicalPteLtdMember 2020-12-31 0001750106 AEI:AlsetInnovationPteLtdMember 2021-01-01 2021-12-31 0001750106 AEI:AlsetInnovationPteLtdMember 2021-12-31 0001750106 AEI:AlsetInnovationPteLtdMember 2020-12-31 0001750106 AEI:HealthWealthHappinessPteLtdMember 2021-01-01 2021-12-31 0001750106 AEI:HealthWealthHappinessPteLtdMember 2021-12-31 0001750106 AEI:HealthWealthHappinessPteLtdMember 2020-12-31 0001750106 AEI:SeDCapitalPteLtdMember 2021-01-01 2021-12-31 0001750106 AEI:SeDCapitalPteLtdMember 2021-12-31 0001750106 AEI:SeDCapitalPteLtdMember 2020-12-31 0001750106 AEI:LiquidValueAssetManagementPteLtdMember 2021-01-01 2021-12-31 0001750106 AEI:LiquidValueAssetManagementPteLtdMember 2021-12-31 0001750106 AEI:LiquidValueAssetManagementPteLtdMember 2020-12-31 0001750106 AEI:AlsetSolarLimitedMember 2021-01-01 2021-12-31 0001750106 AEI:AlsetSolarLimitedMember 2021-12-31 0001750106 AEI:AlsetSolarLimitedMember 2020-12-31 0001750106 AEI:AlsetFBOnePteLtdMember 2021-01-01 2021-12-31 0001750106 AEI:AlsetFBOnePteLtdMember 2021-12-31 0001750106 AEI:AlsetFBOnePteLtdMember 2020-12-31 0001750106 AEI:GlobalTechFundOfFundPteLtdMember 2021-01-01 2021-12-31 0001750106 AEI:GlobalTechFundOfFundPteLtdMember 2021-12-31 0001750106 AEI:GlobalTechFundOfFundPteLtdMember 2020-12-31 0001750106 AEI:SingaporeEChainLogisticPteLtdMember 2021-01-01 2021-12-31 0001750106 AEI:SingaporeEChainLogisticPteLtdMember 2021-12-31 0001750106 AEI:SingaporeEChainLogisticPteLtdMember 2020-12-31 0001750106 AEI:BMICapitalPartnersInternationalLimitedMember 2021-01-01 2021-12-31 0001750106 AEI:BMICapitalPartnersInternationalLimitedMember 2021-12-31 0001750106 AEI:BMICapitalPartnersInternationalLimitedMember 2020-12-31 0001750106 AEI:SeDPerthPtyLtdMember 2021-01-01 2021-12-31 0001750106 AEI:SeDPerthPtyLtdMember 2021-12-31 0001750106 AEI:SeDPerthPtyLtdMember 2020-12-31 0001750106 AEI:SeDIntelligentHomeIncMember 2021-01-01 2021-12-31 0001750106 AEI:SeDIntelligentHomeIncMember 2021-12-31 0001750106 AEI:SeDIntelligentHomeIncMember 2020-12-31 0001750106 AEI:LiquidValueDevelopmentIncMember 2021-01-01 2021-12-31 0001750106 AEI:LiquidValueDevelopmentIncMember 2021-12-31 0001750106 AEI:LiquidValueDevelopmentIncMember 2020-12-31 0001750106 AEI:AlsetEHomeIncMember 2021-01-01 2021-12-31 0001750106 AEI:AlsetEHomeIncMember 2021-12-31 0001750106 AEI:AlsetEHomeIncMember 2020-12-31 0001750106 AEI:SeDUSALLCMember 2021-01-01 2021-12-31 0001750106 AEI:SeDUSALLCMember 2021-12-31 0001750106 AEI:SeDUSALLCMember 2020-12-31 0001750106 AEI:OneHundredFiftyBlackOakGPIncMember 2021-01-01 2021-12-31 0001750106 AEI:OneHundredFiftyBlackOakGPIncMember 2021-12-31 0001750106 AEI:OneHundredFiftyBlackOakGPIncMember 2020-12-31 0001750106 AEI:SeDDevelopmentUSAIncMember 2021-01-01 2021-12-31 0001750106 AEI:SeDDevelopmentUSAIncMember 2021-12-31 0001750106 AEI:SeDDevelopmentUSAIncMember 2020-12-31 0001750106 AEI:OneHundredFiftyCCMBlackOakLtdMember 2021-01-01 2021-12-31 0001750106 AEI:OneHundredFiftyCCMBlackOakLtdMember 2021-12-31 0001750106 AEI:OneHundredFiftyCCMBlackOakLtdMember 2020-12-31 0001750106 AEI:SeDTexasHomeLLCMember 2021-01-01 2021-12-31 0001750106 AEI:SeDTexasHomeLLCMember 2021-12-31 0001750106 AEI:SeDTexasHomeLLCMember 2020-12-31 0001750106 AEI:SeDBallengerLLCMember 2021-01-01 2021-12-31 0001750106 AEI:SeDBallengerLLCMember 2021-12-31 0001750106 AEI:SeDBallengerLLCMember 2020-12-31 0001750106 AEI:SeDMarylandDevelopmentLLCMember 2021-01-01 2021-12-31 0001750106 AEI:SeDMarylandDevelopmentLLCMember 2021-12-31 0001750106 AEI:SeDMarylandDevelopmentLLCMember 2020-12-31 0001750106 AEI:SeDDevelopmentManagementLLCMember 2021-01-01 2021-12-31 0001750106 AEI:SeDDevelopmentManagementLLCMember 2021-12-31 0001750106 AEI:SeDDevelopmentManagementLLCMember 2020-12-31 0001750106 AEI:SeDBuilderLLCMember 2021-01-01 2021-12-31 0001750106 AEI:SeDBuilderLLCMember 2021-12-31 0001750106 AEI:SeDBuilderLLCMember 2020-12-31 0001750106 AEI:GigWorldIncMember 2021-01-01 2021-12-31 0001750106 AEI:GigWorldIncMember 2021-12-31 0001750106 AEI:GigWorldIncMember 2020-12-31 0001750106 AEI:HotAppBlockChainPte.LtdMember 2021-01-01 2021-12-31 0001750106 AEI:HotAppBlockChainPte.LtdMember 2021-12-31 0001750106 AEI:HotAppBlockChainPte.LtdMember 2020-12-31 0001750106 AEI:HotAppInternationalLimitedMember 2021-01-01 2021-12-31 0001750106 AEI:HotAppInternationalLimitedMember 2021-12-31 0001750106 AEI:HotAppInternationalLimitedMember 2020-12-31 0001750106 AEI:HWHInternationalIncMember 2021-01-01 2021-12-31 0001750106 AEI:HWHInternationalIncMember 2021-12-31 0001750106 AEI:HWHInternationalIncMember 2020-12-31 0001750106 AEI:HealthWealthHappinessIncMember 2021-01-01 2021-12-31 0001750106 AEI:HealthWealthHappinessIncMember 2021-12-31 0001750106 AEI:HealthWealthHappinessIncMember 2020-12-31 0001750106 AEI:HWHMultiStrategyInvestmentIncMember 2021-01-01 2021-12-31 0001750106 AEI:HWHMultiStrategyInvestmentIncMember 2021-12-31 0001750106 AEI:HWHMultiStrategyInvestmentIncMember 2020-12-31 0001750106 AEI:SeDHomeRentalIncMember 2021-01-01 2021-12-31 0001750106 AEI:SeDHomeRentalIncMember 2021-12-31 0001750106 AEI:SeDHomeRentalIncMember 2020-12-31 0001750106 AEI:SeDREITIncMember 2021-01-01 2021-12-31 0001750106 AEI:SeDREITIncMember 2021-12-31 0001750106 AEI:SeDREITIncMember 2020-12-31 0001750106 AEI:GigStablecoinIncMember 2021-01-01 2021-12-31 0001750106 AEI:GigStablecoinIncMember 2021-12-31 0001750106 AEI:GigStablecoinIncMember 2020-12-31 0001750106 AEI:HWHWorldIncMember 2021-01-01 2021-12-31 0001750106 AEI:HWHWorldIncMember 2021-12-31 0001750106 AEI:HWHWorldIncMember 2020-12-31 0001750106 AEI:HWHWorldPteLtdMember 2021-01-01 2021-12-31 0001750106 AEI:HWHWorldPteLtdMember 2021-12-31 0001750106 AEI:HWHWorldPteLtdMember 2020-12-31 0001750106 AEI:UBeautyLimitedMember 2021-01-01 2021-12-31 0001750106 AEI:UBeautyLimitedMember 2021-12-31 0001750106 AEI:UBeautyLimitedMember 2020-12-31 0001750106 AEI:WeBeautyKoreaIncMember 2021-01-01 2021-12-31 0001750106 AEI:WeBeautyKoreaIncMember 2021-12-31 0001750106 AEI:WeBeautyKoreaIncMember 2020-12-31 0001750106 AEI:HWHWorldLimitedMember 2021-01-01 2021-12-31 0001750106 AEI:HWHWorldLimitedMember 2021-12-31 0001750106 AEI:HWHWorldLimitedMember 2020-12-31 0001750106 AEI:HWHWorldIncOneMember 2021-01-01 2021-12-31 0001750106 AEI:HWHWorldIncOneMember 2021-12-31 0001750106 AEI:HWHWorldIncOneMember 2020-12-31 0001750106 AEI:AlsetBioHealthPteLtdMember 2021-01-01 2021-12-31 0001750106 AEI:AlsetBioHealthPteLtdMember 2021-12-31 0001750106 AEI:AlsetBioHealthPteLtdMember 2020-12-31 0001750106 AEI:AlsetEnergyPteLtdMember 2021-01-01 2021-12-31 0001750106 AEI:AlsetEnergyPteLtdMember 2021-12-31 0001750106 AEI:AlsetEnergyPteLtdMember 2020-12-31 0001750106 AEI:AlsetPaymentIncMember 2021-01-01 2021-12-31 0001750106 AEI:AlsetPaymentIncMember 2021-12-31 0001750106 AEI:AlsetPaymentIncMember 2020-12-31 0001750106 AEI:AlsetWorldPteLtdMember 2021-01-01 2021-12-31 0001750106 AEI:AlsetWorldPteLtdMember 2021-12-31 0001750106 AEI:AlsetWorldPteLtdMember 2020-12-31 0001750106 AEI:BioHealthWaterIncMember 2021-01-01 2021-12-31 0001750106 AEI:BioHealthWaterIncMember 2021-12-31 0001750106 AEI:BioHealthWaterIncMember 2020-12-31 0001750106 AEI:ImpactBioHealthPte.LtdMember 2021-01-01 2021-12-31 0001750106 AEI:ImpactBioHealthPte.LtdMember 2021-12-31 0001750106 AEI:ImpactBioHealthPte.LtdMember 2020-12-31 0001750106 AEI:AmericanHomeREITIncMember 2021-01-01 2021-12-31 0001750106 AEI:AmericanHomeREITIncMember 2021-12-31 0001750106 AEI:AmericanHomeREITIncMember 2020-12-31 0001750106 AEI:AlsetSolarIncMember 2021-01-01 2021-12-31 0001750106 AEI:AlsetSolarIncMember 2021-12-31 0001750106 AEI:AlsetSolarIncMember 2020-12-31 0001750106 AEI:HWHKORIncMember 2021-01-01 2021-12-31 0001750106 AEI:HWHKORIncMember 2021-12-31 0001750106 AEI:HWHKORIncMember 2020-12-31 0001750106 AEI:OpenHouseIncMember 2021-01-01 2021-12-31 0001750106 AEI:OpenHouseIncMember 2021-12-31 0001750106 AEI:OpenHouseIncMember 2020-12-31 0001750106 AEI:OpenRentalIncMember 2021-01-01 2021-12-31 0001750106 AEI:OpenRentalIncMember 2021-12-31 0001750106 AEI:OpenRentalIncMember 2020-12-31 0001750106 AEI:HapiCafeIncNevadaMember 2021-01-01 2021-12-31 0001750106 AEI:HapiCafeIncNevadaMember 2021-12-31 0001750106 AEI:HapiCafeIncNevadaMember 2020-12-31 0001750106 AEI:GlobalSolarREITIncMember 2021-01-01 2021-12-31 0001750106 AEI:GlobalSolarREITIncMember 2021-12-31 0001750106 AEI:GlobalSolarREITIncMember 2020-12-31 0001750106 AEI:OpenBizIncMember 2021-01-01 2021-12-31 0001750106 AEI:OpenBizIncMember 2021-12-31 0001750106 AEI:OpenBizIncMember 2020-12-31 0001750106 AEI:HapiCafeIncTexasMember 2021-01-01 2021-12-31 0001750106 AEI:HapiCafeIncTexasMember 2021-12-31 0001750106 AEI:HapiCafeIncTexasMember 2020-12-31 0001750106 AEI:HWHSPteLtdMember 2021-01-01 2021-12-31 0001750106 AEI:HWHSPteLtdMember 2021-12-31 0001750106 AEI:HWHSPteLtdMember 2020-12-31 0001750106 AEI:TruePartnerInternationalLimitedMember 2021-01-01 2021-12-31 0001750106 AEI:TruePartnerInternationalLimitedMember 2021-12-31 0001750106 AEI:TruePartnerInternationalLimitedMember 2020-12-31 0001750106 AEI:LiquidValueDevelopmentPteLtdMember 2021-01-01 2021-12-31 0001750106 AEI:LiquidValueDevelopmentPteLtdMember 2021-12-31 0001750106 AEI:LiquidValueDevelopmentPteLtdMember 2020-12-31 0001750106 AEI:LiquidValueDevelopmentLimitedMember 2021-01-01 2021-12-31 0001750106 AEI:LiquidValueDevelopmentLimitedMember 2021-12-31 0001750106 AEI:LiquidValueDevelopmentLimitedMember 2020-12-31 0001750106 AEI:AlsetEPowerIncMember 2021-01-01 2021-12-31 0001750106 AEI:AlsetEPowerIncMember 2021-12-31 0001750106 AEI:AlsetEPowerIncMember 2020-12-31 0001750106 AEI:EPowerIncMember 2021-01-01 2021-12-31 0001750106 AEI:EPowerIncMember 2021-12-31 0001750106 AEI:EPowerIncMember 2020-12-31 0001750106 AEI:AHRAssetManagementIncMember 2021-01-01 2021-12-31 0001750106 AEI:AHRAssetManagementIncMember 2021-12-31 0001750106 AEI:AHRAssetManagementIncMember 2020-12-31 0001750106 AEI:HWHWorldIncNevadaMember 2021-01-01 2021-12-31 0001750106 AEI:HWHWorldIncNevadaMember 2021-12-31 0001750106 AEI:HWHWorldIncNevadaMember 2020-12-31 0001750106 AEI:AlsetFBHoldingsPteIncMember 2021-01-01 2021-12-31 0001750106 AEI:AlsetFBHoldingsPteIncMember 2021-12-31 0001750106 AEI:AlsetFBHoldingsPteIncMember 2020-12-31 0001750106 AEI:CredasCapitalPteLtdMember 2021-01-01 2021-12-31 0001750106 AEI:CredasCapitalPteLtdMember 2021-12-31 0001750106 AEI:CredasCapitalPteLtdMember 2020-12-31 0001750106 AEI:SmartRewardExpressLimitedMember 2021-01-01 2021-12-31 0001750106 AEI:SmartRewardExpressLimitedMember 2021-12-31 0001750106 AEI:SmartRewardExpressLimitedMember 2020-12-31 0001750106 AEI:PartnersHWHPteLtdMember 2021-01-01 2021-12-31 0001750106 AEI:PartnersHWHPteLtdMember 2021-12-31 0001750106 AEI:PartnersHWHPteLtdMember 2020-12-31 0001750106 AEI:AHRTexasTwoLLCMember 2021-01-01 2021-12-31 0001750106 AEI:AHRTexasTwoLLCMember 2021-12-31 0001750106 AEI:AHRTexasTwoLLCMember 2020-12-31 0001750106 AEI:AHRBlackOakOneLLCMember 2021-01-01 2021-12-31 0001750106 AEI:AHRBlackOakOneLLCMember 2021-12-31 0001750106 AEI:AHRBlackOakOneLLCMember 2020-12-31 0001750106 AEI:HapiAirIncMember 2021-01-01 2021-12-31 0001750106 AEI:HapiAirIncMember 2021-12-31 0001750106 AEI:HapiAirIncMember 2020-12-31 0001750106 AEI:AHRTexasThreeLLCMember 2021-01-01 2021-12-31 0001750106 AEI:AHRTexasThreeLLCMember 2021-12-31 0001750106 AEI:AHRTexasThreeLLCMember 2020-12-31 0001750106 AEI:AlsetCapitalPteLtdMember 2021-01-01 2021-12-31 0001750106 AEI:AlsetCapitalPteLtdMember 2021-12-31 0001750106 AEI:AlsetCapitalPteLtdMember 2020-12-31 0001750106 AEI:HapiCafeKoreaIncMember 2021-01-01 2021-12-31 0001750106 AEI:HapiCafeKoreaIncMember 2021-12-31 0001750106 AEI:HapiCafeKoreaIncMember 2020-12-31 0001750106 AEI:GreenEnergyIncMember 2021-01-01 2021-12-31 0001750106 AEI:GreenEnergyIncMember 2021-12-31 0001750106 AEI:GreenEnergyIncMember 2020-12-31 0001750106 AEI:GreenEnergyManagementIncMember 2021-01-01 2021-12-31 0001750106 AEI:GreenEnergyManagementIncMember 2021-12-31 0001750106 AEI:GreenEnergyManagementIncMember 2020-12-31 0001750106 AEI:AlsetMetaverseIncMember 2021-01-01 2021-12-31 0001750106 AEI:AlsetMetaverseIncMember 2021-12-31 0001750106 AEI:AlsetMetaverseIncMember 2020-12-31 0001750106 AEI:AlsetManagementGroupIncMember 2021-01-01 2021-12-31 0001750106 AEI:AlsetManagementGroupIncMember 2021-12-31 0001750106 AEI:AlsetManagementGroupIncMember 2020-12-31 0001750106 AEI:AlsetAcquisitionSponsorLLCMember 2021-01-01 2021-12-31 0001750106 AEI:AlsetAcquisitionSponsorLLCMember 2021-12-31 0001750106 AEI:AlsetAcquisitionSponsorLLCMember 2020-12-31 0001750106 AEI:AlsetCapitalAcquisitionCorpMember 2021-01-01 2021-12-31 0001750106 AEI:AlsetCapitalAcquisitionCorpMember 2021-12-31 0001750106 AEI:AlsetCapitalAcquisitionCorpMember 2020-12-31 0001750106 us-gaap:SalesRevenueNetMember us-gaap:CustomerConcentrationRiskMember AEI:CustomerOneMember 2021-01-01 2021-12-31 0001750106 us-gaap:SalesRevenueNetMember us-gaap:CustomerConcentrationRiskMember AEI:CustomerTwoMember 2021-01-01 2021-12-31 0001750106 us-gaap:SalesRevenueNetMember us-gaap:CustomerConcentrationRiskMember AEI:CustomerOneMember 2020-01-01 2020-12-31 0001750106 us-gaap:SalesRevenueNetMember us-gaap:CustomerConcentrationRiskMember AEI:CustomerTwoMember 2020-01-01 2020-12-31 0001750106 AEI:RealEstateSegmentMember 2021-01-01 2021-12-31 0001750106 AEI:DigitalTransformationTechnologyMember 2021-01-01 2021-12-31 0001750106 AEI:BiohealthBusinessMember 2021-01-01 2021-12-31 0001750106 AEI:OtherMember 2021-01-01 2021-12-31 0001750106 AEI:RealEstateSegmentMember 2020-01-01 2020-12-31 0001750106 AEI:DigitalTransformationTechnologyMember 2020-01-01 2020-12-31 0001750106 AEI:BiohealthBusinessMember 2020-01-01 2020-12-31 0001750106 AEI:OtherMember 2020-01-01 2020-12-31 0001750106 AEI:RealEstateSegmentMember 2021-12-31 0001750106 AEI:DigitalTransformationTechnologyMember 2021-12-31 0001750106 AEI:BiohealthBusinessMember 2021-12-31 0001750106 AEI:OtherMember 2021-12-31 0001750106 AEI:RealEstateSegmentMember 2020-12-31 0001750106 AEI:DigitalTransformationTechnologyMember 2020-12-31 0001750106 AEI:BiohealthBusinessMember 2020-12-31 0001750106 AEI:OtherMember 2020-12-31 0001750106 srt:ScenarioPreviouslyReportedMember AEI:PropertySalesMember 2021-01-01 2021-12-31 0001750106 AEI:AmericanPacificBancorpIncAndHengFengFinanceLimitedMember AEI:PropertySalesMember 2021-01-01 2021-12-31 0001750106 AEI:LiquidValueDevelopmentPteLtdMember AEI:PropertySalesMember 2021-01-01 2021-12-31 0001750106 AEI:AsRestatedMember AEI:PropertySalesMember 2021-01-01 2021-12-31 0001750106 srt:ScenarioPreviouslyReportedMember AEI:BiohealthProductSalesMember 2021-01-01 2021-12-31 0001750106 AEI:AmericanPacificBancorpIncAndHengFengFinanceLimitedMember AEI:BiohealthProductSalesMember 2021-01-01 2021-12-31 0001750106 AEI:LiquidValueDevelopmentPteLtdMember AEI:BiohealthProductSalesMember 2021-01-01 2021-12-31 0001750106 AEI:AsRestatedMember AEI:BiohealthProductSalesMember 2021-01-01 2021-12-31 0001750106 srt:ScenarioPreviouslyReportedMember 2021-01-01 2021-12-31 0001750106 AEI:AmericanPacificBancorpIncAndHengFengFinanceLimitedMember 2021-01-01 2021-12-31 0001750106 AEI:LiquidValueDevelopmentPteLtdMember 2021-01-01 2021-12-31 0001750106 AEI:AsRestatedMember 2021-01-01 2021-12-31 0001750106 srt:ScenarioPreviouslyReportedMember 2020-12-31 0001750106 AEI:AmericanPacificBancorpIncMember 2020-12-31 0001750106 AEI:LiquidValueDevelopmentPteLtdMember 2020-12-31 0001750106 AEI:EliminationsMember 2020-12-31 0001750106 AEI:AsRestatedMember 2020-12-31 0001750106 srt:SingleFamilyMember 2021-12-31 0001750106 srt:SingleFamilyMember 2021-01-01 2021-12-31 0001750106 AEI:SeDMarylandDevelopmentLLCMember AEI:LotPurchaseAgreementMember 2015-11-30 0001750106 AEI:SeDMarylandDevelopmentLLCMember AEI:LotPurchaseAgreementMember 2019-01-03 0001750106 AEI:SeDMarylandDevelopmentLLCMember AEI:LotPurchaseAgreementMember 2020-04-28 0001750106 AEI:LotPurchaseAgreementMember 2021-12-31 0001750106 AEI:LotPurchaseAgreementMember 2020-12-31 0001750106 AEI:MAndTBankLoanNetDebtDiscountMember 2021-12-31 0001750106 AEI:MAndTBankLoanNetDebtDiscountMember 2020-12-31 0001750106 AEI:PPPLoanMember 2021-12-31 0001750106 AEI:PPPLoanMember 2020-12-31 0001750106 AEI:AustraliaLoanMember 2021-12-31 0001750106 AEI:AustraliaLoanMember 2020-12-31 0001750106 AEI:HirePurchaseMember 2021-12-31 0001750106 AEI:HirePurchaseMember 2020-12-31 0001750106 AEI:SeDMarylandDevelopmentLLCMember AEI:LoanAgreementMember 2019-04-17 0001750106 AEI:SeDMarylandDevelopmentLLCMember AEI:LoanAgreementMember 2019-04-15 2019-04-17 0001750106 AEI:SeDMarylandDevelopmentLLCMember AEI:LoanAgreementMember 2021-01-01 2021-12-31 0001750106 AEI:AlsetEHomeIncMember AEI:LoanAgreementMember AEI:ManufacturersAndTradersTrustCompanyMember 2020-06-18 0001750106 AEI:AlsetEHomeIncMember AEI:LoanAgreementMember AEI:ManufacturersAndTradersTrustCompanyMember 2020-06-15 2020-06-18 0001750106 AEI:AlsetEHomeIncMember AEI:LoanAgreementMember AEI:ManufacturersAndTradersTrustCompanyMember srt:MinimumMember 2020-06-18 0001750106 AEI:AlsetEHomeIncMember AEI:LoanAgreementMember AEI:ManufacturersAndTradersTrustCompanyMember 2020-01-01 2020-12-31 0001750106 AEI:AlsetEHomeIncMember AEI:LoanAgreementMember AEI:ManufacturersAndTradersTrustCompanyMember 2020-12-31 0001750106 AEI:AlsetEHomeIncMember AEI:LoanAgreementMember AEI:ManufacturersAndTradersTrustCompanyMember 2021-01-01 2021-12-31 0001750106 AEI:PaycheckProtectionProgramLoanMember 2020-04-06 0001750106 2020-11-25 2020-11-26 0001750106 AEI:PaycheckProtectionProgramLoanMember 2021-02-07 2021-02-11 0001750106 AEI:PaycheckProtectionProgramLoanMember 2021-02-11 0001750106 AEI:PaycheckProtectionProgramLoanMember 2021-12-31 0001750106 AEI:SeDPerthPtyLtdMember AEI:AustraliaLoanMember 2017-01-07 0001750106 AEI:SeDPerthPtyLtdMember AEI:AustraliaLoanMember 2017-01-05 2017-01-07 0001750106 AEI:SeDPerthPtyLtdMember AEI:AustraliaLoanMember srt:MinimumMember 2021-12-31 0001750106 AEI:SeDPerthPtyLtdMember AEI:AustraliaLoanMember srt:MaximumMember 2021-12-31 0001750106 AEI:SeDPerthPtyLtdMember AEI:AustraliaLoanMember srt:MinimumMember 2020-12-31 0001750106 AEI:SeDPerthPtyLtdMember AEI:AustraliaLoanMember srt:MaximumMember 2020-12-31 0001750106 AEI:SeDPerthPtyLtdMember AEI:AustraliaLoanMember 2017-09-07 0001750106 AEI:SeDPerthPtyLtdMember AEI:AustraliaLoanMember 2020-01-01 2020-12-31 0001750106 AEI:HirePurchaseAgreementMember 2021-05-17 0001750106 2021-05-16 2021-05-17 0001750106 AEI:DirectorsMember 2021-01-01 2021-12-31 0001750106 AEI:DirectorsMember 2020-01-01 2020-12-31 0001750106 AEI:SharesExchangeAgreementMember us-gaap:CommonStockMember 2020-04-26 2020-04-27 0001750106 AEI:SharesExchangeAgreementMember 2020-04-26 2020-04-27 0001750106 2020-04-26 2020-04-27 0001750106 2020-04-27 0001750106 AEI:ShareExchangeAgreementMember AEI:GlobalBioMedicalPteLtdMember 2020-08-19 2020-08-21 0001750106 AEI:ShareExchangeAgreementMember AEI:DocumentSecuritiesSystemsIncMember us-gaap:PreferredStockMember 2020-08-19 2020-08-21 0001750106 AEI:ShareExchangeAgreementMember AEI:DocumentSecuritiesSystemsIncMember us-gaap:ConvertiblePreferredStockMember 2020-08-21 0001750106 AEI:ShareExchangeAgreementMember AEI:DocumentSecuritiesSystemsIncMember 2020-08-19 2020-08-21 0001750106 AEI:ShareExchangeAgreementMember AEI:DocumentSecuritiesSystemsIncMember 2020-08-21 0001750106 AEI:ShareExchangeAgreementMember AEI:BioMedicalPteLtdMember 2020-08-21 0001750106 AEI:ShareExchangeAgreementMember AEI:GlobalBioMedicalPteLtdMember 2020-08-21 0001750106 us-gaap:PreferredClassAMember 2020-10-16 0001750106 2020-10-14 2020-10-16 0001750106 2020-10-16 0001750106 AEI:HealthWealthHappinessPteLtdMember 2020-12-30 0001750106 AEI:HealthWealthHappinessPteLtdMember 2020-01-01 2020-12-31 0001750106 AEI:IGalenInternationalIncMember 2020-12-30 0001750106 AEI:IGalenIncMember 2020-12-30 0001750106 srt:OfficerMember AEI:IGalenInternationalIncMember 2020-12-30 0001750106 AEI:AmericanMedicalREITIncMember 2020-07-16 2020-07-17 0001750106 AEI:AmericanMedicalREITIncMember 2020-07-17 0001750106 AEI:AmericanPremiumWaterCorpMember 2020-12-31 0001750106 AEI:AmericanPremiumWaterCorpMember 2021-01-01 2021-12-31 0001750106 AEI:StockAndWarrantMember AEI:AmericanPremiumWaterCorpMember 2021-01-01 2021-12-31 0001750106 AEI:DocumentSecuritiesSystemsIncMember 2021-03-16 2021-03-18 0001750106 AEI:VivacitasMember 2021-03-16 2021-03-18 0001750106 AEI:VivacitasMember 2021-03-18 0001750106 AEI:DocumentSecuritiesSystemsIncMember 2021-03-18 0001750106 AEI:TruePartnersCapitalHoldingLimitedMember 2021-03-09 2021-03-12 0001750106 AEI:TruePartnersCapitalHoldingLimitedMember 2021-03-12 0001750106 AEI:ChanHengFaiMember 2020-08-19 2020-08-20 0001750106 AEI:ChanHengFaiMember 2020-08-20 0001750106 AEI:ChanHengFaiMember 2021-12-31 0001750106 AEI:ChanHengFaiMember 2020-12-31 0001750106 2018-05-01 0001750106 AEI:IGalenInternationalIncMember 2018-05-01 0001750106 2019-03-08 0001750106 2019-03-27 0001750106 2019-04-23 0001750106 2019-08-13 0001750106 2019-08-12 2019-08-13 0001750106 AEI:IGalenInternationalIncMember 2020-01-01 2020-12-31 0001750106 AEI:IGalenInternationalIncMember 2020-12-31 0001750106 2020-06-30 0001750106 AEI:SecuritiesPurchaseAgreementMember AEI:LiquidValueDevelopmentPteLtdMember 2021-03-09 2021-03-12 0001750106 AEI:AlsetCPNMember 2021-06-11 2021-06-14 0001750106 us-gaap:SeriesBPreferredStockMember AEI:AlsetCPNMember 2021-06-12 2021-06-14 0001750106 AEI:AlsetCPNMember 2021-06-12 2021-06-14 0001750106 AEI:ChanHengFaiMember 2021-05-14 0001750106 AEI:ChanHengFaiMember 2021-12-31 0001750106 AEI:ChanHengFaiMember AEI:HengfengFinanceLimitedMember 2021-12-31 0001750106 AEI:ChanHengFaiMember AEI:HengfengFinanceLimitedMember 2020-12-31 0001750106 AEI:MacKenzieEquityPartnersMember 2017-12-30 2018-01-01 0001750106 AEI:MacKenzieEquityPartnersMember 2021-01-01 2021-12-31 0001750106 AEI:MacKenzieEquityPartnersMember 2020-01-01 2020-12-31 0001750106 AEI:CharlesMacKenzieMember 2021-12-31 0001750106 AEI:MacKenzieEquityPartnersMember 2021-12-31 0001750106 AEI:MacKenzieEquityPartnersMember 2020-12-31 0001750106 AEI:MacKenzieEquityPartnersMember AEI:ConnFlaniganMember 2021-01-01 2021-12-31 0001750106 AEI:MacKenzieEquityPartnersMember AEI:ConnFlaniganMember 2020-01-01 2020-12-31 0001750106 AEI:ChanTungMoeMember 2020-01-01 2020-12-31 0001750106 2017-02-01 0001750106 2020-01-23 0001750106 AEI:AmericanMedicalREITIncMember 2020-03-02 0001750106 AEI:AmericanMedicalREITIncMember 2021-10-29 0001750106 AEI:LiquidValueDevelopmentPteLtdMember srt:MaximumMember 2020-03-02 0001750106 AEI:AmericanMedicalREITIncMember 2020-02-29 2020-03-02 0001750106 AEI:SeDPerthPtyLtdMember 2021-01-24 0001750106 AEI:SeDCapitalPteLtdMember AEI:IGalenInternationalMember 2017-01-24 0001750106 AEI:SeDCapitalPteLtdMember AEI:IGalenInternationalMember 2017-01-23 2017-01-24 0001750106 AEI:SeDCapitalPteLtdMember AEI:IGalenInternationalMember 2020-12-31 0001750106 AEI:SeDCapitalPteLtdMember AEI:IGalenInternationalMember 2021-01-01 2021-12-31 0001750106 AEI:HWHWorldCoMember 2021-01-01 2021-12-31 0001750106 AEI:HWHWorldCoMember 2021-12-31 0001750106 AEI:JointVentureAgreementMember 2021-04-20 0001750106 AEI:SeDCapitalPteLtdMember 2021-04-19 2021-04-20 0001750106 AEI:ShareholderMember 2021-04-20 0001750106 AEI:SeDCapitalPteLtdMember 2021-04-20 0001750106 AEI:SeDCapitalPteLtdMember 2021-04-19 2021-04-20 0001750106 AEI:SeDCapitalPteLtdMember 2021-12-31 0001750106 AEI:ChanTungMoeMember AEI:AmericanPacificBancorpIncMember 2020-11-24 0001750106 AEI:ChanTungMoeMember AEI:AmericanPacificBancorpIncMember 2020-11-22 2020-11-24 0001750106 AEI:LimShengHonDannyMember AEI:AmericanPacificBancorpIncMember 2020-11-24 0001750106 AEI:LimShengHonDannyMember AEI:AmericanPacificBancorpIncMember 2020-11-22 2020-11-24 0001750106 AEI:ChanTungMoeMember AEI:AmericanPacificBancorpIncMember 2021-01-01 2021-12-31 0001750106 AEI:LimShengHonDannyMember AEI:AmericanPacificBancorpIncMember 2021-01-01 2021-12-31 0001750106 AEI:StockholdersMember AEI:HFEHoldingsLimitedMember 2021-06-24 0001750106 AEI:ChanHengFaiMember 2021-06-24 0001750106 AEI:HFEHoldingsLimitedMember 2020-06-22 0001750106 AEI:HFEHoldingsLimitedMember 2020-06-24 0001750106 us-gaap:IPOMember 2020-11-21 2020-11-23 0001750106 us-gaap:IPOMember 2020-11-23 0001750106 us-gaap:OverAllotmentOptionMember 2020-11-21 2020-11-23 0001750106 us-gaap:CommonStockMember 2020-11-23 0001750106 us-gaap:IPOMember AEI:RepresentativesWarrantsMember 2021-12-31 0001750106 us-gaap:IPOMember 2021-12-31 0001750106 2021-06-14 0001750106 us-gaap:SeriesAPreferredStockMember 2021-09-30 0001750106 us-gaap:SeriesBPreferredStockMember 2021-09-30 0001750106 AEI:SeriesAConvertiblePreferredStockMember 2021-06-14 0001750106 us-gaap:SeriesBPreferredStockMember 2021-06-14 0001750106 2021-01-18 2021-01-19 0001750106 AEI:SeriesAConvertiblePreferredStockMember 2021-04-27 2021-05-03 0001750106 AEI:ChanHengFaiMember us-gaap:SeriesAPreferredStockMember 2021-04-27 2021-05-03 0001750106 AEI:ChanHengFaiMember us-gaap:SeriesBPreferredStockMember 2021-05-11 2021-05-12 0001750106 us-gaap:CommonStockMember AEI:UnderwrittenPublicOfferingMember 2021-05-09 2021-05-10 0001750106 us-gaap:CommonStockMember AEI:UnderwrittenPublicOfferingMember 2021-05-10 0001750106 AEI:SeriesAWarrantMember AEI:UnderwrittenPublicOfferingMember 2021-05-10 0001750106 AEI:SeriesBWarrantMember AEI:UnderwrittenPublicOfferingMember 2021-05-10 0001750106 AEI:PreFundedUnitsMember AEI:UnderwrittenPublicOfferingMember 2021-05-09 2021-05-10 0001750106 AEI:PreFundedUnitsMember AEI:UnderwrittenPublicOfferingMember 2021-05-10 0001750106 AEI:PreFundedUnitsMember AEI:UnderwrittenPublicOfferingMember AEI:InvestorsMember 2021-05-09 2021-05-10 0001750106 us-gaap:CommonStockMember us-gaap:OverAllotmentOptionMember 2021-05-09 2021-05-10 0001750106 AEI:SeriesAWarrantMember us-gaap:OverAllotmentOptionMember 2021-05-09 2021-05-10 0001750106 AEI:SeriesBWarrantMember us-gaap:OverAllotmentOptionMember 2021-05-10 0001750106 AEI:SeriesAWarrantMember us-gaap:OverAllotmentOptionMember 2021-05-11 2021-05-13 0001750106 AEI:SeriesBWarrantMember us-gaap:OverAllotmentOptionMember 2021-05-11 2021-05-13 0001750106 us-gaap:CommonStockMember us-gaap:OverAllotmentOptionMember AEI:AegisCapitalCorpMember 2021-06-30 0001750106 us-gaap:CommonStockMember us-gaap:OverAllotmentOptionMember AEI:AegisCapitalCorpMember 2021-06-17 0001750106 AEI:SeriesBWarrantMember us-gaap:OverAllotmentOptionMember AEI:AegisCapitalCorpMember 2021-09-30 0001750106 AEI:SeriesAWarrantMember AEI:InvestorsMember 2021-06-30 0001750106 AEI:SeriesBWarrantMember AEI:InvestorsMember 2021-05-10 0001750106 2021-09-30 0001750106 us-gaap:CommonStockMember 2021-01-01 2021-09-30 0001750106 AEI:AlsetInternationalLimitedMember 2021-01-01 2021-09-30 0001750106 us-gaap:CommonStockMember AEI:UnderwrittenPublicOfferingMember 2021-06-29 2021-07-27 0001750106 us-gaap:CommonStockMember AEI:UnderwrittenPublicOfferingMember 2021-07-27 0001750106 AEI:PreFundedUnitsMember AEI:UnderwrittenPublicOfferingMember 2021-06-29 2021-07-27 0001750106 AEI:PreFundedUnitsMember AEI:UnderwrittenPublicOfferingMember 2021-07-27 0001750106 us-gaap:CommonStockMember us-gaap:OverAllotmentOptionMember 2021-07-27 0001750106 AEI:PrefundedWarrantsMember us-gaap:OverAllotmentOptionMember 2021-07-27 0001750106 AEI:PrefundedWarrantsMember AEI:UnderwrittenPublicOfferingMember 2021-07-26 2021-07-27 0001750106 AEI:PrefundedWarrantsMember AEI:UnderwrittenPublicOfferingMember 2021-07-27 0001750106 2021-07-26 2021-07-27 0001750106 us-gaap:CommonStockMember us-gaap:OverAllotmentOptionMember 2021-09-01 2021-09-30 0001750106 AEI:JulysOfferingMember 2021-12-31 0001750106 us-gaap:CommonStockMember AEI:UnderwrittenPublicOfferingMember 2021-12-01 2021-12-05 0001750106 us-gaap:CommonStockMember AEI:UnderwrittenPublicOfferingMember 2021-12-05 0001750106 AEI:PreFundedUnitsMember AEI:UnderwrittenPublicOfferingMember 2021-12-05 0001750106 AEI:PreFundedUnitsMember AEI:UnderwrittenPublicOfferingMember 2021-12-01 2021-12-05 0001750106 us-gaap:CommonStockMember us-gaap:OverAllotmentOptionMember 2021-12-05 0001750106 AEI:PrefundedWarrantsMember us-gaap:OverAllotmentOptionMember 2021-12-14 0001750106 2021-12-14 0001750106 AEI:PrefundedWarrantsMember AEI:UnderwrittenOverAllotmentMember 2021-12-14 0001750106 us-gaap:CommonStockMember us-gaap:OverAllotmentOptionMember 2021-12-12 2021-12-14 0001750106 us-gaap:CommonStockMember us-gaap:OverAllotmentOptionMember 2021-12-01 2021-12-05 0001750106 AEI:DecembersOfferingMember 2021-12-31 0001750106 AEI:GigWorldMember 2021-01-01 2021-12-31 0001750106 AEI:GigWorldMember 2021-12-31 0001750106 AEI:GigWorldMember AEI:InternationalInvestorsMember 2021-12-31 0001750106 AEI:GigWorldMember 2020-01-01 2020-12-31 0001750106 AEI:GigWorldMember 2020-12-31 0001750106 AEI:GigWorldMember AEI:InternationalInvestorsMember 2020-12-31 0001750106 AEI:AlsetInternationalLimitedMember 2020-12-31 0001750106 AEI:AlsetInternationalLimitedMember 2020-01-01 2020-12-31 0001750106 AEI:AlsetInternationalLimitedMember AEI:EmployeesMember 2020-03-26 2020-03-27 0001750106 AEI:AlsetInternationalLimitedMember AEI:EmployeesMember 2020-03-27 0001750106 AEI:AlsetInternationalLimitedMember srt:DirectorMember 2020-06-04 2020-06-05 0001750106 AEI:AlsetInternationalLimitedMember AEI:EmployeesMember 2020-06-05 0001750106 AEI:ChanHengFaiMember 2020-08-19 2020-08-20 0001750106 AEI:AlsetInternationalLimitedMember 2020-12-30 0001750106 AEI:AlsetInternationalLimitedMember 2021-12-31 0001750106 AEI:AlsetInternationalLimitedMember 2021-01-01 2021-12-31 0001750106 AEI:AlsetInternationalLimitedMember srt:OfficerMember 2021-01-01 2021-12-31 0001750106 AEI:AlsetInternationalLimitedMember 2021-09-30 0001750106 2020-07-13 0001750106 2020-07-12 2020-07-13 0001750106 AEI:MaysOfferingMember AEI:OfferingMember 2021-12-31 0001750106 AEI:MaysOfferingMember AEI:OfferingMember 2021-01-01 2021-12-31 0001750106 AEI:MaysOfferingMember AEI:ExerciseOfPreFundedWarrantsMember 2021-12-31 0001750106 AEI:MaysOfferingMember AEI:ExerciseOfPreFundedWarrantsMember 2021-01-01 2021-12-31 0001750106 AEI:MaysOfferingMember AEI:ExerciseOfUnderwritersSeriesAWarrantsMember 2021-12-31 0001750106 AEI:MaysOfferingMember AEI:ExerciseOfUnderwritersSeriesAWarrantsMember 2021-01-01 2021-12-31 0001750106 AEI:MaysOfferingMember AEI:ExerciseOfSeriesAAndSeriesBWarrantsMember 2021-12-31 0001750106 AEI:MaysOfferingMember AEI:ExerciseOfSeriesAAndSeriesBWarrantsMember 2021-01-01 2021-12-31 0001750106 AEI:MaysOfferingMember AEI:OfferingExpensesMember 2021-12-31 0001750106 AEI:MaysOfferingMember AEI:OfferingExpensesMember 2021-01-01 2021-12-31 0001750106 AEI:MaysOfferingMember 2021-12-31 0001750106 AEI:MaysOfferingMember 2021-01-01 2021-12-31 0001750106 AEI:JulysOfferingMember AEI:OfferingMember 2021-12-31 0001750106 AEI:JulysOfferingMember AEI:OfferingMember 2021-01-01 2021-12-31 0001750106 AEI:JulysOfferingMember AEI:ExerciseOfPreFundedWarrantsMember 2021-12-31 0001750106 AEI:JulysOfferingMember AEI:ExerciseOfPreFundedWarrantsMember 2021-01-01 2021-12-31 0001750106 AEI:JulysOfferingMember AEI:ExerciseOfUnderwritersOverAllotmentOptionMember 2021-12-31 0001750106 AEI:JulysOfferingMember AEI:ExerciseOfUnderwritersOverAllotmentOptionMember 2021-01-01 2021-12-31 0001750106 AEI:JulysOfferingMember AEI:OfferingExpensesMember 2021-12-31 0001750106 AEI:JulysOfferingMember AEI:OfferingExpensesMember 2021-01-01 2021-12-31 0001750106 AEI:JulysOfferingMember 2021-01-01 2021-12-31 0001750106 AEI:DecembersOfferingMember AEI:OfferingMember 2021-12-31 0001750106 AEI:DecembersOfferingMember AEI:OfferingMember 2021-01-01 2021-12-31 0001750106 AEI:DecembersOfferingMember AEI:ExerciseOfPreFundedWarrantsMember 2021-12-31 0001750106 AEI:DecembersOfferingMember AEI:ExerciseOfPreFundedWarrantsMember 2021-01-01 2021-12-31 0001750106 AEI:DecembersOfferingMember AEI:ExerciseOfUnderwritersOverAllotmentOptionMember 2021-12-31 0001750106 AEI:DecembersOfferingMember AEI:ExerciseOfUnderwritersOverAllotmentOptionMember 2021-01-01 2021-12-31 0001750106 AEI:DecembersOfferingMember AEI:OfferingExpensesMember 2021-12-31 0001750106 AEI:DecembersOfferingMember AEI:OfferingExpensesMember 2021-01-01 2021-12-31 0001750106 AEI:DecembersOfferingMember 2021-01-01 2021-12-31 0001750106 us-gaap:AccumulatedNetUnrealizedInvestmentGainLossMember 2020-12-31 0001750106 us-gaap:AccumulatedTranslationAdjustmentMember 2020-12-31 0001750106 us-gaap:AociAttributableToNoncontrollingInterestMember 2020-12-31 0001750106 us-gaap:AccumulatedNetUnrealizedInvestmentGainLossMember 2021-01-01 2021-12-31 0001750106 us-gaap:AccumulatedTranslationAdjustmentMember 2021-01-01 2021-12-31 0001750106 us-gaap:AociAttributableToNoncontrollingInterestMember 2021-01-01 2021-12-31 0001750106 us-gaap:AccumulatedNetUnrealizedInvestmentGainLossMember 2021-12-31 0001750106 us-gaap:AccumulatedTranslationAdjustmentMember 2021-12-31 0001750106 us-gaap:AociAttributableToNoncontrollingInterestMember 2021-12-31 0001750106 us-gaap:AccumulatedNetUnrealizedInvestmentGainLossMember 2019-12-31 0001750106 us-gaap:AccumulatedTranslationAdjustmentMember 2019-12-31 0001750106 us-gaap:AociAttributableToNoncontrollingInterestMember 2019-12-31 0001750106 us-gaap:AccumulatedNetUnrealizedInvestmentGainLossMember 2020-01-01 2020-12-31 0001750106 us-gaap:AccumulatedTranslationAdjustmentMember 2020-01-01 2020-12-31 0001750106 us-gaap:AociAttributableToNoncontrollingInterestMember 2020-01-01 2020-12-31 0001750106 AEI:ShareExchangeAgreementMember AEI:DocumentSecuritiesSystemsIncMember 2020-04-26 2020-04-27 0001750106 AEI:ShareExchangeAgreementMember AEI:DocumentSecuritiesSystemsIncMember us-gaap:ConvertiblePreferredStockMember 2020-04-26 2020-04-27 0001750106 AEI:ShareExchangeAgreementMember AEI:DocumentSecuritiesSystemsIncMember us-gaap:ConvertiblePreferredStockMember 2020-04-27 0001750106 AEI:ShareExchangeAgreementMember AEI:DocumentSecuritiesSystemsIncMember us-gaap:ConvertiblePreferredStockMember 2020-08-19 2020-08-21 0001750106 AEI:GlobalBioMedicalPteLtdMember AEI:SeriesAConvertiblePreferredStockMember 2020-09-01 2020-09-30 0001750106 AEI:GlobalBioMedicalPteLtdMember 2020-09-01 2020-09-30 0001750106 AEI:ShareExchangeAgreementMember AEI:BioMedicalPteLtdMember 2020-08-19 2020-08-21 0001750106 AEI:DSSConvertiblePreferredStockMember 2021-01-01 2021-12-31 0001750106 AEI:SharingServicesConvertibleNoteMember 2021-01-01 2021-12-31 0001750106 AEI:APWWarrantsMember 2021-01-01 2021-12-31 0001750106 us-gaap:EquityMethodInvestmentsMember 2021-12-31 0001750106 us-gaap:EquityMethodInvestmentsMember us-gaap:FairValueInputsLevel1Member 2021-12-31 0001750106 us-gaap:EquityMethodInvestmentsMember us-gaap:FairValueInputsLevel2Member 2021-12-31 0001750106 us-gaap:EquityMethodInvestmentsMember us-gaap:FairValueInputsLevel3Member 2021-12-31 0001750106 AEI:InvestmentsSecuritiesTradingMember 2021-12-31 0001750106 AEI:InvestmentsSecuritiesTradingMember us-gaap:FairValueInputsLevel1Member 2021-12-31 0001750106 AEI:InvestmentsSecuritiesTradingMember us-gaap:FairValueInputsLevel2Member 2021-12-31 0001750106 AEI:InvestmentsSecuritiesTradingMember us-gaap:FairValueInputsLevel3Member 2021-12-31 0001750106 us-gaap:NotesReceivableMember 2021-12-31 0001750106 us-gaap:NotesReceivableMember us-gaap:FairValueInputsLevel1Member 2021-12-31 0001750106 us-gaap:NotesReceivableMember us-gaap:FairValueInputsLevel2Member 2021-12-31 0001750106 us-gaap:NotesReceivableMember us-gaap:FairValueInputsLevel3Member 2021-12-31 0001750106 us-gaap:WarrantMember AEI:AmericanPremiumWaterCorpMember 2021-12-31 0001750106 us-gaap:WarrantMember AEI:AmericanPremiumWaterCorpMember us-gaap:FairValueInputsLevel1Member 2021-12-31 0001750106 us-gaap:WarrantMember AEI:AmericanPremiumWaterCorpMember us-gaap:FairValueInputsLevel2Member 2021-12-31 0001750106 us-gaap:WarrantMember AEI:AmericanPremiumWaterCorpMember us-gaap:FairValueInputsLevel3Member 2021-12-31 0001750106 us-gaap:WarrantMember AEI:AmericanMedicalREITIncMember 2021-12-31 0001750106 us-gaap:WarrantMember AEI:AmericanMedicalREITIncMember us-gaap:FairValueInputsLevel1Member 2021-12-31 0001750106 us-gaap:WarrantMember AEI:AmericanMedicalREITIncMember us-gaap:FairValueInputsLevel2Member 2021-12-31 0001750106 us-gaap:WarrantMember AEI:AmericanMedicalREITIncMember us-gaap:FairValueInputsLevel3Member 2021-12-31 0001750106 us-gaap:FairValueInputsLevel1Member 2021-12-31 0001750106 us-gaap:FairValueInputsLevel2Member 2021-12-31 0001750106 us-gaap:FairValueInputsLevel3Member 2021-12-31 0001750106 us-gaap:EquityMethodInvestmentsMember 2020-12-31 0001750106 us-gaap:EquityMethodInvestmentsMember us-gaap:FairValueInputsLevel1Member 2020-12-31 0001750106 us-gaap:EquityMethodInvestmentsMember us-gaap:FairValueInputsLevel2Member 2020-12-31 0001750106 us-gaap:EquityMethodInvestmentsMember us-gaap:FairValueInputsLevel3Member 2020-12-31 0001750106 AEI:InvestmentsSecuritiesTradingMember 2020-12-31 0001750106 AEI:InvestmentsSecuritiesTradingMember us-gaap:FairValueInputsLevel1Member 2020-12-31 0001750106 AEI:InvestmentsSecuritiesTradingMember us-gaap:FairValueInputsLevel2Member 2020-12-31 0001750106 AEI:InvestmentsSecuritiesTradingMember us-gaap:FairValueInputsLevel3Member 2020-12-31 0001750106 us-gaap:ConvertiblePreferredStockMember 2020-12-31 0001750106 us-gaap:ConvertiblePreferredStockMember us-gaap:FairValueInputsLevel1Member 2020-12-31 0001750106 us-gaap:ConvertiblePreferredStockMember us-gaap:FairValueInputsLevel2Member 2020-12-31 0001750106 us-gaap:ConvertiblePreferredStockMember us-gaap:FairValueInputsLevel3Member 2020-12-31 0001750106 us-gaap:NotesReceivableMember 2020-12-31 0001750106 us-gaap:NotesReceivableMember us-gaap:FairValueInputsLevel1Member 2020-12-31 0001750106 us-gaap:NotesReceivableMember us-gaap:FairValueInputsLevel2Member 2020-12-31 0001750106 us-gaap:NotesReceivableMember us-gaap:FairValueInputsLevel3Member 2020-12-31 0001750106 us-gaap:WarrantMember AEI:AmericanPremiumWaterCorpMember 2020-12-31 0001750106 us-gaap:WarrantMember AEI:AmericanPremiumWaterCorpMember us-gaap:FairValueInputsLevel1Member 2020-12-31 0001750106 us-gaap:WarrantMember AEI:AmericanPremiumWaterCorpMember us-gaap:FairValueInputsLevel2Member 2020-12-31 0001750106 us-gaap:WarrantMember AEI:AmericanPremiumWaterCorpMember us-gaap:FairValueInputsLevel3Member 2020-12-31 0001750106 us-gaap:WarrantMember AEI:AmericanMedicalREITIncMember 2020-12-31 0001750106 us-gaap:WarrantMember AEI:AmericanMedicalREITIncMember us-gaap:FairValueInputsLevel1Member 2020-12-31 0001750106 us-gaap:WarrantMember AEI:AmericanMedicalREITIncMember us-gaap:FairValueInputsLevel2Member 2020-12-31 0001750106 AEI:AmericanMedicalREITIncMember us-gaap:WarrantMember us-gaap:FairValueInputsLevel3Member 2020-12-31 0001750106 us-gaap:OptionMember AEI:VivacitasMember 2020-12-31 0001750106 us-gaap:OptionMember AEI:VivacitasMember us-gaap:FairValueInputsLevel1Member 2020-12-31 0001750106 us-gaap:OptionMember AEI:VivacitasMember us-gaap:FairValueInputsLevel2Member 2020-12-31 0001750106 us-gaap:OptionMember AEI:VivacitasMember us-gaap:FairValueInputsLevel3Member 2020-12-31 0001750106 us-gaap:FairValueInputsLevel1Member 2020-12-31 0001750106 us-gaap:FairValueInputsLevel2Member 2020-12-31 0001750106 us-gaap:FairValueInputsLevel3Member 2020-12-31 0001750106 AEI:DSSConvertiblePreferredStockMember 2020-12-31 0001750106 AEI:DSSConvertiblePreferredStockMember 2020-01-01 2020-12-31 0001750106 AEI:DSSConvertiblePreferredStockMember 2020-08-21 0001750106 AEI:DSSConvertiblePreferredStockMember 2020-08-19 2020-08-21 0001750106 AEI:GlobalBioMedicalPteLtdMember AEI:SeriesAConvertiblePreferredStockMember 2021-01-01 2021-12-31 0001750106 AEI:SharingServicesIncMember us-gaap:NotesReceivableMember us-gaap:MeasurementInputExpectedDividendRateMember us-gaap:FairValueInputsLevel3Member 2021-12-31 0001750106 AEI:AmericanMedicalREITIncMember 2020-07-16 2020-07-17 0001750106 AEI:AmericanMedicalREITIncMember 2020-07-17 0001750106 AEI:AmericanMedicalREITIncMember 2021-01-01 2021-12-31 0001750106 us-gaap:WarrantMember AEI:AmericanMedicalREITIncMember 2020-12-31 0001750106 us-gaap:WarrantMember AEI:AmericanMedicalREITIncMember 2021-12-31 0001750106 AEI:DocumentSecuritiesSystemsIncMember us-gaap:FairValueInputsLevel1Member 2021-12-31 0001750106 AEI:DocumentSecuritiesSystemsIncMember us-gaap:FairValueInputsLevel1Member 2021-01-01 2021-12-31 0001750106 AEI:AmarantusBioScienceHoldingsMember us-gaap:FairValueInputsLevel1Member 2021-12-31 0001750106 AEI:AmarantusBioScienceHoldingsMember us-gaap:FairValueInputsLevel1Member 2021-01-01 2021-12-31 0001750106 AEI:HolistaCollTechLimitedMember us-gaap:FairValueInputsLevel1Member 2021-12-31 0001750106 AEI:HolistaCollTechLimitedMember us-gaap:FairValueInputsLevel1Member 2021-01-01 2021-12-31 0001750106 AEI:AmericanPremiumWaterCorpMember us-gaap:FairValueInputsLevel1Member 2021-12-31 0001750106 AEI:AmericanPremiumWaterCorpMember us-gaap:FairValueInputsLevel1Member 2021-01-01 2021-12-31 0001750106 AEI:TruePartnerCapitalHoldingLimitedMember us-gaap:FairValueInputsLevel1Member 2021-12-31 0001750106 AEI:TruePartnerCapitalHoldingLimitedMember us-gaap:FairValueInputsLevel1Member 2021-01-01 2021-12-31 0001750106 AEI:ValueExchangeInternationalIncMember us-gaap:FairValueInputsLevel1Member 2021-12-31 0001750106 AEI:ValueExchangeInternationalIncMember us-gaap:FairValueInputsLevel1Member 2021-01-01 2021-12-31 0001750106 AEI:TradingStocksMember us-gaap:FairValueInputsLevel1Member 2021-12-31 0001750106 AEI:TradingStocksMember us-gaap:FairValueInputsLevel1Member 2021-01-01 2021-12-31 0001750106 AEI:NervotecPteLtdMember 2021-12-31 0001750106 AEI:NervotecPteLtdMember 2021-01-01 2021-12-31 0001750106 AEI:DocumentSecuritiesSystemsIncMember us-gaap:FairValueInputsLevel1Member 2020-12-31 0001750106 AEI:DocumentSecuritiesSystemsIncMember us-gaap:FairValueInputsLevel1Member 2020-01-01 2020-12-31 0001750106 AEI:AmarantusBioScienceHoldingsMember us-gaap:FairValueInputsLevel1Member 2020-12-31 0001750106 AEI:AmarantusBioScienceHoldingsMember us-gaap:FairValueInputsLevel1Member 2020-01-01 2020-12-31 0001750106 AEI:HolistaCollTechLimitedMember us-gaap:FairValueInputsLevel1Member 2020-12-31 0001750106 AEI:HolistaCollTechLimitedMember us-gaap:FairValueInputsLevel1Member 2020-01-01 2020-12-31 0001750106 AEI:AmericanPremiumWaterCorpMember us-gaap:FairValueInputsLevel1Member 2020-12-31 0001750106 AEI:AmericanPremiumWaterCorpMember us-gaap:FairValueInputsLevel1Member 2020-01-01 2020-12-31 0001750106 AEI:OptimumBankHoldingsIncMember us-gaap:FairValueInputsLevel1Member 2020-12-31 0001750106 AEI:OptimumBankHoldingsIncMember us-gaap:FairValueInputsLevel1Member 2020-01-01 2020-12-31 0001750106 AEI:TradingStocksMember us-gaap:FairValueInputsLevel1Member 2020-12-31 0001750106 AEI:TradingStocksMember us-gaap:FairValueInputsLevel1Member 2020-01-01 2020-12-31 0001750106 AEI:VivacitasMember 2020-01-01 2020-12-31 0001750106 AEI:NervotecPteLtdMember 2020-12-31 0001750106 AEI:NervotecPteLtdMember 2020-01-01 2020-12-31 0001750106 AEI:HWHWorldCoMember 2020-12-31 0001750106 AEI:HWHWorldCoMember 2020-01-01 2020-12-31 0001750106 AEI:DSSConvertiblePreferredStockMember us-gaap:MeasurementInputSharePriceMember 2021-12-31 0001750106 AEI:DSSConvertiblePreferredStockMember us-gaap:MeasurementInputSharePriceMember 2020-08-31 0001750106 AEI:DSSConvertiblePreferredStockMember us-gaap:MeasurementInputRiskFreeInterestRateMember 2021-12-31 0001750106 AEI:DSSConvertiblePreferredStockMember us-gaap:MeasurementInputRiskFreeInterestRateMember 2020-08-31 0001750106 AEI:DSSConvertiblePreferredStockMember us-gaap:MeasurementInputPriceVolatilityMember 2021-12-31 0001750106 AEI:DSSConvertiblePreferredStockMember us-gaap:MeasurementInputPriceVolatilityMember 2020-08-31 0001750106 AEI:DSSConvertiblePreferredStockMember AEI:MeasurementInputExpectedExitDateMember 2021-12-31 0001750106 AEI:DSSConvertiblePreferredStockMember AEI:MeasurementInputExpectedExitDateMember 2020-08-31 0001750106 AEI:DSSConvertiblePreferredStockMember AEI:MeasurementInputDividendYieldMember 2021-12-31 0001750106 AEI:DSSConvertiblePreferredStockMember AEI:MeasurementInputDividendYieldMember 2020-08-31 0001750106 AEI:SharingServicesIncMember us-gaap:NotesReceivableMember us-gaap:MeasurementInputExpectedDividendRateMember us-gaap:FairValueInputsLevel3Member 2020-12-31 0001750106 AEI:SharingServicesIncMember us-gaap:NotesReceivableMember us-gaap:MeasurementInputPriceVolatilityMember us-gaap:FairValueInputsLevel3Member 2021-12-31 0001750106 AEI:SharingServicesIncMember us-gaap:NotesReceivableMember us-gaap:MeasurementInputPriceVolatilityMember us-gaap:FairValueInputsLevel3Member 2020-12-31 0001750106 AEI:SharingServicesIncMember us-gaap:NotesReceivableMember us-gaap:MeasurementInputRiskFreeInterestRateMember us-gaap:FairValueInputsLevel3Member 2021-12-31 0001750106 AEI:SharingServicesIncMember us-gaap:NotesReceivableMember us-gaap:MeasurementInputRiskFreeInterestRateMember us-gaap:FairValueInputsLevel3Member 2020-12-31 0001750106 AEI:SharingServicesIncMember us-gaap:NotesReceivableMember us-gaap:MeasurementInputExpectedTermMember us-gaap:FairValueInputsLevel3Member 2021-01-01 2021-12-31 0001750106 AEI:SharingServicesIncMember us-gaap:NotesReceivableMember us-gaap:MeasurementInputExpectedTermMember us-gaap:FairValueInputsLevel3Member 2020-01-01 2020-12-31 0001750106 AEI:SharingServicesIncMember us-gaap:NotesReceivableMember us-gaap:MeasurementInputExercisePriceMember us-gaap:FairValueInputsLevel3Member 2021-12-31 0001750106 AEI:SharingServicesIncMember us-gaap:NotesReceivableMember us-gaap:MeasurementInputExercisePriceMember us-gaap:FairValueInputsLevel3Member 2020-12-31 0001750106 AEI:AmericanMedicalREITIncMember us-gaap:WarrantMember us-gaap:MeasurementInputSharePriceMember us-gaap:FairValueInputsLevel3Member 2021-12-31 0001750106 AEI:AmericanMedicalREITIncMember us-gaap:WarrantMember us-gaap:MeasurementInputSharePriceMember us-gaap:FairValueInputsLevel3Member 2020-12-31 0001750106 AEI:AmericanMedicalREITIncMember us-gaap:WarrantMember us-gaap:MeasurementInputExercisePriceMember us-gaap:FairValueInputsLevel3Member 2021-12-31 0001750106 AEI:AmericanMedicalREITIncMember us-gaap:WarrantMember us-gaap:MeasurementInputExercisePriceMember us-gaap:FairValueInputsLevel3Member 2020-12-31 0001750106 AEI:AmericanMedicalREITIncMember us-gaap:WarrantMember us-gaap:MeasurementInputRiskFreeInterestRateMember us-gaap:FairValueInputsLevel3Member 2021-12-31 0001750106 AEI:AmericanMedicalREITIncMember us-gaap:WarrantMember us-gaap:MeasurementInputRiskFreeInterestRateMember us-gaap:FairValueInputsLevel3Member 2020-12-31 0001750106 AEI:AmericanMedicalREITIncMember us-gaap:WarrantMember us-gaap:MeasurementInputPriceVolatilityMember us-gaap:FairValueInputsLevel3Member 2021-12-31 0001750106 AEI:AmericanMedicalREITIncMember us-gaap:WarrantMember us-gaap:MeasurementInputPriceVolatilityMember us-gaap:FairValueInputsLevel3Member 2020-12-31 0001750106 AEI:AmericanMedicalREITIncMember us-gaap:WarrantMember AEI:MeasurementInputDividendYieldMember us-gaap:FairValueInputsLevel3Member 2021-12-31 0001750106 AEI:AmericanMedicalREITIncMember us-gaap:WarrantMember AEI:MeasurementInputDividendYieldMember us-gaap:FairValueInputsLevel3Member 2020-12-31 0001750106 AEI:APWMember 2021-12-31 0001750106 AEI:APWMember 2021-01-01 2021-12-31 0001750106 AEI:HolistaMember 2021-12-31 0001750106 AEI:HolistaMember 2021-01-01 2021-12-31 0001750106 AEI:DSSMember 2021-12-31 0001750106 AEI:DSSMember 2021-01-01 2021-12-31 0001750106 AEI:APWMember 2020-12-31 0001750106 AEI:APWMember 2020-01-01 2020-12-31 0001750106 AEI:HolistaMember 2020-12-31 0001750106 AEI:HolistaMember 2020-01-01 2020-12-31 0001750106 AEI:DSSMember 2020-12-31 0001750106 AEI:DSSMember 2020-01-01 2020-12-31 0001750106 srt:MaximumMember 2021-12-31 0001750106 AEI:MarylandStateMember 2021-01-01 2021-12-31 0001750106 AEI:MarylandStateMember 2020-01-01 2020-12-31 0001750106 us-gaap:ForeignCountryMember 2021-12-31 0001750106 us-gaap:ForeignCountryMember 2020-12-31 0001750106 AEI:SGCompaniesMember 2021-01-01 2021-12-31 0001750106 AEI:HKCompaniesMember 2021-01-01 2021-12-31 0001750106 AEI:KRCompaniesMember 2021-01-01 2021-12-31 0001750106 AEI:AUCompaniesMember 2021-01-01 2021-12-31 0001750106 AEI:SGCompaniesMember 2021-12-31 0001750106 AEI:HKCompaniesMember 2021-12-31 0001750106 AEI:KRCompaniesMember 2021-12-31 0001750106 AEI:AUCompaniesMember 2021-12-31 0001750106 AEI:SGCompaniesMember 2020-01-01 2020-12-31 0001750106 AEI:HKCompaniesMember 2020-01-01 2020-12-31 0001750106 AEI:KRCompaniesMember 2020-01-01 2020-12-31 0001750106 AEI:AUCompaniesMember 2020-01-01 2020-12-31 0001750106 AEI:SGCompaniesMember 2020-12-31 0001750106 AEI:HKCompaniesMember 2020-12-31 0001750106 AEI:KRCompaniesMember 2020-12-31 0001750106 AEI:AUCompaniesMember 2020-12-31 0001750106 AEI:LotsSalesAgreementMember AEI:SeDMarylandDevelopmentLLCMember AEI:BallengerRunMember 2015-11-22 2015-11-23 0001750106 AEI:LotsSalesAgreementMember AEI:SeDMarylandDevelopmentLLCMember AEI:BallengerRunMember 2015-11-23 0001750106 AEI:LotsSalesAgreementMember AEI:NVRIncorporatedMember AEI:BallengerRunMember 2014-05-27 2014-05-28 0001750106 AEI:LotsSalesAgreementMember AEI:NVRIncorporatedMember AEI:BallengerRunMember 2014-05-28 0001750106 AEI:LotsSalesAgreementMember 2018-12-30 2018-12-31 0001750106 AEI:LotsSalesAgreementMember 2021-01-01 2021-12-31 0001750106 AEI:LotsSalesAgreementMember 2020-01-01 2020-12-31 0001750106 2019-10-13 0001750106 2021-08-16 0001750106 AEI:SGAIMember 2021-01-01 2021-12-31 0001750106 AEI:SGFAndBMember 2021-01-01 2021-12-31 0001750106 country:HK 2021-01-01 2021-12-31 0001750106 AEI:KRWMember 2021-01-01 2021-12-31 0001750106 AEI:TXMember 2021-01-01 2021-12-31 0001750106 country:MD 2021-01-01 2021-12-31 0001750106 AEI:SecuritiesPurchaseAgreementMember AEI:ChanHengFaiMember us-gaap:SubsequentEventMember 2022-01-16 2022-01-17 0001750106 AEI:SecuritiesPurchaseAgreementMember AEI:ChanHengFaiMember us-gaap:SubsequentEventMember 2022-02-27 2022-02-28 0001750106 AEI:SecuritiesPurchaseAgreementMember us-gaap:SubsequentEventMember 2022-02-27 2022-02-28 0001750106 us-gaap:SubsequentEventMember 2022-01-17 0001750106 us-gaap:SubsequentEventMember AEI:TruePartnerCapitalHoldingLimitedMember 2022-01-16 2022-01-18 0001750106 AEI:TruePartnerCapitalHoldingLimitedMember us-gaap:SubsequentEventMember 2022-02-27 2022-02-28 0001750106 AEI:TruePartnerCapitalHoldingLimitedMember AEI:SecuritiesPurchaseAgreementMember us-gaap:SubsequentEventMember 2022-02-27 2022-02-28 0001750106 us-gaap:SubsequentEventMember 2022-02-27 2022-02-28 0001750106 AEI:ChanHengFaiMember AEI:StockPurchaseAgreementMember us-gaap:SubsequentEventMember 2022-01-23 2022-01-24 0001750106 AEI:ChanHengFaiMember AEI:SecuritiesPurchaseAgreementMember us-gaap:SubsequentEventMember 2022-01-24 0001750106 AEI:SecuritiesPurchaseAgreementMember AEI:ChanHengFaiMember 2021-12-13 0001750106 AEI:SecuritiesPurchaseAgreementMember AEI:ChanHengFaiMember 2021-12-12 2021-12-13 0001750106 us-gaap:SubsequentEventMember 2022-01-21 2022-01-27 0001750106 us-gaap:SubsequentEventMember AEI:DSSMember 2022-01-21 2022-01-25 0001750106 us-gaap:SubsequentEventMember AEI:DSSMember 2022-01-25 0001750106 us-gaap:SubsequentEventMember AEI:StockPurchaseAgreementMember AEI:DSSMember 2022-01-21 2022-01-25 0001750106 AEI:AlsetCapitalAcquisitionCorpMember us-gaap:SubsequentEventMember 2022-02-02 2022-02-03 0001750106 AEI:AlsetCapitalAcquisitionCorpMember 2022-02-03 0001750106 AEI:InitialPublicOfferingMember us-gaap:SubsequentEventMember 2022-02-02 2022-02-03 0001750106 AEI:InitialPublicOfferingMember us-gaap:SubsequentEventMember 2022-02-03 0001750106 us-gaap:OverAllotmentOptionMember us-gaap:SubsequentEventMember 2022-01-30 2022-02-01 0001750106 us-gaap:SubsequentEventMember 2022-01-30 2022-02-01 0001750106 us-gaap:SubsequentEventMember us-gaap:PrivatePlacementMember AEI:SponsorMember 2022-02-02 2022-02-03 0001750106 us-gaap:SubsequentEventMember AEI:SponsorMember 2022-02-02 2022-02-03 0001750106 us-gaap:SubsequentEventMember us-gaap:PrivatePlacementMember AEI:SponsorMember 2022-02-03 0001750106 us-gaap:SubsequentEventMember us-gaap:PrivatePlacementMember 2022-02-02 2022-02-03 0001750106 us-gaap:SubsequentEventMember AEI:AssignmentAndAssumptionAgreementMember AEI:ConvertiblePromissoryNoteMember 2022-02-25 0001750106 us-gaap:SubsequentEventMember AEI:AssignmentAndAssumptionAgreementMember AEI:ConvertiblePromissoryNoteMember 2022-02-24 2022-02-25 iso4217:USD xbrli:shares iso4217:USD xbrli:shares xbrli:pure iso4217:SGD AEI:Segments utr:acre AEI:Hong AEI:South AEI:Integer utr:sqft

 

 

 

UNITED STATES

SECURITIES AND EXCHANGE COMMISSION

Washington, D.C. 20549

 

FORM 10-K

 

(Mark One)

 

ANNUAL REPORT PURSUANT TO SECTION 13 OR 15(d) OF THE SECURITIES EXCHANGE ACT OF 1934

 

For the fiscal year ended December 31, 2021

 

or

 

TRANSITION REPORT PURSUANT TO SECTION 13 OR 15(d) OF THE SECURITIES EXCHANGE ACT OF 1934

 

For the transition period from _________ to _________

 

Commission File Number: 001-39732

 

ALSET EHOME INTERNATIONAL INC.

(Exact name of registrant as specified in its charter)

 

Delaware   83-1079861
(State or other jurisdiction of incorporation or organization)   (I.R.S. Employer Identification Number)

 

4800 Montgomery Lane, Suite 210

   
Bethesda, MD 20814   301-971-3940

(Address of Principal Executive Offices)

 

 

Registrant’s telephone number,

including area code

 

Securities registered pursuant to Section 12(b) of the Act:

 

Title of Each Class   Trading Symbol(s)   Name of Each Exchange on Which Registered
Common Stock, $0.001 par value   AEI   The Nasdaq Stock Market LLC

 

Securities registered pursuant to section 12(g) of the Act: None

 

Indicate by check mark if the registrant is a well-known seasoned issuer, as defined in Rule 405 of the Securities Act. Yes ☐ No

 

Indicate by check mark if the registrant is not required to file reports pursuant to Section 13 or Section 15(d) of the Exchange Act. Yes ☐ No

 

Indicate by check mark whether the registrant (1) has filed all reports required to be filed by Section 13 or 15(d) of the Securities Exchange Act of 1934 during the preceding 12 months (or for such shorter period that the registrant was required to file such reports), and (2) has been subject to such filing requirements for the past 90 days. Yes ☒ No ☐

 

Indicate by check mark whether the registrant has submitted electronically every Interactive Data File required to be submitted pursuant to Rule 405 of Regulation S-T (§ 232.405 of this chapter) during the preceding 12 months (or for such shorter period that the registrant was required to submit such files). Yes ☒ No ☐

 

Indicate by check mark whether the registrant is a large accelerated filer, an accelerated filer, a non-accelerated filer, or a smaller reporting company. See the definitions of “large accelerated filer,” “accelerated filer” and “smaller reporting company” in Rule 12b-2 of the Exchange Act.

 

Large accelerated filer ☐   Accelerated filer ☐
Non-accelerated filer   Smaller reporting company
    Emerging growth company

 

If an emerging growth company, indicate by check mark if the registrant has elected not to use the extended transition period for complying with any new or revised financial accounting standards provided pursuant to Section 13(a) of the Exchange Act.

 

Indicate by check mark whether the registrant has filed a report on and attestation to its management’s assessment of the effectiveness of its internal control over financial reporting under Section 404(b) of the Sarbanes-Oxley Act (15 U.S.C. 7262(b)) by the registered public accounting firm that prepared or issued its audit report.

 

Indicate by check mark whether the registrant is a shell company (as defined in Rule 12b-2 of the Exchange Act). Yes ☐ No

 

The aggregate market value of the voting and non-voting common stock held by non-affiliates of the registrant as of June 30, 2021 was approximately $57,049,221, based upon the closing market price of $5.68 per share of common stock on the Nasdaq Capital Market. (For purposes of this calculation the registrant’s directors and officers are deemed affiliates of the registrant.)

 

Indicate the number of shares outstanding of each of the registrant’s classes of common stock, as of the latest practicable date. As of March 31, 2022, there were 113,187,898 shares outstanding of the registrant’s common stock, $0.001 par value.

 

DOCUMENTS INCORPORATED BY REFERENCE

 

None.

 

 

 

 

 

 

Throughout this Report on Form 10-K, the terms the “Company,” “we,” “us” and “our” refer to Alset EHome International Inc., and “our board of directors” refers to the board of directors of Alset EHome International Inc. We use the terms “EHome” and “EHome communities” to refer to homes and communities that reflect our vision of accelerating sustainable, healthy living using energy and technology products and practices to provide a healthy ecosystem.

 

CAUTIONARY STATEMENT REGARDING FORWARD-LOOKING INFORMATION

 

This Annual Report on Form 10-K contains forward-looking statements regarding, among other things, our future operating results and financial position, our business strategy, and other objectives for our future operations. The words “anticipate,” “believe,” “intend,” “expect,” “may,” “estimate,” “predict,” “project,” “potential” and similar expression are intended to identify forward-looking statements, although not all forward-looking statements contain these identifying words. We have based these forward-looking statements largely on our current expectations and projections about future events and financial trends that we believe may affect our business, financial condition and results of operations. There are a number of important risks and uncertainties that could cause our actual results to differ materially from those indicated by forward-looking statements. We may not actually achieve the plans, intentions or expectations disclosed in our forward-looking statements, and you should not place undue reliance on our forward-looking statements. Actual results or events could differ materially from the plans, intentions and expectations disclosed in the forward-looking statements we make. Our forward-looking statements do not reflect the potential impact of any future acquisitions, mergers, dispositions, joint ventures or investments that we may make.

 

You should read this Report on Form 10-K and the documents that we have filed as exhibits to this Report on Form 10-K completely and with the understanding that our actual future results may be materially different from what we expect. The forward-looking statements contained in this Report on Form 10-K are made as of the date of this Report on Form 10-K, and we do not assume any obligation to update any forward-looking statements, whether as a result of new information, future events or otherwise, except as required by applicable law.

 

 

 

 

Alset EHome International Inc.

Form 10-K

For the Year Ended December 31, 2021

Table of Contents

 

    Page
  PART I  
Item 1. Business 1
Item 1A. Risk Factors 15
Item 1B. Unresolved Staff Comments 32
Item 2. Properties 32
Item 3. Legal Proceedings 33
Item 4. Mine Safety Disclosures 33
     
  PART II  
Item 5. Market for Registrant’s Common Equity, Related Stockholder Matters, and Issuer Purchases of Equity Securities 34
Item 6 Reserved 37
Item 7. Management’s Discussion and Analysis of Financial Condition and Results of Operations 37
Item 7A. Quantitative and Qualitative Disclosures About Market Risk 58
Item 8. Financial Statements and Supplementary Data 59
Item 9. Changes in and Disagreements with Accountants on Accounting and Financial Disclosures 111
Item 9A. Controls and Procedures 111
Item 9B. Other Information 112
Item 9C. Disclosure Regarding Foreign Jurisdictions That Prevent Inspections 112
     
  PART III  
Item 10. Directors, Executive Officers and Corporate Governance 113
Item 11. Executive Compensation 119
Item 12. Security Ownership of Certain Beneficial Owners and Management and Related Stockholder Matters 121
Item 13. Certain Relationships and Related Transactions, and Director Independence 122
Item 14. Principal Accounting Fees and Services 127
     
  PART IV  
Item 15. Exhibit and Financial Statement Schedules 128
Item 16. Form 10-K Summary 132
Signatures   133

 

 

 

 

PART I

 

Item 1. Business.

 

Our Company

 

We are a diversified holding company principally engaged through our subsidiaries in the development of EHome communities and other real estate, financial services, digital transformation technologies, biohealth activities and consumer products with operations in the United States, Singapore, Hong Kong, Australia and South Korea. We manage our three principal businesses primarily through our 77% owned subsidiary, Alset International Limited (“Alset International”), a public company traded on the Singapore Stock Exchange. Through this subsidiary (and indirectly, through other public and private U.S. and Asian subsidiaries), we are actively developing real estate projects near Houston, Texas and in Frederick, Maryland in our real estate segment. We have designed applications for enterprise messaging and e-commerce software platforms in the United States and Asia in our digital transformation technology business unit. Our biohealth segment includes sale of consumer products. We identify global businesses for acquisition, incubation and corporate advisory services, primarily related to our operating business segments.

 

We also have ownership interests outside of Alset International, including a 41.3% equity interest in American Pacific Bancorp Inc., an indirect 15.8% equity interest in Holista CollTech Limited, a 15.5% equity interest in True Partner Capital Holding Limited, a 24.9% equity interest in DSS Inc. (“DSS”), an 18% equity interest in Value Exchange International, Inc., a 17.5% equity interest in American Premium Water Corp., and an interest in Alset Capital Acquisition Corp. (“Alset Capital”). American Pacific Bancorp Inc. is a financial network holding company. Holista CollTech Limited is a public Australian company that produces natural food ingredients (ASX: HCT). True Partner Capital Holding Limited is a public Hong Kong company which operates as a fund management company in the U.S. and Hong Kong. DSS is a multinational company operating businesses within nine divisions: product packaging, biotechnology, direct marketing, commercial lending, securities and investment management, alternative trading, digital transformation, secure living, and alternative energy. DSS Inc. is listed on the NYSE American (NYSE: DSS). Value Exchange International, Inc. is a provider of information technology services for businesses, and is traded on the OTCQB (OTCQB: VEII). American Premium Water Corp. is a publicly traded consumer products company (OTCPK: HIPH). Alset Capital is a newly organized blank check company formed for the purpose of effecting a merger, capital stock exchange, asset acquisition, stock purchase, reorganization or similar business combination with one or more businesses and is listed on the Nasdaq (Nasdaq: ACAXU, ACAX, ACAXW and ACAXR).

 

Under the guidance of Chan Heng Fai, our founder, Chairman and Chief Executive Officer, who is also our largest stockholder, we have positioned ourselves as a participant in these key markets through a series of strategic transactions. Our growth strategy is both to pursue acquisition opportunities that we can leverage on our global network using our capital and management resources and to accelerate the expansion of our organic businesses.

 

We generally acquire majority and/or control stakes in innovative and promising businesses that are expected to appreciate in value over time. Our emphasis is on building businesses in industries where our management team has in-depth knowledge and experience, or where our management can provide value by advising on new markets and expansion. We have at times provided a range of global capital and management services to these companies in order to gain access to Asian markets. We have historically favored businesses that improve an individual’s quality of life or that improve the efficiency of businesses through technology in various industries. We believe our capital and management services provide us with a competitive advantage in the selection of strategic acquisitions, which creates and adds value for our company and our stockholders.

 

We intend at all times to operate our business in a manner as to not become inadvertently subject to the regulatory requirements under the Investment Company Act by, among other things, (i) in the event of acquisitions, purchasing all or substantially all of an acquisition target’s voting stock, and only in limited cases purchase less than 51% of the voting stock; (ii) monitoring our operations and our assets on an ongoing basis in order to ensure that we own no less than a majority, or other control, of Alset International and that Alset International, in turn, owns no less than a majority, or other control, of LiquidValue Development Inc. and other such subsidiaries with significant assets and operations; and (iii) limiting additional equity investments into affiliated companies including our majority-owned and/or controlled operating subsidiaries, except in special limited circumstances. Additionally, we will continue to hire in-house management personnel and employees with industry background and experience, rather than retaining traditional investment portfolio managers to oversee our group of companies.

 

The Company was incorporated in the State of Delaware on March 7, 2018 as HF Enterprises Inc. Effective as of February 5, 2021, the Company changed its name from “HF Enterprises Inc.” to “Alset EHome International Inc.” The Company effected such name change pursuant to a merger entered into with a wholly owned subsidiary, Alset EHome International Inc. The Company is the surviving entity following this merger and has adopted the name of its former subsidiary. In connection with our name change, our trading symbol on the Nasdaq Stock Market was changed from “HFEN” to “AEI.”

 

1

 

 

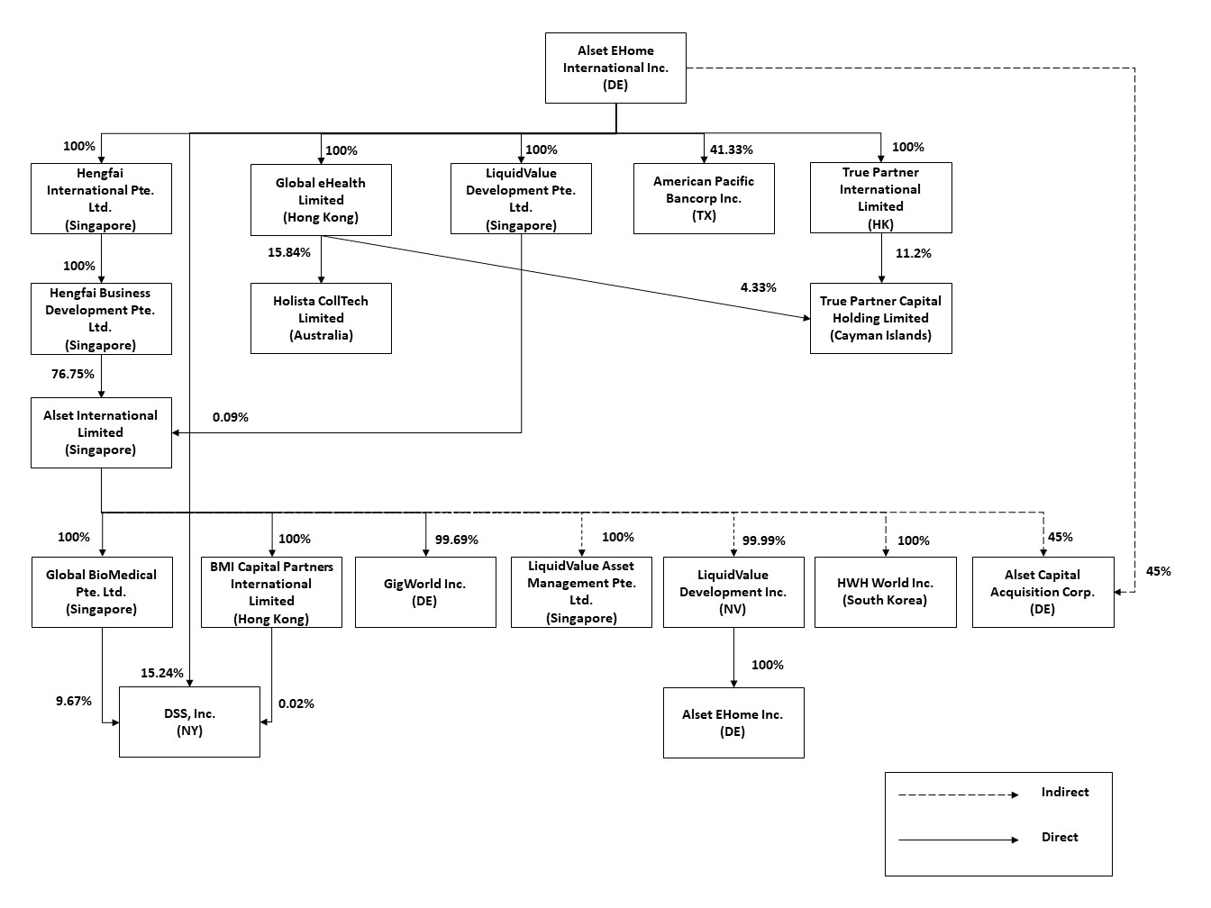
The following chart illustrates the current corporate structure of our key operating entities:

 

Z:\2022 OPERATIONS New\2022 EDGAR\03 March\Alset EHome International Inc\03-25-2022\Form 10-K\Draft\Production 

Our Current Operations

 

Real Estate

 

Property Development Business

 

Our real estate business is primarily conducted through our indirect subsidiary, LiquidValue Development Inc. (“LiquidValue Development”), a 99.9%-owned U.S. subsidiary of Alset International, which owns, operates and manages real estate development projects with a focus on land subdivision developments (LiquidValue Development was formerly known as “SeD Intelligent Home Inc.”). We generally contract out all real estate development activities, working with engineers, surveyors, architects and general contractors through each phase, including planning, design and construction. Once the contractors complete the land development, we then sell the developed lots to builders for the construction of new homes. Where possible, we have attempted to pre-sell these lots before they are fully developed. LiquidValue Development’s main assets are two such subdivision development projects, one near Houston, Texas (known as Black Oak), and one in Frederick, Maryland (known as Ballenger Run).

 

Our property development business is headquartered in Bethesda, Maryland. For the years ended December 31, 2021 and 2020, our property development business accounted for 70% and 84% of our total revenues, respectively.

 

Frederick, Maryland Property. In November 2015, through LiquidValue Development, we acquired Ballenger Run, a land subdivision development consisting of 197 acres, for $15.65 million. This property is presently zoned for 479 entitled residential lots and 210 entitled multi-family units. After several years of development, this project is now in its final phases. The Company anticipates that the estimated construction costs (not including land costs and financing costs) for the final phases of the Ballenger Run project will be $1,670,820. The expected completion date for the final phases of the Ballenger Run project is June of 2022.

 

2

 

 

On May 28, 2014, the RBG Family, LLC entered into an Assignable Real Estate Sales Contract with NVR, Inc. (“NVR”) by which RBG Family, LLC would sell the 197 acres for $15 million to NVR. On December 10, 2014, NVR assigned this contract to SeD Maryland Development, LLC (“SeD Maryland”) in the Assignment and Assumption Agreement and entered into a series of Lot Purchase Agreements by which NVR would purchase subdivided lots from SeD Maryland (the “Lot Purchase Agreements”).

 

SeD Maryland’s acquisition of the 197 acres was funded in part from a $5.6 million deposit from NVR. The balance of $10.05 million was derived from a total equity contribution of $15.2 million by SeD Ballenger, LLC (“SeD Ballenger”) and CNQC Maryland Development LLC (a unit of Qingjian International Group Co, Ltd, China, “CNQC”). The project is owned by SeD Maryland is 83.55% owned by SeD Ballenger and 16.45% by CNQC.

 

MacKenzie Equity Partners, owned by Charles MacKenzie, our Chief Development Officer and a Director of the Company’s subsidiary LiquidValue Development, has had a consulting agreement with a subsidiary of the Company since 2015. Per the terms of the agreement, as amended on January 1, 2018, the Company’s subsidiary pays a monthly fee of $20,000 for the consulting services. The Company incurred expenses of $360,000 and $240,000 for the years ended December 31, 2021 and 2020, respectively, which were capitalized as part of Real Estate on the Company’s Consolidated Balance Sheet as the services relate to property and project management. During 2021, MacKenzie Equity Partners was granted an additional $120,000 bonus payment. As of December 31, 2021 and 2020 the Company owed $80,000 and $0, respectively, to this entity.

 

Revenue from Ballenger Run is anticipated to come from three main sources:

 

sale of 479 entitled and constructed residential lots to NVR;

 

sale of the lot for the 210 entitled multi-family units; and

 

sale of 479 front foot benefit assessments.

 

On April 17, 2019, SeD Maryland Development LLC entered into a Development Loan Agreement with Manufacturers and Traders Trust Company (“M&T Bank”) in the principal amount not to exceed at any one time outstanding the sum of $8,000,000, with a cumulative loan advance amount of $18,500,000. The line of credit bears interest of LIBOR plus 375 basis points. SeD Maryland Development LLC was also provided with a L/C Facility in an aggregate amount of $900,000. The L/C commission will be 1.5% per annum on the face amount of the L/C. Other standard lender fees will apply in the event L/C is drawn down. The loan is a revolving line of credit. The L/C Facility is not a revolving loan, and amounts advanced and repaid may not be re-borrowed. Repayment of the Loan Agreement is secured by $2.6 million collateral fund and a Deed of Trust issued to the Lender on the property owned by SeD Maryland.

 

As of December 31, 2021 and 2020, the principal balance of the loan was $0. As part of the transaction during 2019, we incurred loan origination fees and closing fees in the amount of $381,823 and capitalized them into construction in process.

 

The proceeds from the Land Development Loan and Letter of Credit Facility will be used in connection with the Ballenger Run project, including the development of certain single-family lots. The Loan Agreement contains standard representations and warranties. LiquidValue Development Inc. will serve as the guarantor to the Land Development Loan and Letter of Credit Facility and has executed an Environmental Indemnification Agreement in favor of the Lender.

 

Expenses from Ballenger Run include costs associated with land prices, closing costs, hard development costs, cost in lieu of construction, soft development costs and interest costs. We presently estimate these costs to be between $56 and $57 million. We may also encounter expenses which we have not anticipated, or which are higher than presently anticipated.

 

3

 

 

Sale of Residential Lots to NVR

 

The residential lots were contracted for sale under the Lot Purchase Agreements with NVR. NVR is a home builder engaged in the construction and sale of single-family detached homes, townhouses and condominium buildings. It also operates a mortgage banking and title services business. Under the Lot Purchase Agreements, NVR provided SeD Maryland Development LLC with an upfront deposit of $5.6 million and has agreed to purchase the lots at a range of prices. The lot types and quantities to be sold to NVR under the Lot Purchase Agreements include the following:

 

Lot Type  Quantity 
Single Family Detached Large   85 
Single Family Detached Small   89 
Single Family Detached Neo Traditional   33 
Single Family Attached 28’ Villa   121 
Single Family Attached 20’ End Unit   46 
Single Family Attached 16’ Internal Unit   105 
Total   479 

 

There are five different types of Lot Purchase Agreements, which have generally the same terms except for the price and unit details for each type of lot. Under the Lot Purchase Agreements, NVR has agreed to purchase 30 available lots per quarter. The Lot Purchase Agreements provide several conditions related to preparation of the lots which must be met so that a lot can be made available for sale to NVR. SeD Maryland is to provide customary lot preparation including survey, grading, utilities installation, paving, and other infrastructure and engineering. The sale of lots to NVR began in May 2017. As of December 31, 2021, 476 lots have been sold to NVR with 3 remaining for the duration of the project.

  

4

 

 

Sale of the Front Foot Benefit Assessments

 

Through LiquidValue Development and its subsidiaries, we have established a front foot benefit (“FFB”) assessment on all of the lots sold to NVR. This is a 30-year annual assessment allowed in Frederick County which requires homeowners to reimburse the developer for the costs of installing public water and sewer to the lots. These assessments become effective as homes are settled, at which time we can sell the collection rights to investors who will pay an upfront lump sum, enabling us to more quickly realize the revenue. The selling prices range from $3,000 to $4,500 per home depending on the type of home. Our total expected revenue from the front foot benefit assessment is approximately $1 million. To recognize revenue of the FFB assessment, both our and NVR’s performance obligations have to be satisfied. Our performance obligation is completed once we complete the construction of water and sewer facilities and close the lot sales with NVR, which inspects these water and sewer facilities prior to the close of lot sales to ensure all specifications are met. NVR’s performance obligation is to sell homes they build to homeowners. Our FFB revenue is recognized upon NVR’s sales of homes to homeowners. The agreement with these FFB investors is not subject to amendment by regulatory agencies and thus our revenue from FFB assessment is not either. During the years ended December, 2021 and 2020, we recognized revenue in the amounts of $289,375 and $273,620 from FFB assessments, respectively.

 

As part of the contract with NVR, upon establishment of FFB assessments on the lots, the Company is obligated to credit NVR with an amount equal to one year of FFB assessment per each lot purchased by NVR. As of December 31, 2021 the accrued balance due to NVR was $188,125.

  

K-6 Grade School Site

 

In connection with getting the necessary approvals for the Ballenger Project, we agreed to transfer 30 acres of land that abut the development for the construction of a local K-6 grade school. We will not be involved in the construction of the school.

 

Black Oak Property, Texas. Black Oak is a land infrastructure and subdivision development project situated in Magnolia, Texas, north of Houston. The site plan at Black Oak allows for approximately 550-600 residential lots of varying sizes. Through a partnership with 150 CCM Black Oak, Ltd., we had contracts to purchase seven contiguous parcels of land. Our initial equity ownership in 150 CCM Black Oak, Ltd. was $4.3 million for 60% ownership in the partnership. Since then, LiquidValue Development has increased its ownership to 100%. On January 18, 2019, the first sale of lots at Black Oak was completed and 124 lots were sold.

 

The Black Oak project has applied for reimbursement of certain costs for construction of roads, sewers, water and other basic requirements. While we may be entitled to reimbursements from a local improvement district, the amount and timing of such payments is uncertain. The timing of such potential reimbursements will be impacted by certain bond sales by the Southeast Management District from time to time.

 

5

 

 

On November 4, 2021, Black Oak Ltd received $750,000 reimbursement from Aqua Texas pursuant to a contractual agreement whereby Aqua is obligated to pay 150 CCM Black Oak $6,000 for each connection made to an individual single family home upon sale to the end customer.

 

On January 13, 2021, 150 CCM Black Oak, Ltd. purchased an approximately 6.3 acre tract of land in Montgomery County, Texas. The Company’s strategic acquisition contiguous to the Black Oak project is intended to provide additional lot yield, potential additional amenities and/or a solar farm to support the Company’s sustainable, healthy living concept.

 

The site plan at Black Oak allows for approximately 550-600 residential lots of varying sizes. We anticipate that our involvement in land development aspects of this project will take approximately three to five additional years to complete, however, at the present time, the Company is also considering expanding its current policy of selling buildable lots to include a strategy of building housing for sale or rent, particularly at our Black Oak and Alset Villas (described below) properties. The required time and expenses needed to complete the Black Oak and Alset Villas projects will be influenced by the strategy, or mix of strategies, we utilize at each project.

 

Planned Alset Villas Project in Texas. In 2021, our subsidiary Alset EHome Inc. acquired approximately 19.5 acres of partially developed land near Houston, Texas which will be used to develop a community named Alset Villas (“Alset Villas”). Alset EHome is targeting to develop approximately 63 homes at Alset Villas for rent and/or for sale. The Alset Villas project remains at the early stage.

 

Home Rental Business

 

Houston, Texas Rental Homes. Recently, the Company expanded its real estate portfolio to single family rental houses. During 2021 the Company signed multiple purchase agreements to acquire 109 homes in Montgomery and Harris Counties, Texas. By December 31, 2021, the acquisition of the 109 homes was completed with an aggregate purchase cost of $24,940,764. All of these purchased homes are properties of our rental business.

 

In the first thirty single-family of the 109 rental homes that were acquired by our subsidiary in 2021, as part of our commitment to advancing smart and healthy, sustainable living, we have installed Tesla PV solar panels and Powerwalls. We are reviewing plans to add solar panels and related technologies at the balance of the single-family rental homes, where feasible. In addition, we have added technologies at many of the single family rental homes such as (i) smart solar, thermostat, and energy usage controls; (ii) smart lighting controls; (iii) smart locks and security; and (iv) smart home automation devices. We believe these and other technologies will be attractive to renters and we continue to build and pursue strategic, technological partnerships that will assist us as we expand our real estate business to include building homes for rent and building homes for sale in the future.

 

The Company has entered into a property management agreement with the property managers under which the property managers generally oversee and direct the leasing, management and advertising of the properties in our portfolio, including collecting rents and acting as liaison with the tenants. The Company pays its property managers a monthly property management fee per property unit and a leasing fee.

 

Potential Future Projects

 

In addition to our main projects, we are embarking on residential construction activities in partnership with U.S. homebuilders, and have commenced discussions to acquire smaller U.S. residential construction projects. These projects may be within both the for-sale and for-rent markets. We consider projects in diverse regions across the United States, and maintain longstanding relationships with local owners, brokers, attorneys and lenders to source projects. We will continue to focus on off-market deals and raise appropriate financing for attractive development opportunities. We believe these initiatives will provide a set of solutions to stabilize the long-term revenue associated with property development in the United States and create new ancillary service opportunities and revenue from this business.

 

Through our subsidiaries, we will explore the potential to pursue other business opportunities related to real estate. The Company is evaluating the potential to enter into additional activities related to solar energy and energy efficient products as well as smart home technologies. Through the Company’s eco-systems of businesses based around sustainable, healthy living communities, our Alset EHome Inc. subsidiary intends to develop single family homes which are eco-friendly. They will be fitted out with solar energy products such as photovoltaic systems, battery systems, and car charging ports for sustainable transport as well as other energy efficient systems. The Company also envisions acquiring land surrounding its communities for solar farm projects to power these communities. Alset EHome has commenced the infrastructure design, engineering and construction for this sustainable, healthy living community concept within the Black Oak project outside of Houston, Texas. The Company intends to bring this concept to other strategic parts of the US.

 

We also intend to enlarge the scope of property-related services. Additional planned activities, which we intend to be carried out through Alset EHome, include financing, home management, realtor services, insurance and home title validation. We may particularly provide these services in connection with homes we build. These activities are also in the planning stages.

 

6

 

 

Digital Transformation Technology

 

Our digital transformation technology business unit is committed to enabling enterprises to engage in a digital transformation by providing consulting, implementation and development services with various technologies including blockchain, e-commerce, social media and payment solutions. We commenced our technology business in 2015 through GigWorld Inc. (“GigWorld”), a 99.7% owned subsidiary of Alset International. Its technology platform focuses on business-to-business, or B2B, solutions, such as communications and workflow, through instant messaging, international calling, social media, e-commerce and payment systems and direct marketing. Using its platform, consumers can discover and build their own communities based on interests, location or their existing networks. The GigWorld platform tools empower these communities to share their ideas and information across multiple channels. As these communities grow, they provide the critical mass that attracts enterprises. The system is designed to ultimately help enterprises and community users to transform their business models in a more effective manner.

 

GigWorld Subsidiary. Through GigWorld, we have successfully implemented several strategic platform developments for clients, including a mobile front-end solution for network marketing, a hotel e-commerce platform for a company in Asia and a real estate agent management platform in China. We have also enhanced our technological capability from mobile application development to include architectural design, allowing mobile-friendly front-end solutions to integrate with software platforms. GigWorld’s main digital assets at the present time are its applications. GigWorld’s emphasis will be on developing solutions and providing services.

 

In February 2017, GigWorld launched its first network marketing solution. Since that time, GigWorld has continued to improve its technology. We believe these improvements will allow GigWorld to quickly provide solutions for brands that operate direct selling or affiliate marketing programs, enabling their members to collaborate more effectively for sales and marketing management. GigWorld’s current plan is to commence sales of this technology in 2022, with a primarily focus in the network marketing and affiliate marketing areas.

 

In addition to the development of its own technology, GigWorld has been actively exploring strategic partnership and investment that can enhance the company’s capability. The area of focus covers payment solutions, both payment gateway services and crypto payment technologies, loyalty programs and blockchain related services.

 

We believe that the increasing deployment of the GigWorld App (whether through white labeling by potential customers or otherwise) will allow for feedback from customers, and help us build a robust and scalable software. The growth of network marketing throughout the world would impact our technologies that target that industry. In this rapidly evolving field, however, technology is advancing quickly and it is possible that our competitors could create products that gain market acceptance before our products.

 

Biohealth Business

 

With populations aging and a growing focus on healthcare issues, biohealth science has become increasingly vital. We entered the biomedical and healthcare market by forming our biohealth division, which is engaged in developing, researching, testing, manufacturing, licensing and distributing (through retail, direct selling, network marketing and e-commerce) biohealth products and services. We strive to leverage our scientific know-how and intellectual property rights to provide solutions to pending healthcare issues.

 

HWH World. In October 2019, the Company expanded its biohealth segment into the Korean market through one of the subsidiaries of Health Wealth Happiness Pte. Ltd., HWH World Inc (“HWH World”). HWH World operates based on a direct sales model in South Korea. Products are sold by affiliates who place orders through HWH’s website; products are then shipped from a shipping courier in South Korea. HWH World’s products include (i) the “HAPI Skincare” products, sold in a set with four products, including a cleansing mask, moisturizer, cream and collagen ampoule; and (ii) noodles produced by Holista CollTech, a company in which we are a shareholder and with which we have worked together in the past. In addition to sales, HWH World generates revenue through the sale of memberships. We compete with numerous direct sales companies in South Korea.

 

7

 

 

Reorganization of Certain Biohealth Activities

 

On March 12, 2020, two of Alset International’s subsidiaries, Global BioMedical Pte Ltd, a Singapore corporation (“GBM”), and Impact BioMedical Inc, a Nevada corporation and wholly owned subsidiary of GBM (“Impact BioMedical”), entered into a binding term sheet (the “Impact Term Sheet”) with DSS, Inc. (“DSS”) and DSS BioHealth Security, Inc., a wholly owned subsidiary of DSS (“DBHS”). Pursuant to the Impact Term Sheet, DBHS agreed to acquire Impact BioMedical. Impact BioMedical owns 90.9% of Global BioMedical, Inc., which in turn owned 70% of Global BioLife Inc., which at the time was our main biohealth entity.

 

On April 27, 2020, Alset International, GBM, DSS and DBHS entered into a share exchange agreement (the “DSS Share Exchange Agreement”) that provided further details regarding this transaction in which DBHS agreed to acquire all of the outstanding capital stock of Impact BioMedical (the “Impact Shares”) through a share exchange, with Impact BioMedical becoming a direct wholly owned subsidiary of DBHS.

 

It was agreed that the aggregate consideration for the Impact Shares to be issued to GBM by DSS would be the following: (i) 483,334 newly issued shares of DSS common stock; and (ii) 46,868 newly issued shares of a new series of DSS perpetual convertible preferred stock with a stated value of $46,868,000, or $1,000 per share. The convertible preferred stock can be convertible into shares of DSS common stock at a conversion price of $6.48 of preferred stock stated value per share of common stock, subject to a 19.9% beneficial ownership conversion limitation (a so-called “blocker”) based on the total issued outstanding shares of common stock of DSS beneficially owned by GBM. Holders of the convertible preferred stock will have no voting rights, except as required by applicable law or regulation, and no dividends will accrue or be payable on the convertible preferred stock. The holders of convertible preferred stock will be entitled to a liquidation preference of $1,000 per share, and DSS will have the right to redeem all or any portion of the then outstanding shares of convertible preferred stock, pro rata among all holders, at a redemption price per share equal to such liquidation value per share.

 

Prior to the execution of the Share Exchange Agreement, Impact BioMedical’s ownership of a suite of antiviral and medical technologies was valued through an independent valuation that was completed by Destum Partners. Because the valuation was higher than the previously agreed value, the Purchase Price was capped at a value of $50 million.

 

The closing of the purchase and sale of the Impact Shares contemplated under the DSS Share Exchange Agreement was subject to a number of conditions, including both DSS and Alset International having obtained approvals from their respective shareholders and receipt by DSS of audited financial statements of Impact BioMedical, which were included in DSS’s proxy statement soliciting the vote of its shareholders.

 

On June 26, 2020, the shareholders of Alset International approved this transaction.

 

On August 10, 2020 the stockholders of DSS voted to approve the issuance of shares of DSS Common Stock and DSS Convertible Preferred Stock in connection with the acquisition of Impact BioMedical, pursuant to the DSS Share Exchange Agreement.

 

The Share Exchange Agreement contains customary representations, warranties and covenants of the parties, as well as certain indemnification provisions.

 

This transaction was completed on August 21, 2020. Accordingly, our ownership interest in these biohealth projects was reduced, and our ownership interest in DSS was increased.

 

During the year ended December 31, 2021, GBM converted 42,575 shares of the DSS Series A Convertible Preferred Stock into 6,570,170 shares of the common stock of DSS. At the time of conversion, we owned approximately 19.9% of the common stock of DSS, and our CEO, Chan Heng Fai, was also an owner of the common stock of DSS (not including any common or preferred shares we held).

 

DSS owns 3.64% of the issued and outstanding stock of Alset International.

 

8

 

 

DSS is a multinational company operating businesses within nine divisions: product packaging, biotechnology, direct marketing, commercial lending, securities and investment management, alternative trading, digital transformation, secure living, and alternative energy. DSS intends to strategically acquire and develops assets to enrich the value of its shareholders through calculated IPO spinoffs and a share distribution strategy. DSS Inc. is listed on the NYSE American.

 

iGalen International and Holista CollTech. In connection with our expansion into biohealth activities, we formed iGalen International Inc. (“iGalen International”), in which we owned a 53% ownership stake and acquired a 15.8% ownership interest in Holista CollTech, both of which companies source and distribute patented dietary supplements and other health products.

 

iGalen Inc. (“iGalen”) is a 100% owned subsidiary of iGalen International. iGalen’s primary product, Uncarb is a natural carbohydrate optimizer that is intended to remove excess carbohydrates, thereby improving blood sugar regulation and achieving better blood lipid profiles and sustained weight loss. On December 30, 2020, Alset International’s ownership of 53% of iGalen International was sold to one of the directors of iGalen International.

 

Holista CollTech is a health and wellness company based in Perth, Australia. It is listed on the Australian Securities Exchange (ASX:HCT). Holista’s core business divisions are dietary supplements, healthy food ingredients, ovine collagen and infection control solutions.

 

9

 

 

Vivacitas Oncology. Until March 18, 2021, we also held an equity interest in Vivacitas Oncology Inc., a U.S.-based biopharmaceutical company. The Company sold the subsidiary that held this interest to a subsidiary of DSS for $2,480,000. We had an indirect equity interest of 13.1% of Vivacitas at December 31, 2020. Vivacitas focuses on developing medications for cancer patients. We had a close partnership with Vivacitas and its management, an experienced research team and a distinguished medical advisory board. Vivacitas seeks to bring more effective and less toxic chemotherapies to the market for treatment of the most aggressive and intractable cancers. At the time of this sale, Vivacitas had three programs: (i) one program had completed three clinical studies, including two Phase I and one Phase II studies; (ii) one program for a potential palliative treatment had completed three Phase III studies; and (iii) one program was in the planning stages of a 2b/3 clinical study.

 

Our financial statements do not consolidate Holista CollTech or Vivacitas Oncology, and we have not managed their operations.

 

Other Business Activities

 

In addition to our three principal business activities, we oversee several smaller other business activities at the present time, which we believe complement our three principal businesses.

 

BMI Capital Partners. Alset International’s wholly-owned Hong Kong subsidiary, BMI Capital Partners International Limited provides consultancy services on corporate restructuring efforts, debt restructuring efforts and capital markets related corporate actions, including potential stock exchange listings.

 

During the years ended on December 31, 2021 and 2020, the revenue from the other business activities described above was approximately 0% of the total revenue.

 

Effective as of March 12, 2021, the Company entered into a Securities Purchase Agreement (the “Securities Purchase Agreement”) with Chan Heng Fai, the founder, Chairman and Chief Executive Officer of the Company, True Partner International Limited, LiquidValue Development Pte Ltd. (“LVD”) and American Pacific Bancorp, Inc. (“APB”), pursuant to which the Company purchased from Chan Heng Fai (i) warrants (the “Warrants”) to purchase 1,500,000,000 shares of Alset International; (ii) 1,000,000 shares of LVD’s common stock, constituting all of the issued and outstanding stock of LVD; (iii) 62,122,908 ordinary shares in True Partner Capital Holding Limited (“True Partner”); and (iv) 4,775,523 shares of APB’s Class B common stock, representing 86.44% of the total issued and outstanding common stock of APB.

 

The four acquisitions set forth in the Securities Purchase Agreement closed on March 12, 2021. The Company has issued four convertible notes to Chan Heng Fai as follows: (i) a convertible note in the amount of $28,363,966 for warrants to purchase 1,500,000,000 shares of Alset International; (ii) a convertible note in the amount of $173,395 to acquire all of the outstanding capital stock of LVD; (iii) a convertible note in the amount of $6,729,629 to acquire 62,122,908 ordinary shares of True Partner; and (iv) a convertible note in the amount of $28,653,138 for 4,775,523 Class B shares of APB. Such four notes will only become convertible into shares of the Company’s common stock following the approval of the Company’s shareholders. Subject to such shareholder approval, each note shall be convertible into shares of the Company’s common stock at a conversion price equal to $5.59 per share (equivalent to the average five closing per share prices of the Company’s common stock preceding January 4, 2021). The above four acquisitions from Chan Heng Fai were transactions between entities under common control. On May 13, 2021 and June 14, 2021 convertible promissory notes of $63,920,128 and accrued interests of $306,438 were converted into 2,123 shares of series B preferred stock and 9,163,965 shares of common stock of the Company.

 

LiquidValue Development Pte Ltd. LVD operates in the asset management field and will be leveraged by the Company to establish an actively managed open-ended exchange-traded fund in the U.S. focused on disruptive investment opportunities with long-term exponential growth potential. The Company has acquired all of the issued and outstanding stock of LVD.

 

10

 

 

True Partner Capital Holding Limited. True Partner operates as a fund management company in the U.S. and Hong Kong. True Partner manages funds and provides managed accounts on a discretionary basis using a proprietary trading platform, offering investment management and consultancy services. True Partner also develops and supports its trading platform and related proprietary software and provides management services for a portfolio of securities and futures contracts. Its fund investors and managed accounts are primarily professional investors, including family offices, pension funds, high-net-worth individuals, endowments/foundations, and financial institutions. True Partner was founded in 2010 and is headquartered in Hong Kong. True Partner is currently listed on the Hong Kong Stock Exchange (HKSE), with over USD $1.7 billion assets under management (AUM). Pursuant to the Securities Purchase Agreement, the Company has acquired 62,122,908 ordinary shares in True Partner (HKG: 8657). The Company now owns 15.5% of True Partner.

 

On January 18, 2022, the Company entered into a stock purchase agreement with DSS, Inc., pursuant to which the Company has agreed to sell, through the transfer of subsidiary and otherwise, 62,122,908 shares of stock of True Partner Capital Holding Limited in exchange for 11,397,080 shares of the common stock of DSS. On February 28, 2022 the Company entered into a revised Stock Purchase Agreement with DSS, Inc., pursuant to which the Company has agreed to replace the January 18, 2022 agreement with a new agreement to sell a subsidiary holding 44,808,908 shares of stock of True Partner Capital Holding Limited, together with an additional 17,314,000 shares of True Partner Capital Holding Limited (for a total of 62,122,908 shares) in exchange for 17,570,948 shares of common stock of DSS (the “DSS Shares”). The issuance of the DSS Shares will be subject to the approval of the NYSE American (on which the common stock of DSS is listed) and DSS’s shareholders.

 

American Pacific Bancorp Inc. APB is a financial network holding company focused on acquiring equity positions in (i) undervalued commercial bank(s), bank holding companies and nonbanking licensed financial companies operating in the United States, South East Asia, Taiwan, Japan and South Korea, and (ii) companies engaged in—nonbanking activities closely related to banking, including loan syndication services, mortgage banking, trust and escrow services, banking technology, loan servicing, equipment leasing, problem asset management, SPAC (special purpose acquisition company) consulting services, and advisory capital raising services. The Company acquired 4,775,523 shares of the Class B common stock of APB, representing approximately 86.4% of the total common stock of APB. On September 8, 2021 APB sold 6,666,700 shares Series A Common Stock to DSS, Inc. for $40,000,200 cash. As a result of such share issuance, the Company’s ownership percentage of APB fell to 41.3%.

 

Alset Capital Acquisition Corp. On February 3, 2022 Alset Capital Acquisition Corp. (“Alset Capital”), a special purpose acquisition company sponsored by the Company and certain affiliates, closed its initial public offering of 7,500,000 units at $10.00 per unit. Each unit consisted of one of Alset Capital’s shares of Class A common stock, one-half of one redeemable warrant and one right to receive one-tenth of one share of Class A common stock upon the consummation of an initial business combination. Each whole warrant entitles the holder thereof to purchase one share of Class A common stock at a price of $11.50 per share. Only whole warrants are exercisable. The underwriters exercised their over-allotment option in full for an additional 1,125,000 units on February 1, 2022, which closed at the time of the closing of the Offering. As a result, the aggregate gross proceeds of this offering, including the over-allotment, were $86,250,000, prior to deducting underwriting discounts, commissions, and other offering expenses.

 

Alset Capital’s units have been listed on the Nasdaq Global Market and began trading on February 1, 2022, under the ticker symbol “ACAXU”. On March 24, 2022, the shares of Class A common stock, warrants and rights were listed on Nasdaq under the symbols “ACAX,” “ACAXW” and “ACAXR,” respectively.

 

Alset Capital is a newly organized blank check company formed for the purpose of effecting a merger, capital stock exchange, asset acquisition, stock purchase, reorganization or similar business combination with one or more businesses. While Alset Capital may pursue an initial business combination target in any business or industry, it intends to focus on identifying businesses in the real estate industry, including construction, homebuilding, real estate owners and operators, arrangers of financing, insurance, and other services for real estate, and adjacent businesses and technologies targeting the real estate space, which may be referred to as “Proptech” businesses.

 

The Company and its majority-owned subsidiary Alset International Limited each own 45% of the sole member of Alset Acquisition Sponsor, LLC, the sponsor (the “Sponsor”) of Alset Capital, with the remaining 10% of the sole member of the Sponsor owned by Alset Investment Pte. Ltd., a company owned by the Company’s Chairman, Chief Executive Officer and largest stockholder, Chan Heng Fai.

 

On February 3, 2022, the Sponsor purchased 473,750 units (the “Private Placement Units”) pursuant to a private placement for a purchase price of $4,737,500. Each Private Placement Unit consists of one share of Class A common stock, one-half of one warrant and one right entitling the holder to receive one tenth (1/10) of one share of Class A common stock. Previously, the Sponsor had purchased 2,156,250 shares of Class B common stock pursuant to a private placement for a purchase price of $25,000, or approximately $0.012 per share. The Class B common stock will automatically convert into shares of Class A common stock at the time of Alset Capital’s initial business combination on a one-for-one basis, subject to certain adjustments.

 

Immediately following its initial public offering, Alset Capital began to evaluate acquisition candidates that can be considered Proptech businesses. Alset Capital’s goal is to complete its initial business combination within one year of its initial public offering. We expect Alset Capital to operate as a separately managed, publicly traded entity following the completion of the initial business combination, or “De-SPAC”.

 

11

 

 

Sales and Marketing

 

We focus our corporate marketing efforts on increasing brand awareness, communicating the advantages of our various platforms and generating qualified leads for our sales team. Our corporate marketing plan is designed to continually elevate awareness of our brand and generate demand for our offerings. We rely on a number of channels in this area, including digital advertising, email marketing, social media, affiliate marketing and broad-based media, as well as through various strategic partnerships. We maintain our website at https://www.alsetehomeintl.com, and our various operating subsidiaries maintain individual websites, many of which are accessible through our main website.

 

Each of our businesses has developed a field sales force in their geographic markets. These sales force teams are responsible for identifying and managing individual sales opportunities in their respective regions.

 

Competition

 

The businesses in which we participate, real estate, digital transformation technology and biohealth, are each highly competitive. Competition is based upon several factors, including price, reputation, quality and brand recognition. Existing and future competitors may introduce products and services in the same markets we serve, and competing products or services may have better performance, lower prices, better functionality and broader acceptance than our products. Our competitors may also add features to their products or services similar to features that presently differentiate our product and service offerings from theirs. This competition could result in increased sales and marketing expenses, thereby materially reducing our operating margins, and could harm our ability to increase, or cause us to lose, market share. Some of our competitors and potential competitors supply a wide variety of products and services, and have well-established relationships with our current and prospective customers.

 

Most, if not all, of our current and potential competitors may have significantly greater resources or better competitive positions in certain product segments, geographic regions or user demographics than we do. These factors may allow our competitors to respond more effectively than us to new or emerging technologies and changes in market conditions. By way of example, in our real estate business, some of our competitors already have the advantage of having created vertically integrated businesses, while other competitors have broader and deeper relationships with sources of financing. Other competitors in our real estate business may have more substantial ties and experience in geographical areas in which we operate.

 

Our competitors may develop products, features or services that are similar to ours or that achieve greater acceptance, may undertake more far-reaching and successful product development efforts or marketing campaigns, or may adopt more aggressive pricing policies. This is particularly relevant for our digital transformation technology business. Certain competitors could use strong or dominant positions in one or more markets to gain competitive advantage against us in our target market or markets. As a result, our competitors may acquire and engage customers or generate revenue at the expense of our own efforts.

 

Protection of Proprietary Technology

 

We rely on a combination of patent, trademark, copyright and trade secret laws in the United States and other jurisdictions, as well as confidentiality procedures and contractual provisions, to protect our proprietary information, technology and brands.

 

We protect our proprietary information and technology, in part, by generally requiring our employees to enter into agreements providing for the maintenance of confidentiality and the assignment of rights to inventions made by them while employed by us. We also may enter into non-disclosure and invention assignment agreements with certain of our technical consultants to protect our confidential and proprietary information and technology. We cannot assure you that our confidentiality agreements with our employees and consultants will not be breached, that we will be able to effectively enforce these agreements, that we will have adequate remedies for any breach of these agreements, or that our trade secrets and other proprietary information and technology will not be disclosed or will otherwise be protected.

 

We also rely on contractual and license agreements with third parties in connection with their use of our technology and services. There is no guarantee that such parties will abide by the terms of such agreements or that we will be able to adequately enforce our rights. Protection of confidential information, trade secrets and other intellectual property rights in the markets in which we operate and compete is highly uncertain and may involve complex legal questions. We cannot completely prevent the unauthorized use or infringement of our confidential information or intellectual property rights as such prevention is inherently difficult. Costly and time-consuming litigation could be necessary to enforce and determine the scope of our confidential information and intellectual property protection.

 

12

 

 

Government Regulation

 

Like many similarly diversified companies, our operations are subject to routine regulation by governmental agencies. Much of this regulation will affect us indirectly, inasmuch as, and to the extent that, it affects our customers more directly. A summary of the laws and regulations that might affect our customers is set forth below.

 

Real Estate Business. The development of our real estate projects will require us to comply with federal, state and local environmental regulations. In connection with this compliance, our real estate acquisition and development projects will require environmental studies. To date, we have spent approximately $57,581 on environmental studies and compliance. Such costs are reflected in capitalized construction costs in our financial statements.

 

The cost of complying with governmental regulations is significant and will increase if we add additional real estate projects, become involved in homebuilding in the future and are required to comply with certain due diligence procedures related to third party lenders.

 

At the present time, we believe that we have all of the material government approvals that we need to conduct our business as currently conducted. We are subject to periodic local permitting that must be addressed, but we do not anticipate that such requirements for government approval will have a material impact on our business as presently conducted. We are required to comply with government regulations and to make filings from time to time with various government entities. Such work is typically handled by outside contractors we retain.

 

Digital Transformation Technology Business. Companies conducting business on the Internet are subject to a number of foreign and domestic laws and regulations. In addition, laws and regulations relating to user privacy, freedom of expression, content, advertising, information security and intellectual property rights are being debated and considered for adoption by many countries throughout the world. Online businesses face risks from some of the proposed legislation that could be passed in the future.

 

The adoption of any laws or regulations that adversely affect the growth, popularity or use of the Internet, including laws impacting Internet neutrality, could decrease the demand for our services and increase our cost of doing business. As we expand internationally, government regulation concerning the Internet, and in particular, network neutrality, may be nascent or non-existent. Within such a regulatory environment, coupled with potentially significant political and economic power of local network operators, we could experience discriminatory or anti-competitive practices that could impede our growth, cause us to incur additional expense or otherwise negatively affect our business.

 

In the United States, laws relating to the liability of providers of online services for activities of their users and other third parties are currently being tested by a number of claims, which include actions for libel, slander, invasion of privacy and other tort claims, unlawful activity, copyright and trademark infringement, and other theories based on the nature and content of the materials searched, the ads posted, or the content generated by users. Certain foreign jurisdictions are also testing the liability of providers of online services for activities of their users and other third parties. Any court ruling that imposes liability on providers of online services for activities of their users and other third parties could harm our licensees’ businesses, and thus, indirectly, our business.

 

13

 

 

Biohealth Business. Our businesses are subject to varying degrees of governmental regulation in the countries in which our operations are conducted, and the general trend is toward increasingly stringent regulation. In the United States, the drug, device and cosmetic industries have long been subject to regulation by various federal and state agencies, primarily as to product safety, efficacy, manufacturing, advertising, labeling and safety reporting. The exercise of broad regulatory powers by the U.S. Food and Drug Administration, or FDA, continues to result in increases in the amounts of testing and documentation required for FDA approval of new drugs and devices and a corresponding increase in the expense of product introduction. Similar trends are also evident in major markets outside of the United States. The new medical device regulatory framework and the new privacy regulations in Europe are examples of such increased regulation.

 

The costs of human health care have been and continue to be a subject of study, investigation and regulation by governmental agencies and legislative bodies around the world. In the United States, attention has been focused on drug prices and profits and programs that encourage doctors to write prescriptions for particular drugs, or to recommend, use or purchase particular medical devices. Payers have become a more potent force in the market place and increased attention is being paid to drug and medical device pricing, appropriate drug and medical device utilization and the quality and costs of health care generally. The regulatory agencies under whose purview we operate have administrative powers that may subject it to actions such as product withdrawals, recalls, seizure of products and other civil and criminal sanctions. In some cases, our subsidiaries may deem it advisable to initiate product recalls.

 

In addition, business practices in the health care industry have come under increased scrutiny, particularly in the United States, by government agencies and state attorneys general, and resulting investigations and prosecutions carry the risk of significant civil and criminal penalties.

 

Further, we rely on global supply chains, and production and distribution processes, that are complex, are subject to increasing regulatory requirements, and may be faced with unexpected changes that may affect sourcing, supply and pricing of materials used in our products. These processes also are subject to lengthy regulatory approvals.

 

As described above, certain of our businesses are subject to compliance with laws and regulations of U.S. federal and state governments, non-U.S. governments, their respective agencies and/or various self-regulatory organizations or exchanges relating to, among other things, disclosure and the privacy of client information, and any failure to comply with these regulations could expose us to liability and/or damage our reputation. Our businesses have operated for many years within a legal framework that requires us to monitor and comply with a broad range of legal and regulatory developments that affect our activities. However, additional legislation, changes in rules promulgated by self-regulatory organizations or changes in the interpretation or enforcement of existing laws and rules, either in the United States or elsewhere, may directly affect our mode of operation and profitability.

 

Rigorous legal and compliance analysis of our businesses is endemic to our culture and risk management. Management of each of our businesses supervise our compliance personnel, who are responsible for addressing all regulatory and compliance matters that affect our activities. We strive to maintain a culture of compliance through the use of policies and procedures, including a code of ethics, electronic compliance systems, testing and monitoring, communication of compliance guidance and employee education and training. Our compliance policies and procedures address a variety of regulatory and compliance matters such as the handling of material non-public information, personal securities trading, marketing practices, gifts and entertainment, valuation of investments, recordkeeping, potential conflicts of interest, the allocation of corporate opportunities, collection of fees and expense allocation.

 

We also monitor the information barriers that we maintain between the public and private sides of our businesses. We believe that our various businesses’ access to the intellectual knowledge and contacts and relationships that reside throughout our firm benefits all of our businesses. To maximize that access without compromising compliance with our legal and contractual obligations, our compliance group oversees and monitors the communications between groups that are on the private side of our information barrier and groups that are on the public side, as well as between different public side groups. Our compliance group also monitors contractual obligations that may be impacted and potential conflicts that may arise in connection with these inter-group discussions.

 

14

 

 

Facilities

 

We manage our worldwide business from our principal executive offices located in Bethesda, Maryland, in a leased space of approximately 2,059 square feet, under a lease that expires in 2024. We also maintain offices in Singapore, Magnolia, Texas, Hong Kong and South Korea through leased spaces aggregating approximately 16,446 square feet, under leases expiring on various dates from April 2022 to September 2024. The leases have rental rates ranging from $2,265 to $21,500 per month. Our total rent expense under these office leases was $587,685 and $413,240 in 2021 and 2020, respectively. We expect total rent expense to be approximately $418,219 under office leases in 2022. We believe our present office space and locations are adequate for our current operations and for near-term planned expansion.

 

Employees

 

As of March 31, 2022, we had a total of 32 full-time employees. In addition to our full-time employees, we occasionally hire part-time employees and independent contractors to assist us in various operations, including real estate, research and product development and production.

 

Our future success will depend in part on our ability to attract, retain and motivate highly qualified technical and sales personnel for whom competition is intense. Our employees are not represented by any collective bargaining unit. We believe our relations with employees and contractors are good.

 

Item 1A. Risk Factors.

 

An investment in our common stock involves a high degree of risk. You should carefully consider the risks described below and the other information in this Report before making a decision to invest in our common stock. If any of the following risks and uncertainties develop into actual events, our business, results of operations and financial condition could be adversely affected. In those cases, the trading price of our common stock could decline and you may lose all or part of your investment.

 

Risks Related to Our Company

 

Management has identified a material weakness in the design and effectiveness of our internal controls, which, if not remediated, could affect the accuracy and timeliness of our financial reporting and result in misstatements in our financial statements.

 

In connection with the preparation of our Report on Form 10-K, an evaluation was carried out by management, with the participation of our Co-Chief Executive Officers and Co-Chief Financial Officers, of the effectiveness of our disclosure controls and procedures (as defined in Rules 13a-15(e) and 15d-15(e) under the Securities Exchange Act of 1934 (the “Exchange Act”) as of December 31, 2021. Disclosure controls and procedures are designed to ensure that information required to be disclosed in reports filed or submitted under the Exchange Act is recorded, processed, summarized and reported within the time periods specified, and that such information is accumulated and communicated to management, including the Chief Executive Officer and Co-Chief Financial Officers, to allow timely decisions regarding required disclosure.

 

During evaluation of our disclosure controls and procedures as of December 31, 2021, conducted as part of our annual audit and preparation of our annual financial statements, management conducted an evaluation of the effectiveness of the design and operations of our disclosure controls and procedures and concluded that our disclosure controls and procedures were not effective. Management determined that at December 31, 2021, we had a material weakness that relates to the relatively small number of staff. This limited number of staff prevents us from segregating duties within our internal control system and restricts our ability to timely evaluate the accuracy and completeness of our financial statement disclosures.

 

This material weakness, which remained unremedied by the Company as of December 31, 2021, could result in a misstatement to the accounts and disclosures that would result in a material misstatement to our annual or interim consolidated financial statements that would not be prevented or detected. If we do not remediate the material weakness or if other material weaknesses are identified in the future, we may be unable to report our financial results accurately or to report them on a timely basis, which could result in the loss of investor confidence and have a material adverse effect on our stock price as well as our ability to access capital and lending markets. We are presently taking efforts to remediate this weakness.

 

15

 

 

Risks Relating to Our Business

 

We have a history of annual net losses which may continue and which may negatively impact our ability to achieve our business objectives.

 

For the years ended December 31, 2021 and 2020, we had revenue of $19,798,822 and $16,238,200, respectively, and net losses of $119,017,591 and $5,100,318 in the years ended December 31, 2021 and 2020, respectively. Our failure to increase our revenues or improve our gross margins will harm our business. We may not be able to achieve, sustain or increase profitability on a quarterly or annual basis in the future. If our revenue grows more slowly than we anticipate, our gross margins fail to improve or our operating expenses exceed our expectations, our operating results will suffer. The prices we charge for our properties, products and services may decrease, which would reduce our revenues and harm our business. If we are unable to sell our properties, products and services at acceptable prices relative to our costs, or if we fail to develop and introduce on a timely basis new products or services from which we can derive additional revenues, our financial results will suffer.

 

We cannot ensure the long-term successful operation of our business or the execution of our growth strategy.

 

Our prospects must be considered in light of the risks, expenses and difficulties frequently encountered by growing companies in new and rapidly evolving markets. We may meet many challenges including:

 

establishing and maintaining broad market acceptance of our products and services and converting that acceptance into direct and indirect sources of revenue;
establishing and maintaining adoption of our technology on a wide variety of platforms and devices;
timely and successfully developing new products and services and increasing the features of existing products and services;
developing products and services that result in high degrees of customer satisfaction and high levels of customer usage;
successfully responding to competition, including competition from emerging technologies and solutions;
developing and maintaining strategic relationships to enhance the distribution, features, content and utility of our products and services; and
identifying, attracting and retaining talented technical and sales services staff at reasonable market compensation rates in the markets in which we operate.

 

Our growth strategy may be unsuccessful and we may be unable to address the risks we face in a cost-effective manner, if at all. If we are unable to successfully address these risks our business will be harmed.

 

We have a holding company ownership structure and will depend on distributions from our majority-owned and/or controlled operating subsidiaries to meet our obligations. Contractual or legal restrictions applicable to our subsidiaries could limit payments or distributions from them.

 

We are a holding company and derive all of our operating income from, and hold substantially all of our assets through, our U.S. and foreign subsidiaries, some of which are publicly held and traded. The effect of this structure is that we will depend on the earnings of our subsidiaries, and the payment or other distributions to us of these earnings, to meet our obligations and make capital expenditures. Provisions of U.S. and foreign corporate and tax law, like those requiring that dividends are paid only out of surplus, and provisions of any future indebtedness, may limit the ability of our subsidiaries to make payments or other distributions to us. Certain of our subsidiaries are minority owned and the assets of these companies are not included in our consolidated balance sheets. Additionally, in the event of the liquidation, dissolution or winding up of any of our subsidiaries, creditors of that subsidiary (including trade creditors) will generally be entitled to payment from the assets of that subsidiary before those assets can be distributed to us.

 

16

 

 

Our significant ownership interests in public companies listed on limited public trading markets subjects us to risks relating to the sale of their shares and the fluctuations in their stock prices.

 

We own indirect interests in several publicly traded companies – most significantly, Alset International Limited, whose shares are listed on the Singapore Stock Exchange, DSS, Inc., whose shares are listed on the NYSE American LLC Exchange, Holista CollTech Limited, whose shares are listed on the Australian Stock Exchange, True Partner Capital Holding Limited, Value Exchange International Inc., whose shares are listed on OTCQB Venture Market of the OTC Markets Group, Inc. and Alset Capital Acquisition Corp., listed on the Nasdaq (LiquidValue Development Inc. and GigWorld Inc. are not currently traded on any exchange). The average trading volume of the public shares is limited for some of these companies. In view of the limited public trading markets for some of these shares, there can be no assurance that we would succeed in obtaining a price for these shares equal to the price quoted for such shares in their respective trading markets at the time of sale or that we would not incur a loss on our shares should we determine to dispose our shareholding in any of these companies in the future. Additionally, on an ongoing basis, fluctuations in the stock prices of these companies are likely to be reflected in the market price of our common stock. Given the limited public trading markets in some of these public companies, stock price fluctuations in our price may be significant.

 

General political, social and economic conditions can adversely affect our business.

 

Demand for our products and services depends, to a significant degree, on general political, social and economic conditions in our markets. Worsening economic and market conditions, downside shocks, or a return to recessionary economic conditions could serve to reduce demand for our products and services and adversely affect our operating results. In addition, an economic downturn could impact the valuation and collectability of certain long-term receivables held by us. We could also be adversely affected by such factors as changes in foreign currency rates and weak economic and political conditions in each of the countries in which we operate.

 

Disruptions in the financial markets and uncertain economic conditions could adversely affect the value of our real estate investments.

 

Disruptions in the financial markets could adversely affect the value of our real estate investments. Concerns over economic recession, the COVID-19 pandemic, interest rate increases, policy priorities of the U.S. presidential administration, trade wars, labor shortages, or inflation may contribute to increased volatility and diminished expectations for the economy and markets. Additionally, concern over geopolitical issues may also contribute to prolonged market volatility and instability. For example, the conflict between Russia and Ukraine has led to disruption, instability and volatility in global markets and industries. The U.S. government and other governments in jurisdictions have imposed severe economic sanctions and export controls against Russia and Russian interests, have removed Russia from the SWIFT system, and have threatened additional sanctions and controls. The impact of these measures, as well as potential responses to them by Russia, is unknown. Such conditions could impact real estate fundamentals and result in lower occupancy, lower rental rates, and declining values in our real estate portfolio and in the collateral securing our loan investments. As a result, the value of our property investments could decrease below the amounts paid for such investments, the value of collateral securing our loans could decrease below the outstanding principal amounts of such loans, and revenues from our properties could decrease due to fewer and/or delinquent tenants or lower rental rates. These factors would significantly harm our revenues, results of operations, financial condition, business prospects and our ability to make distributions to our stockholders.

 

The coronavirus or other adverse public health developments could have a material and adverse effect on our business operations, financial condition and results of operations.

 

In December 2019, a novel strain of coronavirus (COVID-19) was first identified in Wuhan, Hubei Province, China, and has since spread to a number of other countries, including the United States. The coronavirus, or other adverse public health developments, could have a material and adverse effect on our business operations. The coronavirus’ far-reaching impact on the global economy could negatively affect various aspects of our business, including demand for real estate. In addition, the coronavirus could directly impact the ability of our staff and contractors to continue to work, and our ability to conduct our operations in a prompt and efficient manner. The coronavirus may adversely impact the timeliness of local government in granting required approvals. Accordingly, the coronavirus may cause the completion of important stages in our projects to be delayed. The extent to which the coronavirus may impact our business will depend on future developments, which are highly uncertain and cannot be predicted. For more information on this matter, see “Management’s Discussion and Analysis of Financial Condition and Results of Operations- Financial Impact of the COVID-19 Pandemic.”

 

17

 

 

We have made and expect to continue to make acquisitions as a primary component of our growth strategy. We may not be able to identify suitable acquisition candidates or consummate acquisitions on acceptable terms, which could disrupt our operations and adversely impact our business and operating results.

 

A primary component of our growth strategy has been to acquire complementary businesses to grow our company. We intend to continue to pursue acquisitions of complementary technologies, products and businesses as a primary component of our growth strategy to expand our operations and customer base and provide access to new markets and increase benefits of scale. Acquisitions involve certain known and unknown risks that could cause our actual growth or operating results to differ from our expectations. For example:

 

we may not be able to identify suitable acquisition candidates or to consummate acquisitions on acceptable terms;
we may pursue international acquisitions, which inherently pose more risks than domestic acquisitions;
we compete with others to acquire complementary products, technologies and businesses, which may result in decreased availability of, or increased price for, suitable acquisition candidates;
we may not be able to obtain the necessary financing, on favorable terms or at all, to finance any or all of our potential acquisitions; and
we may ultimately fail to consummate an acquisition even if we announce that we plan to acquire a technology, product or business.

 

We may be unable to successfully integrate acquisitions, which may adversely impact our operations.

 

Acquired technologies, products or businesses may not perform as we expect and we may fail to realize anticipated revenue and profits. In addition, our acquisition strategy may divert management’s attention away from our existing business, resulting in the loss of key customers or employees, and expose us to unanticipated problems or legal liabilities, including responsibility as a successor for undisclosed or contingent liabilities of acquired businesses or assets.

 

If we fail to conduct due diligence on our potential targets effectively, we may, for example, not identify problems at target companies or fail to recognize incompatibilities or other obstacles to successful integration. Our inability to successfully integrate future acquisitions could impede us from realizing all of the benefits of those acquisitions and could severely weaken our business operations. The integration process may disrupt our business and, if new technologies, products or businesses are not implemented effectively, may preclude the realization of the full benefits expected by us and could harm our results of operations. In addition, the overall integration of new technologies, products or businesses may result in unanticipated problems, expenses, liabilities and competitive responses. The difficulties integrating an acquisition include, among other things:

 

issues in integrating the target company’s technologies, products or businesses with ours;
incompatibility of marketing and administration methods;
maintaining employee morale and retaining key employees;
integrating the cultures of our companies;
preserving important strategic customer relationships;
consolidating corporate and administrative infrastructures and eliminating duplicative operations; and
coordinating and integrating geographically separate organizations.

 

In addition, even if the operations of an acquisition are integrated successfully, we may not realize the full benefits of the acquisition, including the synergies, cost savings or growth opportunities that we expect. These benefits may not be achieved within the anticipated time frame, or at all.

 

Acquisitions which we complete may have an adverse impact on our results of operations.

 

Acquisitions may cause us to:

 

issue common stock that would dilute our current stockholders’ ownership percentage;
use a substantial portion of our cash resources;
increase our interest expense, leverage and debt service requirements if we incur additional debt to pay for an acquisition;
assume liabilities for which we do not have indemnification from the former owners; further, indemnification obligations may be subject to dispute or concerns regarding the creditworthiness of the former owners;

 

18

 

 

record goodwill and non-amortizable intangible assets that are subject to impairment testing and potential impairment charges;
experience volatility in earnings due to changes in contingent consideration related to acquisition earn-out liability estimates;
incur amortization expenses related to certain intangible assets;
lose existing or potential contracts as a result of conflict of interest issues;
become subject to adverse tax consequences or deferred compensation charges;
incur large and immediate write-offs; or
become subject to litigation.

 

Our resources may not be sufficient to manage our expected growth; failure to properly manage our potential growth would be detrimental to our business.

 

We may fail to adequately manage our anticipated future growth. Any growth in our operations will place a significant strain on our administrative, financial and operational resources and increase demands on our management and on our operational and administrative systems, controls and other resources. We cannot assure you that our existing personnel, systems, procedures or controls will be adequate to support our operations in the future or that we will be able to successfully implement appropriate measures consistent with our growth strategy. As part of this growth, we may have to implement new operational and financial systems, procedures and controls to expand, train and manage our employee base, and maintain close coordination among our technical, accounting, finance, marketing and sales. We cannot guarantee that we will be able to do so, or that if we are able to do so, we will be able to effectively integrate them into our existing staff and systems. There may be greater strain on our systems as we acquire new businesses, requiring us to devote significant management time and expense to the ongoing integration and alignment of management, systems, controls and marketing. If we are unable to manage growth effectively, such as if our sales and marketing efforts exceed our capacity to design and produce our products and services or if new employees are unable to achieve performance levels, our business, operating results and financial condition could be materially and adversely affected.

 

We will lose our entire investment in Alset Capital if it does not complete its initial business combination and our officers may have a conflict of interest in determining whether a particular business combination target is appropriate for Alset Capital.

 

We purchased, through the Sponsor, founder shares in Alset Capital for an aggregate purchase price of $25,000. In connection with Alset Capital’s initial public offering, we purchased, through the Sponsor, 473,750 private placement units at a price of $10.00 per unit, for an aggregate purchase price of $4,737,500. The founder shares and private placement units will be worthless if Alset Capital does not complete an initial business combination. In addition, the Sponsor may provide loans to Alset Capital. The interests of our officers and directors who also serve as officers and directors of Alset Capital may influence their motivation in identifying and selecting a target business combination, completing an initial business combination and influencing the operation of the business following Alset Capital’s initial business combination.

 

Our officers, including our Chairman, Chief Executive Officer Chan Heng Fai, will allocate some of their time to Alset Capital, thereby causing potential conflicts of interest in their determination as to how much time to devote to our affairs. This potential conflict of interest could have a negative impact on our operations.

 

Mr. Chan, our Chairman, and Chief Executive Officer, and Mr. Wei, our Chief Financial Officer, also serve in these positions for Alset Capital, and Mr. Chan additionally also serves as a director of Alset Capital. These officers may not commit their full time to our affairs, which may result in a conflict of interest in allocating their time between our operations and Alset Capital’s operations. These officers are engaged in Alset Capital and are not obligated to contribute any specific number of hours per week to our affairs. While we do not believe that the time devoted to Alset Capital will undermine their ability to fulfill their duties with respect to our Company, if the business affairs of Alset Capital require them to devote substantial amounts of time to such affairs, it could limit their ability to devote time to our affairs which may have a negative impact on our operations.

 

A conflict of interest may arise if we seek to acquire an entity that is also a target for an initial business combination with Alset Capital.

 

Alset Capital is also seeking to acquire a company engaged in the real estate business, and is not formally constrained in any way from pursuing acquisitions or business combinations that could be suitable transactions for the Company. We do not believe it is likely that Alset Capital will compete against the Company for suitable acquisition targets based upon Alset Capital’s current business model. Nevertheless, it is possible that a potential transaction could arise that would be suitable for both the Company and Alset Capital, giving rise to a conflict of interest. If such a circumstance were to occur, we anticipate that the board of directors would recuse any conflicted members of our management from taking any role in the consideration of such a transaction and, to the extent necessary, retain appropriately qualified, non-conflicted personnel to advise us.

 

Our international operations are subject to increased risks which could harm our business, operating results and financial condition.

 

In addition to uncertainty about our ability to expand our international market position, there are risks inherent in doing business internationally, including:

 

trade barriers, tariffs and changes in trade regulations;
difficulties in developing, staffing and simultaneously managing a large number of varying foreign operations as a result of distance, language and cultural differences;
the need to comply with varied local laws and regulations;
longer payment cycles;
possible credit risk and higher levels of payment fraud;
profit repatriation restrictions and foreign currency exchange restrictions;
political or social unrest, economic instability or human rights issues;
geopolitical events, including acts of war and terrorism;
import or export regulations;
compliance with U.S. laws (such as the Foreign Corrupt Practices Act), and local laws prohibiting corrupt payments to government officials;
laws and business practices that favor local competitors or prohibit foreign ownership of certain businesses; and
different and more stringent data protection, privacy and other laws.

 

Our failure to manage any of these risks successfully could harm our international operations and our overall business, and results of our operations.

 

19

 

 

If we are unable to retain the services of Chan Heng Fai or if we are unable to successfully recruit qualified personnel, we may not be able to continue operations.

 

Our success depends to a significant extent upon the continued service of Chan Heng Fai, our founder, Chairman and Chief Executive Officer. The loss of the services of Chan Heng Fai could have a material adverse effect on our growth, revenues and prospective business. If Chan Heng Fai was to resign or we are unable to retain his services, the loss could result in loss of sales, delays in new product development and diversion of management resources. We could face high costs and substantial difficulty in hiring a qualified successor and could experience a loss in productivity while any such successor obtains the necessary training and experience. Chan Heng Fai has committed that the majority of his time will be devoted to managing the affairs of our company; however, Chan Heng Fai may engage in other business ventures, including other technology-related businesses.

 

In order to successfully implement and manage our businesses, we are also dependent upon successfully recruiting qualified personnel. In particular, we must hire and retain experienced management personnel to help us continue to grow and manage each business, and skilled engineering, product development, marketing and sales personnel to further our research and product development efforts. Competition for qualified personnel is intense. If we do not succeed in attracting new personnel or in retaining and motivating our current personnel, our business could be harmed.

 

If we do not successfully develop new products and services, our business may be harmed.

 

Our business and operating results may be harmed if we fail to expand our various product and service offerings (either through internal product or capability development initiatives or through partnerships and acquisitions) in such a way that achieves widespread market acceptance or that generates significant revenue and gross profits to offset our operating and other costs. We may not successfully identify, develop and market new product and service offerings in a timely manner. If we introduce new products and services, they may not attain broad market acceptance or contribute meaningfully to our revenue or profitability. Competitive or technological developments may require us to make substantial, unanticipated capital expenditures in new products and technologies or in new strategic partnerships, and we may not have sufficient resources to make these expenditures. Because the markets for many of our products and services are subject to rapid change, we may need to expand and/or evolve our product and service offerings quickly. Delays and cost overruns could affect our ability to respond to technological changes, evolving industry standards, competitive developments or customer requirements and harm our business and operating results.

 

Your investment return may be reduced if we are required to register as an investment company under the Investment Company Act; if we or our majority-owned and/or controlled operating subsidiaries become an unregistered investment company, then we would need to modify our business philosophy and/or make other changes to our asset composition.

 

Neither we nor any of our majority-owned and/or controlled subsidiaries intends to register as an investment company under the Investment Company Act of 1940. If we or our subsidiaries were obligated to register as investment companies, then we would have to comply with a variety of regulatory requirements under the Investment Company Act that impose, among other things:

 

limitations on capital structure;
restrictions on specified investments;
prohibitions on transactions with affiliates; and
compliance with reporting, record keeping, voting, proxy disclosure and other rules and regulations that would significantly increase our operating expenses.

 

20

 

 

Under the relevant provisions of Section 3(a)(1) of the Investment Company Act, an investment company is any issuer that:

 

pursuant to Section 3(a)(1)(A), is or holds itself out as being engaged primarily, or proposes to engage primarily, in the business of investing, reinvesting or trading in securities (the “primarily engaged test”); or

 

pursuant to Section 3(a)(1)(C), is engaged or proposes to engage in the business of investing, reinvesting, owning, holding or trading in securities and owns or proposes to acquire “investment securities” having a value exceeding 40% of the value of such issuer’s total assets (exclusive of United States government securities and cash items) on an unconsolidated basis (the “40% asset test”). “Investment securities” exclude United States government securities and securities of majority-owned subsidiaries that are not themselves investment companies and are not relying on the exception from the definition of investment company under Section 3(c)(1) or Section 3(c)(7) (relating to private investment companies).

 

Neither we nor any of our majority-owned and/or controlled subsidiaries should be required to register as an investment company under either of the tests above. With respect to the 40% asset test, most of the entities through which we and our majority-owned and/or controlled subsidiaries will own assets will in turn be majority-owned and/or controlled subsidiaries that will not themselves be investment companies and will not be relying on the exceptions from the definition of investment company under Section 3(c)(1) or Section 3(c)(7) (relating to private investment companies).

 

With respect to the primarily engaged test, we, together with our majority-owned and/or controlled subsidiaries, are a holding company and do not intend to invest or trade in securities. Rather, through our majority-owned and/or controlled subsidiaries, we will be primarily engaged in the non-investment company businesses of these subsidiaries, namely, real estate, digital transformation technology and biohealth.

 

To maintain compliance with the Investment Company Act, our majority-owned and/or controlled operating subsidiaries may be unable to sell assets we would otherwise want them to sell and may need to sell assets we would otherwise wish them to retain. In addition, our subsidiaries may have to acquire additional assets that they might not otherwise have acquired or may have to forego opportunities to buy minority equity interests that we would otherwise want them to make and would be important to our business philosophy. Moreover, the SEC or its staff may issue interpretations with respect to various types of assets that are contrary to our views and current SEC staff interpretations are subject to change, which increases the risk of non-compliance and the risk that we may be forced to make adverse changes to our asset composition. If we were required to register as an investment company but failed to do so, we would be prohibited from engaging in our current business and criminal and civil actions could be brought against us. In addition, our contracts would be unenforceable unless a court required enforcement and a court could appoint a receiver to take control of our company and liquidate our business.

 

If we are deemed to be an investment company under the Investment Company Act, including due to our sponsorship of the Alset Capital SPAC, our stockholders’ investment return may be reduced.

 

We are not registered as an investment company under the Investment Company Act of 1940, based on exceptions we believe are available to us. Our investment in the Alset Capital SPAC discussed above could give rise to a determination that we are an investment company subject to registration under the Investment Company Act. We intend to conduct our operations so that we will not be deemed to be an investment company. The SPAC initial public offering registration statement and related prospectus includes an exception permitting us to transfer our ownership in the founder shares at any time to the extent that we determine, in good faith, that such transfer is necessary to ensure that we comply with the Investment Company Act.

 

If we do not adequately protect our intellectual property rights, we may experience a loss of revenue and our operations may be materially harmed.

 

We rely on and expect to continue to rely on a combination of confidentiality and license agreements with our employees, consultants and third parties with whom we have relationships, as well as patent, trademark, copyright and trade secret protection laws, to protect our intellectual property and proprietary rights. We cannot assure you that we can adequately protect our intellectual property or successfully prosecute potential infringement of our intellectual property rights. Also, we cannot assure you that others will not assert rights in, or ownership of, trademarks and other proprietary rights of ours or that we will be able to successfully resolve these types of conflicts to our satisfaction. Our failure to protect our intellectual property rights may result in a loss of revenue and could materially harm our operations and financial condition.

 

21

 

 

New legislation, regulations or rules related to obtaining patents or enforcing patents could significantly increase our operating costs and decrease our revenue.

 

We spend a significant amount of resources to enforce our patent assets. If new legislation, regulations or rules are implemented either by Congress, the U.S. Patent and Trademark Office (the “USPTO”), any state or the courts that impact the patent application process, the patent enforcement process or the rights of patent holders, these changes could negatively affect our expenses and revenue and any reductions in the funding of the USPTO could negatively impact the value of our assets.

 

A number of states have adopted or are considering legislation to make the patent enforcement process more difficult for non-practicing entities, such as allowing such entities to be sued in state court and setting higher standards of proof for infringement claims. We cannot predict what, if any, impact these state initiatives will have on the operation of our enforcement business. However, such legislation could increase the uncertainties and costs surrounding the enforcement of our patented technologies, which could have a material adverse effect on our business and financial condition.

 

In addition, the U.S. Department of Justice has conducted reviews of the patent system to evaluate the impact of patent assertion entities on industries in which those patents relate. It is possible that the findings and recommendations of the Department of Justice could impact the ability to effectively license and enforce standards-essential patents and could increase the uncertainties and costs surrounding the enforcement of any such patented technologies.

 

Finally, new rules regarding the burden of proof in patent enforcement actions could significantly increase the cost of our enforcement actions, and new standards or limitations on liability for patent infringement could negatively impact any revenue we might derive from such enforcement actions.

 

For our real estate business, the market for real estate is subject to fluctuations that may impact the value of the land or housing inventory that we hold, which may impact the price of our common stock.

 

Investors should be aware that the value of any real estate we own may fluctuate from time to time in connection with broader market conditions and regulatory issues, which we cannot predict or control, including interest rates, the availability of credit, the tax benefits of homeownership and wage growth, unemployment and demographic trends in the regions in which we may conduct business. Should the price of real estate decline in the areas in which we have purchased land, the price at which we will be able to sell lots to home builders, or if we build houses, the price at which we can sell such houses to buyers, will decline.

 

22

 

 

Zoning and land use regulations impacting the land development and homebuilding industries may limit our activities and increase our expenses, which would adversely affect our financial results.

 

We must comply with zoning and land use regulations impacting the land development and home building industries. We will need to obtain the approval of various government agencies to expand our operations into new areas and to commence the building of homes. Our ability to gain the necessary approvals is not certain, and the expense and timing of approval processes may increase in ways that adversely impact our profits.

 

Health and safety incidents that occur in connection with our potential expansion into the homebuilding business could be costly with uninsured losses.

 

If we commence operations in the homebuilding business, we will be exposed to the danger of health and safety risks to our employees and contractors. Health and safety incidents could result in the loss of the services of valued employees and contractors and expose us to significant litigation and fines. Insurance may not cover, or may be insufficient to cover, such losses, and premiums may rise.

 

Adverse weather conditions, natural disasters and man-made disasters may delay our real estate development projects or cause additional expenses.

 

The land development operations which we currently conduct and the construction projects which we may become involved in at a later date may be adversely impacted by unexpected weather and natural disasters, including storms, hurricanes, tornados, floods, blizzards, fires and earthquakes. Man-made disasters including terrorist attacks, electrical outages and cyber-security incidents may also impact the costs and timing of the completion of our projects. Cyber-security incidents, including those that result in the loss of financial or other personal data, could expose us to litigation and reputational damage. If insurance is unavailable to us on acceptable terms, or if our insurance is not adequate to cover business interruptions and losses from the conditions described above and similar incidents, our results of operations will be adversely affected. In addition, damage to new homes caused by these conditions may cause our insurance costs to increase.

 

We may face liability for information displayed on or accessible via our website, and for other content and commerce-related activities, which could reduce our net worth and working capital and increase our operating losses.

 

We could face claims for errors, defamation, negligence or copyright or trademark infringement based on the nature and content of information displayed on or accessible via our website, which could adversely affect our financial condition. Even to the extent that claims made against us do not result in liability, we may incur substantial costs in investigating and defending such claims.

 

Our insurance, if any, may not cover all potential claims to which we are exposed or may not be adequate to indemnify us for all liabilities that may be exposed. Any imposition of liability that is not covered by insurance or is in excess of insurance coverage would reduce our net worth and working capital and increase our operating losses.

 

Any failure of our network could lead to significant disruptions in our businesses, which could damage our reputation, reduce our revenues or otherwise harm our businesses.

 

All of our businesses and, in particular, our digital transformation technology business unit, are dependent upon providing our customers with fast, efficient and reliable services. A reduction in the performance, reliability or availability of our network infrastructure may harm our ability to distribute our products and services to our customers, as well as our reputation and ability to attract and retain customers and content providers. Our systems and operations are susceptible to, and could be damaged or interrupted by outages caused by fire, flood, power loss, telecommunications failure, Internet or mobile network breakdown, earthquakes and similar events. Our systems are also subject to human error, security breaches, power losses, computer viruses, break-ins, “denial of service” attacks, sabotage, intentional acts of vandalism and tampering designed to disrupt our computer systems and network communications, and our systems could be subject to greater vulnerability in periods of high employee turnover. A sudden and significant increase in traffic on our customers’ websites or demand from mobile users could strain the capacity of the software, hardware and telecommunications systems that we deploy or use. This could lead to slower response times or system failures. Our failure to protect our network against damage from any of these events could harm our business.

 

23

 

 

Public scrutiny of Internet privacy and security issues may result in increased regulation and different industry standards, which could deter or prevent us from providing our current products and solutions to our members and customers, thereby harming our business.

 

The regulatory framework for privacy and security issues worldwide is evolving and is likely to remain in flux for the foreseeable future. Practices regarding the collection, use, storage, display, processing, transmission and security of personal information by companies offering online services have recently come under increased public scrutiny. The U.S. government, including the White House, the Federal Trade Commission, the Department of Commerce and many state governments, are reviewing the need for greater regulation of the collection, use and storage of information concerning consumer behavior with respect to online services, including regulation aimed at restricting certain targeted advertising practices and collection and use of data from mobile devices. The Federal Trade Commission in particular has approved consent decrees resolving complaints and their resulting investigations into the privacy and security practices of a number of online, social media companies. Similar actions may also impact us directly.

 

Our business, including our ability to operate and expand internationally or on new technology platforms, could be adversely affected if legislation or regulations are adopted, interpreted, or implemented in a manner that is inconsistent with our current business practices that may require changes to these practices, the design of our websites, mobile applications, products, features or our privacy policy. In particular, the success of our business is expected to be driven by our ability to responsibly use the data that our members share with us. Therefore, our business could be harmed by any significant change to applicable laws, regulations or industry standards or practices regarding the storage, use or disclosure of data our members choose to share with us, or regarding the manner in which the express or implied consent of consumers for such use and disclosure is obtained. Such changes may require us to modify our products and features, possibly in a material manner, and may limit our ability to develop new products and features that make use of the data that we collect about our members.

 

Particularly with regard to our biohealth business, product reliability, safety and effectiveness concerns can have significant negative impacts on sales and results of operations, lead to litigation and cause reputational damage.

 

Concerns about product safety, whether raised internally or by litigants, regulators or consumer advocates, and whether or not based on scientific evidence, can result in safety alerts, product recalls, governmental investigations, regulatory action on the part of the FDA (or its counterpart in other countries), private claims and lawsuits, payment of fines and settlements, declining sales and reputational damage. These circumstances can also result in damage to brand image, brand equity and consumer trust in our products. Product recalls could in the future prompt government investigations and inspections, the shutdown of manufacturing facilities, continued product shortages and related sales declines, significant remediation costs, reputational damage, possible civil penalties and criminal prosecution.

 

Significant challenges or delays in our innovation and development of new products, technologies and indications could have an adverse impact on our long-term success.

 

Our continued growth and success depend on our ability to innovate and develop new and differentiated products and services that address the evolving health care needs of patients, providers and consumers. Development of successful products and technologies is also necessary to offset revenue losses when our existing products lose market share due to various factors such as competition and loss of patent exclusivity. We cannot be certain when or whether we will be able to develop, license or otherwise acquire companies, products and technologies, whether particular product candidates will be granted regulatory approval, and, if approved, whether the products will be commercially successful.

 

24

 

 

We pursue product development through internal research and development as well as through collaborations, acquisitions, joint ventures and licensing or other arrangements with third parties. In all of these contexts, developing new products, particularly biotechnology products, requires a significant commitment of resources over many years. Only a very few biopharmaceutical research and development programs result in commercially viable products. The process depends on many factors, including the ability to discern patients’ and healthcare providers’ future needs; develop new compounds, strategies and technologies; achieve successful clinical trial results; secure effective intellectual property protection; obtain regulatory approvals on a timely basis; and, if and when they reach the market, successfully differentiate our products from competing products and approaches to treatment. New products or enhancements to existing products may not be accepted quickly or significantly in the marketplace for healthcare providers, and there may be uncertainty over third-party reimbursement. Even following initial regulatory approval, the success of a product can be adversely impacted by safety and efficacy findings in larger real world patient populations, as well as market entry of competitive products.

 

Our competitors may have greater financial and other resources than we do and those advantages could make it difficult for us to compete with them.

 

Our three principal businesses, real estate, digital transformation technology and biohealth activities are each highly competitive and constantly changing. We expect that competition will continue to intensify. Increased competition may result in price reductions, reduced margins, loss of customers, and changes in our business and marketing strategies, any of which could harm our business. Current and potential competitors may have longer operating histories, greater name recognition, more employees and significantly greater financial, technical, marketing, public relations and distribution resources than we do. In addition, new competitors with potentially unique or more desirable products or services may enter the market at any time. The competitive environment may require us to make changes in our products, pricing, licensing, services or marketing to maintain and extend our current brand and technology. Price concessions or the emergence of other pricing, licensing and distribution strategies or technology solutions of competitors may reduce our revenue, margins or market share, any of which will harm our business. Other changes we have to make in response to competition could cause us to expend significant financial and other resources, disrupt our operations, strain relationships with partners, or release products and enhancements before they are thoroughly tested, any of which could harm our operating results and stock price.

 

Since some members of our board of directors are not residents of the United States and certain of our assets are located outside of the United States, you may not be able to enforce a U.S. judgment for claims you may bring against such directors or assets.

 

Several members of our senior management team, including Chan Heng Fai, have their primary residences and business offices in Asia, and a portion of our assets and a substantial portion of the assets of these directors are located outside the United States. As a result, it may be more difficult for you to enforce a lawsuit within the United States against these non-U.S. residents than if they were residents of the United States. Also, it may be more difficult for you to enforce any judgment obtained in the United States against our assets or the assets of our non-U.S. resident management located outside the United States than if these assets were located within the United States. We cannot assure you that foreign courts would enforce liabilities predicated on U.S. federal securities laws in original actions commenced in such foreign jurisdiction, or judgments of U.S. courts obtained in actions based upon the civil liability provisions of U.S. federal securities laws.

 

We may be required to record a significant charge to earnings if our real estate properties become impaired.

 

Our policy is to obtain an independent third-party valuation for each major project in the United States to identify triggering events for impairment. Our management may use a market comparison method to value other relatively small projects, such as the project in Perth, Australia. In addition to the annual assessment of potential triggering events in accordance with ASC 360 – Property Plant and Equipment (“ASC 360”), we apply a fair value based impairment test to the net book value assets on an annual basis and on an interim basis if certain events or circumstances indicate that an impairment loss may have occurred.

 

25

 

 

Fluctuations in foreign currency exchange rates affect our operating results.

 

A portion of our revenues arises from international operations. Revenues generated and expenses incurred by our international subsidiaries are often denominated in the currencies of the local countries. As a result, our consolidated U.S. dollar financial statements are subject to fluctuations due to changes in exchange rates as the financial results of our international subsidiaries are translated from local currencies into U.S. dollars. In addition, our financial results are subject to changes in exchange rates that impact the settlement of transactions in non-local currencies.

 

The effect of foreign exchange rate changes on the intercompany loans (under ASC 830), which mostly consist of loans from Singapore to the United States and were approximately $43 million and $25 million on December 31, 2021 and 2020, respectively, are the reason for the significant fluctuation of foreign currency transaction Gain or Loss on the Consolidated Statements of Operations and Other Comprehensive Income. Because the intercompany loan balances between Singapore and United States will remain at approximately $43 million over the next year, we expect this fluctuation of foreign exchange rates to still significantly impact the results of operations in 2021, especially given that the foreign exchange rate may and is expected to be volatile. If the amount of intercompany loans is lowered in the future, the effect will also be reduced. However, at this moment, we do not expect to repay the intercompany loans in the short term.

 

Our international operations expose us to additional legal and regulatory risks, which could have a material adverse effect on our business, results of operations and financial conditions.

 

At the present time, the majority of our activities are conducted in the United States (particularly with regard to our real estate operations). However, we also have operations worldwide through employees, contractors and agents, as well as those companies to which we outsource certain of our business operations. Compliance with foreign and U.S. laws and regulations that apply to our international operations increase our cost of doing business. These numerous and sometimes conflicting laws and regulations include, among others, labor relations laws, tax laws, anti-competition regulations, import and trade restrictions, data privacy requirements, export requirements, and anti-bribery and anti-corruption laws.

 

Our business activities currently are subject to no particular regulation by governmental agencies in the United States or the other countries in which we operate other than that routinely imposed on corporate businesses, and no such regulation is currently anticipated. As our operations expand, we anticipate that we will need to comply with laws and regulations in additional jurisdictions.

 

There is a risk that we may inadvertently breach some provisions which apply to us at the present time or which may apply to us in the future. Violations of these laws and regulations could result in fines, criminal sanctions against us, our officers or our employees, requirements to obtain export licenses, cessation of business activities in sanctioned countries, implementation of compliance programs, and prohibitions on the conduct of our business. Violations of laws and regulations also could result in prohibitions on our ability to operate in one or more countries and could materially damage our reputation, our ability to attract and retain employees, or our business, results of operations and financial condition.

 

If tariffs or other restrictions are placed on foreign imports or any related counter-measures are taken by other countries, our business and results of operations could be harmed.

 

At the present time, we do not sell any products produced in China and have no plans to commence manufacturing in China; however, this may change at some point in the future. The current administration has put into place tariffs and other trade restrictions. The current or future administrations may additionally alter trade agreements and terms between the United States and China, among other countries, including limiting trade and/or imposing tariffs on imports from such countries. In addition, China, among others, has either threatened or put into place retaliatory tariffs of their own. Should we commence manufacturing in China, and if tariffs or other restrictions are placed on foreign imports, including on any of our products manufactured overseas for sale in the United States, or any related counter-measures are taken by other countries, our business and results of operations may be materially harmed.

 

26

 

 

These tariffs have the potential to significantly raise the cost of any products we may manufacture in China. In such a case, there can be no assurance that we will be able to shift manufacturing and supply agreements to non-impacted countries, including the United States, to reduce the effects of the tariffs. As a result, we may suffer margin erosion or be required to raise our prices, which may result in the loss of customers, negatively impact our results of operations, or otherwise harm our business. Additionally, the imposition of tariffs on products that we export to international markets could make such products more expensive compared to those of our competitors if we pass related additional costs on to our customers, which may also result in the loss of customers, negatively impact our results of operations, or otherwise harm our business.

 

We are an “emerging growth company” and our election to delay adoption of new or revised accounting standards applicable to public companies may result in our consolidated financial statements not being comparable to those of some other public companies. As a result of this and other reduced disclosure requirements applicable to emerging growth companies, our shares may be less attractive to investors.

 

As a company with less than $1.07 billion in revenue during our last completed fiscal year, we qualify as an “emerging growth company” under the JOBS Act. An emerging growth company may take advantage of specified reduced reporting requirements that are otherwise generally applicable to public companies. In particular, as an emerging growth company, we:

 

are not required to obtain an attestation and report from our auditors on our management’s assessment of our internal control over financial reporting pursuant to the Sarbanes-Oxley Act;

 

are not required to provide a detailed narrative disclosure discussing our compensation principles, objectives and elements and analyzing how those elements fit with our principles and objectives (commonly referred to as “compensation discussion and analysis”);

 

are not required to obtain a non-binding advisory vote from our stockholders on executive compensation or golden parachute arrangements (commonly referred to as the “say-on-pay,” “say-on-frequency” and “say-on-golden-parachute” votes);

 

are exempt from certain executive compensation disclosure provisions requiring a pay-for-performance graph and CEO pay ratio disclosure;

 

may present only two years of audited financial statements and only two years of related Management’s Discussion & Analysis of Financial Condition and Results of Operations, or MD&A; and

 

are eligible to claim longer phase-in periods for the adoption of new or revised financial accounting standards under §107 of the JOBS Act.

 

We intend to take advantage of all of these reduced reporting requirements and exemptions, including the longer phase-in periods for the adoption of new or revised financial accounting standards under §107 of the JOBS Act. Our election to use the phase-in periods may make it difficult to compare our consolidated financial statements to those of non-emerging growth companies and other emerging growth companies that have opted out of the phase-in periods under §107 of the JOBS Act.

 

Certain of these reduced reporting requirements and exemptions were already available to us due to the fact that we also qualify as a “smaller reporting company” under SEC rules. For instance, smaller reporting companies are not required to obtain an auditor attestation and report regarding management’s assessment of internal control over financial reporting, are not required to provide a compensation discussion and analysis, are not required to provide a pay-for-performance graph or CEO pay ratio disclosure, and may present only two years of audited financial statements and related MD&A disclosure.

 

27

 

 

Under the JOBS Act, we may take advantage of the above-described reduced reporting requirements and exemptions for up to five years after our initial sale of common equity pursuant to a registration statement declared effective under the Securities Act, or such earlier time that we no longer meet the definition of an emerging growth company. In this regard, the JOBS Act provides that we would cease to be an “emerging growth company” if we have more than $1.07 billion in annual revenue, have more than $700 million in market value of our common stock held by non-affiliates, or issue more than $1.0 billion in principal amount of non-convertible debt over a three-year period. Under current SEC rules, however, we will continue to qualify as a “smaller reporting company” for so long as we have a public float (i.e., the market value of common equity held by non-affiliates) of less than $250 million as of the last business day of our most recently completed second fiscal quarter.

 

Investors may find our shares less attractive due to our reliance on these exemptions. This could impact our ability to raise funds in the future.

 

We will incur increased costs as a result of being a U.S. public company, and our management expects to devote substantial time to public company compliance programs.

 

As a public company, we will now incur significant legal, insurance, accounting and other expenses that we did not incur as a private company. The Sarbanes-Oxley Act, the Dodd-Frank Wall Street Reform and Consumer Protection Act, Nasdaq Capital Market listing requirements and other applicable securities rules and regulations impose various requirements on public companies. Our management and administrative staff will need to devote a substantial amount of time to comply with these requirements. For example, in connection with becoming a public company, we will need to adopt additional internal controls and disclosure controls and procedures and bear all of the internal and external costs of preparing periodic and current public reports in compliance with our obligations under the securities laws. We intend to commit resources to comply with evolving laws, regulations and standards, and this commitment will result in increased general and administrative expenses and may divert management’s time and attention away from product development activities. If for any reason our efforts to comply with new laws, regulations and standards differ from the activities intended by regulatory or governing bodies, regulatory authorities may initiate legal proceedings against us and our business may be harmed.

 

Additionally, in order to comply with the requirements of being a public company, we may need to undertake various actions, including implementing new internal controls and procedures and hiring new accounting or internal audit staff. The Sarbanes-Oxley Act requires that we maintain effective disclosure controls and procedures and internal control over financial reporting. We are continuing to develop and refine our disclosure controls and other procedures that are designed to ensure that information required to be disclosed by us in the reports that we file with the SEC is recorded, processed, summarized and reported within the time periods specified in the SEC’s rules and forms, and that information required to be disclosed in reports under the Securities Exchange Act of 1934, as amended (the “Exchange Act”), is accumulated and communicated to our principal executive and financial officers. Any failure to develop or maintain effective controls could adversely affect the results of our periodic management evaluations. In the event that we are not able to demonstrate compliance with the Sarbanes-Oxley Act, that our internal control over financial reporting is perceived as inadequate, or that we are unable to produce timely or accurate consolidated financial statements, investors may lose confidence in our operating results and the price of our common stock could decline. In addition, if we are unable to continue to meet these requirements, we could be subject to sanctions or investigations by Nasdaq, the SEC or other regulatory authorities, and we may not be able to remain listed on the Nasdaq Capital Market.

 

Prior to becoming a public company, we were not required to comply with the SEC’s rules that implement Section 404 of the Sarbanes-Oxley Act, and therefore were not required to make a formal assessment of the effectiveness of our internal control over financial reporting for that purpose. We will be required to comply with certain of these rules, which will require management to certify financial and other information in our quarterly and annual reports and provide an annual management report on the effectiveness of our internal control over financial reporting commencing with our second annual report. This assessment will need to include the disclosure of any material weaknesses in our internal control over financial reporting identified by our management or our independent registered public accounting firm. To achieve compliance with Section 404 within the prescribed period, we will be engaged in a costly and challenging process to document and evaluate our internal control over financial reporting. In this regard, we will need to continue to dedicate internal resources, potentially engage outside consultants and adopt a detailed work plan to assess and document the adequacy of our internal control over financial reporting. We will also need to continue to improve our control processes as appropriate, validate through testing that our controls are functioning as documented and implement a continuous reporting and improvement process for our internal control over financial reporting. Despite our efforts, there is a risk that we will not be able to conclude, within the prescribed timeframe or at all, that our internal control over financial reporting is effective as required by Section 404.

 

28

 

 

If we are unable to address the weaknesses in our internal control over financial reporting, investors may lose confidence in our company and it could result in material errors in our financial statements.

 

We have identified material weaknesses in our internal control over financial reporting, which resulted in the need to restate our consolidated financial statements for the fiscal year ended December 31, 2018. If we do not remediate the material weaknesses in our internal control over financial reporting, we may not be able to accurately report our financial results or file our periodic reports in a timely manner, which may cause investors to lose confidence in our reported financial information and may lead to a decline in the market price of our common stock.

 

Our business is subject to reporting requirements that continue to evolve and change, which could continue to require significant compliance effort and resources.

 

Because our common stock is publicly traded, we will be subject to certain rules and regulations of federal, state and financial market exchange entities charged with the protection of investors and the oversight of companies whose securities are publicly traded. These entities, including the Public Company Accounting Oversight Board (PCAOB), the SEC and the Nasdaq Capital Market, periodically issue new requirements and regulations and legislative bodies also review and revise applicable laws. As interpretation and implementation of these laws and rules and promulgation of new regulations continues, we will continue to be required to commit significant financial and managerial resources and incur additional expenses to address such laws, rules and regulations, which could in turn reduce our financial flexibility and create distractions for management.

 

Any of these events, in combination or individually, could disrupt our business and adversely affect our business, financial condition, results of operations and cash flows.

 

Risks Related to Ownership of Our Common Stock

 

Our stock price may be volatile and your investment could decline in value.

 

The market price of our common stock may fluctuate substantially as a result of many factors, some of which are beyond our control. These fluctuations could cause you to lose all or part of the value of your investment in our common stock. Factors that could cause fluctuations in the market price of our common stock include the following:

 

quarterly variations in our results of operations;

 

results of operations that vary from the expectations of securities analysts and investors;

 

results of operations that vary from those of our competitors;

 

changes in expectations as to our future financial performance, including financial estimates by securities analysts;

 

publication of research reports about us or the industries in which we participate;

 

announcements by us or our competitors of significant contracts, acquisitions or capital commitments;

 

announcements by third parties of significant legal claims or proceedings against us;

 

changes affecting the availability of financing for smaller publicly traded companies like us;

 

29

 

 

regulatory developments in the real estate, digital transformation technology or biohealth businesses;

 

significant future sales of our common stock, and additions or departures of key personnel;

 

the realization of any of the other risk factors presented in this Report; and

 

general economic, market and currency factors and conditions unrelated to our performance.

 

In addition, the stock market in general has experienced significant price and volume fluctuations that have often been unrelated or disproportionate to operating performance of individual companies. These broad market factors may seriously harm the market price of our common stock, regardless of our operating performance. In the past, following periods of volatility in the market price of a company’s securities, securities class action litigation has often been instituted. A class action suit against us could result in significant liabilities and, regardless of the outcome, could result in substantial costs and the diversion of our management’s attention and resources.

 

Investors purchasing our common stock may be diluted by the issuance of stock options.

 

To the extent stock options are issued pursuant to our 2018 Incentive Compensation Plan in the future and ultimately exercised, there will be further dilution of the common stock. See “Dilution”.

 

Future sales, or the perception of future sales, of a substantial amount of our shares of common stock could depress the trading price of our common stock.

 

If we or our stockholders sell substantial amounts of our shares of common stock in the public market or if the market perceives that these sales could occur, the market price of shares of our common stock could decline. These sales may make it more difficult for us to sell equity or equity-related securities in the future at a time and price that we deem appropriate, or to use equity as consideration for future acquisitions.

 

As of March 31, 2022, we have 250,000,000 shares of common stock authorized and 113,187,898 shares of common stock outstanding. Of these shares, 85,351,932 shares are freely tradable.

 

If securities or industry analysts do not publish or cease publishing research or reports about us, our business or our market, or if they change their recommendations regarding our stock adversely, or if our actual results differ significantly from our guidance, our stock price and trading volume could decline.

 

The trading market for our common stock will be influenced by the research and reports that industry or securities analysts may publish about us, our business, our market or our competitors. If any of the analysts who may cover us change their recommendation regarding our stock adversely, or provide more favorable relative recommendations about our competitors, our stock price would likely decline. If any analyst who may cover us were to cease coverage of our company or fail to regularly publish reports on us, we could lose visibility in the financial markets, which in turn could cause our stock price or trading volume to decline.

 

In addition, from time to time, we may release earnings guidance or other forward-looking statements in our earnings releases, earnings conference calls or otherwise regarding our future performance that represent our management’s estimates as of the date of release. Some or all of the assumptions of any future guidance that we furnish may not materialize or may vary significantly from actual future results. Any failure to meet guidance or analysts’ expectations could have a material adverse effect on the trading price or volume of our stock.

 

30

 

 

Anti-takeover provisions in our charter documents could discourage, delay or prevent a change in control of our company and may affect the trading price of our common stock.

 

Our corporate documents and the Delaware General Corporation Law contain provisions that may enable our board of directors to resist a change in control of our company even if a change in control were to be considered favorable by you and other stockholders. These provisions include:

 

authorize the issuance of “blank check” preferred stock that could be issued by our board of directors to help defend against a takeover attempt;

 

establish that advance notice requirements for nominating directors and proposing matters to be voted on by stockholders at stockholder meetings will be as provided in the bylaws; and

 

provide that stockholders are only entitled to call a special meeting upon written request by 33.3% of the outstanding common stock.

 

In addition, Delaware law prohibits large stockholders, in particular those owning 15% or more of our outstanding voting stock, from merging or consolidating with us except under certain circumstances. These provisions and other provisions under Delaware law could discourage, delay or prevent a transaction involving a change in control of our company. These provisions could also discourage proxy contests and make it more difficult for you and other stockholders to elect directors of your choosing and cause us to take other corporate actions you desire.

 

Concentration of ownership of our common stock by our principal stockholder will limit new investors from influencing significant corporate decisions.

 

As of March 31, 2022, our principal stockholder Chan Heng Fai owns approximately 31.4% of our outstanding shares of common stock. He will be able to make decisions such as (i) making amendments to our certificate of incorporation and bylaws, (ii) whether to issue additional shares of common stock and preferred stock, including to himself, (iii) employment decisions, including compensation arrangements, (iv) whether to enter into material transactions with related parties, (v) election and removal of directors and (vi) any merger or other significant corporate transactions. The interests of Chan Heng Fai may not coincide with our interests or the interests of other stockholders.

 

We do not expect to pay any dividends on our common stock for the foreseeable future.

 

We currently expect to retain all future earnings, if any, for future operation, expansion and debt repayment and have no current plans to pay any cash dividends to holders of our common stock for the foreseeable future. Any decision to declare and pay dividends in the future will be made at the discretion of our board of directors and will depend on, among other things, our operating results, financial condition, cash requirements, contractual restrictions and other factors that our board of directors may deem relevant. In addition, our ability to pay dividends may be limited by covenants of any existing and future outstanding indebtedness we or our subsidiaries incur. As a result, you may not receive any return on an investment in our common stock unless you sell our common stock for a price greater than that which you paid for it.

 

We have 25,000,000 authorized unissued shares of preferred stock, and our board has the ability to designate the rights and preferences of this preferred stock without your vote.

 

Our certificate of incorporation authorizes our board of directors to issue “blank check” preferred stock and to fix the rights, preferences, privileges and restrictions, including voting rights, of these shares, without further stockholder approval. The rights of the holders of common stock will be subject to and may be adversely affected by the rights of holders of any preferred stock that may be issued in the future. As indicated in the preceding risk factor, the ability to issue preferred stock without stockholder approval could have the effect of making it more difficult for a third party to acquire a majority of the voting stock of our company thereby discouraging, delaying or preventing a change in control of our company. We currently have no outstanding shares of preferred stock, or plans to issue any such shares in the future.

 

31

 

 

Our certificate of incorporation provides that the Court of Chancery of the State of Delaware will be the exclusive forum for substantially all disputes between us and our stockholders, which could limit our stockholders’ ability to obtain a favorable judicial forum for disputes with us or our directors, officers or employees.

 

Our certificate of incorporation provides that, unless we consent in writing to the selection of an alternative forum, the Court of Chancery of the State of Delaware will be the sole and exclusive forum for (i) any derivative action or proceeding brought on our behalf, (ii) any action asserting a claim of breach of a fiduciary duty owed by our directors, officers or other employees to us or to our stockholders, (iii) any action asserting a claim against us or any director, officer or other employee arising pursuant to any provision of the Delaware General Corporation Law, our certificate of incorporation or bylaws or (iv) any action asserting a claim that is governed by the internal affairs doctrine, in all cases to the fullest extent permitted by law and subject to the court having personal jurisdiction over the indispensable parties named as defendants; provided that these provisions of our certificate of incorporation will not apply to suits brought to enforce a duty or liability created by the Exchange Act, or any other claim for which the federal courts have exclusive jurisdiction. Our certificate of incorporation further provides that the federal district courts of the United States of America will be the exclusive forum for resolving any complaint asserting a cause of action arising under the Securities Act, unless we consent in writing to the selection of an alternative forum.

 

These exclusive-forum provisions may limit a stockholder’s ability to bring a claim in a judicial forum that it finds favorable for disputes with us or our directors, officers or other employees and may discourage these types of lawsuits. Further, the enforceability of similar choice of forum provisions in other companies’ certificates of incorporation has been challenged in legal proceedings, and it is possible that a court could find these types of provisions to be inapplicable or unenforceable.

 

Item 1B. Unresolved Staff Comments.

 

Not Applicable.

 

Item 2. Properties.

 

Black Oak

 

The Black Oak property is located in Montgomery County in Magnolia, Texas. This property is located east of FM 2978 via Standard Road to Dry Creek Road and South of the Woodlands, one of the most successful, fastest growing master planned communities in Texas. This residential land development initially consisted of approximately 162 acres. On January 13, 2021, 150 CCM Black Oak, Ltd. purchased an approximately 6.3 acre tract of land in Montgomery County. The Company’s strategic acquisition contiguous to the Black Oak project is intended to provide additional lot yield, potential additional amenities and/or a solar farm to support the Company’s sustainable, healthy living concept. Together with the additional tract of land there are approximately 550-600 lots to be platted for the Company’s future endeavors. This does not include the 124 lots sold to Rausch Coleman. 150 CCM Black Oak Ltd is the primary developer responsible for all infrastructure development. This property is included in the Southeast Management District.

 

Planned Alset Villas Project in Texas

 

In 2021, our subsidiary Alset EHome Inc. acquired approximately 19.5 acres of partially developed land near Houston, Texas which will be used to develop a community named Alset Villas (“Alset Villas”). Alset EHome is targeting to develop approximately 63 homes at Alset Villas for rent and/or for sale. The Alset Villas project remains at the early stage.

 

Ballenger Run

 

Ballenger Run is a residential land development project located in Frederick County in Frederick, Maryland. This property is located approximately 40 miles from Washington, DC, 50 miles from Baltimore and is located less than four miles from I-70 and I-270. Ballenger Run is situated on approximately 197 acres of land and entitled for 689 residential units consisting of 479 residential Lots and 210 multi-family units. SeD Maryland Development, LLC is the primary developer responsible for all infrastructure development.

 

32

 

 

Rental Properties

 

During 2021 the Company signed multiple purchase agreements to acquire 109 homes in Montgomery and Harris Counties, Texas. By December 31, 2021, the acquisition of the 109 homes was completed with an aggregate purchase cost of $24,940,764.

 

Item 3. Legal Proceedings

 

On September 27, 2019, iGalen International Inc., which was at that time one of our majority-owned subsidiaries, and iGalen Inc., its wholly-owned subsidiary, filed a complaint in the Superior Court of the State of California, County of San Diego, Central Division, against Gara Group, Inc., a Delaware corporation, and certain affiliated or related entities, including the Chief Executive Officer of the Gara Group (collectively these entities are referred to herein as the “Gara Group”). A similar complaint had been filed in Utah on September 26, 2019, but subsequently re-filed in California. The complaint, as amended on October 24, 2019, enumerates causes of action for breach of contract, breach of covenant of good faith and fair dealing and intentional interference with economic relations.

 

iGalen Inc. and Gara Group are parties to a Specialized Services Agreement, dated March 29, 2017 (the “Specialized Services Agreement”). iGalen Inc. contracted with Gara Group to provide for services that include, among other things, (i) product fulfillment; (ii) software development and maintenance of an onsite “Platform,” which includes a company website and interactive portal referred to as the “Back Office”; and (iii) managing iGalen’s social media sites. The Gara Group had previously claimed that iGalen Inc. owed Gara Group certain amounts, including (i) $125,000 for “Back Office Fees”; (ii) $150,000 for “Speaking Fees”; and (iii) $67,299 for services related to iGalen’s merchant account, back office, and shipping fulfillment, invoiced on August 28 and 31, and September 15, 2019. iGalen Inc.’s amended complaint notes that no provision in the Specialized Services Agreement allows for the particular “Back Office Fees” of $125,000 and that no provision in the Specialized Services Agreement allows for the so-called “Speaking Fees” of $150,000. Gara Group cut off services to iGalen following iGalen’s indication that it was disputing the amounts owed. iGalen’s amended complaint notes that the actions of Gara Group and Mr. Gara have caused, and continue to cause, iGalen to suffer substantial harm by, among other things, making it so iGalen was unable to communicate with distributors via its website and Back Office, fulfill orders made by distributors, or pay commission to distributors. iGalen is seeking damages.

 

On October 10, 2019, Gara Group filed a complaint in the Superior Court of the State of California, County of San Diego, Central Division against iGalen International Inc., iGalen Inc., Alset International Limited, Chan Heng Fai, Dr. Rajen Manicka and David Price, an executive of iGalen Inc. Gara Group’s complaint for damages asserts that the Gara Group is entitled to general damages of $9,000,000 and liquidated damages of $50,000,000. Alset International Limited intends to vigorously contest this matter. No trial date has been set as of the date of this Report. iGalen International Inc. was sold by one of the Company’s subsidiaries on December 30, 2020.

 

On October 10, 2019, Gara Group filed a complaint in the Superior Court of the State of California, County of San Diego, Central Division against iGalen International Inc., iGalen Inc., Alset International Limited, Chan Heng Fai, Dr. Rajen Manicka and David Price, an executive of iGalen Inc. Gara Group’s complaint for damages asserts that the Gara Group is entitled to general damages of $9,000,000 and liquidated damages of $50,000,000. Gara Group filed an amended complaint filed on March 13, 2020. The court dismissed Kosta Gara from the iGalen suit and dismissed a cause of action for intentional interference with economic relations on January 14, 2022. Alset International Limited intends to vigorously contest this matter. The court set a trial date of April 7, 2023. iGalen International Inc. was sold by one of the Company’s subsidiaries on December 30, 2020.

 

In addition, from time to time, during the normal course of our businesses, we may be subject to various litigation claims and legal disputes, including in the area of intellectual property (e.g., trademarks, copyrights and patents). Our intellectual property rights extend to our technology, business processes and the content on our website. We use the intellectual property of third parties in marketing and providing our services through contractual and other rights. Despite our efforts, from time to time, third parties may allege that we have violated their intellectual property rights.

 

Although the results of claims, lawsuits and proceedings in which we may be involved cannot be predicted with certainty, we do not currently believe that the final outcome of the matters discussed above will have a material adverse effect on our business, financial condition or results of operations. However, defending and prosecuting any such claims is costly and may impose a significant burden on our management and employees. In addition, we may receive unfavorable preliminary or interim rulings in the course of litigation, and there can be no assurances that favorable final outcomes will be obtained. With regard to intellectual property matters which may arise, if we are unable to obtain an outcome which sufficiently protects our rights, successfully defends our use or allows us time to develop non-infringing technology and content or to otherwise alter our business practices on a timely basis in response to the claims against us, our business, prospects and competitive position may be adversely affected.

 

Item 4. Mine Safety Disclosures

 

Not applicable.

 

33

 

 

PART II

 

Item 5. Market for Company’s Common Equity, Related Stockholder Matters and Small Business Issuer Purchases of Equity Securities

 

Market Information

 

Since November 24, 2020, the principal market on which our common stock is traded is the Nasdaq Capital Market. The Company’s common stock initially traded under the symbol “HFEN.” In connection with our name change from “HF Enterprises Inc.” to “Alset EHome International Inc.”, our symbol was changed to “AEI.”

 

Prior to our listing on the Nasdaq Capital Market there was no public trading market for our securities.

 

Holders

 

As of March 31, 2022 the Company had six shareholders of record. Such number does not include shareholders holding shares in nominee or “street name”.

 

Dividends

 

Since inception we have not paid any dividends on our common stock. We currently do not anticipate paying any cash dividends in the foreseeable future on our common stock. Although we intend to retain our earnings, if any, to finance the exploration and growth of our business, our board of directors will have the discretion to declare and pay dividends in the future. Payment of dividends in the future will depend upon our earnings, capital requirements, and other factors, which our board of directors may deem relevant.

 

Securities authorized for issuance under equity compensation plans.

 

Under our 2018 Incentive Compensation Plan (the “Plan”), adopted by our board of directors and holders of a majority of our outstanding shares of common stock in September 2018, 500,000 shares of common stock (subject to certain adjustments) were reserved for issuance upon exercise of stock options and grants of other equity awards. No options or other equity awards have been granted under the Plan. The reservation of shares under the Incentive Compensation Plan was cancelled in May of 2021.

 

Performance graph

 

Not applicable to smaller reporting companies.

 

Recent sales of unregistered securities; use of proceeds from registered securities

 

On January 19, 2021, the Company issued 10,000 shares of its common stock for public relations services. Such securities were not registered under the Securities Act of 1933 and were issued pursuant to the exemption under Section 4(2) of the Securities Act.

 

On November 23, 2020, the Company entered into an underwriting agreement (the “Underwriting Agreement”) with Aegis Capital Corp., as representative of the underwriters (“Aegis”), pursuant to which the Company agreed to sell to the underwriters in a firm commitment underwritten public offering (the “Offering”) an aggregate of 2,160,000 shares of the Company’s common stock, par value $0.001 per share (the “Common Stock”), at an initial public offering price of $7.00 per share (the transaction contemplated by the Underwriting Agreement is the “Offering”). The Offering was made pursuant to the Company’s registration statement on Form S-1 (File Number 333-235693), which was declared effective on November 12, 2020. Aegis had a 60-day over-allotment option to purchase up to an additional 324,000 shares of Common Stock at $6.475 per share under the Underwriting Agreement. The Offering closed on November 27, 2020 for gross proceeds of $15,120,000. The Offering was the Company’s initial public offering and the Company’s common shares commenced trading on The Nasdaq Capital Market on November 24, 2020 under the symbol “HFEN.” Also, under the terms of the Underwriting Agreement, the Company, upon closing of the Offering, issued to Aegis a warrant (the “Representative’s Warrant”) to purchase an aggregate of 108,000 shares of common stock (5% of the total shares issued in the Offering). The Representative’s Warrant is exercisable at a per share price of $9.80 (equal to 140% of the initial public offering price of the Common Stock) and is exercisable at any time and from time to time, in whole or in part, during the three-year period commencing from the date of issuance. Aegis acted as lead book-running manager for the Offering and Westpark Capital, Inc. acted as co-manager.

 

34

 

 

The net proceeds to the Company from the Offering, after deducting the underwriting discount, underwriters’ fees and expenses and other expenses of the Offering, were approximately $13.2 million. Out of the net proceeds of $13.2 million, approximately $8.5 million were used to exercise warrants to purchase shares of Alset International. Accordingly, such funds will be used by Alset International. $1.2 million was used to purchase shares of Alset International from our founder, Chan Heng Fai, to increase our ownership of Alset International. In addition, approximately $1,000,000 of these proceeds was used for investment, $200,000 was used to repay outstanding debt, and $300,000 has been used for operations.

 

On May 3, 2021, the Company entered into a Loan and Exchange Agreement with its Chairman and Chief Executive Officer, Chan Heng Fai pursuant to which Chan Heng Fai loaned the Company his shares of Common Stock of the Company by exchanging 6,380,000 shares of common stock which he owned for an aggregate of 6,380 shares of the Company’s newly designated Series A Convertible Preferred Stock. Such securities were not registered under the Securities Act of 1933 and were issued pursuant to the exemption under Section 3(a)(9) of the Securities Act. On June 14, 2021 Chan Heng Fai converted the 6,380 Series A Preferred Stock back into 6,380,000 shares of Company’s common stock.

 

On May 12, 2021, Company entered into an Exchange Agreement with our Chairman and Chief Executive Officer Chan Heng Fai, effective May 13, 2021, pursuant to which Chan Heng Fai exchanged $13,000,000 in principal amount under a convertible promissory note in the amount of $28,363,966 in exchange for 2,132 shares of the Company’s newly designated Series B Preferred Stock. Such securities were not registered under the Securities Act of 1933 and were issued pursuant to the exemption under Section 3(a)(9) of the Securities Act. On June 14, 2021 Chan Heng Fai converted the 2,132 Series B Preferred Stock into 2,132,000 shares of Company’s common stock.

 

On May 10, 2021, the Company entered into an underwriting agreement (the “Underwriting Agreement”) with Aegis Capital Corp., as the sole book-running manager and representative of the underwriters named therein (the “Underwriters”), relating to an underwritten public offering (the “Offering”) of (i) 4,700,637 common units (the “Common Units”), at a price to the public of $5.07 per Common Unit, with each Common Unit consisting of (a) one share of common stock, par value $0.001 per share (the “Common Stock”), (b) one Series A warrant (the “Series A Warrant” and collectively, the “Series A Warrants”) to purchase one share of Common Stock with an initial exercise price of $5.07 per whole share, exercisable until the fifth anniversary of the issuance date, and (c) one Series B warrant (the “Series B Warrant” and collectively, the “Series B Warrants” and together with the Series A Warrants, the “Warrants”) to purchase one-half share of Common Stock with an initial exercise price of $6.59 per whole share, exercisable until the fifth anniversary of the issuance date and (ii) 1,611,000 pre-funded units (the “Pre-funded Units”), at a price to the public of $5.06 per Pre-funded Unit, with each Pre-funded Unit consisting of (a) one pre-funded warrant (the “Pre-funded Warrant” and collectively, the “Pre-funded Warrants”) to purchase one share of Common Stock, (b) one Series A Warrant and (c) one Series B Warrant. The shares of Common Stock, the Pre-funded Warrants, and the Warrants were offered together, but the securities contained in the Common Units and the Pre-funded Units were issued separately. The Offering was made pursuant to the Company’s registration statement on Form S-1 (File Number 333-255757), which was declared effective on May 10, 2021.

 

The Company also granted the Underwriters a 45-day over-allotment option to purchase up to 808,363 additional shares of Common Stock and/or up to 808,363 additional Series A Warrants to purchase 808,363 shares of Common Stock, and/or up to 808,363 additional Series B warrants to purchase 404,181 shares of Common Stock. The Offering, including the partial exercise of the Underwriters’ over-allotment option to purchase 808,363 Series A Warrants and 808,363 Series B Warrants, closed on May 13, 2021. The Underwriters exercised the Series A Warrants on June 17, 2021.

 

The net proceeds to the Company from the Offering were approximately $29.2 million, excluding the proceeds, if any, from the exercise of the Warrants and the Pre-funded Warrants sold in the Offering, and after deducting underwriting discounts and commissions and the payment of other estimated offering expenses associated with the Offering that are payable by the Company. On May 17, 2021, the Company paid S$37,894,063.20 Singapore Dollars (equal to approximately $28,475,719 U.S. Dollars) received from the Offering to exercise warrants to purchase 789,459,650 shares of Alset International Limited at an exercise price of S$.048 Singapore Dollars (equal to approximately $.036 U.S. Dollars) per share. The proceeds have been received by Alset International Limited.

 

35

 

 

On June 14, 2021 Chan Heng Fai converted $50,920,129 in principal amount and $306,437 in interest under a $50,920,129 2% convertible promissory notes issued on March 12, 2021 into 9,163,965 shares of the Company’s common stock.

 

On July 27, 2021, the Company entered into an underwriting agreement with Aegis Capital Corp., as the sole book-running manager and representative of the underwriters named therein (the “Underwriters”), relating to an underwritten public offering (the “Offering”) of (i) 5,324,139 shares of common stock, par value $0.001 per share (the “Common Stock”), at a price to the public of $2.12 per share of Common Stock and (ii) 9,770,200 pre-funded warrants (the “Pre-funded Warrants”) to purchase 9,770,200 shares of Common Stock, at a price to the public of $2.11 per Pre-funded Warrant. The Offering was made pursuant to the Company’s registration statement on Form S-1 (File Number 333-258139), which was declared effective on July 27, 2021. The Offering closed on July 30, 2021.

 

The net proceeds to the Company from the Offering were approximately $28.8 million, after deducting underwriting discounts and commissions and the payment of other estimated offering expenses associated with the Offering that are payable by the Company. The Company intends to use the net proceeds of the Offering for the following purposes: (i) to fund possible acquisitions of new companies and additional properties, (ii) to fund the further development of properties, including services and infrastructure; (iii) to develop rental opportunities at properties; (iv) to exercise warrants of our subsidiaries to accomplish the items in (i) – (iii) and (v) for working capital and general corporate purposes.

 

The Company granted the Underwriters a 45-day over-allotment option to purchase up to 2,264,150 additional shares of Common Stock. The Company also paid the Underwriters an underwriting discount equal to 7.0% of the gross proceeds of the Offering and a non-accountable expense fee equal to 1.5% of the gross proceeds of the Offering. In addition, the Company agreed to issue to the representative warrants (the “Representative’s Warrants”) to purchase a number of shares equal to 3.0% of the aggregate number of shares (including shares underlying the Pre-funded Warrants) sold under in the Offering, or warrants to purchase up to an aggregate of 520,754 shares, assuming the Underwriters exercise their over-allotment option in full. The Representative’s Warrants have an exercise price equal to 125% of the public offering price, or $2.65 per share, with an exercise period of 24 months from issuance. On September 9, 2021 the Underwriters exercised their over-allotment option and were issued 2,264,150 shares of our Common Stock. On September 9, 2021 the Underwriters exercised the option and the Company received $4,386,998 proceeds from this exercise.

 

The Pre-funded Warrants were offered and sold to purchasers whose purchase of Common Stock in the Offering would otherwise result in the purchaser, together with its affiliates and certain related parties, beneficially owning more than 4.99% (or, at the election of the purchaser, 9.99%) of the Company’s outstanding Common Stock immediately following the consummation of the Offering in lieu of Common Stock that would otherwise result in the purchaser’s beneficial ownership exceeding 4.99% of the Company’s outstanding Common Stock (or, at the election of the purchaser, 9.99%). Each Pre-funded Warrant is exercisable for one share of Common Stock at an exercise price of $0.01 per share. The Pre-funded Warrants are immediately exercisable and may be exercised at any time until all of the Pre-funded Warrants are exercised in full. All of the Pre-Funded Warrants were exercised.

 

On December 5, 2021, the Company entered into an underwriting agreement (the “Underwriting Agreement”) with Aegis Capital Corp., as the sole book-running manager and representative of the underwriters named therein (the “Underwriters”), relating to an underwritten public offering (the “Offering”) of (i) 18,076,666 shares of common stock, par value $0.001 per share (the “Common Stock”), at a price to the public of $0.60 per share of Common Stock and (ii) 31,076,666 pre-funded warrants (the “Pre-funded Warrants”) to purchase 31,076,666 shares of Common Stock, at a price to the public of $0.599 per Pre-funded Warrant,. The Offering closed on December 8, 2021. Mr. Chan Heng Fai, the Chairman of the Company’s Board of Directors and Chief Executive Officer, purchased $4.4 million of shares of Common Stock in the Offering on the same terms as the shares were offered.

 

36

 

 

The Company granted the Underwriters a 45-day over-allotment option to purchase up to 7,500,000 additional shares of Common Stock. The Company also paid the Underwriters an underwriting discount equal to 7% of the gross proceeds of the Offering and a non-accountable expense fee equal to 1% of the gross proceeds of the Offering.

 

The Pre-funded Warrants were offered and sold to purchasers whose purchase of Common Stock in the Offering would otherwise result in the purchaser, together with its affiliates and certain related parties, beneficially owning more than 4.99% (or, at the election of the purchaser, 9.99%) of the Company’s outstanding Common Stock immediately following the consummation of the Offering. Each Pre-funded Warrant is exercisable for one share of Common Stock at an exercise price of $0.001 per share. The Pre-funded Warrants are immediately exercisable and may be exercised at any time until all of the Pre-funded Warrants are exercised in full.

 

The net proceeds to the Company from the Offering were approximately $27.3 million, after deducting underwriting discounts and commissions and the payment of other estimated offering expenses associated with the Offering that are payable by the Company. The Company intends to use the net proceeds of the Offering for the following purposes: (i) to fund possible acquisitions of new companies and additional properties, (ii) to fund the further development of properties, including services and infrastructure; (iii) to develop rental opportunities at properties; (iv) to exercise warrants of our subsidiaries to accomplish the items in (i) – (iii) and (v) for working capital and general corporate purposes.

 

On December 13, 2021 the Company entered into a Securities Purchase Agreement with Chan Heng Fai for the issuance and sale of a convertible promissory note in favor of Chan Heng Fai, in the principal amount of $6,250,000. The note bears interest of 3% per annum and is due on the earlier of December 31, 2024 or when declared due and payable by Chan Heng Fai. The note can be converted in part or whole into common shares of the Company at the conversion price of $0.625 or into cash. The loan closed on January 26, 2022 after all closing conditions were met. Mr. Chan opted to convert all of the amount of such note into 10,000,000 shares of the Company’s common stock, which shares were issued on January 27, 2022. Such restricted shares were issued pursuant to the exemption provided by Regulation D promulgated under the Securities Act of 1933, as amended.

 

Purchases of Equity Securities by the issuer and affiliated purchasers

 

The Company did not repurchase any shares of the Company’s common stock during 2021.

 

Item 6. Reserved

 

Item 7. Management’s Discussion and Analysis of Financial Condition and Results of Operations.

 

Business Overview

 

We are a diversified holding company principally engaged through our subsidiaries in the development of EHome communities and other real estate, financial services, digital transformation technologies, biohealth activities and consumer products with operations in the United States, Singapore, Hong Kong, Australia and South Korea. We manage our three principal businesses primarily through our 77% owned subsidiary, Alset International Limited, a public company traded on the Singapore Stock Exchange. Through this subsidiary (and indirectly, through other public and private U.S. and Asian subsidiaries), we are actively developing real estate projects near Houston, Texas and in Frederick, Maryland in our real estate segment. We have designed applications for enterprise messaging and e-commerce software platforms in the United States and Asia in our digital transformation technology business unit. Our biohealth segment includes the sale of consumer products.

 

We also have ownership interests outside of Alset International, including a 41.3% equity interest in American Pacific Bancorp Inc., an indirect 15.8% equity interest in Holista CollTech Limited, a 15.5% equity interest in True Partner Capital Holding Limited, a 24.9% equity interest in DSS Inc. (“DSS”), an 18% equity interest in Value Exchange International, Inc., a 17.5% equity interest in American Premium Water Corp., and an interest in Alset Capital Acquisition Corp. (“Alset Capital”). American Pacific Bancorp Inc. is a financial network holding company. Holista CollTech Limited is a public Australian company that produces natural food ingredients (ASX: HCT). True Partner Capital Holding Limited is a public Hong Kong company which operates as a fund management company in the U.S. and Hong Kong. DSS is a multinational company operating businesses within nine divisions: product packaging, biotechnology, direct marketing, commercial lending, securities and investment management, alternative trading, digital transformation, secure living, and alternative energy. DSS Inc. is listed on the NYSE American (NYSE: DSS). Value Exchange International, Inc. is a provider of information technology services for businesses, and is traded on the OTCQB (OTCQB: VEII). American Premium Water Corp. is a publicly traded consumer products company (OTCPK: HIPH). Alset Capital is a newly organized blank check company formed for the purpose of effecting a merger, capital stock exchange, asset acquisition, stock purchase, reorganization or similar business combination with one or more businesses and is listed on the Nasdaq (Nasdaq: ACAXU, ACAX, ACAXW and ACAXR).

 

We generally acquire majority and/or control stakes in innovative and promising businesses that are expected to appreciate in value over time. Our emphasis is on building businesses in industries where our management team has in-depth knowledge and experience, or where our management can provide value by advising on new markets and expansion. We have at times provided a range of global capital and management services to these companies in order to gain access to Asian markets. We have historically favored businesses that improve an individual’s quality of life or that improve the efficiency of businesses through technology in various industries. We believe our capital and management services provide us with a competitive advantage in the selection of strategic acquisitions, which creates and adds value for our company and our stockholders.

 

37

 

 

Our Revenue Model

 

Our total revenue for the years ended December 31, 2021 and 2020 was $19,798,822 and $16,238,200, respectively. Our net losses for the years ended December 31, 2021 and 2020 were $119,017,591 and $5,100,318, respectively.

 

We currently recognize revenue from the sale of our subdivision development properties, rental homes and the sale of our biohealth products. Sales of real properties accounted for approximately 70%, revenue from houses rental accounted for approximately 2% and sales of biohealth products accounted for approximately 28% of our total revenue in the year ended December 31, 2021. Sales of real properties accounted for approximately 84% and sales of biohealth products accounted for approximately 16% of our total revenue in the year ended December 31, 2020.

 

From a geographical perspective, we recognized 72% and 84% of our total revenue in the years ended December 31, 2021 and 2020, respectively, in the United States. 28% and 16% of our revenue in 2021 and 2020, respectively was recognized from our sales in South Korea.

 

We believe that, on an ongoing basis, revenue generated from our property development business will decline as a percentage of our total revenue as we expect to experience greater revenue contribution from our rental business, digital transformation technology, biohealth businesses and future business acquisitions.

 

Financial Impact of the COVID-19 Pandemic

 

Real Estate Projects

 

The extent to which the COVID-19 pandemic may impact our business will depend on future developments, which are highly uncertain and cannot be predicted. The COVID-19 pandemic’s far-reaching impact on the global economy could negatively affect various aspects of our business, including demand for real estate. From March 2020 through December 2021, we continued to sell lots at our Ballenger Run project (in Maryland) for the construction of town homes to NVR. Sales of such homes to NVR were 88 lots in 2021 and 121 in 2020. Such town homes are often buyers’ first home that generally did not require them to sell an existing home. We believe low interest rates encouraged home sales. Many buyers opted to see home models at the project virtually. This technology allowed them to ask questions to sales staff and see the town homes. Home closings often occurred electronically.

 

We have received strong indications that buyers and renters across the country are expressing interest in moving from more densely populated urban areas to the suburbs. We believe that our Ballenger Run project is well suited and positioned to accommodate those buyers. Our latest phase for sale at Ballenger Run, involving single-family homes, has seen a high number of interested potential buyers signing up for additional information and updates on home availability.

 

The COVID-19 pandemic could impact the ability of our staff and contractors to continue to work, and our ability to conduct our operations in a prompt and efficient manner. To date, we experienced a slowdown in the construction of a clubhouse at the Ballenger Run project, which was completed behind schedule. We believe this delay was caused in part by policies requiring lower numbers of contractors working in indoor spaces.

 

The COVID-19 pandemic may adversely impact the timeliness of local government in granting required approvals. Accordingly, the COVID-19 pandemic may cause the completion of important stages in our real estate projects to be delayed.

 

At our Black Oak project in Texas, we have strategically redesigned the lots for a smaller “starter home” products that we believe will be more resilient in fluctuating markets. Should we initiate sales at Black Oak, we believe the same implications described above, regarding our Ballenger Run project, may apply to our Black Oak project (including the general trend of customers’ interest shifting from urban to suburban areas). Unlike our Ballenger Run project, our Black Oak project may include our involvement in single family rental home development.

 

38

 

 

On April 6, 2020, the Company entered into a term note with M&T Bank with a principal amount of $68,502 pursuant to the Paycheck Protection Program (“PPP Term Note”) under the Coronavirus Aid, Relief, and Economic Security Act. The PPP Loan is evidenced by a promissory note. The PPP Term Note bears interest at a fixed annual rate of 1.00%, with the first ten months of principal and interest deferred. On November 26, 2020, $64,502 of this loan was forgiven by the United States Small Business Administration and $64,502 was recorded as other income. The remaining balance of $4,000 was paid back in December 2020.

 

On February 11, 2021, the Company entered into a term note with M&T Bank with a principal amount of $68,502 pursuant to the Paycheck Protection Program (“PPP Term Note”) under the Coronavirus Aid, Relief, and Economic Security Act (the “CARES Act”). The PPP Loan is evidenced by a promissory note. The PPP Term Note bears interest at a fixed annual rate of 1.00%, with the first sixteen months of principal and interest deferred or until we apply for the loan forgiveness. The PPP Term Note may be accelerated upon the occurrence of an event of default.

 

On June 18, 2020, Alset EHome Inc. (formerly known as SeD Home Inc., SeD Home & REITs Inc. and then Alset iHome Inc.) entered into a Loan Agreement with M&T Bank. Pursuant to this Loan Agreement, M&T Bank provided a non-revolving loan to Alset EHome Inc. in an aggregate amount of up to $2,990,000, as described in “Liquidity and Capital Resources” below. It was intended for this loan to be utilized to commence our residential initiatives. The loan was closed in June 2021.

 

Other Business Activities

 

The COVID-19 pandemic may adversely impact our potential to expand our business activities in ways that are difficult to assess or predict. The COVID-19 pandemic continues to evolve. The COVID-19 pandemic has impacted, and may continue to impact, the global supply of certain goods and services in ways that may impact the sale of products to consumers that we, or companies we may invest in or partner with, will attempt to make. The COVID-19 pandemic may prevent us from pursuing otherwise attractive opportunities.

 

COVID-19 pandemic has impacted our operations in South Korea; since the start of the pandemic, the South Korean government has at various times placed certain restrictions on business meetings to reduce the spread of COVID-19. Such restrictions have impacted our ability to recruit potential affiliate sales personnel, and to introduce products to a larger audience.

 

Impact on Staff

 

Most of our U.S. staff works out of our Bethesda, Maryland office. At our office in Texas, we received a 50% rent abatement for the month of May 2020.

 

Our U.S. staff has shifted to mostly working from home since March 2020, but this has had a minimal impact on our operations to date. Our staff in Singapore and Hong Kong has been able to work from home when needed with minimal impact on our operations, however our staff’s ability to travel between our Hong Kong and Singapore offices has been significantly limited, and our staff’s travel between the U.S. and non-U.S. offices has been suspended since March 2020. The COVID-19 pandemic has also impacted the frequency with which our management would otherwise travel to the Black Oaks project; however, we have a contractor in Texas providing supervision of the project. Management continues to regularly supervise the Ballenger Run project. Limitations on the mobility of our management and staff may slow down our ability to enter into new transactions and expand existing projects.

 

We have not reduced our staff in connection with the COVID-19 pandemic. To date, we did not have to expend significant resources related to employee health and safety matters related to the COVID-19 pandemic. We have a small staff, however, and the inability of any significant number of our staff to work due to illness or the illness of a family member could adversely impact our operations.

 

39

 

 

Matters that May or Are Currently Affecting Our Business

 

In addition to the matters described above, the primary challenges and trends that could affect or are affecting our financial results include:

 

Our ability to improve our revenue through cross-selling and revenue-sharing arrangements among our diverse group of companies;

 

Our ability to identify complementary businesses for acquisition, obtain additional financing for these acquisitions, if and when needed, and profitably integrate them into our existing operation;

 

Our ability to attract competent, skilled technical and sales personnel for each of our businesses at acceptable compensation levels to manage our overhead; and

 

Our ability to control our operating expenses as we expand each of our businesses and product and service offerings.

 

Summary of Significant Accounting Policies

 

Basis of Presentation and Principles of Consolidation

 

Our consolidated financial statements have been prepared in accordance with accounting principles generally accepted in the United States of America (“U.S. GAAP”). The consolidated financial statements include all accounts of the Company and its majority owned and controlled subsidiaries. The Company consolidates entities in which it owns more than 50% of the voting common stock and controls operations. All intercompany transactions and balances among consolidated subsidiaries have been eliminated.

 

Use of Estimates and Critical Accounting Estimates and Assumptions

 

The preparation of financial statements in conformity with U.S. GAAP requires management to make estimates and assumptions that affect the reported amounts of assets and liabilities and disclosure of contingent assets and liabilities at the dates of the financial statements and the reported amounts of revenues and expenses during the reporting periods. Significant estimates made by management include, but are not limited to, allowance for doubtful accounts, recoverability and useful lives of property, plant and equipment, valuation of real estate assets, allocation of development costs and capitalized interest to sold lots, the valuation allowance of deferred taxes, contingencies and equity compensation. Actual results could differ from those estimates.

 

Transactions between Entities under Common Control

 

On March 12, 2021, the Company entered into a Securities Purchase Agreement (the “SPA”) with Chan Heng Fai, the founder, Chairman and Chief Executive Officer of the Company, for four proposed transactions, consisting of (i) purchase of certain warrants (the “Warrants”) to purchase 1,500,000,000 shares of Alset International Limited, which was valued at $28,363,966; (ii) purchase of all of the issued and outstanding stock of LiquidValue Development Pte Ltd. (“LVD”), which was valued at $173,395; (iii) purchase of 62,122,908 ordinary shares in True Partner Capital Holding Limited (HKG: 8657) (“True Partner”), which was valued at $6,729,629; and (iv) purchase of 4,775,523 shares of the common stock of American Pacific Bancorp Inc. (“APB”), which was valued at $28,653,138. The total amount of above four transactions was $63,920,129, payable on the Closing Date by the Company, in the convertible promissory notes (“Alset CPNs”), which, subject to the terms and conditions of the Alset CPNs and the Company’s shareholder approval, shall be convertible into shares of the Company’s common stock (“AEI Common Stock”), par value $0.001 per share, at the conversion price of AEI’s Stock Market Price. AEI’s Stock Market Price shall be $5.59 per share, equivalent to the average of the five closing per share prices of AEI’s Common Stock preceding January 4, 2021 as quoted by Bloomberg L.P. The above four acquisitions from Chan Heng Fai were transactions between entities under common control.

 

On October 15, 2020, American Pacific Bancorp (which subsequently became a majority-owned subsidiary of the Company) entered into an acquisition agreement to acquire 3,500,001 common shares of HengFeng Finance Limited (“HFL”), representing 100% of the common shares of HFL, in consideration for $1,500,000, to be satisfied by the issuance and allotment of 250,000 shares of the Class A Common Stock of American Pacific Bancorp. HFL is incorporated in Hong Kong with limited liability. The principal activities of HFL are money lending, securities trading and investment. This transaction closed on April 21, 2021. This transaction between the Company and Chan Heng Fai is under common control of Chan Heng Fai. In third quarter of 2021 APB was deconsolidated due to our loss of majority ownership.

 

40

 

 

The common control transactions resulted in the following basis of accounting for the financial reporting periods:

 

  The acquisition of the Warrants and True Partner stock were accounted for prospectively as of March 12, 2021 and they did not represent a change in reporting entity.
  The acquisition of LVD, APB and HFL was under common control and was consolidated in accordance with ASC 850-50. The consolidated financial statements were retrospectively adjusted for the acquisition of LVD, APB and HFL, and the operating results of LVD, APB and HFL as of January 1, 2020 for comparative purposes.

 

AEI’s stock price was $10.03 on March 12, 2021, the commitment date. The Beneficial Conversion Feature (“BCF”) intrinsic value was $50,770,192 for the four convertible promissory notes and was recorded as debt discount of convertible notes after these transactions. The debt discount attributable to the BCF is amortized over period from issuance to the date that the debt becomes convertible using the effective interest method. If the debt is converted, the discount is amortized to finance cost in full immediately. On May 13, 2021 and June 14, 2021 all Alset CPNs of $63,920,128 and accrued interests of $306,438 were converted into 2,123 shares of series B preferred stock and 9,163,965 shares of common stock of the Company.

 

Revenue Recognition and Cost of Revenue

 

The following represents a disaggregation of our revenue recognition policies by segment:

 

Real Estate

 

Property Sales. The Company’s main business is land development. The Company purchases land and develops it into residential communities. The developed lots are sold to builders (customers) for the construction of new homes. The builders enter into a sales contract with the Company before they take the lots. The prices and timeline are determined and agreed upon in the contract. The builders do the inspections to make sure all conditions and requirements in contracts are met before purchasing the lots. A detailed breakdown of the five-step process for the revenue recognition of the Ballenger and Black Oak projects, which represented approximately 70% and 84% of the Company’s revenue in the years ended on December 31, 2021 and 2020, respectively, is as follows:

 

Identify the contract with a customer. The Company has signed agreements with the builders for developing the raw land to ready to build lots. The contract has agreed upon prices, timelines, and specifications for what is to be provided.

 

Identify the performance obligations in the contract. Performance obligations of the Company include delivering developed lots to the customer, which are required to meet certain specifications that are outlined in the contract. The customer inspects all lots prior to accepting title to ensure all specifications are met.

 

Determine the transaction price. The transaction price per lot is fixed and specified in the contract. Any subsequent change orders or price changes are required to be approved by both parties.

 

Allocate the transaction price to performance obligations in the contract. Each lot is considered to be a separate performance obligation, for which the specified price in the contract is allocated to.

 

Recognize revenue when (or as) the entity satisfies performance obligation. The builders do the inspections to make sure all conditions/requirements are met before taking title of lots. The Company recognizes revenue at a point in time when title is transferred. The Company does not have further performance obligations or continuing involvement once title is transferred.

 

41

 

 

Sale of the Front Foot Benefit Assessments. We have established a front foot benefit (“FFB”) assessment on all of the lots sold to NVR. This is a 30-year annual assessment allowed in Frederick County which requires homeowners to reimburse the developer for the costs of installing public water and sewer to the lots. These assessments become effective as homes are settled, at which time we can sell the collection rights to investors who will pay an upfront lump sum, enabling us to more quickly realize the revenue. The selling prices range from $3,000 to $4,500 per home depending on the type of home. Our total expected revenue from the front foot benefit assessment is approximately $1 million. To recognize revenue of the FFB assessment, both our and NVR’s performance obligations have to be satisfied. Our performance obligation is completed once we complete the construction of water and sewer facilities and close the lot sales with NVR, which inspects these water and sewer facilities prior to the close of lot sales to ensure all specifications are met. NVR’s performance obligation is to sell homes they build to homeowners. Our FFB revenue is recognized upon NVR’s sales of homes to homeowners. The agreement with these FFB investors is not subject to amendment by regulatory agencies and thus our revenue from FFB assessment is not either. During the years ended December, 2021 and 2020, we recognized revenue in the amounts of $289,375 and $273,620 from FFB assessments, respectively.

 

Rental Revenue. The Company leases real estate properties to its tenants under leases that are predominately classified as operating leases, in accordance with ASC 842, Leases (“ASC 842”). Real estate rental revenue is comprised of minimum base rent and revenue from the collection of lease termination fees.

 

Rent from tenants is recorded in accordance with the terms of each lease agreement on a straight-line basis over the initial term of the lease. Rental revenue recognition begins when the tenant controls the space and continues through the term of the related lease. Generally, at the end of the lease term, the Company provides the tenant with a one year renewal option, including mostly the same terms and conditions provided under the initial lease term, subject to rent increases.

 

The Company defers rental revenue related to lease payments received from tenants in advance of their due dates. These amounts are presented within deferred revenues and other payables on the Company’s consolidated balance sheets.

 

Rental revenue is subject to an evaluation for collectability on several factors, including payment history, the financial strength of the tenant and any guarantors, historical operations and operating trends of the property, and current economic conditions. If our evaluation of these factors indicates that it is not probable that we will recover substantially all of the receivable, rental revenue is limited to the lesser of the rental revenue that would be recognized on a straight-line basis (as applicable) or the lease payments that have been collected from the lessee. Differences between rental revenue recognized and amounts contractually due under the lease agreements are credited or charged to straight-line rent receivable or straight-line rent liability, as applicable. For the year ended December 31, 2021, the Company didn’t recognize any deferred revenue and collected all rents due.

 

Cost of Revenue. Land acquisition costs are allocated to each lot based on the area method, the size of the lot comparing to the total size of all lots in the project. Development costs and capitalized interest are allocated to lots sold based on the total expected development and interest costs of the completed project and allocating a percentage of those costs based on the selling price of the sold lot compared to the expected sales values of all lots in the project.

 

If the allocation of development costs and capitalized interest based on the projection and relative expected sales value is impracticable, those costs could also be allocated based on an area method, which uses the size of the lots compared to the total project area and allocates costs based on their size.

 

Cost of rental revenue consists primarily of the costs associated with management and leasing fees to our management company, repairs and maintenance, depreciation and other related administrative costs. Utility expenses are paid directly by tenants.

 

42

 

 

Digital Transformation Technology

 

Software Development Income. Revenue is recognized when (or as) the Company transfers promised goods or services to its customers in amounts that reflect the consideration to which the Company expects to be entitled to in exchange for those goods or services, which occurs when (or as) the Company satisfies its contractual obligations and transfers over control of the promised goods or services to its customers. We generate revenue from a project involving provision of services and web/software development for customers. In respect to the provision of services, the agreements are less than one year with a cancellation clause and customers are typically billed on a monthly basis.

 

Biohealth

 

Product Direct Sales. The Company’s net sales consist of product sales. The Company’s performance obligation is to transfer its products to its third-party independent distributors (“Distributors”). The Company generally recognizes revenue when product is shipped to its Distributors.

 

The Company’s Distributors may receive distributor allowances, which are comprised of discounts, rebates and wholesale commission payments from the Company. Distributor allowances resulting from the Company’s sales of its products to its Distributors are recorded against net sales because the distributor allowances represent discounts from the suggested retail price.

 

In addition to distributor allowances, the Company compensates its sales leader Distributors with leadership incentives for services rendered, relating to the development, retention, and management of their sales organizations. Leadership Incentives are payable based on achieved sales volume, which are recorded in general and administrative expenses. The Company recognizes revenue when it ships products. The Company receives the net sales price in cash or through credit card payments at the point of sale.

 

If a Distributor returns a product to the Company on a timely basis, they may obtain a replacement product from the Company for such returned product. In addition, the Company maintains a buyback program pursuant to which it will repurchase products sold to a Distributor who has decided to leave the business. Allowances for product returns, primarily in connection with the Company’s buyback program, are provided at the time the sale is recorded. This accrual is based upon historical return rates for each country and the relevant return pattern, which reflects anticipated returns to be received over a period of up to 12 months following the original sale.

 

Annual Membership. The Company collects an annual membership fee from its Distributors. The fee is fixed, paid in full at the time of joining the membership and not refundable. The Company’s performance obligation is to provide members to purchase products, access to certain back office services, receive commissions and attend corporate events. The obligation is satisfied over time. The Company recognizes revenue associated with the membership over the one-year period of the membership. Before the membership fee is recognized as revenue, it is recorded as deferred revenue.

 

Real Estate Assets

 

Real estate assets are recorded at cost, except when acquired real estate assets meet the definition of a business combination in accordance with ASC 805, “Business Combinations,” which are recorded at fair value. Interest, property taxes, insurance and other incremental costs (including salaries) directly related to a project are capitalized during the construction period of major facilities and land improvements. The capitalization period begins when activities to develop the parcel commence and ends when the asset constructed is completed. The capitalized costs are recorded as part of the asset to which they relate and are reduced when lots are sold.

 

Capitalized construction costs of approximately $6.0 million and $10.3 million for the years ended December 31, 2021 and 2020, respectively.

 

43

 

 

On December 31, 2021, total real estate property under development was $15.7 million, including:

 

land held for development in the amount of $9.0 million (consisting of $7.7 million for Black Oak, $0.1 million for Ballenger Run, $0.7 million for Alset Villas and $0.5 million for our Perth project);

 

capitalized development costs in the amount of $3.4 million (consisting of $3.4 million for Black Oak); and

 

capitalized finance costs were $3.2 million.

 

On December 31, 2020, total real estate property under development was $20.5 million, including:

 

land held for development in the amount of $10.9 million (consisting of $6.9 million for Black Oak, $3.5 million for Ballenger Run and $0.5 million for our Perth project);

 

capitalized development costs in the amount of $6.1 million (consisting of $1.2 million for Black Oak, $4.8 million for Ballenger Run and $0.1 million for our Perth project); and

 

capitalized finance costs were $3.5 million.

 

On December 31, 2021, the capitalized construction costs were as follows:

 

   Ballenger Run   Black Oak   Alset Villas   Perth Project   Total 
Land held for development  $125,497   $7,725,446   $639,062   $528,399   $9,018,404 
Capitalized development Costs                         
Hard Construction Costs   29,244,223    8,865,369              38,109,592 
Engineering   3,626,928    2,852,710              6,479,638 
Consultation   340,528    109,826              450,354 
Project Management   4,285,533    2,597,175              6,882,708 
Legal   375,585    237,970              613,555 
Taxes   1,326,734    985,440              2,312,174 
Other Services   605,657    33,791         80,797    720,245 
BAN reimbursement        (5,738,461)              (5,738,461)
Impairment Reserve        (5,230,828)             (5,230,828)
Construction - Sold Lots   (39,805,188)   (1,364,805)              (41,169,993)
Total capitalized development costs  $-   $3,348,187   $-   $80,797   $3,428,984 
                          
Capitalized finance costs                      $3,247,739 
                          
Total property under development                      $15,695,127 

 

44

 

 

On December 31, 2020, the capitalized construction costs were as follows:

 

   Ballenger Run   Black Oak   Perth Project    Total 
Land held for development  $3,484,903   $6,891,937   $560,910   $10,937,750 
Capitalized construction Costs                    
Hard construction costs   26,542,028    8,636,434         35,178,462 
Engineering   3,516,161    1,885,761         5,401,922 
Consultation   340,528    105,667         446,195 
Project management   3,682,400    915,424         4,597,824 
Legal   359,353    235,961         595,314 
Taxes   1,273,587    770,983         2,044,570 
Other services   1,060,667    222,475    70,272    1,353,414 
BAN reimbursement        (4,988,461)        (4,988,461)
Impairment reserve        (5,230,828)        (5,230,828)
Construction - Sold Lots   (31,979,301)   (1,364,805)        (33,344,106)
Total capitalized development costs  $4,795,423   $1,188,611   $70,272   $6,054,306 
                     
Capitalized finance costs                 $3,513,535 
                     
Total property under development                 $20,505,591 

 

Through December 31, 2021, there were no sales from the Perth project. In addition, no sales agreement had been signed for this project.

 

In 2021, our subsidiary Alset EHome Inc. acquired approximately 19.5 acres of partially developed land near Houston, Texas which will be used to develop a community named Alset Villas (“Alset Villas”). Alset EHome is targeting to develop approximately 63 homes at Alset Villas for rent and/or for sale. The Alset Villas project remains at the early stage.

 

Results of Operations

 

Summary of Consolidated Statements of Operations and Other Comprehensive Loss for the Years Ended December 31, 2021 and 2020

 

   Years Ended December 31, 
   2021  

2020

(As Restated)

 
Revenue  $19,798,822   $16,238,200 
Operating Expenses   (34,792,944)   (18,422,938)
Other Expenses   (103,489,455)   (2,489,599)
Loss from Discontinued Operations   -    (417,438)
Income Tax Expense   (534,014)   (8,543)
Net Loss  $(119,017,591)  $(5,100,318)

 

Revenue

 

The following table sets forth period-over-period changes in revenues for each of our reporting segments:

 

   Years Ended December 31,   Change 
   2021  

2020

(As Restated)

   Dollars   Percentage 
Real Estate  $14,213,379   $13,643,689   $569,690    4%
Biohealth   5,543,066    2,594,511    2,948,555    114%
Other   42,377    -    42,377    100%
Total revenue  $19,798,822   $16,238,200   $3,560,622    22%

 

Revenue was $19,798,822 and $16,238,200 for the years ended December 31, 2021 and 2020, respectively. An increase in rental revenue and direct sales from our indirect subsidiary HWH World in the 2021 contributed to higher revenue in this period. For our Ballenger Project, builders are required to purchase a minimum number of lots based on their applicable sale agreements. We collect revenue from the sale of lots to builders. We are not involved in the construction of homes at the present time.

 

Income from the sale of Front Foot Benefits (“FFBs”), assessed on Ballenger Run project lots, increased from $273,620 in the year ended December 31, 2020 to $289,375 in year ended December 31, 2021. The increase is a mixed result of the decreased sale of properties to homebuyers in 2021 and sale of FFBs of a higher value.

 

In the second quarter of 2021, the Company started renting homes to tenants. Revenue from this rental business was $327,296 for the year ended December 31, 2021. The Company expects that the revenue from this business will continue to increase as we acquire more rental houses and successfully rent them.

 

45

 

 

Revenues from our biohealth segment in the year ended December 31, 2020 included direct sales by iGalen Inc. (formerly known as iGalen USA, LLC), which was 100% owned by iGalen International Inc., Alset International’s 53%-owned subsidiary. On December 30, 2020 Alset International’s ownership of iGalen International was sold to one of the directors of iGalen International. During the year ended December 31, 2020, the revenue from iGalen Inc. was $89,567.

 

In recent years, the Company expanded its biohealth segment to the South Korean market through one of the subsidiaries of Health Wealth Happiness Pte. Ltd., HWH World Inc (“HWH World”). HWH World, similarly to iGalen Inc., operates based on a direct sale model of health supplements. HWH World recognized $5,543,066 and $2,504,944 in revenue in the year ended December 31, 2021 and 2020, respectively.

 

The category described as “Other” includes corporate and financial services and new venture businesses. “Other” includes certain costs that are not allocated to the reportable segments, primarily consisting of unallocated corporate overhead costs, including administrative functions not allocated to the reportable segments from global functional expenses.

 

The financial services and new venture businesses are small and diversified, and accordingly they are not separately addressed as one independent category. In the years ended December 31, 2021 and 2020, the revenue from other businesses was $42,377 and $0, respectively, generated by Korean café shop.

 

Operating Expenses

 

The following table sets forth period-over-period changes in cost of revenue for each of our reporting segments:

 

   Years Ended December 31,   Change 
   2021  

2020 (As Restated)

   Dollars   Percentage 
Real Estate  $11,073,756   $11,747,540   $(673,784)   -6%
Biohealth   214,019    338,034    (124,015)   -37%
Other   14,039    -    14,039    100%
Total cost of sales  $11,301,814   $12,085,574   $(783,760)   -6%

 

Cost of revenue decreased from $12,085,574 in the year ended December 31, 2020 to $11,301,814 in the year ended December 31, 2021, as a result of the decrease in the number of lots sold in the Ballenger Run. Capitalized construction expenses, finance costs and land costs are allocated to sales. We anticipate the total cost of sales to increase as revenue increases.

 

The gross margin increased from $4,152,626 to $8,497,008 in the years ended December 31, 2020 and 2021, respectively. The increase of gross margin was caused by the increase of gross margin of HWH World, mostly due to the increase in the sales and from increase in rental income.

 

The following table sets forth period-over-period changes in operating expenses for each of our reporting segments.

 

  

Years

Ended December 31,

   Change 
   2021   2020 (As Restated)   Dollars   Percentage 
Real Estate  $1,136,031   $660,647   $475,384    72%
Biohealth   3,624,200    1,545,244    2,078,956    135%
Digital transformation technology   183,429    54,673    128,756    236%
Other   18,547,470    3,659,832    14,887,638    407%
Discontinued Operations   -    416,968    (416,968)   -100%
Total operating expenses  $23,491,130   $6,337,364   $17,153,766    271%

 

46

 

 

The increase of operating expenses of real estate segment in 2021 compared with 2020 was mostly caused by the increase of sales related expenses. Increase in expenses in our biohealth business is caused by the increased commission payments to our distributors, which is connected to increased sales. Additionally, the increase in professional fees, employee salaries and bonuses and directors’ remuneration in our other businesses contributed to increased operating expenses in the year ended December 31, 2021, as compared to the year ended December 31, 2020.

 

Other Income (Expense)

 

In the year ended December 31, 2021, the Company had other expense of $103,489,455 compared to other expense of $2,489,599 in the year ended December 31, 2020. The change in unrealized loss on securities investment and on financing costs are the primary reasons for the volatility in these two periods. Unrealized loss on securities investment was $49,190,748 in year ended December 31, 2021, compared to $1,694,535 loss in the year ended December 31, 2020. Finance costs were $50,871,869 in the year ended December 31, 2021, compared to a $109,916 in the year ended December 31, 2020.

 

Discontinued Operations

 

On April 27, 2020, Global BioMedical Pte Ltd (“GBM”), one of our subsidiaries, entered into a share exchange agreement with DSS BioHealth Security, Inc. (“DBHS”), a wholly owned subsidiary of DSS, Inc. (“DSS”), pursuant to which, DBHS agreed to acquire all of the outstanding capital stock of Impact BioMedical Inc, a wholly owned subsidiary of GBM, through a share exchange. It was agreed that the aggregate consideration to be issued to GBM for the Impact BioMedical shares would be the following: (i) 483,334 newly issued shares of DSS common stock; and (ii) 46,868 newly issued shares of a new series of DSS perpetual convertible preferred stock with a stated value of $46,868,000 ($1,000 per share). The convertible preferred stock will be convertible into shares of DSS common stock at a conversion price of $6.48 of preferred stock stated value per share of common stock, subject to a 19.9% beneficial ownership conversion limitation (a so-called “blocker”) based on the total issued outstanding shares of common stock of DSS beneficially owned by GBM. Holders of the convertible preferred stock will have no voting rights, except as required by applicable law or regulation, and no dividends will accrue or be payable on the convertible preferred stock. The holders of convertible preferred stock will be entitled to a liquidation preference of $1,000 per share, and DSS will have the right to redeem all or any portion of the then outstanding shares of convertible preferred stock, pro rata among all holders, at a redemption price per share equal to such liquidation value per share.

 

Under ASU 2014-08, a disposal transaction meets the definition of a discontinued operation if all of the following criteria are met:

 

1. The disposal group constitutes a component of an entity or a group of components of an entity.

 

2. The component of an entity (or group of components of an entity) meets the held-for-sale classification criteria, is disposed of by sale, or is disposed of other than by sale (e.g., “by abandonment, in an exchange measured based on the recorded amount of the nonmonetary asset relinquished, or in a distribution to owners in a spinoff”).

 

3. The disposal of a component of an entity (or group of components of an entity) “represents a strategic shift that has (or will have) a major effect on an entity’s operations and financial results”.

 

Impact BioMedical Inc and its subsidiaries have financial reporting. The transaction is a disposal by sale and has a major effect on our financial results. Since it meets all of the test criteria set forth above, we have treated this disposal transaction as a discontinued operations in our financial statements.

 

47

 

 

On August 21, 2020, the transaction closed and Impact BioMedical Inc became a direct wholly owned subsidiary of DBHS. GBM received 483,334 shares of DSS common stock and 46,868 shares of DSS preferred stock, which preferred shares could be converted to 7,232,716 common shares (however, any conversion will be subject to the blocker GBM has agreed to, as described above). After this transaction, we held 500,001 shares of the common stock of DSS, representing 9.7% of the outstanding common stock of DSS. Our CEO, Chan Heng Fai is an owner of the common stock of DSS (not including any common or preferred shares we held) and is the executive chairman of the board of directors of DSS. The Company has elected the fair value option for the DSS common stock that would otherwise be accounted for under the equity method of accounting. ASC 820, Fair Value Measurement and Disclosures, defines the fair value of the financial assets. We value DSS common stock under level 1 category through quoted prices and preferred stock under level 2 category through the value of the common shares into which the preferred shares are convertible. The quoted price of DSS common stock was $6.95 as of August 21, 2020. The total fair value of DSS common and preferred stocks GBM received as consideration for the disposal of Impact BioMedical was $46,284,171. As of August 21, 2020, the net asset value of Impact BioMedical was $94,011. The difference of $46,190,160 was recorded as additional paid in capital. We did not recognize gain or loss from this transaction as it was a related party transaction.

 

During the years ended December 31, 2021 and 2020, the discontinued operation loss from Impact BioMedical Inc was $0 and $417,438, respectively.

 

On October 16, 2020, GBM converted an aggregate of 4,293 shares of Series A Convertible Preferred Stock into 662,500 shares of the common stock of DSS. On May 25, 2021 and again on June 21, 2021, GBM converted an aggregate of 42,575 shares of Series A Convertible Preferred Stock into 6,570,170 shares of the common stock of DSS. On September 3, 2021, the Company purchased additional 12,155,591 common shares of DSS. We now own approximately 24.9% of the common stock of DSS, and our CEO, Chan Heng Fai, owns an additional 3.1% of the common stock of DSS (not including any common shares we hold).

 

Net Loss

 

In the year ended December 31, 2021, the Company had net loss of $119,017,591 compared to net loss of $5,100,318 in the year ended December 31, 2020.

 

Liquidity and Capital Resources

 

Our real estate assets have increased to $40,515,380 as of December 31, 2021 from $20,505,591 as of December 31, 2020. This increase primarily reflects the acquisition of 109 new rental properties in 2021. Our cash has increased from $24,965,946 as of December 31, 2020 to $56,061,309 as of December 31, 2021. Our liabilities increased from $8,889,226 at December 31, 2020 to $13,537,003 at December 31, 2021. Our total assets have increased to $184,210,143 as of December 31, 2021 from $107,713,745 as of December 31, 2020 due to the increase in cash and investments in securities.

 

On April 17, 2019, SeD Maryland Development LLC entered into a Development Loan Agreement with Manufacturers and Traders Trust Company (“M&T Bank”) in the principal amount not to exceed at any one time outstanding the sum of $8,000,000, with a cumulative loan advance amount of $18,500,000. The line of credit bears interest rate on LIBOR plus 375 basis points. SeD Maryland Development LLC was also provided with a Letter of Credit (“L/C”) Facility in an aggregate amount of up to $900,000. The L/C commission will be 1.5% per annum on the face amount of the L/C. Other standard lender fees will apply in the event the L/C is drawn down. The loan is a revolving line of credit. The L/C Facility is not a revolving loan, and amounts advanced and repaid may not be re-borrowed. Repayment of the Loan Agreement is secured by a $2,600,000 collateral fund and a Deed of Trust issued to the Lender on the property owned by SeD Maryland.

 

On June 18, 2020, Alset EHome Inc. entered into a Loan Agreement with M&T Bank. Pursuant to this Loan Agreement, M&T Bank provided a non-revolving loan to Alset EHome Inc. in an aggregate amount of up to $2,990,000. Repayment of this loan was secured by a deed of trust issued to the Lender on the property owned by certain subsidiaries of Alset EHome Inc. Certain subsidiaries of our company were the guarantors of this loan. The loan was closed in June 2021.

 

On April 6, 2020, the Company entered into a term note with M&T Bank with a principal amount of $68,502 pursuant to the Paycheck Protection Program (“PPP Term Note”) under the Coronavirus Aid, Relief, and Economic Security Act. The PPP Loan is evidenced by a promissory note. The PPP Term Note bears interest at a fixed annual rate of 1.00%, with the first ten months of principal and interest deferred. On November 26, 2020, $64,502 of this loan was forgiven by the United States Small Business Administration and $64,502 was recorded as other income. The remaining balance of $4,000 was paid back in December 2020.

 

48

 

 

On February 11, 2021, the Company entered into a term note with M&T Bank with a principal amount of $68,502 pursuant to the Paycheck Protection Program (“PPP Term Note”) under the Coronavirus Aid, Relief, and Economic Security Act (the “CARES Act”). The PPP Loan is evidenced by a promissory note. The PPP Term Note bears interest at a fixed annual rate of 1.00%, with the first sixteen months of principal and interest deferred or until we apply for the loan forgiveness. The PPP Term Note may be accelerated upon the occurrence of an event of default.

 

During the year ended on December 31, 2017, Chan Heng Fai provided non-interest loans of $7,156,680 for the general operations of the Company. The loans are interest free, not tradable, unsecured, and repayable on demand. On October 15, 2018, a formal lending agreement between Alset International and Chan Heng Fai was executed. Under the agreement, Chan Heng Fai provides a lending credit limit of approximately $10 million for Alset International with an interest rate of 6% per annum for the outstanding borrowed amount, which commenced retroactively from January 1, 2018. The loans are still not tradable, unsecured and repayable on demand. As of December 31, 2021 and 2020, the outstanding principal balance of the Related Party Loan was $0 and $178,400, respectively. Chan Heng Fai confirmed through a letter that he would not demand the repayment within a year. Interest started to accrue on January 1, 2018 at 6% per annum. During the years ended December 31, 2021 and 2020, the interest expenses were $0 and $130,667, respectively. As of December 31, 2021 and 2020, the accrued interest total was $0 and $0, respectively.

 

Chan Heng Fai provided an interest-free, due on demand, advance to the Company for the general operations of the Company. On December 31, 2021 and 2020, the outstanding balance was $0 and $1,511,429, respectively.

 

From January to December, 2021, the Company sold 280,000 shares of GigWorld to international investors with the amount of $478,300, which was booked as addition paid-in capital. The Company held 505,667,376 shares of the total outstanding shares 506,898,576 before the sale. After the sale, the Company still owns approximately 99% of GigWorld’s total outstanding shares.

 

From January to December, 2020, the Company sold 497,300 shares of GigWorld to international investors with the amount of $478,300, which was booked as addition paid-in capital. The Company held 505,667,376 shares of the total outstanding shares 506,898,576 before the sale. After the sale, the Company still owns approximately 99% of GigWorld’s total outstanding shares.

 

The management believes that the available cash on hand, available debt and equity financing are sufficient to fund our operations for at least the next 12 months.

 

Summary of Cash Flows for the Years Ended December 31, 2021 and 2020

 

   Years Ended December 31, 
   2021   2020 (As Restated) 
Net cash (used in) provided by operating activities  $(16,684,360)  $317,612 
Net cash (used in) provided by investing activities  $(56,044,001)  $1,781,121 
Net cash provided by financing activities  $103,417,404   $21,148,031 

 

Cash Flows from Operating Activities

 

Net cash used in operating activities was $16,684,360 in the year ended December 31, 2021, as compared to net cash provided by operating activities of $317,612 in the same period of 2020. The higher purchase of trading securities for investment purposes explained the increased cash flow used in operating activities during year 2021.

 

49

 

 

Cash Flows from Investing Activities

 

Net cash used in investing activities was $56,044,001 in the year 2021, as compared to net cash provided by investing activities of $1,781,121 in the same period of 2020. In the year ended December 31, 2021 we invested $19,390,318 in marketable securities, $25,362,146 to purchase real estate properties and $11,878,605 in promissory notes of a related party. At the same time, we received approximately $2.5 million from the sale of Vivacitas Oncology to a related party. During the year ended December 31, 2020, we received $301,976 from the liquidation of Global Opportunity Fund and $2.1 million from sale of investments. We also lent $200,000 in a promissory note to a related party and invested $201,229 in securities.

 

Cash Flows from Financing Activities

 

Net cash provided by financing activities was $103,417,404 in the year ended December 31, 2021, compared to net cash provided of $21,148,031 the year ended December 31, 2020. The increase in cash provided by financing activities in the year 2021 is primarily caused by the proceeds from stock issuance of $104,565,659 and exercise of subsidiary warrants of $3,249,339. During the year ended December 31, 2021, we also received cash proceeds of $280,000 from the sale of our GigWorld shares to individual investors and $68,502 from a loan. Additionally, the Company distributed $2,549,750 to one minority interest investor, borrowed $5,545,495 from related parties and repaid $7,057,324 to related parties. During the year ended December 31, 2020, we received cash proceeds of $13,202,123 from the issuance of stock, $11,380,460 from exercise of subsidiary warrants, we distributed $411,250 to one minority interest investor and repaid $6,644,542 of related party loan.

 

Real Property Financing Arrangements

 

Through Alset International, we have three property development projects. Ballenger Run and Black Oak projects are the major projects.

 

The Company anticipates that the estimated construction costs (not including land costs and financing costs) for the final phases of the Ballenger Run project will be $1.7 million. The expected completion date for the final phases of the Ballenger Run project is June of 2022.

 

At the present time, the Company is also considering expanding its current policy of selling buildable lots to include a strategy of building housing for sale or rent, particularly at our Black Oak and Alset Villas properties. The required time and expenses needed to complete the Black Oak and Alset Villas projects will be influenced by the strategy, or mix of strategies, we utilize at each project.

 

Our Perth project in Australia is relatively small, representing approximately 2% of our total projects included in the estimated property costs and forecasted revenue, and the development plan of this project is contingent on the local market. We have been monitoring the local market, which has seen no significant improvement to date, and we will consider development once it is more confident in the market.

 

Black Oak

 

Black Oak is a land infrastructure and subdivision project situated in Magnolia, Texas, north of Houston. This project is owned by certain subsidiaries of Alset International.

 

50

 

 

Ballenger Run

 

In November 2015, through LiquidValue Development, we completed the $15.7 million acquisition of Ballenger Run, a 197-acre land subdivision development located in Frederick County, Maryland. Previously, on May 28, 2014, the RBG Family, LLC entered into the Assignable Real Estate Sales Contract with NVR, Inc. (“NVR”) by which RBG Family, LLC would sell the 197 acres for $15 million to NVR. On December 10, 2014, NVR assigned this contract to SeD Maryland Development, LLC in the Assignment and Assumption Agreement and entered into a series of Lot Purchase Agreements by which NVR would purchase subdivided lots from SeD Maryland Development, LLC (the “Lot Purchase Agreements”).

 

On April 17, 2019, SeD Maryland Development LLC entered into a Development Loan Agreement with Manufacturers and Traders Trust Company (“M&T Bank”) in the principal amount not to exceed at any one time outstanding the sum of $8,000,000, with a cumulative loan advance amount of $18,500,000. The line of credit bears interest of LIBOR plus 375 basis points. SeD Maryland Development LLC was also provided with a Letter of Credit (“L/C”) Facility in an aggregate amount of $900,000. The L/C commission is 1.5% per annum on the face amount of the L/C. Other standard lender fees will apply in the event the L/C is drawn down. The L/C Facility is not a revolving loan, and amounts advanced and repaid may not be re-borrowed. Repayment of the Loan Agreement is secured by $2.6 million collateral fund and a Deed of Trust issued to the Lender on the property owned by SeD Maryland.

 

LIBOR is expected to be discontinued after 2021. Our line of credit agreement provides procedures for determining a replacement or alternative rate in the event that LIBOR is unavailable. However, there can be no assurances as to whether such replacement or alternative rate will be more or less favorable than LIBOR. We intend to monitor the developments with respect to the potential phasing out of LIBOR after 2021 and will work with our lenders to ensure any transition away from LIBOR will have minimal impact on our financial condition. We, however, can provide no assurances regarding the impact of the discontinuation of LIBOR on the interest rate that we would be required to pay or on our financial condition.

 

As of December 31, 2021 and 2020, the principal balance of the loan was $0.

 

Equity Security Investments

 

Investment Securities at Fair Value

 

The Company commonly holds investments in equity securities with readily determinable fair values, equity investments without readily determinable fair values, investments accounted for under the equity method, and investments at cost. Certain of the Company’s investments in marketable equity securities and other securities are long-term, strategic investments in companies that are in various stages of development.

 

Prior to the adoption of Financial Accounting Standards Board (“FASB”) Accounting Standards Update (“ASU”) 2016-01, Financial Instruments-Overall (Subtopic 825-10): Recognition and Measurement of Financial Assets and Financial Liabilities, investments in equity securities were classified as either 1) available-for-sale securities, stated at fair value, and unrealized holding gains and losses, net of related tax effects, were recorded directly to accumulated other comprehensive income (loss) or 2) trading securities, stated at fair value, and unrealized holding gains and losses, net of related tax benefits, were recorded directly to net income (loss). With the adoption of ASU 2016-01, investments in equity securities are still stated at fair value, quoted by market prices, but all unrealized holding gains and losses are credited or charged to net income (loss) based on fair value measurement as the respective reporting date.

 

The Company accounts for certain of its investments in equity securities in accordance with ASU 2016-01 Financial Instruments—Overall (Subtopic 825- 10): Recognition and Measurement of Financial Assets and Financial Liabilities (“ASU 2016-01”). In accordance with ASU 2016-01, the Company records all equity investments with readily determinable fair values at fair value calculated by the publicly traded stock price at the close of the reporting period. Amarantus BioScience Holdings (“AMBS”) and True Partner Capital Holding Limited (“True Partner”) are publicly traded companies. The Company does not have significant influence over AMBS and True Partner as the Company is the beneficial owner of approximately 5.3% of the common shares of AMBS and 15.5% of True Partner. The stock fair value is determined by quoted stock prices.

 

On April 12, 2021 the Company acquired 6,500,000 common shares of Value Exchange International, Inc. (“Value Exchange International”), an OTC listed company, for an aggregate subscription price of $650,000. After the transaction the Company owns approximately 18% of Value Exchange International and does not have significant influence on it. The stock’s fair value is determined by quoted stock prices.

 

During the year ended December 31, 2021, the Company’s subsidiaries established a portfolio of trading securities. The objective is to generate profits on short-term differences in market prices. The Company does not have significant influence over any trading securities in our portfolio and fair value of these trading securities are determined by quoted stock prices.

 

51

 

 

The Company has elected the fair value option for the equity securities noted below that would otherwise be accounted for under the equity method of accounting. Holista CollTech Limited (“Holista”), DSS Inc. (“DSS”) and American Premium Water Corp (“APW”) are publicly traded companies and fair value is determined by quoted stock prices. The Company has significant influence but does not have a controlling interest in these investments, and therefore, the Company’s investment could be accounted for under the equity method of accounting or elect fair value accounting.

 

The Company has significant influence over DSS as we owned approximately 24.9% of the common stock of DSS as of December 31, 2021, and our Chief Executive Officer, Chan Heng Fai, is an owner of the common stock of DSS (not including any common or preferred shares we hold). In addition, our Chief Executive Officer is the Chairman of the Board of Directors of DSS. Chan Tung Moe, our Co-Chief Executive Officer and the son of Chan Heng Fai, is also a director of DSS. The Company did not have a controlling interest and therefore the Company’s investment would be accounted for under equity method accounting or could elect the fair value option accounting.

 

The Company had significant influence over Holista as the Company and its CEO are the beneficial owner of approximately 15.8% of the outstanding shares of Holista and our CEO had a position on the Board of Directors of Holista from July of 2013 until June of 2021. The Company did not have a controlling interest and therefore the Company’s investment would be accounted for under equity method accounting or could elect the fair value option accounting.

 

The Company has significant influence over APW as the Company is the beneficial owner of approximately 17.5% of the common shares of APW and one officer from the Company holds a director position of APW’s board. The Company did not have a controlling interest and therefore the Company’s investment would be accounted for under equity method accounting or could elect the fair value option accounting.

 

The Company has elected the fair value options for the equity securities noted above that would otherwise be accounted for under the equity method of accounting to better match the measurement of assets and liabilities in the Consolidated Statements of Operations. APW, Holista and DSS are publicly traded companies and fair value of these equity investments is determined by the quoted stock prices. On December 31, 2021 and 2020, the fair value (calculated by market trading prices on the end dates of the periods) of total held equity stock of American Premium Water, Holista and DSS was $15,632,977 and $10,075,758, respectively.

 

The Company accounts for certain of its investments in real estate funds without readily determinable fair values in accordance with ASU No. 2015-07, Fair Value Measurement (Topic 820): Disclosures for Investments in Certain Entities That Calculate Net Asset Value per Share (or Its Equivalent) (“ASC 820”). As of December 31, 2019 the Company maintained an investment in a real estate fund, The Global Opportunity Fund. This fund invests primarily in the U.S. and met the criteria within ASC 820. Chan Heng Fai, the Chairman and CEO of the Company, was also one of the directors of the Global Opportunity Fund. The fair values of the investments in this class have been estimated using the net asset value of the Company’s ownership interest in Global Opportunity Fund. The fund was closed during November 2019 and is being liquidated. As of December 31, 2019, the Company recorded a receivable $307,944 from the Global Opportunity Fund. These monies were received on January 23, 2020.

 

On March 2, 2020 and October 29, 2021, the Company received warrants to purchase shares of American Medical REIT Inc. (“AMRE”), a related party private startup company, in conjunction with the Company lending two $200,000 promissory notes. For further details on this transaction, refer to Note 9 to Company’s Financial Statements, Related Party Transactions, Note Receivable from a Related Party Company. As of December 31, 2021 and 2020, AMRE was a private company. Based on management’s analysis, the fair value of the warrants and the stock option was $0 as of December 31, 2021 and 2020.

 

The Company held a stock option to purchase 250,000 shares of Vivacitas common stock at $1 per share at any time prior to the date of a public offering by Vivacitas. As of December 31, 2020, Vivacitas was a private company. Based on management’s analysis, the fair value of the Vivacitas stock option was $0 as of December 31, 2020. On March 18, 2021 the Company sold the subsidiary holding the ownership and stock option in Vivacitas to an indirect subsidiary of DSS. For further details on this transaction, refer to Note 9 - Related Party Transactions, Sale of Investment in Vivacitas to DSS.

 

52

 

 

On July 17, 2020, the Company purchased 122,039,000 shares, approximately 9.99% ownership, and 1,220,390,000 warrants with an exercise price of $0.0001 per share, from APW, for an aggregated purchase price of $122,039. We value APB warrants under level 3 category through a Black Scholes option pricing model and the fair value of the warrants from APW were $860,342 as of July 17, 2020, the purchase date and $1,009,854 and $862,723 as of December 31, 2021 and 2020, respectively.

 

On April 27, 2020, Global BioMedical Pte Ltd (“GBM”), one of our subsidiaries, entered into a share exchange agreement with DSS BioHealth Security, Inc. (“DBHS”), a wholly owned subsidiary of DSS, Inc. (“DSS”), a related party of the Company, pursuant to which, DBHS agreed to acquire all of the outstanding capital stock of Impact BioMedical Inc., a wholly owned subsidiary of GBM, through a share exchange. On August 21, 2020, the transaction closed and Impact BioMedical Inc became a direct wholly owned subsidiary of DBHS. GBM received 483,334 shares of DSS common stock and 46,868 shares of DSS preferred stock, which preferred shares could be converted to 7,232,716 common shares. On October 5, 2020 the Company converted 4,293 of these preferred shares into 662,500 common shares. On May 25, 2021 and again on June 21, 2021, GBM converted an aggregate of 42,575 shares of Series A Convertible Preferred Stock into 6,570,170 shares of the common stock of DSS. On September 3, 2021, the Company purchased additional 12,155,591 common shares of DSS. The Company has elected the fair value option for the DSS common stock that would otherwise be accounted for under the equity method of accounting. We value DSS preferred stock under level 3 category through the Option-Pricing Method (“OPM”) to allocate the equity value between common and preferred shares. The OPM relies on the Black-Scholes-Merton model. As of December 31, 2021 and 2020, the fair market value of the DSS preferred stock was $0 and $37,675,000, respectively. For further details on this transaction, refer to Note 9 to Company’s Financial Statements – Related Party Transactions, Note 13 – Discontinued Operations and Note 14 – Investments Measured at Fair Value.

 

The changes in the fair values of the investment were recorded directly to accumulated other comprehensive income (loss). Due to the inherent uncertainty of these estimates, these values may differ materially from the values that would have been used had a ready market for these investments existed.

 

Investment Securities at Cost

 

Investments in equity securities without readily determinable fair values are measured at cost minus impairment adjusted by observable price changes in orderly transactions for the identical or a similar investment of the same issuer. These investments are measured at fair value on a nonrecurring basis when there are events or changes in circumstances that may have a significant adverse effect. An impairment loss is recognized in the consolidated statements of comprehensive income equal to the amount by which the carrying value exceeds the fair value of the investment.

 

The Company had an equity holding of 13.1% in Vivacitas Oncology Inc. (“Vivacitas”), a private company that is currently not listed on an exchange, with a purchase cost of $200,128. We measure Vivacitas at cost, less any impairment, plus or minus changes resulting from observable price changes in orderly transactions for an identical or similar investment of the same issuer. Our ownership in Vivacitas was sold on March 18, 2021 to DSS for $2,480,000. The difference of $2,279,872 between the selling price and our original investment cost was recorded as additional paid capital considering a related party transaction. For further details on this transaction, refer to Note 9 – Related Party Transactions, Sale of Investment in Vivacitas to DSS.

 

On September 8, 2020, the Company acquired 1,666 shares, approximately 1.45% ownership, from Nervotec Pte Ltd (“Nervotec”), a private company, at the purchase price of $36,628. The Company applied ASC 321 and measured Nervotec at cost, less any impairment, plus or minus changes resulting from observable price changes in orderly transactions for an identical or similar investment of the same issuer.

 

53

 

 

On September 30, 2020, the Company acquired 20,000 shares, approximately 19% ownership, from HWH World Company Limited (f.k.a. Hyten Global (Thailand) Co., Ltd.) (“HWH World Co.”), a private company, at a purchase price of $42,562. HWH World Co. is a direct sales company in Thailand. The Company does not have significant influence on HWH World Co. and applied ASC 321 and measured HWH World Co. at cost, less any impairment, plus or minus changes resulting from observable price changes in orderly transactions for an identical or similar investment of the same issuer.

 

On May 31, 2021, the Company invested $19,609 in K Beauty Research Lab Co., Ltd (“K Beauty”) for 18% ownership. K Beauty was established for sourcing, developing and producing variety of Korea-made beauty products as well as Korea - originated beauty contents for the purpose of distribution to HWH’s membership distribution channel.

 

There has been no indication of impairment or changes in observable prices via transactions of similar securities and is still carried at a cost.

 

Investment Securities under Equity Method Accounting

 

The Company accounts for equity investment in entities with significant influence under equity-method accounting. Under this method, the Group’s pro rata share of income (loss) from investment is recognized in the consolidated statements of comprehensive income. Dividends received reduce the carrying amount of the investment. When the Company’s share of loss in an equity-method investee equals or exceeds its carrying value of the investment in that entity, the equity method investment can be reduced below zero based on losses if the Company either be liable for the obligations of the investee or provide for losses in excess of the investment when imminent return to profitable operations by the investee appears to be assured. Otherwise, the Company does not recognize its share of equity method losses exceeding its carrying amount of the investment, but discloses the losses in the footnotes. Equity-method investment is reviewed for impairment by assessing if the decline in market value of the investment below the carrying value is other-than-temporary. In making this determination, factors are evaluated in determining whether a loss in value should be recognized. These include consideration of the intent and ability of the Group to hold investment and the ability of the investee to sustain an earnings capacity, justifying the carrying amount of the investment. Impairment losses are recognized in other expense when a decline in value is deemed to be other-than-temporary.

 

American Medical REIT Inc.

 

LiquidValue Asset Management Pte. Ltd. (“LiquidValue”), a subsidiary of the Company owns 3.4% of American Medical REIT Inc. (“AMRE”), a startup REIT company concentrating on medical real estate. AMRE acquires state-of-the-art, purpose-built healthcare facilities and leases them to leading clinical operators with dominant market share under secure triple net leases. AMRE targets hospitals (both Critical Access and Specialty Surgical), Physician Group Practices, Ambulatory Surgical Centers, and other licensed medical treatment facilities. Chan Heng Fai, our CEO, is the executive chairman and director of AMRE. LiquidValue did not invest equity but lend a loan to AMRE. See detail in Note 9 to Company’s Financial Statements, Related Party Transactions. On balance sheet, the prorate loss from AMRE was not recorded as a liability because the Company is not liable for the obligations of AMRE and is not committed to provide additional financial support.

 

Sweet Sense Inc.

 

On April 25, 2018, BioLife Sugar, Inc. (“BioLife”), a subsidiary consolidated under Alset International, entered into joint venture agreement with Quality Ingredients, LLC (“QI”). The agreement created an entity called Sweet Sense, Inc. (“Sweet Sense”), which was 50% owned by BioLife and 50% owned by QI. Management believes its investment of 50% represents significant influence over Sweet Sense and accounts for the investment under the equity method of accounting. As of December 31, 2018, BioLife had contributed $55,000 to the joint venture and recorded its proportionate share losses totaling $44,053 recorded as loss on investment in security by equity method in the Condensed Consolidated Statements of Operations and Other Comprehensive Loss.

 

On November 8, 2019, Impact BioMedical Inc., a subsidiary of the Company, purchased 50% of Sweet Sense from QI for $91,000 and recorded a loss from acquisition in the amount of $90,001. As of November 8, 2019, the total investment in joint venture was equal to $91,000 and the proportionate losses totaled $90,001. The transaction was not in the scope of ASC 805 Business Combinations since the acquisition was accounted for an asset purchase instead of a business combination. As an asset acquisition, the Company recorded the transaction at cost and applied ASC 730 to expense in-process research and development cost, the major cost of Sweet Sense. Consequently, Sweet Sense was an 81.8% owned subsidiary of Alset International, and therefore, was consolidated into the Company’s condensed consolidated financial statements as of December 31, 2020. On August 20, 2020 Impact BioMedical Inc. was sold to one of DSS’s subsidiaries. As a subsidiary of Impact BioMedical Inc., Sweet Sense was in the discontinued operations of Impact BioMedical Inc.

 

54

 

 

Discontinued Operations

 

Impact BioMedical Inc.

 

On April 27, 2020, Global BioMedical Pte Ltd (“GBM”), one of our subsidiaries, entered into a share exchange agreement with DSS BioHealth Security, Inc. (“DBHS”), a wholly owned subsidiary of DSS, Inc. (“DSS”), pursuant to which, DBHS agreed to acquire all of the outstanding capital stock of Impact BioMedical Inc., a wholly owned subsidiary of GBM, through a share exchange. It was agreed that the aggregate consideration to be issued to GBM for the Impact BioMedical shares would be the following: (i) 483,334 newly issued shares of DSS common stock; and (ii) 46,868 newly issued shares of a new series of DSS perpetual convertible preferred stock with a stated value of $46,868,000, or $1,000 per share. The convertible preferred stock can be convertible into shares of DSS common stock at a conversion price of $6.48 of preferred stock stated value per share of common stock, subject to a 19.9% beneficial ownership conversion limitation (a so-called “blocker”) based on the total issued outstanding shares of common stock of DSS beneficially owned by GBM. Holders of the convertible preferred stock will have no voting rights, except as required by applicable law or regulation, and no dividends will accrue or be payable on the convertible preferred stock. The holders of convertible preferred stock will be entitled to a liquidation preference of $1,000 per share, and DSS will have the right to redeem all or any portion of the then outstanding shares of convertible preferred stock, pro rata among all holders, at a redemption price per share equal to such liquidation value per share.

 

Under ASU 2014-08, a disposal transaction meets the definition of a discontinued operation if all of the following criteria are met:

 

1. The disposal group constitutes a component of an entity or a group of components of an entity.

 

2. The component of an entity (or group of components of an entity) meets the held-for-sale classification criteria, is disposed of by sale, or is disposed of other than by sale (e.g., “by abandonment, in an exchange measured based on the recorded amount of the nonmonetary asset relinquished, or in a distribution to owners in a spinoff”).

 

3. The disposal of a component of an entity (or group of components of an entity) “represents a strategic shift that has (or will have) a major effect on an entity’s operations and financial results”.

 

Impact BioMedical Inc and its subsidiaries have financial reporting. The transaction is a disposal by sale and has a major effect on our financial results. Since it meets all of the test criteria set forth above, we have treated this disposal transaction as a discontinued operation in our financial statements.

 

On August 21, 2020, the transaction closed and Impact BioMedical Inc became a direct wholly owned subsidiary of DBHS. GBM received 483,334 shares of DSS common stock and 46,868 shares of DSS preferred stock, which preferred shares could be converted to 7,232,716 common shares (however, any conversion will be subject to the blocker GBM has agreed to, as described above). After this transaction, we held 500,001 shares of the common stock of DSS, representing 9.7% of the outstanding common stock of DSS. Our CEO, Chan Heng Fai is the owner of the common stock of DSS (not including any common or preferred shares we held) and is the executive chairman of the board of directors of DSS. The Company has elected the fair value option for the DSS common stock that would otherwise be accounted for under the equity method of accounting. ASC 820, Fair Value Measurement and Disclosures, defines the fair value of the financial assets. We value DSS common stock under level 1 category through quoted prices and preferred stock under level 2 category through the value of the common shares into which the preferred shares are convertible. The quoted price of DSS common stock was $6.95 as of August 21, 2020. The total fair value of DSS common and preferred stocks GBM received as consideration for the disposal of Impact BioMedical was $46,284,171. As of August 21, 2020, the net asset value of Impact BioMedical was $94,011. The difference of $46,190,160 was recorded as additional paid in capital. We did not recognize gain or loss from this transaction as it was a related party transaction.

 

On October 16, 2020, GBM converted an aggregate of 4,293 shares of Series A Convertible Preferred Stock into 662,500 shares of the common stock of DSS. On May 25, 2021 and again on June 21, 2021, GBM converted an aggregate of 42,575 shares of Series A Convertible Preferred Stock into 6,570,170 shares of the common stock of DSS. On September 3, 2021, the Company purchased additional 12,155,591 common shares of DSS. We now own approximately 24.9% of the common stock of DSS, and our CEO, Chan Heng Fai, owns an additional 3.1% of the common stock of DSS (not including any common shares we hold).

 

55

 

 

Investment in Debt Securities

 

Debt securities are reported at fair value, with unrealized gains and losses (other than impairment losses) recognized in accumulated other comprehensive income or loss. Realized gains and losses on debt securities are recognized in the net income in the consolidated statements of comprehensive income. The Company monitors its investments for other-than-temporary impairment by considering factors including, but not limited to, current economic and market conditions, the operating performance of the companies including current earnings trends and other company-specific information.

 

The Company invested $50,000 in a convertible promissory note of Sharing Services Global Corporation (“Sharing Services Convertible Note”), a company quoted on the US OTC market. The value of the convertible note was estimated by management using a Black-Scholes valuation model. The fair value of the note was $9,799 and $66,978 on December 31, 2021 and 2020, respectively.

 

On February 26, 2021, the Company invested approximately $88,599 in the convertible note of Vector Com Co., Ltd (“Vector Com”), a private company in South Korea. The interest rate is 2% per annum and maturity is two years. The conversion price is approximately $21.26 per common share of Vector Com. As of December 31, 2021, the Management estimated the fair value of the note to be $88,599, the initial transaction price.

 

Variable Interest Entity

 

Under Financial Accounting Standards Board (“FASB”) Accounting Standard Codification (“ASC”) 810, Consolidation, when a reporting entity is the primary beneficiary of an entity that is a variable interest entity (“VIE”), as defined in ASC 810, the VIE must be consolidated into the financial statements of the reporting entity. The determination of which owner is the primary beneficiary of a VIE requires management to make significant estimates and judgments about the rights, obligations, and economic interests of each interest holder in the VIE.

 

The Company evaluates its interests in VIE’s on an ongoing basis and consolidates any VIE in which it has a controlling financial interest and is deemed to be the primary beneficiary. A controlling financial interest has both of the following characteristics: (i) the power to direct the activities of the VIE that most significantly impact its economic performance; and (ii) the obligation to absorb losses of the VIE that could potentially be significant to it or the right to receive benefits from the VIE that could be significant to the VIE.

 

HWH World Company Limited

 

HWH World Co. is a direct sales company in Thailand. The Company has a 19% ownership and lent a loan of $187,500 with zero interest and due on demand, to HWH World Co. The current level of equity in HWH World Co. is not sufficient to permit it to operate on its own without additional subordinated financial support. The Company has a variable interest in HWH World Co. However, the Company is not deemed to absorb losses or receive benefits that could potentially be significant to HWH World Co. Ltd. Moreover, the Company does not have the ultimate power over the activities which can impact VIE’s economic performance, like developing company budgets or overseeing and controlling the management. The power to direct the activities are held by the manager in Thailand who owns 51% of the HWH World Co. Therefore, the Company is not a primary beneficiary of this VIE and does not consolidate it. On December 31, 2021 and 2020 variable interest and amount receivable in the non-consolidated VIE was $236,699 and $42,562, respectively, which represents the Company’s maximum risk of loss from non-consolidated VIE. The Company applied ASC 321 and measured HWH World Co. investment at cost, less any impairment, plus or minus changes resulting from observable price changes in orderly transactions for an identical or similar investment of the same issuer.

 

56

 

 

American Medical REIT Inc.

 

The Company has less than 3.4% ownership in AMRE and lent two loans of $200,000 each and one loan of $8,350,000, all with 8% per annum interest rate. One of the $200,000 loans is due on March 3, 2022, the other one is due on October 29, 2024. The $8,350,000 loan is due one on November 29, 2023. The Company has a variable interest in AMRE. However, The Company is not deemed to absorb losses or receive benefits that could potentially be significant to AMRE. The Company does not also have the ultimate power over the activities which can impact VIE’s economic performance, like developing company budgets or overseen and controlling the management. The power to direct these activities are held by the AMRE’s largest shareholder which owns approximately 93% of AMRE and AMRE’s management team. Therefore, the Company is not a primary beneficiary of this VIE and does not consolidate it. On December 31, 2021 and 2020 variable interest and amount receivable in the non-consolidated VIE was $8,901,285 and $213,431, respectively, which represents the Company’s maximum risk of loss from non-consolidated VIE.

 

Credas Capital Pte Ltd

 

The Company has a 50% ownership of Credas Capital Pte Ltd (“Credas”) and lent a loan of $135,720 with zero interest rate and due on demand. The current level of equity in Credas is not sufficient to permit if to operate on its own without additional subordinated financial support. The Company has a variable interest in Credas. However, the Company is not deemed to absorb losses or receive benefits that could potentially be significant to Credas. Moreover, the Company does not have the ultimate power over the activities which can impact VIE’s economic performance, like developing company budgets or overseen and controlling the management. Therefore, the Company is not a primary beneficiary of this VIE and does not consolidate it. On December 31, 2021 and 2020 variable interest and amount receivable in the non-consolidated VIE was $135,720 and $0, respectively, which represents the Company’s maximum risk of loss from non-consolidated VIE.

 

Off-Balance Sheet Arrangements

 

We do not have any off-balance sheet arrangements that are reasonably likely to have a current or future effect on our financial condition, revenues, results of operations, liquidity or capital expenditures.

 

Impact of Inflation

 

We believe that inflation has not had a material impact on our results of operations for the years ended December 31, 2021 and 2020. We cannot assure you that future inflation will not have an adverse impact on our operating results and financial condition.

 

Impact of Foreign Exchange Rates

 

The effect of foreign exchange rate changes on the intercompany loans (under ASC 830), which mostly consist of loans from Singapore to the United States and which were approximately $43 million and $25 million on December 31, 2021 and 2020, respectively, are the reason for the significant fluctuation of foreign currency transaction Gain or Loss on the Consolidated Statements of Operations and Other Comprehensive Income. Because the intercompany loan balances between Singapore and United States will remain at approximately $43 million over the next year, we expect this fluctuation of foreign exchange rates to still significantly impact the results of operations in the year 2022, especially given that the foreign exchange rate may and is expected to be volatile. If the amount of intercompany loan is lowered in the future, the effect will also be reduced. However, at this moment, we do not expect to repay the intercompany loans in the short term.

 

57

 

 

Emerging Growth Company Status

 

We are an “emerging growth company,” as defined in the JOBS Act, and we may take advantage of certain exemptions from various reporting requirements that are applicable to other public companies that are not “emerging growth companies.” Section 107 of the JOBS Act provides that an “emerging growth company” can take advantage of the extended transition period provided in Section 7(a)(2)(B) of the Securities Act for complying with new or revised accounting standards. In other words, an “emerging growth company” can delay the adoption of certain accounting standards until those standards would otherwise apply to private companies. We have elected to take advantage of these exemptions until we are no longer an emerging growth company or until we affirmatively and irrevocably opt out of this exemption.

 

Controls and Procedures

 

We are not currently required to maintain an effective system of internal controls as defined by Section 404 of the Sarbanes-Oxley Act. Only in the event that we are deemed to be a large accelerated filer or an accelerated filer would we be required to comply with the independent registered public accounting firm attestation requirement. Further, for as long as we remain an emerging growth company as defined in the JOBS Act, we intend to take advantage of certain exemptions from various reporting requirements that are applicable to other public companies that are not emerging growth companies including, but not limited to, not being required to comply with the independent registered public accounting firm attestation requirement.

 

Management is responsible for the preparation and fair presentation of the financial statements included in this Report. The financial statements have been prepared in conformity with accounting principles generally accepted in the United States of America and reflect management’s judgment and estimates concerning effects of events and transactions that are accounted for or disclosed.

 

Management is also responsible for establishing and maintaining adequate internal control over financial reporting. Our internal control over financial reporting includes those policies and procedures that pertain to our ability to record, process, summarize and report reliable data. Management recognizes that there are inherent limitations in the effectiveness of any internal control over financial reporting, including the possibility of human error and the circumvention or overriding of internal control. Accordingly, even effective internal control over financial reporting can provide only reasonable assurance with respect to financial statement presentation. Further, because of changes in conditions, the effectiveness of internal control over financial reporting may vary over time.

 

In order to ensure that our internal control over financial reporting is effective, management regularly assesses controls and did so most recently for its financial reporting as of December 31, 2021. This assessment was based on criteria for effective internal control over financial reporting described in the Internal Control Integrated Framework issued by the Committee of Sponsoring Organizations (COSO) of the Treadway Commission. In connection with management’s evaluation of the effectiveness of our company’s internal control over financial reporting as of December 31, 2021, management determined that our company did not maintain effective controls over financial reporting due to having a limited staff. This limited number of staff prevents us from segregating duties within our internal control system; and restricts our ability to timely evaluate the accuracy and completeness of our financial statement disclosures. Management determined that the ineffective controls over financial reporting constitute a material weakness. To remediate such weaknesses, we plan to appoint additional qualified personnel with financial accounting, GAAP and SEC experience.

 

This Report does not include an attestation report of our registered public accounting firm regarding internal control over financial reporting. Management’s report was not subject to attestation by our registered public accounting firm pursuant to temporary rules of the SEC that permit us to provide only management’s report in this Report.

 

Item 7A. Quantitative and Qualitative Disclosures About Market Risk

 

Not applicable to smaller reporting companies.

 

58

 

 

Item 8. Financial Statements

 

Alset EHome International Inc. and Subsidiaries

CONSOLIDATED FINANCIAL STATEMENTS

December 31, 2021 and 2020

 

Table of Contents

 

Reports of Independent Registered Public Accounting Firms (PCAOB ID: 606) 60 
   
Consolidated Balance Sheets at December 31, 2021 and 2020 62 
   
Consolidated Statements of Operations and Other Comprehensive Loss for the Years Ended December 31, 2021 and 2020 63 
   
Consolidated Statements of Stockholders’ Equity for the Years Ended December 31, 2021 and 2020 64 
   
Consolidated Statements of Cash Flows for the Years Ended December 31, 2021 and 2020 65 
   
Notes to Consolidated Financial Statements 66 

 

59

 

 

REPORT OF INDEPENDENT REGISTERED PUBLIC ACCOUNTING FIRM

 

To the Board of Directors and Stockholders of
Alset EHome International, Inc. and Subsidiaries

Bethesda, Maryland

 

Opinion on the Financial Statements

 

We have audited the accompanying consolidated balance sheet of Alset EHome International, Inc. and Subsidiaries (the “Company”) as of December 31, 2021, and the related consolidated statements of income, stockholders’ equity, and cash flows for the year ended December 31, 2021, and the related notes (collectively referred to as the financial statements). In our opinion, the financial statements present fairly, in all material respects, the financial position of the Company as of December 31, 2021, and the results of its operations and its cash flows for the year ended December 31, 2021, in conformity with accounting principles generally accepted in the United States of America.

 

We also have audited the adjustments to the 2020 consolidated financial statements to retrospectively present certain 2021 common control transactions, as described in Note 5. In our opinion, such adjustments are appropriate and have been properly applied. We were not engaged to audit, review, or apply any procedures to the 2020 financial statements of the Company other than with respect to the adjustments and, accordingly, we do not express an opinion or any other form of assurance on the 2020 financial statements taken as a whole.

 

Basis for Opinion

 

These financial statements are the responsibility of the Company’s management. Our responsibility is to express an opinion on the Company’s financial statements based on our audits. We are a public accounting firm registered with the Public Company Accounting Oversight Board (United States) (PCAOB) and are required to be independent with respect to the Company in accordance with the U.S. federal securities laws and the applicable rules and regulations of the Securities and Exchange Commission and the PCAOB.

 

We conducted our audit in accordance with the standards of the PCAOB. Those standards require that we plan and perform the audit to obtain reasonable assurance about whether the financial statements are free of material misstatement, whether due to error or fraud. The Company is not required to have, nor were we engaged to perform, an audit of its internal control over financial reporting. As part of our audit, we are required to obtain an understanding of internal control over financial reporting, but not for the purpose of expressing an opinion on the effectiveness of the Company’s internal control over financial reporting. Accordingly, we express no such opinion.

 

Our audit included performing procedures to assess the risks of material misstatement of the financial statements, whether due to error or fraud, and performing procedures that respond to those risks. Such procedures included examining, on a test basis, evidence regarding the amounts and disclosures in the financial statements. Our audit also included evaluating the accounting principles used and significant estimates made by management, as well as evaluating the overall presentation of the financial statements. We believe that our audit provides a reasonable basis for our opinion.

 

signature

GRASSI & CO., CPAs, P.C.

 

   
We have served as the Company’s auditor since 2022.
   
Jericho, New York
March 31, 2022

 

60

 

 

REPORT OF INDEPENDNT REGISTERED PUBLIC ACCOUNTING FIRM

 

 

To the Board of Directors and

Stockholders of Alset EHome International Inc.

 

Opinion on the Financial Statements

 

We have audited, before the effects of the adjustments to retrospectively apply the change in accounting described in Note 5, the accompanying consolidated balance sheet of Alset EHome International Inc. (the Company) as of December 31, 2020, and the related consolidated statements of operations and other comprehensive loss, stockholders’ equity, and cash flows for the year ended December 31, 2020, and the related notes (collectively referred to as the financial statements and the 2020 financial statements before the effects of the adjustments discussed in Note 5 are not presented herein). In our opinion, the financial statements before the effects of the adjustments to retrospectively apply the change in accounting described in Note 5, present fairly, in all material respects, the financial position of the Company as of December 31, 2020, and the results of its operations and its cash flows for the year ended December 31, 2020, in conformity with accounting principles generally accepted in the United States of America.

 

We were not engaged to audit, review, or apply any procedures to the adjustments to retrospectively apply the change in accounting described in Note 5 and, accordingly, we do not express an opinion or any other form of assurance about whether such adjustments are appropriate and have been properly applied. Those adjustments were audited by GRASSI & CO., CPAs, P.C.

 

Basis for Opinion

 

These financial statements are the responsibility of the Company’s management. Our responsibility is to express an opinion on the Company’s financial statements based on our audits. We are a public accounting firm registered with the Public Company Accounting Oversight Board (United States) (PCAOB) and are required to be independent with respect to the Company in accordance with the U.S. federal securities laws and the applicable rules and regulations of the Securities and Exchange Commission and the PCAOB.

 

We conducted our audit in accordance with the standards of the PCAOB. Those standards require that we plan and perform the audit to obtain reasonable assurance about whether the financial statements are free of material misstatement, whether due to error or fraud. The Company is not required to have, nor were we engaged to perform, an audit of its internal control over financial reporting. As part of our audit, we are required to obtain an understanding of internal control over financial reporting, but not for the purpose of expressing an opinion on the effectiveness of the Company’s internal control over financial reporting. Accordingly, we express no such opinion.

 

Our audit included performing procedures to assess the risks of material misstatement of the financial statements, whether due to error or fraud, and performing procedures that respond to those risks. Such procedures included examining, on a test basis, evidence regarding the amounts and disclosures in the financial statements. Our audit also included evaluating the accounting principles used and significant estimates made by management, as well as evaluating the overall presentation of the financial statements. We believe that our audit provides a reasonable basis for our opinion.

 

/s/ Briggs & Veselka Co.
We have served as the Company’s auditor since 2021.
Houston, Texas
April 14, 2021

 

61

 

 

Alset EHome International Inc. and Subsidiaries

Consolidated Balance Sheets

 

   December 31, 2021   December 31, 2020 
         (As Restated) 
Assets:          
Current Assets:          
Cash  $56,061,309   $24,965,946 
Restricted Cash   4,740,870    6,769,533 
Account Receivables, Net   39,622    1,366,194 
Other Receivables   334,788    644,576 
Note Receivables - Related Parties   12,792,671    649,569 
Prepaid Expense   1,202,451    1,470,680 
Inventory   47,290    90,068 
Investment in Securities at Fair Value   36,337,023    49,172,457 
Investment in Securities at Cost   99,216    280,516 
Investment in Securities at Equity Method   30,801,129    - 
Deposit   275,204    48,820 
Total Current Assets   142,731,573    85,458,359 
           
Real Estate          
Rental Properties   24,820,253    - 
Properties under Development   15,695,127    20,505,591 
Operating Lease Right-Of-Use Asset   659,620    574,754 
Deposit   39,653    249,676 
Loan Receivable - Related Parties   -    840,000 
Property and Equipment, Net   263,917    85,365 
Total Assets  $184,210,143   $107,713,745 
           
Liabilities and Stockholders’ Equity:          
Current Liabilities:          
Accounts Payable and Accrued Expenses  $11,341,789   $1,671,265 
Deferred Revenue   728,343    2,867,226 
Builder Deposits   31,553    1,262,336 
Operating Lease Liability   283,989    381,412 
Notes Payable   317,671    172,706 
Notes Payable - Related Parties   833,658    2,534,281 
Total Current Liabilities   13,537,003    8,889,226 
           
Long-Term Liabilities:          
Operating Lease Liability   383,354    193,342 
Note Payable, Net of Discount   -    636,362 
Total Liabilities   13,920,357    9,718,930 
           
Stockholders’ Equity:          
Preferred Stock, $0.001 par value; 25,000,000 shares authorized, none issued and outstanding   -     -  
Common Stock, $0.001 par value; 250,000,000 shares authorized; 87,368,446 and 8,570,000 shares issued and outstanding on December 31, 2021 and 2020, respectively    87,368     8,570 
Additional Paid in Capital   296,181,977    102,729,944 
Accumulated Deficit   (148,233,473)   (44,910,297)
Accumulated Other Comprehensive Income   341,646    2,143,338 
Total Alset EHome International Stockholders’ Equity   148,377,518    59,971,555 
Non-controlling Interests   21,912,268    38,023,260 
Total Stockholders’ Equity   170,289,786    97,994,815 
           
Total Liabilities and Stockholders’ Equity  $184,210,143   $107,713,745 

 

See accompanying notes to condensed consolidated financial statements.

 

62

 

 

Alset EHome International Inc. and Subsidiaries

Consolidated Statements of Operations and Other Comprehensive Loss

For the Years Ended December 31, 2021 and 2020

 

   2021   2020 
         (As Restated) 
Revenue          
Rental  $327,296   $- 
Property   13,886,083    13,643,689 
Biohealth   5,543,066    2,594,511 
Other   42,377    - 
Total Revenue   19,798,822    16,238,200 
Operating Expenses          
Cost of Sales   11,301,814    12,085,574 
General and Administrative   23,491,130    6,337,364 
Total Operating Expenses   34,792,944    18,422,938 
           
Operating Losses from Operations   (14,994,122)   (2,184,738)
           
Other Income (Expense)          
Interest Income   183,636    65,751 
Interest Expense   (317,281)   (147,640)
Net Gain on Investment in Alset International during the Unconsolidated Period   -    61,346 
Foreign Exchange Transaction Gain (Loss)   1,363,061    (371,603)
Unrealized Loss on Securities Investment   (49,190,748)   (1,694,535)
Realized Loss on Securities Investment   (4,698,078)   (192,459)
Loss on Investment on Security by Equity Method   (51,999)   (227,643)
Finance Costs   (50,871,869)   (109,916)
Other Income   93,823    127,100 
Total Other Expense, Net   (103,489,455)   (2,489,599)
           
Net Loss Before Income Taxes   (118,483,577)   (4,674,337)
           
Income Tax Expense   (534,014)   (8,543)
           
Net Loss from Continuing Operations   (119,017,591)   (4,682,880)
           
Loss from Discontinued Operations, Net of Tax   -    (417,438)
Net Loss   (119,017,591)   (5,100,318)
           
Net Loss Attributable to Non-controlling Interest   (15,694,415)   (1,948,661)
           
Net Loss Attributable to Common Stockholders  $(103,323,176)  $(3,151,657)
           
Other Comprehensive (Loss) Income, Net          
Unrealized (Loss) Gain on Securities Investment   (57,179)   19,486 
Foreign Currency Translation Adjustment   (3,974,966)   1,148,898 
Comprehensive Loss   (123,049,736)   (3,931,934)
           
Comprehensive Loss Attributable to Non-controlling Interests   (16,933,170)   (1,381,863)
           
Comprehensive Loss Attributable to Common Stockholders  $(106,116,566)  $(2,550,071)
           
Net Loss Per Share - Basic and Diluted          
Continuing Operations  $(3.69)  $(0.33)
Discontinued Operations  $-   $(0.05)
Basic Net Loss Per Share  $(3.69)  $(0.38)
           
Weighted Average Common Shares Outstanding - Basic and Diluted   27,982,876    8,352,425 

 

See accompanying notes to consolidated financial statements.

 

63

 

 

Alset EHome International Inc. and Subsidiaries

Consolidated Statements of Stockholders’ Equity

For Two Year Period Ended December 31, 2021

 

                                                 
   Series A Preferred Stock   Series B Preferred Stock   Common Stock                         
   Shares   Par Value $0.001   Shares   Par Value $0.001   Shares   Par Value $0.001   Additional Paid in Capital   Accumulated Other Comprehensive Income   Accumulated Deficit   Total Alset EHome International Stockholders’ Equity   Non-Controlling Interests   Total Stockholders’ Equity 
Balance at January 1, 2020   -   $-    -   $-    10,001,000   $10,001   $56,786,713   $1,458,289   $(41,758,640)  $16,496,362   $7,163,857   $23,660,219 
                                                             
Cancellation of Outstanding Stock   -          -          (3,601,000)   (3,601)   3,601              -    -    - 
                                                             
Issuance of Stock                       2,170,000    2,170    13,199,953              13,202,123         13,202,123 
                                                             
Subsidiary’s Issuance of Stock                  -               13,439,082              13,439,082    8,748,744    22,187,826 
                                                             
Proceeds from Selling Subsidiary Equity   -          -                    278,346              278,346    208,954    487,300 
                                                             
Sale of Impact BioMedical Inc. to Related Party                                 26,307,872    -         26,307,872    19,846,288    46,154,160 
                                                             
Contribution                                 539,088    -         539,088    406,681    945,769 
                                                             
Transfer iGalen International Inc. to Related Party   -          -     -     -          2,132,407              2,132,407    1,608,658    3,741,065 
                                                             
Change in Non-Controlling Interest                                 (9,957,118)   19,047         (9,938,071)   1,897,608    (8,040,463)
                                                             
Change in Unrealized Gain on Investment   -          -     -                    11,130         11,130    8,356    19,486 
                                                             
Foreign Currency Translations                                      654,872         654,872    494,026    1,148,898 
                                                             
Distribution to Non-Controlling Shareholders   -          -          -                              (411,250)   (411,250)
                                                             
Net Loss        -                                   (3,151,657)   (3,151,657)   (1,948,661)   (5,100,318)
                                                             
Balance at January 1, 2021 (As Restated)   -   $-    -   $-    8,570,000   $8,570   $102,729,944   $2,143,338   $(44,910,297)  $59,971,555   $38,023,260   $97,994,815 
                                                             
Issuance of Common Stock   -    -    -    -    67,502,481    67,502    104,498,157    -    -    104,565,659    -    104,565,659 
                                                             
Convert Common stock to Series A Preferred Stock   6,380    6    -    -    (6,380,000)   (6,380)   6,374    -    -    -    -    - 
                                                             
Convert Related Party Note Payable to Series B Preferred Stock   -    -    2,132    2    -    -    12,999,998    -    -    13,000,000    -    13,000,000 
                                                             
Convert Preferred Stock Series A and B to Common   (6,380)   (6)   (2,132)   (2)   8,512,000    8,512    (8,504)   -    -    -    -    - 
                                                             
Transactions under Common Control   -    -    -    -    -    -    (57,190,499)   -    -    (57,190,499)   -    (57,190,499)
                                                             
Sale of Vivacitas to Related Party   -    -    -    -    -    -    2,279,872    -    -    2,279,872    -    2,279,872 
                                                             
Purchase Stock of True Partner from Related Party   -    -    -    -    -    -    3,274,060    -    -    3,274,060    -    3,274,060 
                                                             
Beneficial Conversion Feature Intrinsic Value, Net   -    -    -    -    -    -    50,770,192    -    -    50,770,192    -    50,770,192 
                                                             
Change in Non-Controlling Interest   -    -    -    -    -    -    (5,729,539)   865,493    -    (4,864,046)   2,664,056    (2,199,990)
                                                             
Convert Related Party Note Payable to Common Stock                       9,163,965    9,164    51,217,402    -    -    51,226,566    -    51,226,566 
                                                             
Subsidiary’s Issuance of Stock   -    -    -    -    -    -    2,328,707    -    -    2,328,707    920,632    3,249,339 
                                                             
Proceeds from Selling Subsidiary Equity   -    -    -    -    -    -    164,107    -    -    164,107    115,893    280,000 
                                                             
Deconsolidate American Pacific Bancorp   -    -    -    -    -    -    28,287,920    -    -    28,287,920    (383,063)   27,904,857 
                                                             
Exercise American Premium Water Warrant to Purchase Stock   -    -    -    -    -    -    553,786    -    -    553,786    180,614    734,400 
                                                             
Change in Unrealized Loss on Investment   -    -    -    -    -    -    -    (41,273)   -    (41,273)   (15,906)   (57,179)
Foreign Currency Translations   -    -    -    -    -    -    -    (2,625,912)   -    (2,625,912)   (1,349,054)   (3,974,966)
                                                             
Distribution to Non-Controlling Shareholders   -    -    -    -    -    -    -    -    -    -    (2,549,750)   (2,549,750)
                                                             
Net Loss   -    -    -    -    -    -    -    -    (103,323,176)   (103,323,176)   (15,694,415)   (119,017,591)
                                                             
Balance at December 31, 2021   -   $-    -   $-    87,368,446   $87,368   $296,181,977   $341,646   $(148,233,473)  $148,377,518   $21,912,268   $170,289,786 

 

See accompanying notes to consolidated financial statements.

 

64

 

 

Alset EHome International Inc. and Subsidiaries

Consolidated Statements of Cash Flows

For the Years Ended December 31, 2021 and 2020

 

   2021   2020 
         (As Restated)  
Cash Flows from Operating Activities          
Net Loss from Operations  $(119,017,591)  $(5,100,318)
Adjustments to Reconcile Net Loss to Net Cash Used in Operating Activities:          
Depreciation   166,451    24,309 
Amortization of Right-Of-Use Asset   611,253    333,543 
Amortization of Debt Discount   50,871,869    18,772 
Shared-based Compensation & Expense   134,192    1,564,376 
Impairment on Promissory Note   421,754    - 
Impairment on Life Insurance   -    104,978 
PPP Loan Forgiveness   -    (64,502)
Foreign Exchange Transaction Gain   (1,403,859)   354,392 
Unrealized Loss on Securities Investment   49,190,748    1,690,086 
Realized Loss on Securities Investment   4,698,078    - 
Loss on Equity Method Investment   51,999    227,643 
Net Gain in the Unconsolidated Period   -    (61,346)
Changes in Operating Assets and Liabilities          
Real Estate   4,810,464    4,227,504 
Account Receivables   849,413    (1,629,544)
Prepaid Expense   399,442    (1,521,281)
Deposits   (16,361)   (226,487)
Trading Securities   (14,426,785)   - 
Inventory   34,991    (36,873)
Accounts Payable and Accrued Expenses   9,663,367    416,947 
Deferred Revenue   (2,199,477)   2,608,632 
Operating Lease Liability   (293,525)   (329,404)
Builder Deposits   (1,230,783)   (1,182,933)
Income Tax Payable   -    (678,694)
Net Cash (Used in) Provided by Operating Activities   (16,684,360)   739,800 
Net Cash Used in Discontinued Operating Activities   -    (422,188)
Net Cash (Used in) Provided by Operating Activities   (16,684,360)   317,612 
           
Cash Flows from Investing Activities          
Purchase of Fixed Assets   (227,821)   (21,674)
Purchase of Real Estate Properties   (25,362,146)   - 
Proceeds from Global Opportunity Fund Liquidation   -    301,976 
Sales of Investment Securities   110,718    2,102,048 
Purchase of Investment Securities   (19,390,318)   (201,229)
Investment in Life Insurance   -    (200,000)
Sales of Investment Securities to Related Party   2,480,000    - 
Cash Loss in Deconsolidation of American Pacific Bancorp   (1,235,953)   - 
Issuing Loan Receivable - Related Party   (11,878,605)   - 
Proceed form Loan Receivable - Related Party   (539,876)   (200,000)
Net Cash (Used in) Provided by Investing Activities   (56,044,001)   1,781,121 
Net Cash Used in Discontinued Investing Activities   -    - 
Net Cash (Used in) Provided by Investing Activities   (56,044,001)   1,781,121 
           
Cash Flows from Financing Activities          
Proceeds from Common Stock Issuance   104,565,659    13,202,123 
Proceeds from Exercise of Subsidiary Warrants   3,249,339    11,380,460 
Proceeds from Sale of Subsidiary Shares   280,000    3,097,791 
Dividend Paid on Preferred Stock   (73,750)   (109,916)
Borrowings from M&T Loan   -    617,590 
Borrowing from PPP Loan   68,502    68,502 
Repayment of PPP Loan   -    (4,000)
Distribution to Non-controlling Interest Shareholders   (2,549,750)   (411,250)
Repayment to Notes Payable   (610,767)   (250,000)
Proceeds from Notes Payable - Related Parties   5,545,495    201,273 
Proceeds Repayment to Notes Payable - Related Parties   (7,057,324)   (6,644,542)
Net Cash Provided by Financing Activities   103,417,404    21,148,031 
Net Cash Provided by Discontinued Financing Activities   -    - 
Net Cash Provided by Financing Activities   103,417,404    21,148,031 
           
Net Increase in Cash and Restricted Cash   30,689,043    23,246,764 
Effects of Foreign Exchange Rates on Cash   (1,622,343)   50,683 
Cash and Restricted Cash - Beginning of Year   31,735,479    8,438,032 
Cash and Restricted Cash- End of Period  $60,802,179   $31,735,479 
           
Supplementary Cash Flow Information          
Cash Paid for Interest  $20,154   $855,381 
Cash Paid for Taxes  $446,757   $688,316 
           
Supplemental Disclosure of Non-Cash Investing and Financing Activities          
Unrealized (Loss) Gain on Investment  $(57,179)  $19,486 
Initial Recognition of ROU / Lease Liability  $256,928   $762,239 
Acquiring True Partner Stock by Issuing Promissory Note  $10,003,689   $- 
Sales of Investment in Vivacitas to Related Party  $2,279,872   $- 
Transactions under Common Control  $57,190,499   $- 
Intrinsic Value of BCF  $(50,770,192)  $- 
Converting Notes to Stock  $64,226,566   $- 
American Pacific Bancorp Deconsolidation  $27,904,857   $- 
Gain from Exercise of American Premium Water Warrant  $734,400   $- 
Purchase of Fixed Asset by Issuing Promissory Note  $95,000   $- 
Disposal of Impact BioMedical Inc. to Related Party  $-   $46,154,160 
Disposal of iGalen International Inc. to Related Party  $-   $3,741,065 
Contribution  $-   $945,769 
Change in Non-Controlling Interest  $-   $1,333,229 

 

See accompanying notes to consolidated financial statements.

 

65

 

 

Alset EHome International Inc. and Subsidiaries

Notes to Consolidated Financial Statements

December 31, 2021 and 2020

 

1. NATURE OF OPERATIONS AND SUMMARY OF SIGNIFICANT ACCOUNTING POLICIES

 

Nature of Operations

 

Alset EHome International Inc. (the “Company” or “AEI”), formerly known as HF Enterprises Inc., was incorporated in the State of Delaware on March 7, 2018 and 1,000 shares of common stock was issued to Chan Heng Fai, the founder, Chairman and Chief Executive Officer of the Company. AEI is a diversified holding company principally engaged through its subsidiaries in the development of EHome communities and other real estate, financial services, digital transformation technologies, biohealth activities and consumer products with operations in the United States, Singapore, Hong Kong, Australia and South Korea. The Company manages its principal businesses primarily through its subsidiary, Alset International Limited (“Alset International”, f.k.a. Singapore eDevelopment Limited), a company publicly traded on the Singapore Stock Exchange.

 

On October 1, 2018, Chan Heng Fai transferred his 100% interest in Alset Global Pte. Ltd. (“Alset Global”, formerly known as Hengfai International Pte. Ltd.) to Alset EHome International Inc. in exchange for 8,500,000 shares of the Company’s common stock. Alset Global holds a 100% interest in Alset Business Development Pte. Ltd. (“Alset Business Development”), formerly known as Hengfai Business Development Pte. Ltd.). Both Alset Global and Alset Business Development are holding companies with no business operations. On December 31, 2021, the Company held 2,810,999,176 shares and 10,000,000 warrants of Alset International, which is the primary operating company of AEI. The Company held 1,011,150,294 shares and 139,834,471 warrants of Alset International on December 31, 2020. On December 31, 2021 and 2020, the Company’s ownership of Alset International was 76.8% and 57.1%, respectively.

 

Also, on October 1, 2018, Chan Heng Fai transferred his 100% ownership interest in Impact Oncology Pte. Ltd. (“Impact Oncology”, formerly known as Heng Fai Enterprises Pte. Ltd.) and Global eHealth Limited (“Global eHealth”) to AEI in exchange for 500,000 and 1,000,000 shares of the Company’s common stock, respectively.

 

The contributions to AEI on October 1, 2018 of Alset Global, Impact Oncology, and Global eHealth from Chan Heng Fai represented transactions under common control with a related party.

 

On June 24, 2020, HFE Holdings Limited surrendered 3,600,000 shares of our common stock to the treasury of our Company, and Chan Heng Fai surrendered 1,000 shares of our common stock to the treasury of our Company, and all such shares were cancelled.

 

On November 24, 2020 the Company held its initial public offering and the Company’s common stock began trading on Nasdaq Capital Market. As a result, 2,160,000 shares were issued to public investors. The Company’s net proceeds from this offering were approximately $13.2 million.

 

On May 13, 2021, July 30, 2021 and December 8, 2021 the Company held follow up offerings of its common shares. As a result of the offerings, the Company issued a total of 67,492,481 shares to public investors. The Company’s net proceeds from these offerings were approximately $105 million.

 

As of December 31, 2021 and 2020, the total outstanding common shares of the Company were 87,368,446 and 8,570,000, respectively.

 

The Company has four operating segments based on the products and services we offered, which include three of our principal businesses – real estate, digital transformation technology and biohealth – as well as a fourth category consisting of certain other business activities.

 

66

 

 

Real Estate

 

The Company’s real estate segment is comprised of LiquidValue Development Inc. (“LiquidValue Development”) and SeD Perth Pty Ltd.

 

In 2014, Alset International commenced operations developing property projects and participating in third-party property development projects. LiquidValue Development Inc. (f.k.a. SeD Intelligent Home Inc.), a 99.9%-owned subsidiary of Alset International, owns, operates and manages real estate development projects with a focus on land subdivision developments and house rental projects.

 

Development activities are generally contracted out, including planning, design and construction, as well as other work with engineers, surveyors, architects and general contractors. The developed lots are then sold to builders for the construction of new homes. LiquidValue Development’s primary real estate projects are two subdivision development projects, one near Houston, Texas, known as Black Oak, currently projected to have approximately 550-600 units, and one in Frederick, Maryland, known as Ballenger Run, consisting of 197 acres and currently projected to have approximately 689 units.

 

In 2021, LiquidValue Development’s subsidiaries purchased 109 homes in Texas from other builders in different communities. The Company intends to rent these homes. LiquidValue Development pursued this new endeavor in part to improve cash flow and smooth out the inconsistencies of income in residential land development. We intend to develop our subsidiary American Home REIT Inc. as the owner of single-family rental homes.

 

Digital Transformation Technology

 

The Company’s digital transformation technology segment is comprised of GigWorld Inc. and its subsidiaries. The Company’s digital transformation technology business is involved in mobile application product development and other businesses, providing information technology services to end-users, service providers and other commercial users through multiple platforms. This technology platform consists of instant messaging systems, social media, e-commerce and payment systems, direct marketing platforms, e-real estate, brand protection and counterfeit and fraud detection. GigWorld Inc. (“GigWorld”), a 99.9%-owned subsidiary of Alset International, focuses on business-to-business solutions such as enterprise messaging and workflow. Through GigWorld, the Company has successfully implemented several strategic platform developments for clients, including a mobile front-end solution for network marketing, a hotel e-commerce platform for Asia and a real estate agent management platform in China.

 

Biohealth

 

The Company’s biohealth segment is comprised of Global BioMedical Pte. Ltd. and Health Wealth Happiness Pte. Ltd. and is committed to both funding research and developing and selling products that promote a healthy lifestyle.

 

Impact BioMedical Inc., a subsidiary of Global BioMedical Pte. Ltd, is focusing on research in three main areas: (i) development of a universal therapeutic drug platform; (ii) a new sugar substitute; and (iii) a multi-use fragrance. Global BioLife established a joint venture, Sweet Sense, Inc., with Quality Ingredients, LLC for the development, manufacture, and global distribution of the new sugar substitute. On November 8, 2019, Impact BioMedical Inc. purchased 50% of Sweet Sense Inc. from Quality Ingredients, LLC for $91,000. Sweet Sense Inc. is an 81.8% owned subsidiary of Impact BioMedical Inc.

 

On April 27, 2020, Global BioMedical Pte Ltd (“GBM”), a wholly owned subsidiary of Alset International, entered into a share exchange agreement with DSS BioHealth Security, Inc. (“DBHS”), a wholly owned subsidiary of DSS, Inc. (“DSS”), pursuant to which, DBHS will acquire all of the outstanding capital stock of Impact BioMedical Inc., through a share exchange. The transaction was closed on August 21, 2020 and Impact BioMedical became a direct wholly owned subsidiary of DBHS. For further details on this transaction, refer to Note 13, Discontinued Operations.

 

On December 30, 2020, Alset International’s ownership of 53% of iGalen International was sold to one of the directors of iGalen International. The disposal of this entity does not meet the criteria of ASU 2014-08 and therefore is not treated as a discontinued operation. For more details, refer to Note 9 – Related Party Transactions. iGalen International Inc. owns 100% of iGalen Inc. (f.k.a. iGalen USA, LLC). During the years ended December 31, 2021 and 2020, the revenue from iGalen Inc. was $0 and $89,567, respectively. As of December 31, 2021 and 2020, the deferred revenue was $0.

 

67

 

 

In October 2019, the Company expanded its biohealth segment to the South Korean market through one of the subsidiaries of Health Wealth Happiness Pte. Ltd., HWH World Inc (“HWH World”). HWH World, similarly to iGalen Inc., operates based on a direct sale model of health supplements. HWH World recognized $5,543,066 and $2,504,944 in revenue in the years ended December 31, 2021 and 2020, respectively. As of December 31, 2021 and 2020, the deferred revenue was $728,343 and $2,867,226, respectively. All deferred revenue came from unrecognized sales.

 

Other Business Activities

 

In addition to the segments identified above, the Company provides corporate strategy and business development services, asset management services, corporate restructuring and leveraged buy-out expertise. These service offerings build relationships with promising companies for potential future collaboration and expansion. We believe that our other business activities complement our three principal businesses.

 

The Company’s other business activities segment is primarily comprised of Alset International, SeD Capital Pte. Ltd., BMI Capital Partners International Limited and Singapore Construction & Development Pte. Ltd.

 

2. SUMMARY OF SIGNIFICANT ACCOUNTING POLICIES

 

Basis of Presentation and Principles of Consolidation

 

The Company’s consolidated financial statements have been prepared in accordance with accounting principles generally accepted in the United States of America (“U.S. GAAP”) and following the requirements of the Securities and Exchange Commission (“SEC”).

 

The consolidated financial statements include all accounts of the Company and its majority owned and controlled subsidiaries. The Company consolidates entities in which it owns more than 50% of the voting common stock and controls operations. All intercompany transactions and balances among consolidated subsidiaries have been eliminated.

 

The Company’s consolidated financial statements include the financial positions, results of operations and cash flows of the following entities as of December 31, 2021 and 2020 as follows:

 

      Attributable interest 
      as of, 
Name of subsidiary consolidated under AEI  State or other jurisdiction of incorporation or organization 

December 31,

2021

  

December 31,

2020

 
      %   % 
Alset Global Pte. Ltd. (f.k.a. Hengfai International Pte. Ltd.)  Singapore   100    100 
Alset Business Development Pte. Ltd. (f.k.a. Hengfai Business Development Pte. Ltd.)  Singapore   100    100 
Impact Oncology Pte. Ltd. (f.k.a. Heng Fai Enterprises Pte. Ltd.)  Singapore   -    100 
Global eHealth Limited  Hong Kong   100    100 
Alset International Limited  Singapore   76.8    57.1 
Singapore Construction & Development Pte. Ltd.  Singapore   76.8    57.1 
Art eStudio Pte. Ltd.  Singapore   39.2*   29.1*
Singapore Construction Pte. Ltd.  Singapore   76.8    57.1 
Global BioMedical Pte. Ltd.  Singapore   76.8    57.1 
Alset Innovation Pte. Ltd.  Singapore   76.8    57.1 
Health Wealth Happiness Pte. Ltd.  Singapore   76.8    57.1 

 

68

 

 

SeD Capital Pte. Ltd.  Singapore   76.8    57.1 
LiquidValue Asset Management Pte. Ltd.  Singapore   76.8    46.9*
Alset Solar Limited (a.k.a. SeD Home Limited)  Hong Kong   76.8    57.1 
Alset F&B One Pte. Ltd. (a.k.a. SeD Reits Management Pte. Ltd.)  Singapore   69.2    57.1 
Global TechFund of Fund Pte. Ltd.  Singapore   76.8    57.1 
Singapore eChainLogistic Pte. Ltd.  Singapore   76.8    57.1 
BMI Capital Partners International Limited  Hong Kong   76.8    57.1 
SeD Perth Pty Ltd  Australia   76.8    57.1 
SeD Intelligent Home Inc.  United States of America   76.8    57.1 
LiquidValue Development Inc.  United States of America   76.8    57.1 
Alset EHome Inc.  United States of America   76.8    57.1 
SeD USA, LLC  United States of America   76.8    57.1 
150 Black Oak GP, Inc.  United States of America   76.8    57.1 
SeD Development USA Inc.  United States of America   76.8    57.1 
150 CCM Black Oak, Ltd.  United States of America   76.8    57.1 
SeD Texas Home, LLC  United States of America   76.8    57.1 
SeD Ballenger, LLC  United States of America   76.8    57.1 
SeD Maryland Development, LLC  United States of America   64.2    47.8*
SeD Development Management, LLC  United States of America   65.3    48.6*
SeD Builder, LLC  United States of America   76.8    57.1 
GigWorld Inc. (f.k.a. HotApp Blockchain Inc.)  United States of America   76.8    57.0 
HotApp BlockChain Pte. Ltd. (f.k.a. HotApps International Pte. Ltd.)  Singapore   76.6    57.0 
HotApp International Limited  Hong Kong   76.6    57.0 
HWH International, Inc.  United States of America   76.8    57.1 
Health Wealth & Happiness Inc.  United States of America   76.8    57.1 
HWH Multi-Strategy Investment, Inc.  United States of America   76.8    57.1 
SeDHome Rental Inc  United States of America   -    57.1 
SeD REIT Inc.  United States of America   76.8    57.1 
Gig Stablecoin Inc. (a.k.a. Crypto Exchange Inc.)  United States of America   76.6    57.0 
HWH World Inc.  United States of America   76.6    57.0 
HWH World Pte. Ltd.  Singapore   76.6    57.0 
UBeauty Limited  Hong Kong   76.8    57.1 
WeBeauty Korea Inc  South Korea   76.8    57.1 
HWH World Limited  Hong Kong   76.8    57.1 
HWH World Inc.  South Korea   76.8    57.1 
Alset BioHealth Pte. Ltd.  Singapore   76.8    57.1 
Alset Energy Pte. Ltd.  Singapore   76.8    57.1 
Alset Payment Inc.  United States of America   76.8    57.1 
Alset World Pte. Ltd.  Singapore   76.8    57.1 
BioHealth Water Inc.  United States of America   76.8    57.1 
Impact BioHealth Pte. Ltd.  Singapore   76.8    57.1 
American Home REIT Inc.  United States of America   76.8    46.9*
Alset Solar Inc.  United States of America   61.5    45.7*
HWH KOR Inc.  United States of America   76.8    57.1 
Open House Inc.  United States of America   76.8    57.1 

 

69

 

 

Open Rental Inc.  United States of America   76.8    57.1 
Hapi Cafe Inc. (Nevada)  United States of America   76.8    57.1 
Global Solar REIT Inc.  United States of America   76.8    57.1 
OpenBiz Inc.  United States of America   76.8    57.1 
Hapi Cafe Inc. (Texas)  United States of America   100    100 
HWH (S) Pte. Ltd.  Singapore   76.8    - 
True Partner International Limited  Hong Kong   100    - 
LiquidValue Development Pte. Ltd.  Singapore   100    - 
LiquidValue Development Limited  Hong Kong   100    - 
Alset EPower Inc.  United States of America   100    - 
EPowerTech Inc.  United States of America   100    - 
AHR Asset Management Inc.  United States of America   76.8    - 
HWH World Inc. (Nevada)  United States of America   76.8    - 
Alset F&B Holdings Pte. Ltd.  Singapore   76.8    - 
Credas Capital Pte. Ltd.  Singapore   38.4*   - 
Smart Reward Express Limited  Hong Kong   38.3*   - 
Partners HWH Pte. Ltd.  Singapore   76.8    - 
AHR Texas Two, LLC  United States of America   76.8    - 
AHR Black Oak One, LLC  United States of America   76.8    - 
Hapi Air Inc.  United States of America   88.4    - 
AHR Texas Three, LLC  United States of America   76.8    - 
Alset Capital Pte. Ltd.  Singapore   100    - 
Hapi Cafe Korea Inc.  South Korea   100    - 
Green Energy Inc.  United States of America   100    - 
Green Energy Management Inc.  United States of America   100    - 
Alset Metaverse Inc.  United States of America   95.6    - 
Alset Management Group Inc.  United States of America   88.2    - 
Alset Acquisition Sponsor, LLC  United States of America   79.6    - 
Alset Capital Acquisition Corp.  United States of America   79.6    - 

 

* Although the Company indirectly holds percentage of shares of these entities less than 50%, the subsidiaries of the Company directly hold more than 50% of shares of these entities, and therefore, they are still consolidated into the Company.

 

Use of Estimates

 

The preparation of consolidated financial statements in conformity with U.S. GAAP requires management to make estimates and assumptions that affect the reported amounts of assets and liabilities and disclosure of contingent assets and liabilities at the dates of the consolidated financial statements and the reported amounts of revenues and expenses during the reporting periods. Significant estimates made by management include, but are not limited to, allowance for doubtful accounts, valuation of real estate assets, allocation of development costs and capitalized interest to sold lots, fair value of the investments, the valuation allowance of deferred taxes, and contingencies. Actual results could differ from those estimates.

 

In our property development business, land acquisition costs are allocated to each lot based on the area method, the size of the lot compared to the total size of all lots in the project. Development costs and capitalized interest are allocated to lots sold based on the total expected development and interest costs of the completed project and allocating a percentage of those costs based on the selling price of the sold lot compared to the expected sales values of all lots in the project.

 

If the allocation of development costs and capitalized interest based on the projection and relative expected sales value is impracticable, those costs could also be allocated based on area method, the size of the lot compared to the total size of all lots in the project.

 

70

 

 

Transactions between Entities under Common Control

 

On March 12, 2021, the Company entered into a Securities Purchase Agreement (the “SPA”) with Chan Heng Fai, the founder, Chairman and Chief Executive Officer of the Company, for four proposed transactions, consisting of (i) purchase of certain warrants (the “Warrants”) to purchase 1,500,000,000 shares of Alset International Limited, which was valued at $28,363,966; (ii) purchase of all of the issued and outstanding stock of LiquidValue Development Pte Ltd. (“LVD”), which was valued at $173,395; (iii) purchase of 62,122,908 ordinary shares in True Partner Capital Holding Limited (HKG: 8657) (“True Partner”), which was valued at $6,729,629; and (iv) purchase of 4,775,523 shares of the common stock of American Pacific Bancorp Inc. (“APB”), which was valued at $28,653,138. The total amount of above four transactions was $63,920,129, payable on the Closing Date by the Company, in the convertible promissory notes (“Alset CPNs”), which, subject to the terms and conditions of the Alset CPNs and the Company’s shareholder approval, shall be convertible into shares of the Company’s common stock (“AEI Common Stock”), par value $0.001 per share, at the conversion price of AEI’s Stock Market Price. AEI’s Stock Market Price shall be $5.59 per share, equivalent to the average of the five closing per share prices of AEI’s Common Stock preceding January 4, 2021 as quoted by Bloomberg L.P. The above four acquisitions from Chan Heng Fai were transactions between entities under common control.

 

On October 15, 2020, American Pacific Bancorp (which subsequently became a majority-owned subsidiary of the Company) entered into an acquisition agreement to acquire 3,500,001 common shares of HengFeng Finance Limited (“HFL”), representing 100% of the common shares of HFL, in consideration for $1,500,000, to be satisfied by the issuance and allotment of 250,000 shares of the Class A Common Stock of American Pacific Bancorp. HFL is incorporated in Hong Kong with limited liability. The principal activities of HFL are money lending, securities trading and investment. This transaction closed on April 21, 2021. This transaction between the Company and Chan Heng Fai is under common control of Chan Heng Fai.

 

The common control transactions resulted in the following basis of accounting for the financial reporting periods:

 

  The acquisition of the Warrants and True Partner stock were accounted for prospectively as of March 12, 2021 and they did not represent a change in reporting entity.
  The acquisition of LVD, APB and HFL was under common control and was consolidated in accordance with ASC 850-50. The consolidated financial statements were retrospectively adjusted for the acquisition of LVD, APB and HFL, and the operating results of LVD, APB and HFL as of January 1, 2020 for comparative purposes. For details refer to Note 5 – Business Under Common Control.

 

AEI’s stock price was $10.03 on March 12, 2021, the commitment date. The Beneficial Conversion Feature (“BCF”) intrinsic value was $50,770,192 for the four convertible promissory notes and was recorded as debt discount of convertible notes after these transactions. The debt discount attributable to the BCF is amortized over period from issuance to the date that the debt becomes convertible using the effective interest method. If the debt is converted, the discount is amortized to finance cost in full immediately. On May 13, 2021 and June 14, 2021 all Alset CPNs of $63,920,128 and accrued interests of $306,438 were converted into 2,123 shares of series B preferred stock and 9,163,965 shares of common stock of the Company.

 

Cash and Cash Equivalents

 

The Company considers all highly liquid investments with a maturity of three months or less at the date of acquisition to be cash equivalents. Cash and cash equivalents include cash on hand and at the bank and short-term deposits with financial institutions that are readily convertible to a known amount of cash and are subject to an insignificant risk of changes in values. There were no cash equivalents as of December 31, 2021 and 2020.

 

71

 

 

Restricted Cash

 

As a condition to the loan agreement with the Manufacturers and Traders Trust Company (“M&T Bank”), the Company is required to maintain a minimum of $2,600,000 in an interest-bearing account maintained by the lender as additional security for the loans. The fund is required to remain as collateral for the loan until the loan is paid off in full and the loan agreement terminated. The Company also has an escrow account with M&T Bank to deposit a portion of cash proceeds from lot sales. The fund in the escrow account is specifically used for the payment of the loan from M&T Bank. The fund is required to remain in the escrow account for the loan payment until the loan agreement terminates. As of December 31, 2021 and 2020, the total balance of these two accounts was $4,399,984 and $5,729,067, respectively.

 

As a condition to the loan agreement with National Australian Bank Limited in conjunction with the Perth project, an Australian real estate development project, the Company is required to maintain Australian Dollar 50,000, in a non-interest-bearing account. As of December 31, 2021 and 2020, the account balance was $36,316 and $38,550, respectively. These funds will remain as collateral for the loans until paid in full.

 

The Company puts funds into a brokerage account specifically for equity investment. As of December 31, 2021 and 2020, the cash balance in that brokerage account was $304,570 and $1,001,916, respectively.

 

Account Receivables and Allowance for Doubtful Accounts

 

Account receivables is stated at amounts due from buyers, contractors, and all third parties, net of an allowance for doubtful accounts. As of December 31, 2021 and 2020, the balance of account receivables was $39,622 and $1,366,194, respectively. Approximately $2,500 and $1.3 million of account receivables as of December 31, 2021 and 2020, respectively, was from DSS with a merchant agreement, under which the Company uses DSS credit card platform to collect money from our direct sales.

 

The Company monitors its account receivables balances on a monthly basis to ensure that they are collectible. On a quarterly basis, the Company uses its historical experience to estimate its allowance for doubtful account receivables. The Company’s allowance for doubtful accounts represents an estimate of the losses expected to be incurred based on specifically identified accounts as well as nonspecific amount, when determined appropriate. Generally, the amount of the allowance is primarily decided by division management’s historical experience, the delinquency trends, the resolution rates, the aging of receivables, the credit quality indicators and financial health of specific customers. As of December 31, 2021 and 2020, the allowance was $0.

 

Inventories

 

Inventories are stated at the lower of cost or net realizable value. Cost is determined using the first-in, first-out method and includes all costs in bringing the inventories to their present location and condition. Net realizable value is the estimated selling price in the ordinary course of business less the estimated costs necessary to make the sale. As of December 31, 2021 and 2020, inventory consisted of finished goods from HWH World Inc. The Company continuously evaluates the need for reserve for obsolescence and possible price concessions required to write-down inventories to net realizable value.

 

Investment Securities

 

Investment Securities at Fair Value

 

The Company records all equity investments with readily determinable fair values at fair value calculated by the publicly traded stock price at the close of the reporting period. Amarantus BioScience Holdings (“AMBS”) and True Partner Capital Holding Limited (“True Partner”) are publicly traded companies. The Company does not have significant influence over AMBS and True Partner, as the Company is the beneficial owner of approximately 5.3% of the common shares of AMBS and 15.5% of True Partner. The stock’s fair value is determined by quoted stock prices.

 

On April 12, 2021 the Company acquired 6,500,000 common shares of Value Exchange International, Inc. (“Value Exchange International”), an OTC listed company, for an aggregate subscription price of $650,000. After the transaction the Company owns approximately 18% of Value Exchange International and does not have significant influence on it. The stock’s fair value is determined by quoted stock prices.

 

During the year ended December 31, 2021, the Company’s subsidiaries established a portfolio of trading securities. The objective is to generate profits on short-term differences in market prices. The Company does not have significant influence over any trading securities in our portfolio and fair value of these trading securities are determined by quoted stock prices.

 

72

 

 

The Company has elected the fair value option for the equity securities noted below that would otherwise be accounted for under the equity method of accounting. Holista CollTech Limited (“Holista”), DSS, Inc. (“DSS”) and American Premium Water Corp (“APW”) are publicly traded companies and fair value is determined by quoted stock prices. The Company has significant influence but does not have a controlling interest in these investments, and therefore, the Company’s investment could be accounted for under the equity method of accounting or elect fair value accounting.

 

  The Company has significant influence over DSS. As of December, 2021 and December 31, 2020, the Company owned approximately 24.9% and 19.9% of the common stock of DSS, respectively. Our CEO is a stockholder and the Chairman of the Board of Directors of DSS. Chan Tung Moe, our Co-Chief Executive Officer and the son of Chan Heng Fai, is also a director of DSS.
     
  The Company has significant influence over Holista as the Company and its CEO are the beneficial owner of approximately 15.8% of the outstanding shares of Holista and our CEO held a position on Holista’s Board of Directors until June of 2021.
     
  The Company has significant influence over APW as the Company is the beneficial owner of approximately 17.5% of the common shares of APW and one officer from the Company holds a director position on APW’s Board of Directors.

 

On March 2, 2020 and October 29, 2021, the Company received warrants to purchase shares of American Medical REIT Inc. (“AMRE”), a related party private startup company, in conjunction with the Company lending two $200,000 promissory notes. For further details on this transaction, refer to Note 9 - Related Party Transactions, Note Receivable from a Related Party Company. As of December 31, 2021 and December 31, 2020, AMRE was a private company. Based on management’s analysis, the fair value of the AMRE warrants was $0 as of December 31, 2021 and December 31, 2020.

 

The Company held a stock option to purchase 250,000 shares of Vivacitas common stock at $1 per share at any time prior to the date of a public offering by Vivacitas. As of December 31, 2020, Vivacitas was a private company. Based on management’s analysis, the fair value of the Vivacitas stock option was $0 as of December 31, 2020. On March 18, 2021 the Company sold the subsidiary holding the ownership and stock option in Vivacitas to an indirect subsidiary of DSS. For further details on this transaction, refer to Note 9 - Related Party Transactions, Sale of Investment in Vivacitas to DSS.

 

Investment Securities at Cost

 

Investments in equity securities without readily determinable fair values are measured at cost minus impairment adjusted by observable price changes in orderly transactions for the identical or a similar investment of the same issuer. These investments are measured at fair value on a nonrecurring basis when there are events or changes in circumstances that may have a significant adverse effect. An impairment loss is recognized in the consolidated statements of comprehensive income equal to the amount by which the carrying value exceeds the fair value of the investment.

 

The Company had an equity holding in Vivacitas Oncology Inc. (“Vivacitas”), a private company that is currently not listed on an exchange. We measure Vivacitas at cost, less any impairment, plus or minus changes resulting from observable price changes in orderly transactions for an identical or similar investment of the same issuer. Our ownership in Vivacitas was sold on March 18, 2021 to DSS for $2,480,000. The difference of $2,279,872 between the selling price and our original investment cost was recorded as additional paid capital considering a related party transaction. For further details on this transaction, refer to Note 9 – Related Party Transactions, Sale of Investment in Vivacitas to DSS.

 

On September 8, 2020, the Company acquired 1,666 shares, approximately 1.45% ownership, from Nervotec Pte Ltd (“Nervotec”), a private company, at the purchase price of $37,826. The Company applied ASC 321 and measured Nervotec at cost, less any impairment, plus or minus changes resulting from observable price changes in orderly transactions for an identical or similar investment of the same issuer.

 

73

 

 

On September 30, 2020, the Company acquired 3,800 shares, approximately 19% ownership, from HWH World Company Limited (f.k.a. Hyten Global (Thailand) Co., Ltd.) (“HWH World Co.”), a private company, at a purchase price of $42,562.

 

During 2021, the Company invested $19,609 in K Beauty Research Lab Co., Ltd (“K Beauty”) for 18% ownership. K Beauty was established for sourcing, developing and producing variety of Korea-made beauty products as well as Korea - originated beauty contents for the purpose of distribution to HWH’s membership distribution channel.

 

There has been no indication of impairment or changes in observable prices via transactions of similar securities and investments are still carried at cost.

 

Investment Securities under Equity Method Accounting

 

The Company accounts for equity investment in entities with significant influence under equity-method accounting. Under this method, the Group’s pro rata share of income (loss) from investment is recognized in the consolidated statements of comprehensive income. Dividends received reduce the carrying amount of the investment. When the Company’s share of loss in an equity-method investee equals or exceeds its carrying value of the investment in that entity, the equity method investment can be reduced below zero based on losses if the Company either be liable for the obligations of the investee or provide for losses in excess of the investment when imminent return to profitable operations by the investee appears to be assured. Otherwise, the Company does not recognize its share of equity method losses exceeding its carrying amount of the investment, but discloses the losses in the footnotes. Equity-method investment is reviewed for impairment by assessing if the decline in market value of the investment below the carrying value is other-than-temporary. In making this determination, factors are evaluated in determining whether a loss in value should be recognized. These include consideration of the intent and ability of the Group to hold investment and the ability of the investee to sustain an earnings capacity, justifying the carrying amount of the investment. Impairment losses are recognized in other expense when a decline in value is deemed to be other-than-temporary.

 

American Medical REIT Inc.

 

LiquidValue Asset Management Pte. Ltd. (“LiquidValue”), a subsidiary of the Company owns less than 3.4% of American Medical REIT Inc. (“AMRE”) as of December 31, 2021, a startup REIT company concentrating on medical real estate. AMRE acquires state-of-the-art, purpose-built healthcare facilities and leases them to leading clinical operators with dominant market share under secure triple net leases. AMRE targets hospitals (both Critical Access and Specialty Surgical), Physician Group Practices, Ambulatory Surgical Centers, and other licensed medical treatment facilities. Chan Heng Fai, our CEO, is the executive chairman and director of AMRE. LiquidValue did not invest equity but provided a loan to AMRE (for further details on this transaction, refer to Note 9, Related Party Transactions). On balance sheet, the prorate loss from AMRE was not recorded as a liability because the Company is not liable for the obligations of AMRE and also not committed to provide additional financial support.

 

Sweet Sense, Inc.

 

BioLife Sugar, Inc. (“BioLife’), a subsidiary consolidated under Alset International, entered into a joint venture agreement on April 25, 2018 with Quality Ingredients, LLC (“QI”). The agreement created an entity called Sweet Sense, Inc. (“Sweet Sense”) which was 50% owned by BioLife and 50% owned by QI. Management believed its 50% investment represents significant influence over Sweet Sense and accounts for the investment under the equity method of accounting.

 

74

 

 

On November 8, 2019, Impact BioMedical Inc., a subsidiary of the Company, purchased 50% of Sweet Sense from QI for $91,000 and recorded a loss from acquisition of $90,001. As of November 8, 2019, the total investment in joint venture was equal to $91,000 and the proportionate losses totaled $90,001. The transaction was not in the scope of ASC 805 Business Combinations since the acquisition was accounted for an asset purchase instead of a business combination. As an asset acquisition, the Company recorded the transaction at cost and applied ASC 730 to expense in-process research and development cost, the major cost of Sweet Sense. Consequently, Sweet Sense was an 81.8% owned subsidiary of Impact BioMedical Inc. and therefore, was consolidated into the Company’s condensed consolidated financial statements as of September 30, 2020. On August 20, 2020 Impact BioMedical Inc. was sold to one of DSS’s subsidiaries. As a subsidiary of Impact BioMedical Inc., Sweet Sense was in the discontinued operations of Impact BioMedical Inc. (See Note 13 Discontinued Operations).

 

Joint Venture with Novum

 

On April 20, 2021, one of Company’s indirect subsidiaries, SeD Capital Pte. Ltd. (“SeD Capital”), entered into joint venture agreement with a digital asset management firm Novum Alpha Pte Ltd (“Novum”). Pursuant to this agreement, SeD Capital will own 50% of the issued and paid-up capital in the joint venture company, Credas Capital Pte Ltd (“Credas”) with the remaining 50% shareholding stake held by Novum. On the consolidated balance sheet, the prorate loss from Credas was not recorded as a liability because the Company is not liable for the obligations of Credas and also not committed to provide additional financial support.

 

American Pacific Bancorp, Inc.

 

Pursuant to Securities Purchase Agreement from March 12, 2021 the Company purchased of 4,775,523 shares of the common stock of American Pacific Bancorp Inc. (“APB”) and gained majority ownership in that entity. APB was consolidated into the Company under common control accounting (See Transactions between Entities under Common Control for details). On September 8, 2021 APB sold 6,666,700 shares Series A Common Stock to DSS, Inc. for $40,000,200 cash. As a result of the new share issuances, the Company’s ownership percentage of APB fell below 50% to 41.3% and the entity was deconsolidated in accordance with ASC 810-10. Upon deconsolidation the Company elected to apply the equity method accounting as the Company still retained significant influence. As a result of the deconsolidation, the Company recognized gain of approximately $28.2 million. The gain represents the difference between the fair value of retained equity method investment of $30.8 million and the investment percentage of carrying amount of APB’s net assets of $2.9 million. Considering the transaction was between related parties, the Company recorded the gain as additional paid in capital in its equity. From September 8 to December 31, 2021, the investment loss was $51,999. As of December 31, 2021, the investment in APB was $30,801,129.

 

Investment in Debt Securities

 

Debt securities are reported at fair value, with unrealized gains and losses (other than impairment losses) recognized in accumulated other comprehensive income or loss. Realized gains and losses on debt securities are recognized in the net income in the consolidated statements of comprehensive income. The Company monitors its investments for other-than-temporary impairment by considering factors including, but not limited to, current economic and market conditions, the operating performance of the companies including current earnings trends and other company-specific information.

 

The Company invested $50,000 in a convertible promissory note of Sharing Services Global Corporation (“Sharing Services Convertible Note”), a company quoted on the US OTC market. The value of the convertible note is estimated by management using a Black-Scholes valuation model. The fair value of the note was $9,799 and $66,978 on December 31, 2021 and 2020, respectively.

 

On February 26, 2021, the Company invested approximately $88,599 in the convertible note of Vector Com Co., Ltd (“Vector Com”), a private company in South Korea. The interest rate is 2% per annum and maturity is two years. The conversion price is approximately $21.26 per common share of Vector Com. As of December 31, 2021, the Management estimated the fair value of the note to be $88,599, the initial transaction price.

 

Variable Interest Entity

 

Under Financial Accounting Standards Board (“FASB”) Accounting Standard Codification (“ASC”) 810, Consolidation, when a reporting entity is the primary beneficiary of an entity that is a variable interest entity (“VIE”), as defined in ASC 810, the VIE must be consolidated into the financial statements of the reporting entity. The determination of which owner is the primary beneficiary of a VIE requires management to make significant estimates and judgments about the rights, obligations, and economic interests of each interest holder in the VIE.

 

The Company evaluates its interests in VIE’s on an ongoing basis and consolidates any VIE in which it has a controlling financial interest and is deemed to be the primary beneficiary. A controlling financial interest has both of the following characteristics: (i) the power to direct the activities of the VIE that most significantly impact its economic performance; and (ii) the obligation to absorb losses of the VIE that could potentially be significant to it or the right to receive benefits from the VIE that could be significant to the VIE.

 

HWH World Company Limited

 

HWH World Co. is a direct sales company in Thailand. The Company has a 19% ownership and lent a loan of $187,500 with zero interest and due on demand, to HWH World Co. The current level of equity in HWH World Co. is not sufficient to permit if to operate on its own without additional subordinated financial support. The Company has a variable interest in HWH World Co. However, The Company is not deemed to absorb losses or receive benefits that could potentially be significant to HWH World Co. Ltd. The Company does not also have the ultimate power over the activities which can impact VIE’s economic performance, like developing company budgets or overseen and controlling the management. The power to direct the activities are held by the manager in Thailand who owns 51% of the HWH World Co. Therefore, the Company is not a primary beneficiary of this VIE and does not consolidate it. On December 31, 2021 and 2020 variable interest and amount receivable in the non-consolidated VIE was $236,699 and $42,562, respectively, which represents the Company’s maximum risk of loss from non-consolidated VIE. The Company applied ASC 321 and measured HWH World Co. investment at cost, less any impairment, plus or minus changes resulting from observable price changes in orderly transactions for an identical or similar investment of the same issuer.

 

American Medical REIT Inc.

 

The Company has less than 3.4% ownership in AMRE and lent two loans of $200,000 each and one loan of $8,350,000, all with 8% per annum interest rate. One of the $200,000 loans is due on March 3, 2022, the other one is due on October 29, 2024. The $8,350,000 loan is due one on November 29, 2023. The Company has a variable interest in AMRE. However, The Company is not deemed to absorb losses or receive benefits that could potentially be significant to AMRE. The Company does not also have the ultimate power over the activities which can impact VIE’s economic performance, like developing company budgets or overseen and controlling the management. The power to direct these activities are held by the AMRE’s largest shareholder which owns approximately 93% of AMRE and AMRE’s management team. Therefore, the Company is not a primary beneficiary of this VIE and does not consolidate it. On December 31, 2021 and 2020 variable interest and amount receivable in the non-consolidated VIE was $8,901,285 and $213,431, respectively, which represents the Company’s maximum risk of loss from non-consolidated VIE.

 

Credas Capital Pte Ltd

 

The Company has a 50% ownership of Credas Capital Pte Ltd (“Credas”) and lent a loan of $135,720 with zero interest rate and due on demand. The current level of equity in Credas is not sufficient to permit if to operate on its own without additional subordinated financial support. The Company has a variable interest in Credas. However, The Company is not deemed to absorb losses or receive benefits that could potentially be significant to Credas. The Company does not also have the ultimate power over the activities which can impact VIE’s economic performance, like developing company budgets or overseen and controlling the management. Therefore, the Company is not a primary beneficiary of this VIE and does not consolidate it. On December 31, 2021 and 2020 variable interest and amount receivable in the non-consolidated VIE was $135,720 and $0, respectively, which represents the Company’s maximum risk of loss from non-consolidated VIE.

 

75

 

 

Real Estate Assets

 

Real estate assets are recorded at cost, except when real estate assets are acquired that meet the definition of a business combination in accordance with Financial Accounting Standards Board (“FASB”) ASC 805 - “Business Combinations”, which acquired assets are recorded at fair value. Interest, property taxes, insurance and other incremental costs (including salaries) directly related to a project are capitalized during the construction period of major facilities and land improvements. The capitalization period begins when activities to develop the parcel commence and ends when the asset constructed is completed. The capitalized costs are recorded as part of the asset to which they relate and are reduced when lots are sold.

 

The Company capitalized construction costs of approximately $6.0 million and $10.3 million for the years ended December 31, 2021 and 2020, respectively.

 

The Company’s policy is to obtain an independent third-party valuation for each major project in the United States as part of our assessment of identifying potential triggering events for impairment. Management may use the market comparison method to value other relatively small projects, such as the project in Perth, Australia. In addition to the annual assessment of potential triggering events in accordance with ASC 360 – Property Plant and Equipment (“ASC 360”), the Company applies a fair value-based impairment test to the net book value assets on an annual basis and on an interim basis if certain events or circumstances indicate that an impairment loss may have occurred.

 

The Company did not record impairment on any of its projects during the years ended on December 31, 2021 and 2020.

 

Properties under development

 

Properties under development are properties being constructed for sale in the ordinary course of business, rather than to be held for the Company’s own use, rental or capital appreciation.

 

Rental Properties

 

Rental properties are acquired with the intent to be rented to tenants. During the year ended December 31, 2021, the Company signed multiple purchase agreements to acquire 109 homes in Montgomery and Harris Counties, Texas. By December 31, 2021, all of the 109 homes were closed with an aggregate purchase cost of $24,940,764. All of these purchased homes are properties of our rental business.

 

Investments in Single-Family Residential Properties

 

The Company accounts for its investments in single-family residential properties as asset acquisitions and records these acquisitions at their purchase price. The purchase price is allocated between land, building, improvements and existing leases based upon their relative fair values at the date of acquisition. The purchase price for purposes of this allocation is inclusive of acquisition costs which typically include legal fees, title fees, property inspection and valuation fees, as well as other closing costs.

 

Building improvements and buildings are depreciated over estimated useful lives of approximately 10 to 27.5 years, respectively, using the straight-line method.

 

The Company assesses its investments in single-family residential properties for impairment whenever events or changes in business circumstances indicate that carrying amounts of the assets may not be fully recoverable. When such events occur, management determines whether there has been impairment by comparing the asset’s carrying value with its fair value. Should impairment exist, the asset is written down to its estimated fair value. The Company did not recognize any impairment losses during the years ended on December 31, 2021 and 2020.

 

Revenue Recognition and Cost of Sales

 

ASC 606 - Revenue from Contracts with Customers (“ASC 606”), establishes principles for reporting information about the nature, amount, timing and uncertainty of revenue and cash flows arising from the entity’s contracts to provide goods or services to customers. The Company adopted this new standard on January 1, 2018 under the modified retrospective method. The adoption of this new standard did not have a material effect on our financial statements.

 

76

 

 

In accordance with ASC 606, revenue is recognized when a customer obtains control of promised goods or services. The amount of revenue recognized reflects the consideration to which the Company expects to be entitled to receive in exchange for these goods or services. The provisions of ASC 606 include a five-step process by which the determination of revenue recognition, depicting the transfer of goods or services to customers in amounts reflecting the payment to which the Company expects to be entitled in exchange for those goods or services. ASC 606 requires the Company to apply the following steps:

 

(1) identify the contract with the customer; (2) identify the performance obligations in the contract; (3) determine the transaction price; (4) allocate the transaction price to the performance obligations in the contract; and (5) recognize revenue when, or as, performance obligations are satisfied.

 

The following represents the Company’s revenue recognition policies by Segments:

 

Real Estate

 

Property Sales

 

The Company’s main business is land development. The Company purchases land and develops it for building into residential communities. The developed lots are sold to builders (customers) for the construction of new homes. The builders enter a sales contract with the Company before they take the lots. The prices and timeline are determined and agreed upon in the contract. The builders do the inspections to make sure all conditions and requirements in contracts are met before purchasing the lots. A detailed breakdown of the five-step process for the revenue recognition of the Ballenger and Black Oak projects, which represented approximately 70% and 84%, respectively, of the Company’s revenue in the years ended December 31, 2021 and 2020, is as follows:

 

Identify the contract with a customer.

 

The Company has signed agreements with the builders for developing the raw land to ready to build lots. The agreements have agreed upon prices, timelines, and specifications for what is to be provided.

 

Identify the performance obligations in the contract.

 

Performance obligations of the Company include delivering developed lots to the customer, which are required to meet certain specifications that are outlined in the contract. The customer inspects all lots prior to accepting title to ensure all specifications are met.

 

Determine the transaction price.

 

The transaction price per lot is fixed and specified in the contract. Any subsequent change orders or price changes are required to be approved by both parties.

 

Allocate the transaction price to performance obligations in the contract.

 

Each lot or a group of lots is considered to be a separate performance obligation, for which the specified price in the contract is allocated to.

 

Recognize revenue when (or as) the entity satisfies a performance obligation.

 

The builders do the inspections to make sure all conditions/requirements are met before taking title of lots. The Company recognizes revenue at a point in time when title is transferred. The Company does not have further performance obligations or continuing involvement once title is transferred.

 

77

 

 

Rental Revenue

 

The Company leases real estate properties to its tenants under leases that are predominately classified as operating leases, in accordance with ASC 842, Leases (“ASC 842”). Real estate rental revenue is comprised of minimum base rent and revenue from the collection of lease termination fees.

 

Rent from tenants is recorded in accordance with the terms of each lease agreement on a straight-line basis over the initial term of the lease. Rental revenue recognition begins when the tenant controls the space and continues through the term of the related lease. Generally, at the end of the lease term, the Company provides the tenant with a one year renewal option, including mostly the same terms and conditions provided under the initial lease term, subject to rent increases.

 

The Company defers rental revenue related to lease payments received from tenants in advance of their due dates. These amounts are presented within deferred revenues and other payables on the Company’s consolidated balance sheets.

 

Rental revenue is subject to an evaluation for collectability on several factors, including payment history, the financial strength of the tenant and any guarantors, historical operations and operating trends of the property, and current economic conditions. If our evaluation of these factors indicates that it is not probable that we will recover substantially all of the receivable, rental revenue is limited to the lesser of the rental revenue that would be recognized on a straight-line basis (as applicable) or the lease payments that have been collected from the lessee. Differences between rental revenue recognized and amounts contractually due under the lease agreements are credited or charged to straight-line rent receivable or straight-line rent liability, as applicable. In the year ended December 31, 2021, the Company did not recognize any deferred revenue and collected all rents due.

 

Sale of the Front Foot Benefit Assessments

 

We have established a front foot benefit (“FFB”) assessment on all of the NVR lots. This is a 30-year annual assessment allowed in Frederick County which requires homeowners to reimburse the developer for the costs of installing public water and sewer to the lots. These assessments become effective as homes are settled, at which time we can sell the collection rights to investors who will pay an upfront lump sum, enabling us to more quickly realize the revenue. The selling prices range from $3,000 to $4,500 per home depending on the type of home. Our total revenue from the front foot benefit assessment is approximately $1 million. To recognize revenue of FFB assessment, both our and NVR’s performance obligation have to be satisfied. Our performance obligation is completed once we complete the construction of water and sewer facility and close the lot sales with NVR, which inspects these water and sewer facility prior to close lot sales to ensure all specifications are met. NVR’s performance obligation is to sell homes they build to homeowners. Our FFB revenue is recognized on quarterly basis after NVR closes sales of homes to homeowners. The agreement with these FFB investors is not subject to amendment by regulatory agencies and thus our revenue from FFB assessment is not either. During the years ended December 31, 2021 and 2020, we recognized revenue of $289,375 and $273,620 from FFB assessment, respectively.

 

Cost of Revenue

 

  Cost of Real Estate Sale

 

All of the costs of real estate sales are from our land development business. Land acquisition costs are allocated to each lot based on the area method, the size of the lot comparing to the total size of all lots in the project. Development costs and capitalized interest are allocated to lots sold based on the total expected development and interest costs of the completed project and allocating a percentage of those costs based on the selling price of the sold lot compared to the expected sales values of all lots in the project.

 

If allocation of development costs and capitalized interest based on the projection and relative expected sales value is impracticable, those costs could also be allocated based on area method, the size of the lot comparing to the total size of all lots in the project.

78

 

 

  Cost of Rental Revenue

 

Cost of rental revenue consists primarily of the costs associated with management and leasing fees to our management company, repairs and maintenance, depreciation and other related administrative costs. Utility expenses are paid directly by tenants.

 

Biohealth

 

Product Direct Sales

 

The Company’s net sales consist of product sales. The Company’s performance obligation is to transfer its products to its third-party independent distributors (“Distributors”). The Company generally recognizes revenue when product is shipped to its Distributors.

 

The Company’s Distributors may receive distributor allowances, which are comprised of discounts, rebates and wholesale commission payments from the Company. Distributor allowances resulting from the Company’s sales of its products to its Distributors are recorded against net sales because the distributor allowances represent discounts from the suggested retail price.

 

In addition to distributor allowances, the Company compensates its sales leader Distributors with leadership incentives for services rendered, relating to the development, retention, and management of their sales organizations. Leadership Incentives are payable based on achieved sales volume, which are recorded in general and administrative expenses. The Company recognizes revenue when it ships products. The Company receives the net sales price in cash or through credit card payments at the point of sale.

 

If a Distributor returns a product to the Company on a timely basis, they may obtain a replacement product from the Company for such returned products. In addition, the Company maintains a buyback program pursuant to which it will repurchase products sold to a Distributor who has decided to leave the business. Allowances for product returns, primarily in connection with the Company’s buyback program, are provided at the time the sale is recorded. This accrual is based upon historical return rates for each country and the relevant return pattern, which reflects anticipated returns to be received over a period of up to 12 months following the original sale.

 

Annual Membership

 

The Company collects an annual membership fee from its Distributors. The fee is fixed, paid in full at the time joining the membership and non-refundable. The membership provides the member access to purchase products at a discount, use to certain back office services, receive commissions for signing up new members, and attend corporate events. The Company recognizes revenue associated with the membership over the period of the membership. Before the membership fee is recognized as revenue, it is recorded as deferred revenue. Deferred revenue relating to membership was $728,343 and $2,867,226 at December 31, 2021 and 2020, respectively.

 

Other Businesses

 

Remaining performance obligations

 

As of December 31, 2021 and 2020, there were no remaining performance obligations or continuing involvement, as all service obligations within the other business activities segment have been completed.

 

Stock-Based Compensation

 

The Company accounts for stock-based compensation to employees in accordance with ASC 718, “Compensation-Stock Compensation”. ASC 718 requires companies to measure the cost of employee services received in exchange for an award of equity instruments, including stock options, based on the grant date fair value of the award and to recognize it as compensation expense over the period the employee is required to provide service in exchange for the award, usually the vesting period. Stock option forfeitures are recognized at the date of employee termination. Effective January 1, 2019, the Company adopted ASU 2018-07 for the accounting of share-based payments granted to non-employees for goods and services. During the years ended on December 31, 2021 and 2020, the Company recorded $73,292 and $1,564,376 as stock-based compensation expense.

 

79

 

 

Foreign Currency

 

Functional and reporting currency

 

Items included in the financial statements of each entity in the Company are measured using the currency of the primary economic environment in which the entity operates (“functional currency”). The financial statements of the Company are presented in U.S. dollars (the “reporting currency”).

 

The functional and reporting currency of the Company is the United States dollar (“U.S. dollar”). The financial records of the Company’s subsidiaries located in Singapore, Hong Kong, Australia and South Korea are maintained in their local currencies, the Singapore Dollar (S$), Hong Kong Dollar (HK$), Australian Dollar (“AUD”) and South Korean Won (“KRW”), which are also the functional currencies of these entities.

 

Transactions in foreign currencies

 

Transactions in currencies other than the functional currency during the year are converted into functional currency at the applicable rates of exchange prevailing when the transactions occurred. Transaction gains and losses are recognized in the statement of operations.

 

The majority of the Company’s foreign currency transaction gains or losses come from the effects of foreign exchange rate changes on the intercompany loans between Singapore entities and U.S. entities. The Company recorded $1,363,061 gain on foreign exchange during the year ended on December 31, 2021 and a $371,603 loss during the year ended on December 31, 2020. The foreign currency transactional gains and losses are recorded in operations.

 

Translation of consolidated entities’ financial statements

 

Monetary assets and liabilities denominated in currencies other than the functional currency are translated into the functional currency at the rates of exchange ruling at the balance sheet date. The Company’s entities with functional currency of Singapore Dollar, Hong Kong Dollar, AUD and KRW, translate their operating results and financial positions into the U.S. dollar, the Company’s reporting currency. Assets and liabilities are translated using the exchange rates in effect on the balance sheet date. Revenue, expense, gains and losses are translated using the average rate for the year. Translation adjustments are reported as cumulative translation adjustments and are shown as a separate component of comprehensive income (loss).

 

The Company recorded other comprehensive loss of $3,974,966 from foreign currency translation for the year ended December 31, 2021 and $1,148,898 income for the year ended December 31, 2020, in accumulated other comprehensive loss.

 

Income Taxes

 

US Income Taxes

 

Income tax expense represents the sum of the current tax expense and deferred tax expense.

 

Income tax for current and prior periods is recognized at the amount expected to be paid to or recovered from the tax authorities, using the tax rates and tax laws that have been enacted or substantially enacted by the balance sheet date.

 

80

 

 

Deferred income tax is provided in full, using the liability method, on temporary differences at the balance sheet date between the tax bases of assets and liabilities and their carrying amounts in the financial statements.

 

Deferred tax assets and liabilities are recognized for all temporary differences, except:

 

Where the deferred tax arises from the initial recognition of an asset or liability in a transaction that is not a business combination and at the time of the transaction affects neither the accounting profit nor taxable profit or loss.

 

In respect of temporary differences associated with investments in subsidiaries, where the timing of the reversal of the temporary differences can be determined and it is probable that the temporary differences will not reverse in the foreseeable future; and

 

In respect of deductible temporary differences and carry-forward of unutilized tax losses, if it is not probable that taxable profits will be available against which those deductible temporary differences and carry-forward of unutilized tax losses can be utilized.

 

The carrying amount of deferred tax assets is reviewed at each balance sheet date and reduced to the extent that it is no longer probable that sufficient taxable profit will be available to allow all or part of the deferred tax asset to be utilized. Unrecognized deferred tax assets are reassessed at each balance sheet date and are recognized to the extent that it has become probable that future taxable profit will allow the deferred tax asset to be utilized.

 

Deferred tax assets and liabilities are measured at the tax rates that are expected to apply to the year when the asset is realized or the liability is settled, based on tax rates and tax laws that have been enacted or substantively enacted at the balance sheet date.

 

Current and deferred income tax are recognized as income or expense in the profit or loss, except to the extent that the tax arises from a business combination or a transaction which is recognized either in other comprehensive income or directly in equity. Deferred tax arising from a business combination is adjusted against goodwill on acquisition.

 

Deferred tax assets and liabilities are offset if there is a legally enforceable right to offset current tax liabilities and assets and they relate to income taxes levied by the same tax authorities on the same taxable entity, or on different tax entities, provided they intend to settle current tax liabilities and assets on a net basis or their tax assets and liabilities will be realized simultaneously.

 

Deferred income tax assets and liabilities are determined based on the estimated future tax effects of net operating loss and credit carry-forwards and temporary differences between the tax basis of assets and liabilities and their respective financial reporting amounts measured at the current enacted tax rates. The differences relate primarily to net operating loss carryforward from date of acquisition and to the use of the cash basis of accounting for income tax purposes. The Company records an estimated valuation allowance on its deferred income tax assets if it is more likely than not that these deferred income tax assets will not be realized.

 

The Company recognizes a tax benefit from an uncertain tax position only if it is more likely than not that the tax position will be sustained on examination by taxing authorities, based on the technical merits of the position. The tax benefits recognized in the consolidated financial statements from such a position are measured based on the largest benefit that has a greater than 50% likelihood of being realized upon ultimate settlement. The Company has not recorded any unrecognized tax benefits.

 

The Company’s 2020, 2019 and 2018 tax returns remain open to examination.

 

Income Taxes in other countries

 

Significant judgement is involved in determining the income taxes mainly in Singapore. There are certain transactions and computations for which the ultimate tax determination is uncertain during the ordinary course of business. The Company recognizes liabilities for expected tax liabilities based on estimates of whether additional taxes will be due. Where the final tax outcome of these matters is different from the amounts that were initially recognized, such differences will impact the income tax and deferred tax provisions in the period in which such determination is made.

 

81

 

 

Earnings (loss) per Share

 

The Company presents basic and diluted earnings (loss) per share data for its common shares. Basic earnings (loss) per share is calculated by dividing the profit or loss attributable to common stock shareholders of the Company by the weighted-average number of common shares outstanding during the year, adjusted for treasury shares held by the Company.

 

Diluted earnings (loss) per share is determined by adjusting the profit or loss attributable to common stock shareholders and the weighted-average number of common shares outstanding, adjusted for treasury shares held, for the effects of all dilutive potential ordinary shares, which comprise convertible securities, such as stock options, convertible bonds and warrants. Due to the limited operations of the Company, there are no potentially dilutive securities outstanding during years ended December 31, 2020. At December 31, 2021 there were 24,976,446 potentially dilutive warrants outstanding.

 

Fair Value Measurements

 

ASC 820, Fair Value Measurement and Disclosures, defines fair value as the exchange price that would be received for an asset or paid to transfer a liability (an exit price) in the principal or most advantageous market for the asset or liability in an orderly transaction between market participants on the measurement date. This topic also establishes a fair value hierarchy which requires classification based on observable and unobservable inputs when measuring fair value. There are three levels of inputs that may be used to measure fair value:

 

Level 1: Observable inputs such as quoted prices (unadjusted) in an active market for identical assets or liabilities.

 

Level 2: Inputs other than quoted prices that are observable, either directly or indirectly. These include quoted prices for similar assets or liabilities in active markets and quoted prices for identical or similar assets or liabilities in markets that are not active.

 

Level 3: Unobservable inputs that are supported by little or no market activity; therefore, the inputs are developed by the Company using estimates and assumptions that the Company expects a market participant would use, including pricing models, discounted cash flow methodologies, or similar techniques.

 

The carrying value of the Company’s financial instruments, including cash and restricted cash, accounts receivable and accounts payable and accrued expenses approximate fair value because of the short-term maturity of these financial instruments. The liabilities in connection with the conversion and make-whole features included within certain of the Company’s convertible notes payable and warrants are each classified as a level 3 liability.

 

Non-controlling Interests

 

Non-controlling interests represent the equity in subsidiary not attributable, directly or indirectly, to shareholders of the Company, and are presented separately in the Consolidated Statements of Operation and Other Comprehensive Loss, and within equity in the Consolidated Balance Sheets, separately from equity attributable to shareholders of the Company.

 

On December 31, 2021 and 2020, the aggregate non-controlling interests in the Company were $21,912,268 and $38,023,260 respectively.

 

Impairment of Long-lived Assets

 

Our policy is to obtain an independent third-party valuation for each major project in the United States to identify triggering events for impairment. Our management may use a market comparison method to value other relatively small projects, such as the project in Perth, Australia. In addition to the annual assessment of potential triggering events in accordance with ASC 360 – Property Plant and Equipment (“ASC 360”), we apply a fair value based impairment test to the net book value assets on an annual basis and on an interim basis if certain events or circumstances indicate that an impairment loss may have occurred.

 

The company did not record any impairment for the year ended on December 31, 2021 and 2020.

 

82

 

 

Capitalized Financing Costs

 

Financing costs, such as loan origination fee, administration fee, interests and other related financing costs, should be capitalized and recorded on the balance sheet if these financing activities are directly associated with the development of real estates.

 

Capitalized Financing Costs are allocated to lots sold based on the total expected development and interest costs of the completed project and allocating a percentage of those costs based on the selling price of the sold lot compared to the expected sales values of all lots in the project. If the allocation of capitalized financing costs based on the projection and relative expected sales value is impracticable, those costs could also be allocated based on an area method, which uses the size of the lots compared to the total project area and allocates costs based on their size.

 

As of December 31, 2021 and 2020, the capitalized financing costs were $3,247,739 and $3,513,535, respectively.

 

Related Party Transactions

 

The Company accounts for related party transactions in accordance with ASC 850 (“Related Party Disclosures”). A party is considered to be related to the Company if the party directly or indirectly or through one or more intermediaries, controls, is controlled by, or is under common control with the Company. Related parties also include principal owners of the Company, its management, members of the immediate families of principal owners of the Company and its management and other parties with which the Company may deal if one party controls or can significantly influence the management or operating policies of the other to an extent that one of the transacting parties might be prevented from fully pursuing its own separate interests. A party which can significantly influence the management or operating policies of the transacting parties or if it has an ownership interest in one of the transacting parties and can significantly influence the other to an extent that one or more of the transacting parties might be prevented from fully pursuing its own separate interests is also a related party.

 

Beneficial Conversion Features

 

The Company evaluates the conversion feature for whether it was beneficial as described in ASC 470-30. The intrinsic value of a beneficial conversion feature inherent to a convertible note payable, which is not bifurcated and accounted for separately from the convertible note payable and may not be settled in cash upon conversion, is treated as a discount to the convertible note payable. This discount is amortized over the period from the date of issuance to the date the note is due using the effective interest method. If the note payable is retired prior to the end of its contractual term, the unamortized discount is expensed in the period of retirement to interest expense. In general, the beneficial conversion feature is measured by comparing the effective conversion price, after considering the relative fair value of detachable instruments included in the financing transaction, if any, to the fair value of the shares of common stock at the commitment date to be received upon conversion.

 

Recent Accounting Pronouncements

 

Accounting pronouncement adopted

 

In response to the COVID-19 pandemic, the Coronavirus Aid, Relief and Economic Security Act (“CARES Act”) was signed into law in March 2020. The CARES Act lifts certain deduction limitations originally imposed by the Tax Cuts and Jobs Act of 2017 (“2017 Tax Act”). Corporate taxpayers may carryback net operating losses (NOLs) originating between 2018 and 2020 for up to five years, which was not previously allowed under the 2017 Tax Act. The CARES Act also eliminates the 80% of taxable income limitations by allowing corporate entities to fully utilize NOL carryforwards to offset taxable income in 2018, 2019 or 2020. Taxpayers may generally deduct interest up to the sum of 50% of adjusted taxable income plus business interest income (30% limit under the 2017 Tax Act) for 2019 and 2020. The CARES Act allows taxpayers with alternative minimum tax credits to claim a refund in 2020 for the entire amount of the credits instead of recovering the credits through refunds over a period of years, as originally enacted by the 2017 Tax Act.

 

83

 

 

In addition, the CARES Act raises the corporate charitable deduction limit to 25% of taxable income and makes qualified improvement property generally eligible for 15-year cost-recovery and 100% bonus depreciation. The enactment of the CARES Act did not result in any material adjustments to our income tax provision for the year ended December 31, 2020.

 

Accounting pronouncement not yet adopted

 

In June 2016, the FASB issued ASU No. 2016-13, “Financial Instruments - Credit Losses (Topic 326): Measurement of Credit Losses on Financial Instruments” (“ASU 2016-13”). ASU 2016-13 requires financial assets measured at amortized cost to be presented at the net amount expected to be collected. The measurement of expected credit losses is based on relevant information about past events, including historical experience, current conditions, and reasonable and supportable forecasts that affect the collectability of the reported amounts. An entity must use judgment in determining the relevant information and estimation methods that are appropriate in its circumstances. ASU 2016-13 is effective for annual reporting periods beginning after December 15, 2019, including interim periods within those fiscal years, and a modified retrospective approach is required, with a cumulative-effect adjustment to retained earnings as of the beginning of the first reporting period in which the guidance is effective. In November of 2019, the FASB issued ASU 2019-10, which delayed the implementation of ASU 2016-13 to fiscal years beginning after December 15, 2022 for smaller reporting companies. The Company is currently evaluating the impact of ASU 2016-13 on its future consolidated financial statements.

 

In March 2020, the FASB issued ASU 2020-04, Reference Rate Reform (Topic 848): Facilitation of Reference Rate Reform on Financial Reporting. The amendments in this Update provide optional expedients and exceptions for applying generally accepted accounting principles (GAAP) to contracts, hedging relationships, and other transactions affected by reference rate reform if certain criteria are met. The amendments in this Update apply only to contracts, hedging relationships, and other transactions that reference LIBOR or another reference rate expected to be discontinued because of reference rate reform. The Company’s line of credit agreement provides procedures for determining a replacement or alternative rate in the event that LIBOR is unavailable. The amendments in this Update are effective for all entities as of March 12, 2020 through December 31, 2022. The Company is currently evaluating the impact of ASU 2020-04 on its future consolidated financial statements.

 

In October 2021, the FASB issued ASU No. 202108, “Business Combinations (Topic 805): Accounting for Contract Assets and Contract Liabilities from Contracts with Customers.” ASU 202108 requires the company acquiring contract assets and contract liabilities obtained in a business combination to recognize and measure them in accordance with ASC 606, “Revenue from Contracts with Customers”. At the acquisition date, the company acquiring the business should record related revenue, as if it had originated the contract. Before the update such amounts were recognized by the acquiring company at fair value. The amendments in this Update are effective for fiscal years beginning after December 15, 2022, including interim periods within those fiscal years. Early adoption is permitted, including in interim periods, for any financial statements that have not yet been issued. The Company plans to adopt these requirements prospectively, effective on the first day of year 2022.

 

3. CONCENTRATIONS

 

The Company maintains cash balances at various financial institutions in different countries. These balances are usually secured by the central banks’ insurance companies. At times, these balances may exceed the insurance limits. As of December 31, 2021 and 2020, uninsured cash and restricted cash balances were $57,905,303 and $25,752,637, respectively.

 

For the year ended December 31, 2021, two customers accounted for approximately 97%, and 3% of the Company’s property and development revenue. For the year ended December 31, 2020, two customers accounted for approximately 98%, and 2% of the Company’s property and development revenue.

 

84

 

 

4. SEGMENTS

 

Operating segments are defined as components of an enterprise about which separate financial information is available that is evaluated regularly by the chief operating decision maker, or decision–making group, in deciding how to allocate resources and in assessing performance. The Company’s chief operating decision-maker is the CEO. The Company operates in and reports four business segments: real estate, digital transformation technology, biohealth, and other business activities. The Company’s reportable segments are determined based on the services they perform and the products they sell, not on the geographic area in which they operate. The Company’s chief operating decision maker evaluates segment performance based on segment revenue. Costs excluded from segment income (loss) before taxes and reported as “Other” consist of corporate general and administrative activities which are not allocable to the four reportable segments.

 

The following table summarizes the Company’s segment information for the following balance sheet dates presented, and for the years ended December 31, 2021 and 2020: 

 

                     
   Real Estate   Digital Transformation Technology   Biohealth Business   Other   Total 
                     
Year Ended December 31, 2021                         
Revenue  $14,213,379   $-   $5,543,066   $42,377   $19,798,822 
Cost of Sales   (11,073,756)   -    (214,019)   (14,039)   (11,301,814)
Gross Margin   3,139,623    -    5,329,047    28,338    8,497,008 
Operating Expenses   (1,136,031)   (183,429)   (3,624,200)   (18,547,470)   (23,491,130)
Operating Income (Loss)   2,003,592    (183,429)   1,704,847    (18,519,132)   (14,994,122)
Other Income (Expense)   (8,955)   1,286,962    (39,265,445)   (65,502,017)   (103,489,455)
Net Income (Loss) Before Income Tax   1,994,637    1,103,533    (37,560,598)   (84,021,149)   (118,483,577)

 

                     
   Real Estate   Digital Transformation Technology   Biohealth Business   Other   Total 
                     
Year Ended December 31, 2020 (As Restated)                         
Revenue  $13,643,689   $-   $2,594,511   $-   $16,238,200 
Cost of Sales   (11,779,984)   -    (305,590)   -    (12,085,574)
Gross Margin   1,863,705    -    2,288,921    -    4,152,626 
Operating Expenses   (660,647)   (54,673)   (1,545,244)   (4,076,800)   (6,337,364)
Operating Income (Loss)   1,203,058    (54,673)   743,677    (4,076,800)   (2,184,738)
Other Income (Expense)   1,983    (77)   (1,392,617)   (1,098,888)   (2,489,599)
Net Income (Loss) Before Income Tax   1,205,041    (54,750)   (648,940)   (5,175,688)   (4,674,337)
                          
December 31, 2021                         
Cash and Restricted Cash  $7,493,921   $245,780   $2,629,464   $50,433,014   $60,802,179 
Total Assets   55,465,600    2,199,466    11,056,779    115,488,298    184,210,143 
                          
December 31, 2020                         
Cash and Restricted Cash  $8,150,769   $158,058   $1,590,265   $21,836,387   $31,735,479 
Total Assets   28,954,484    158,160    524,603    78,076,498    107,713,745 

 

5. BUSINESS UNDER COMMON CONTROL

 

Due to the transactions with Chan Heng Fai on March 12, 2021 and acquisition of HengFeng Finance Limited (“HFL”) on April 21, 2021, transactions between entities under common control (for further details on these transactions, refer to Note 2 – Summary of Significant Accounting Policies), the Company has disclosed the Consolidated Statement of Operations and Other Comprehensive Income for the Year Ended on December 31, 2020 and Consolidated Balance Sheet as of December 31, 2020, to adjust the information on a consolidated basis as follows:

 

85

 

 

Consolidated Statement of Operations and Other Comprehensive Income for the Year Ended on December 31, 2020

 

   As Previously Reported   Acquisition of APB under Common Control   Acquisition of LVD Ltd under Common Control   As Restated 
Revenue                    
Property Sales  $13,643,689   $-   $-   $13,643,689 
Biohealth Product Sales   2,594,511    -    -    2,594,511 
Total Revenue   16,238,200    -    -    16,238,200 
Operating Expenses                    
Cost of Sales   12,085,574    -    -    12,085,574 
General and Administrative   5,843,067    385,735    108,562    6,337,364 
Research and Development   -    -    -    - 
Total Operation Expenses   17,928,641    385,735    108,562    18,422,938 
                     
Loss From Continuing Operations   (1,690,441)   (385,735)   (108,562)   (2,184,738)
                     
Other Income (Expense)                    
Interest Income   16,321    49,356    74    65,751 
Interest Expense   (147,640)   -    -    (147,640)
Net Gain on Investment in Alset International during the Unconsolidated Period   61,346              61,346 
Foreign Exchange Transaction Loss   (354,392)   -    (17,211)   (371,603)
Unrealized Gain (Loss) on Securities Investment   (1,750,454)   55,788    131    (1,694,535)
Realized Gain (Loss) on Securities Investment   1,115         (193,574)   (192,459)
Loss on Investment on Security by Equity Method   (227,643)             (227,643)
Finance Costs   -    (109,916)   -    (109,916)
Other Income   119,334    2,633    5,133    127,100 
Total Other Expense, Net   (2,282,013)   (2,139)   (205,447)   (2,489,599)
                     
Net Loss from Continuing Operations Before Income Taxes   (3,972,454)   (387,874)   (314,009)   (4,674,337)
                     
Income Tax Expense from Continuing Operations   (8,543)   -    -    (8,543)
                     
Net Loss from Continuing Operations   (3,980,997)   (387,874)   (314,009)   (4,682,880)
                     
Loss from Discontinued Operations, Net of Tax   (417,438)   -    -    (417,438)
Net Loss   (4,398,435)   (387,874)   (314,009)   (5,100,318)
                     
Net Loss Attributable to Non-Controlling Interest   (1,881,559)   (67,102)   -    (1,948,661)
                     
Net Loss Attributable to Common Stockholders  $(2,516,876)  $(320,772)  $(314,009)  $(3,151,657)
                     
Other Comprehensive Income (Loss), Net                    
Unrealized Gain on Securities Investment   19,486    -    -    19,486 
Foreign Currency Translation Adjustment   1,148,898    -    -    1,148,898 
Comprehensive Loss   (3,230,051)   (387,874)   (314,009)   (3,931,934)
                     
Comprehensive Loss Attributable to Non-Controlling Interests   (1,314,761)   (67,102)   -    (1,381,863)
                     
Comprehensive Loss Attributable to Common Stockholders  $(1,915,290)  $(320,772)  $(314,009)  $(2,550,071)
                     
Net Loss Per Share - Basic and Diluted                    
Continuing Operations  $(0.27)            $(0.33)
Discontinued Operations  $(0.03)            $(0.04)
Net Loss Per Common Share  $(0.30)            $(0.37)
                     
Weighted Average Common Shares Outstanding - Basic and Diluted   8,352,425              8,352,425 

 

86

 

 

Consolidated Balance Sheet as of December 31, 2020

 

   As Previously Reported   Acquisition of APB under Common Control   Acquisition of LVD Ltd under Common Control   Eliminations   As Restated 
Assets:                         
Current Assets:                         
Cash  $22,124,491   $2,348,478   $492,977   $-   $24,965,946 
Restricted Cash   6,769,533    -    -    -    6,769,533 
Account Receivables, Net   1,366,194    -    -    -    1,366,194 
Other Receivables   270,222    279,177    95,177    -    644,576 
Note Receivables - Related Party   624,986    24,583    -    -    649,569 
Prepaid Expenses   1,470,680    -    -    -    1,470,680 
Inventory   90,068    -    -    -    90,068 
Investment in Securities at Fair Value   48,857,483    313,343    1,631    -    49,172,457 
Investment in Securities at Cost   280,516    -    -    -    280,516 
Investment in Securities on Equity Method   -    -    74,535    (74,535)   - 
Deposits   47,019    1,801    -    -    48,820 
Total Current Assets   81,901,192    2,967,382    664,320    (74,535)   85,458,359 
                          
Real Estate                         
Properties under Development   20,505,591    -    -    -    20,505,591 
Operating Lease Right-Of-Use Asset   574,754    -    -    -    574,754 
Deposit   249,676    -    -    -    249,676 
Loan Receivable   -    840,000    -    -    840,000 
Property and Equipment, Net   85,365    -    -    -    85,365 
Total Assets  $103,316,578   $3,807,382   $664,320   $(74,535)  $107,713,745 
                          
Liabilities and Stockholders’ Equity:                         
Current Liabilities:                         
Accounts Payable and Accrued Expenses  $1,553,132   $118,133   $-   $-   $1,671,265 
Deferred Revenue   2,867,226    -    -    -    2,867,226 
Builder Deposits   1,262,336    -    -    -    1,262,336 
Operating Lease Liability   381,412    -    -    -    381,412 
Note Payable   172,706    -    -    -    172,706 
Note Payable- Related Parties   1,526,208    184,250    823,823    -    2,534,281 
Total Current Liabilities   7,763,020    302,383    823,823    -    8,889,226 
Long-Term Liabilities:                         
Operating Lease Liability   193,342    -    -    -    193,342 
Notes Payable   636,362    -    -    -    636,362 
Total Liabilities   8,592,724    302,383    823,823    -    9,718,930 
                          
Stockholders’ Equity:                         
Common Stock   8,570    47,756    -    (47,756)   8,570 
Additional Paid in Capital   97,950,440    3,975,261    756,487    47,756    102,729,944 
Accumulated Deficit   (43,010,991)   (993,296)   (906,010)   -    (44,910,297)
Accumulated Other Comprehensive Income   2,153,318    -    (9,980)   -    2,143,338 
Total Stockholders’ Equity   57,101,337    3,029,721    (159,503)   -    59,971,555 
Non-controlling Interests   37,622,517    475,278    -    (74,535)   38,023,260 
Total Stockholders’ Equity   94,723,854    3,504,999    (159,503)   (74,535)   97,994,815 
                          
Total Liabilities and Stockholders’ Equity  $103,316,578   $3,807,382   $664,320   $(74,535)  $107,713,745 

 

87

 

 

6. REAL ESTATE ASSETS

 

As of December 31, 2021 and 2020, real estate assets consisted of the following:

 

  

December 31,

2021

  

December 31,

2020

 
         
Construction in Progress  $8,597,023   $9,567,841 
Land Held for Development   7,098,104    10,937,750 
Rental Properties   24,820,253    - 
 Total Real Estate Assets  $40,515,380   $20,505,591 

 

Single family residential properties

 

As of December 31, 2021, the Company owns 109 Single Family Residential Properties (“SFRs”) in Montgomery and Harris Counties, Texas. The Company’s aggregate investment in those SFRs was $24.9 million. Depreciation expense was $120,511 and $0 in years ended December 31, 2021 and 2020, respectively.

 

The following table presents the summary of our SRFs as of December 31, 2021:

 

   Number of Homes   Aggregate investment   Average Investment per Home 
                
SFRs   109   $24,940,764   $228,814 

 

 

7. BUILDER DEPOSITS

 

In November 2015, SeD Maryland Development, LLC (“SeD Maryland”) entered into lot purchase agreements with NVR, Inc. (“NVR”) relating to the sale of single-family home and townhome lots to NVR in the Ballenger Run Project. The purchase agreements were amended three times thereafter. Based on the agreements, NVR is entitled to purchase 479 lots for a price of approximately $64,000,000, which escalates 3% annually after June 1, 2018.

 

As part of the agreements, NVR was required to give a deposit in the amount of $5,600,000. Upon the sale of lots to NVR, 9.9% of the purchase price is taken as payback of the deposit. A violation of the agreements by NVR would cause NVR to forfeit the deposit. On January 3, 2019 and April 28, 2020, NVR gave SeD Maryland two more deposits in the amounts of $100,000 and $220,000, respectively, based on the 3rd Amendment to the Lot Purchase Agreement. On December 31, 2021 and 2020, there was $31,553 and $1,262,336 held on deposit, respectively.

 

8. NOTES PAYABLE

 

As of December 31, 2021 and 2020, notes payable consisted of the following:

 

  

December 31,

2021

  

December 31,

2020

 
   ($)   ($) 
M&T Bank Loan, Net of Debt Discount   -    636,362 
PPP Loan   68,502    - 
Australia Loan   162,696    172,706 
Hire Purchase   86,473    - 
Total notes payable  $317,671   $809,068 

 

88

 

 

M&T Bank Loan

 

On April 17, 2019, SeD Maryland Development LLC entered into a Development Loan Agreement with Manufacturers and Traders Trust Company (“M&T Bank”) in the principal amount not to exceed at any one time outstanding the sum of $8,000,000, with a cumulative loan advance amount of $18,500,000. The line of credit bears interest rate on LIBOR plus 375 basis points. SeD Maryland Development LLC was also provided with a Letter of Credit (“L/C”) Facility in an aggregate amount of up to $900,000. The L/C commission will be 1.5% per annum on the face amount of the L/C. Other standard lender fees will apply in the event L/C is drawn down. The loan is a revolving line of credit. The L/C Facility is not a revolving loan, and amounts advanced and repaid may not be re-borrowed. Repayment of the Loan Agreement is secured by $2,600,000 collateral fund and a Deed of Trust issued to the Lender on the property owned by SeD Maryland. As of December 31, 2021 and 2020, the outstanding balance of the revolving loan was $0. As part of the transaction, the Company incurred loan origination fees and closing fees in the amount of $381,823 and capitalized it into construction in process.

 

On June 18, 2020, Alset EHome Inc. (“Alset EHome”), a wholly owned subsidiary of LiquidValue Development Inc., entered into a Loan Agreement with Manufacturers and Traders Trust Company (the “Lender”).

 

Pursuant to the Loan Agreement, the Lender provided a non-revolving loan to Alset EHome in an aggregate amount of up to $2,990,000 (the “Loan”). The line of credit bears interest rate of LIBOR plus 375 basis points. Repayment of the Loan is secured by a Deed of Trust issued to the Lender on the property owned by certain subsidiaries of Alset EHome. The maturity date of this Loan is July 1, 2022. LiquidValue Development Inc. and one of its subsidiaries are guarantors of this Loan. The guarantors are required to maintain during the term of the loan a combined minimum net worth in an aggregate amount equal to not less than $20,000,000. The Company was in compliance with this covenant as of December 31, 2020.

 

During the year ended December 31, 2020, Alset EHome borrowed $664,810 from M&T Bank, incurring at the same time a loan origination fees of $61,679 which were amortized over the term of the loan. As of December 31, 2020, the remaining unamortized debt discount was $42,906. The loan in the amount of $664,810, together with all accrued interests of $25,225, was paid off on May 28, 2021. The loan was closed in June 2021. Additionally, the debt discount of $42,907 was fully amortized during the year ended December 31, 2021.

 

Paycheck Protection Program Loan

 

On April 6, 2020, the Company entered into a term note with M&T Bank with a principal amount of $68,502 pursuant to the Paycheck Protection Program (“PPP Term Note”) under the Coronavirus Aid, Relief, and Economic Security Act. The PPP Loan is evidenced by a promissory note. The PPP Term note bears interest at a fixed annual rate of 1.00%, with the first ten months of principal and interest deferred. On November 26, 2020, $64,502 of this loan was forgiven by the United States Small Business Administration and $64,502 was recorded as other income. The remaining balance of $4,000 was paid back in December 2020.

 

On February 11, 2021, the Company entered into a five year note with M&T Bank with a principal amount of $68,502 pursuant to the Paycheck Protection Program (“PPP Term Note”) under the Coronavirus Aid, Relief, and Economic Security Act (the “CARES Act”). The PPP Loan is evidenced by a promissory note. The PPP Term Note bears interest at a fixed annual rate of 1.00%, with the first sixteen months of principal and interest deferred or until we apply for the loan forgiveness. The PPP Term Note may be accelerated upon the occurrence of an event of default.

 

The PPP Term Note is unsecured and guaranteed by the United States Small Business Administration. The Company may apply to M&T Bank for forgiveness of the PPP Term Note, with the amount which may be forgiven equal to at least 60% of payroll costs and other eligible payments incurred by the Company, calculated in accordance with the terms of the CARES Act. At this time, we are not in a position to quantify the portion of the PPP Term Note that will be forgiven. As of December 31, 2021, we owe $68,502 to M&T Bank.

 

89

 

 

Australia Loan

 

On January 7, 2017, SeD Perth Pty Ltd (“SeD Perth”) entered into a loan agreement with National Australian Bank Limited (the “Australia Loan”) for the purpose of funding land development. The loan facility provides SeD Perth with access to funding of up to approximately $460,000 and matures on December 31, 2018. The Australia Loan is secured by both the land under development and a pledged deposit of $35,276. This loan is denominated in AUD. Personal guarantees amounting to approximately $500,000 have been provided by our CEO, Chan Heng Fai and by Rajen Manicka, the CEO of Holista CollTech and Co-founder of iGalen Inc. The interest rate on the Australia Loan is based on the weighted average interest rates applicable to each of the business markets facility components as defined within the loan agreement, ranging from 4.48% to 4.49% per annum for the year ended December 31, 2021 and from 4.36% to 5.57% per annum for the year ended December 31, 2020. On September 7, 2017 the Australia Loan was amended to reduce the maximum borrowing capacity to approximately $179,000. During 2020, the terms of the Australia Loan were amended to reflect an extended maturity date of April 30, 2022. This was accounted for as a debt modification. The Company did not pay fees to the National Australian Bank Limited for the modification of the loan agreement.

 

Singapore Car Loan

 

On May 17, 2021, Alset International Limited entered into a Hire Purchase Agreement with Hong Leong Finance Limited to purchase a car for business. The total purchase price of the car, including associated charges, was approximately $184,596. Alset International paid an initial deposit of $78,640, and would make monthly instalment of approximately $1,300, including interest of 1.88% per annum, for the 84 months.

 

9. RELATED PARTY TRANSACTIONS

 

Personal Guarantees by Director

 

As of December 31, 2021 and 2020, a director of the Company had provided personal guarantees amounting to approximately $500,000, respectively, to secure external loans from financial institutions for AEI and the consolidated entities.

 

Sale of Impact Biomedical to DSS

 

On April 27, 2020, Global BioMedical Pte Ltd (“GBM”), one of our subsidiaries, entered into a share exchange agreement with DSS BioHealth Security, Inc. (“DBHS”), a wholly owned subsidiary of DSS, Inc. (“DSS”), pursuant to which, DBHS agreed to acquire all of the outstanding capital stock of Impact BioMedical Inc., a wholly owned subsidiary of GBM, through a share exchange. It was agreed that the aggregate consideration to be issued to GBM for the Impact BioMedical shares would be the following: (i) 483,334 newly issued shares of DSS common stock; and (ii) 46,868 newly issued shares of a new series of DSS perpetual convertible preferred stock with a stated value of $46,868,000, or $1,000 per share. The convertible preferred stock can be convertible into shares of DSS common stock at a conversion price of $6.48 of preferred stock stated value per share of common stock, subject to a 19.9% beneficial ownership conversion limitation (a so-called “blocker”) based on the total issued outstanding shares of common stock of DSS beneficially owned by GBM. Holders of the convertible preferred stock will have no voting rights, except as required by applicable law or regulation, and no dividends will accrue or be payable on the convertible preferred stock. The holders of convertible preferred stock will be entitled to a liquidation preference of $1,000 per share, and DSS will have the right to redeem all or any portion of the then outstanding shares of convertible preferred stock, pro rata among all holders, at a redemption price per share equal to such liquidation value per share.

 

90

 

 

Under ASU 2014-08, a disposal transaction meets the definition of a discontinued operation if all of the following criteria are met:

 

1. The disposal group constitutes a component of an entity or a group of components of an entity

 

2. The component of an entity (or group of components of an entity) meets the held-for-sale classification criteria, is disposed of by sale, or is disposed of other than by sale (e.g., “by abandonment, in an exchange measured based on the recorded amount of the nonmonetary asset relinquished, or in a distribution to owners in a spinoff”).

 

3. The disposal of a component of an entity (or group of components of an entity) “represents a strategic shift that has (or will have) a major effect on an entity’s operations and financial results”.

 

Impact Biomedical Inc. is a group of subsidiaries of AEI and operates independently with its own financial reporting. The transaction is a disposal by sale and has a major effect on AEI’s financial results. Since it meets all above test criteria, we treated this disposal transaction as a discontinued operation in our financial statements.

 

On August 21, 2020, the transaction closed and Impact BioMedical Inc became a direct wholly owned subsidiary of DBHS. GBM received 483,334 shares of DSS common stock and 46,868 shares of DSS preferred stock, which preferred shares could be converted to 7,232,716 common shares (however, any conversion will be subject to the blocker GBM has agreed to, as described above). After this transaction, we hold 500,001 shares of the common stock of DSS. Additionally, our CEO, Chan Heng Fai is the owner of the common stock of DSS and is the executive Chairman of the Board of Directors of DSS. The Company has elected the fair value option for the DSS common stock that would otherwise be accounted for under the equity method of accounting. ASC 820, Fair Value Measurement and Disclosures, defines the fair value of the financial assets. We value DSS common stock under level 1 category through quoted prices and preferred stock under level 3 category through an Option-Pricing Method valuation model. The quoted price of DSS common stock was $6.95 as of August 21, 2020. The total fair value of DSS common and preferred stocks GBM received as consideration for the disposal of Impact BioMedical was $46,248,171. As of August 21, 2020, the net asset value of Impact BioMedical was $94,011. The difference of $46,154,160 was recorded as additional paid in capital. We did not recognize gain or loss from this transaction as it was a related party transaction. For further details on this transaction, refer to Note 13 – Discontinued Operations.

 

On October 16, 2020, GBM converted 4,293 shares of DSS Series A Preferred Stock having a par value of $0.02 per share in exchange for 662,500 restricted shares of DSS common stock based upon a liquidation value of $1,000 and a conversion price of $6.48 per share. Our ownership of DSS was 19.9% after the conversion.

 

Sale of iGalen International Inc. to an officer of the Company

 

On December 30, 2020, Health, Wealth Happiness Pte Ltd (“HWH Pte Ltd”), a 100% owned subsidiary of the Company, sold 530,000 shares (its 53% ownership) of iGalen International Inc., which owns 100% iGalen Inc., to an officer of the Company for $100. The net asset of iGalen International was $(3,741,065) at the time of sales and $3,741,065 was recorded as additional paid in capital since it was a related party transaction. No gain or loss was recognized.

 

Under ASU 2014-08, the transaction did not meet the definition of a discontinued operation. For the Company, the disposal of the iGalen does not make a strategic shift on our operations and financial results. The Company did not recognize gain or Loss in the Statement of Operations as this is considered as a related party transaction.

 

Purchase Shares and Warrants from APW

 

On July 17, 2020, the Company purchased 122,039,000 shares, approximately 9.99% ownership, and 1,220,390,000 warrants with an exercise price of $0.0001 per share, from APW, for an aggregated purchase price of $122,039. We value APB warrants under level 3 category through a Black Scholes option pricing model and the fair value of the warrants from APW were $860,342 as of July 17, 2020, the purchase date and $1,009,854 and $862,723 as of December 31, 2021 and 2020, respectively. The difference of $945,769 of fair value of stock and warrants, total $1,067,808 and the purchase price $122,039, was recorded as additional paid in capital as it was a related party transaction.

 

91

 

 

Sale of Investment in Vivacitas to DSS

 

On March 18, 2021, the Company sold equity investment in Vivacitas, a U.S.-based biopharmaceutical company, equaling to 2,480,000 shares of common stock and a stock option to purchase 250,000 shares of Vivacitas common stock at $1 per share at any time prior to the date of a public offering, to a subsidiary of DSS for $2,480,000. Chan Heng Fai, CEO and the founder of our Company, holds a director position on both Vivacitas and DSS. After this transaction, we do not own any investment in Vivacitas. Our original cost of common stock and stock option of Vivacitas was $200,128. We did not recognize gain or loss in this transaction. The difference of $2,279,872 between the selling price and our original investment cost was recorded as additional paid capital considering it was a related party transaction.

 

Purchase of stock in True Partner Capital Holding Limited

 

On March 12, 2021, the Company purchased 62,122,908 ordinary shares of True Partner Capital Holding Limited for $6,729,629 from a related party. The fair market value of stock on acquisition date was $10,003,689. The difference between purchase price and fair market value of $3,274,060 was recorded as equity transaction on Company’s consolidated statement of stockholders’ equity.

 

Notes Payable

 

Chan Heng Fai provided an interest-free, due on demand advance to LiquidValue Development Pte. Ltd. and its subsidiary LiquidValue Development Limited for the general operations. As of December 31, 2021 and 2020, the outstanding balance was approximately $820,113 and $823,823, respectively.

 

Chan Heng Fai provided interest-free due on demand advance to AEI for the general operations. On December 31, 2021 and 2020, the outstanding balance was $0 and $178,400, respectively.

 

Chan Heng Fai provided an interest-free, due on demand advance to SeD Perth Pty. Ltd. for its general operations. On December 31, 2021 and 2020, the outstanding balance was $13,546 and $14,379, respectively.

 

On August 20, 2020, the Company acquired 30,000,000 common shares of Alset International Limited from Chan Heng Fai in exchange for a two-year non-interest bearing note of $1,333,429. On December 31, 2021 and 2020 the amount outstanding was $0 and $1,333,429, respectively.

 

On May 1, 2018, Rajen Manicka, CEO and one of the directors of iGalen International Inc., which holds 100% of iGalen Inc., provided a loan of approximately $367,246 to iGalen Inc. (the “2018 Rajen Manicka Loan”). The term of 2018 Rajen Manicka Loan is ten years. The 2018 Rajen Manicka Loan has an interest rate of 4.7% per annum. On March 8, March 27 and April 23, 2019, iGalen borrowed additional monies of $150,000, $30,000 and $50,000, respectively, from Rajen Manicka, total $230,000 (the “2019 Rajen Manicka Loan”). The 2019 Rajen Manicka Loan is interest free, not tradable, unsecured, and repayable on demand. On December 30, 2020, Company’s subsidiary Health Wealth Happiness Pte. Ltd., sold its 53% interest in iGalen International to an officer of the Company.

 

On August 13, 2019, iGalen International Inc., which holds 100% of iGalen Inc., borrowed $250,000 from Decentralized Sharing Services, Inc., a company whose sole shareholder and director is Chan Heng Fai, our CEO. The term of the loan is 12 months, with an interest rate of 10% per annum. In addition, Decentralized Sharing Services, Inc. received the right to receive 3% of any revenue received by iGalen International Inc. for 99 years. During the year ended December 31, 2020 the Company incurred $9,729 of interest expense and $0 from the right to receive 3% of revenue. The amount outstanding on the loan as of December 31, 2020 was $0. The principal of $250,000 was paid off in June 2020.

 

92

 

 

On March 12, 2021, the Company entered into a Securities Purchase Agreement (the “SPA”) with Chan Heng Fai, the founder, Chairman and Chief Executive Officer of the Company, for four proposed transactions, consisting of (i) purchase of certain warrants (the “Warrants”) to purchase 1,500,000,000 shares of Alset International Limited, which was valued at $28,363,966; (ii) purchase of all of the issued and outstanding stock of LiquidValue Development Pte Ltd. (“LVD”), which was valued at $173,395; (iii) purchase of 62,122,908 ordinary shares in True Partner Capital Holding Limited (HKG: 8657) (“True Partner”), which was valued at $6,729,629; and (iv) purchase of 4,775,523 shares of the common stock of American Pacific Bancorp Inc. (“APB”), which was valued at $28,653,138. The total amount of above four transactions was $63,920,129, payable on the Closing Date by the Company, in the convertible promissory notes (“Alset CPNs”), which, subject to the terms and conditions of the Alset CPNs and the Company’s shareholder approval, shall be convertible into shares of the Company’s common stock (“AEI Common Stock”), at par value of $0.001 per share, at the conversion price of AEI’s Stock Market Price. AEI’s Stock Market Price shall be $5.59 per share, equivalent to the average of the five closing per share prices of AEI Common Stock preceding January 4, 2021 as quoted by Bloomberg L.P. AEI’s stock price was $10.03 on March 12, 2021, the commitment date. The Beneficial Conversion Feature (“BCF”) intrinsic value was $50,770,192 for the four convertible promissory notes and was recorded as debt discount of convertible notes after the transaction. On May 13 and June 14, 2021 all Alset CPNs of $63,920,128 and accrued interests of $306,438 were converted into 2,123 shares of series B preferred stock and 9,163,965 shares of common stock of the Company.

 

On May 14, 2021, the Company borrowed S$7,395,472 Singapore Dollars (equal to approximately $5,545,495 U.S. Dollars) from Chan Heng Fai. The unpaid principal amount of the Loan shall be due and payable on May 14, 2022 and the Loan shall have no interest. The loan was paid back in full during 2021 and the outstanding balance was $0 as of December 31, 2021.

 

Chan Heng Fai provided an interest-free, due on demand advance to HengFeng Finance Limited for the general operations. As of December 31, 2021 and 2020, the outstanding balance was $0 and $184,250, respectively.

 

Management Fees

 

MacKenzie Equity Partners, owned by Charles MacKenzie, a Director of the Company’s subsidiary LiquidValue Development, has had a consulting agreement with the Company since 2015. Per the terms of the agreement, as amended on January 1, 2018, the Company pays a monthly fee of $20,000 for the consulting services. The Company incurred expenses of $360,000 and $240,000 for the years ended December 31, 2021 and 2020, respectively, which were capitalized as part of Real Estate on the Company’s Consolidated Balance Sheet, as the services relate to property and project management. During 2021, MacKenzie Equity Partners was granted an additional $120,000 bonus payment. As of December 31, 2021 and 2020 the Company owed $80,000 and $0, respectively to this entity.

 

Consulting Services

 

A law firm owned by Conn Flanigan, a Director of LiquidValue Development, performs consulting services to LiquidValue Development and some other subsidiaries of the Company. The Company incurred expenses of $0 and $12,645 for the years ended December 31, 2021 and 2020, respectively. As of December 31, 2021 and 2020 there was no outstanding balance due to this entity.

 

Chan Tung Moe, the consultant engaged with the Company through Pop Motion Consulting Pte. Ltd., is the son of Chan Heng Fai, a director and the CEO of the Company. In August of 2020 this consulting agreement was terminated, and Chan Tung Moe became an employee of Alset International as Chief Development Officer. The Company incurred expense of $140,758 for the years ended December 31, 2020.

 

Investment in the Global Opportunity Fund

 

On February 1, 2017, the Company invested $300,000 in Global Opportunity Fund (“Fund”), a mutual fund registered in the Cayman Islands and Chan Heng Fai is one of the directors of this fund. This Fund was closed during November 2019 and is being liquidated. LiquidValue Asset Management Pte. Ltd., one of the subsidiaries of the Company, is the investment manager of the Fund and receives a management fee from the Fund at 2% per annum of the aggregated net asset value of the investments and a performance fee of 20%. As of December 31, 2019, the Company recorded a receivable $307,944 from the Global Opportunity Fund. On January 23, 2020, the Company received $307,944 as a result of the liquidation of Global Opportunity Fund.

 

93

 

 

Note Receivable from a Related Party Company

 

On March 2, 2020 and on October 29, 2021, LiquidValue Asset Management Pte. Ltd. (“LiquidValue”) received two $200,000 Promissory Notes and on October 29, 2021 Alset International received $8,350,000 Promissory Note from American Medical REIT Inc. (“AMRE”), a company which is less than 3.5% owned by LiquidValue as of December 31, 2021. Chan Heng Fai and Chan Tung Moe are directors of American Medical REIT Inc. The notes carry interests of 8% and are payable in two, three years and 25 months, respectively. LiquidValue also received warrants to purchase AMRE shares at the exercise price of $5.00 per share. The amount of the warrants equals to the note principle divided by the exercise price. If AMRE goes to IPO in the future and IPO price is less than $10.00 per share, the exercise price shall be adjusted downward to fifty percent (50%) of the IPO price. As of December 31, 2021 and 2020, the fair market value of the warrants was $0. The Company accrued $130,000 and $13,431 interest income as of December 31, 2021 and 2020, respectively.

 

On January 24, 2017, SeD Capital Pte Ltd, a 100% owned subsidiary of Alset International lent $350,000 to iGalen Inc. The term of the loan was two years, with an interest rate of 3% per annum for the first year and 5% per annum for the second year. The expiration term was renewed as due on demand after two years with 5% per annum interest rate. As of December 31, 2020, the outstanding principle was $350,000 and accrued interest $61,555. On December 31, 2021, the management of the Company evaluated the financial and the operation results of iGalen and concluded that possibility to repay this loan is not probable, and the principal and accrued interests total of $412,754 was recorded as bad debt expense.

 

As of December 31, 2021, the Company provided advances for operation of $236,699 to HWH World Co., a direct sales company in Thailand of which the Company holds approximately 19% ownership.

 

On April 20, 2021, SeD Capital Pte Ltd entered into Joint Venture Agreement with Novum Alpha Pte Ltd., pursuant to which, each company owns 50% of the joint venture company Credas Capital Pte Ltd. Based on the agreement, SeD Capital Pte Ltd contributed 90% of the initial $150,000 shareholder loan to the joint venture, with the remaining balance contributed by Novum Alpha. The loan carries 0% interest rate and will be repaid on a “first-in first-out” basis, out of the operating profits of the joint venture, with the immediate partial payment of $100,000 of the initial loan to SeD Capital, once the company achieves profitability. As of December 31, 2021, the outstanding balance was $135,720.

 

Loan to Employees

 

On November 24, 2020, American Pacific Bancorp. Inc. lent $560,000 to Chan Tung Moe, an officer of one of the subsidiaries of the Company (who later also became our Co-Chief Executive Officer) and son of Chan Heng Fai, Chairman and Chief Executive Officer of the Company, bearing interest at 6%, with a maturity date of November 23, 2023. This loan was secured by an irrevocable letter of instruction on 80,000 shares of Alset EHome International. On November 24, 2020, American Pacific Bancorp. Inc. lent $280,000 to Lim Sheng Hon Danny, an employee of one of the subsidiaries of the Company, bearing interest at 6%, with a maturity date of November 23, 2023. This loan was secured by an irrevocable letter of instruction on 40,000 shares of Alset EHome International. Subsequent to the making of these loans, the Company acquired the majority of the issued and outstanding common stock of American Pacific Bancorp. As of December 31, 2021, both principal and interest, $840,000 and $28,031, of both loans to Chan Tung Moe and Lim Sheng Hong, were fully paid off.

 

10. EQUITY

 

Pursuant to an agreement on June 24, 2020 with our stockholders HFE Holdings Limited and Chan Heng Fai, HFE Holdings Limited surrendered 3,600,000 shares of our common stock to the treasury of our company, and Chan Heng Fai surrendered 1,000 shares of our common stock to the treasury of our company, and all such shares were cancelled. No consideration was exchanged in connection with the surrender of the shares. As a result, the total number of outstanding shares of our common stock at June 24, 2020 was reduced to 6,400,000 shares from 10,001,000 shares.

 

94

 

 

On November 23, 2020, the Company entered into an underwriting agreement (the “Underwriting Agreement”) with Aegis Capital Corp., as representative of the underwriters (“Aegis”), pursuant to which the Company agreed to sell to the underwriters in a firm commitment underwritten public offering (the “Offering”) an aggregate of 2,160,000 shares of the Company’s common stock, par value $0.001 per share (the “Common Stock”), at an initial public offering price of $7.00 per share. Aegis has a 60-day over-allotment option to purchase up to an additional 324,000 shares of Common Stock at $6.475 per share. The Offering closed on November 27, 2020.

 

The Offering was the Company’s initial public offering and the Company’s common shares began trading on The Nasdaq Capital Market on November 24, 2020 under the symbol “HFEN.” The shares were offered by the Company pursuant to a registration statement on Form S-1, as amended (File No. 333-235693), filed with the Securities and Exchange Commission (the “Commission”), which was declared effective by the Commission on November 12, 2020 (the “Registration Statement”). Aegis acted as lead book-running manager for the Offering and Westpark Capital, Inc. acted as co-manager.

 

The net proceeds to the Company from the Offering, after deducting the underwriting discount, underwriters’ fees and expenses and other expenses of the Offering, were approximately $13.2 million. The Company anticipates using the net proceeds from the Offering primarily to fund possible acquisitions of new companies and properties, and for working capital and other general corporate purposes.

 

Also, under the terms of the Underwriting Agreement, the Company, upon closing of the Offering, issued to Aegis a warrant (the “Representative’s Warrant”) to purchase an aggregate of 108,000 shares of common stock (5% of the total shares issued in the Offering). The Representative’s Warrant is exercisable at a per share price of $9.80 (equal to 140% of the initial public offering price of the Common Stock) and is exercisable at any time and from time to time, in whole or in part, during the three-year period commencing from the date of issuance.

 

The Company also issued 10,000 shares as the compensation for the legal service at a fair value of $70,000.

 

As a result of the Offering, the total number of outstanding shares of our common stock at December 31, 2020 was 8,570,000.

 

On June 14, 2021, the Company filed an amendment (the “Amendment”) to its Third Amended and Restated Certificate of Incorporation, as amended, to increase the Company’s authorized share capital. The Amendment increased the Company’s authorized share capital to 250,000,000 common shares and 25,000,000 preferred shares, from 20,000,000 common shares and 5,000,000 preferred shares, respectively.

 

The Company has designated 6,380 preferred shares as Series A Preferred Stock and 2,132 as Series B Preferred Stock.

 

Holders of the Series A Preferred Stock shall be entitled to receive dividends equal, on an as-if-converted basis, to and in the same form as dividends actually paid on shares of the Company’s common stock, par value $0.001 per share (“Common Stock”) when, as and if paid on shares of Common Stock. Each holder of outstanding Series A Preferred Stock is entitled to vote equal to the number of whole shares of Common Stock into which each share of the Series A Preferred Stock is convertible. Holders of Series A Preferred Stock are entitled, upon liquidation of the Company, to receive the same amount that a holder of Series A Preferred Stock would receive if the Series A Preferred Stock were fully converted into Common Stock.

 

Holders of the Series B Preferred Stock shall be entitled to receive dividends equal, on an as-if-converted basis, to and in the same form as dividends actually paid on shares of the Company’s common stock par value $0.001 per share (“Common Stock”) when, as and if paid on shares of Common Stock. Each holder of outstanding Series B Preferred Stock is entitled to vote equal to the number of whole shares of Common Stock into which each share of the Series B Preferred Stock is convertible. Holders of Series B Preferred Stock are entitled, upon liquidation of the Company, to receive the same amount that a holder of Series B Preferred Stock would receive if the Series B Preferred Stock were fully converted into Common Stock.

 

95

 

 

The Company analyzed the Preferred stock and the embedded conversion option for derivative accounting consideration under ASC 815-15 “Derivatives and Hedging” and determined that the conversion option should be classified as equity.

 

On January 19, 2021, the Company issued 10,000 shares of its common stock as compensation for public relations services at a fair value of $60,900.

 

On May 3, 2021, the Company entered into a Loan and Exchange Agreement with its Chief Executive Officer, Chan Heng Fai pursuant to which he loaned the Company his shares of Common Stock of the Company by exchanging 6,380,000 shares of common stock which he owned for an aggregate of 6,380 shares of the Company’s newly designated Series A Convertible Preferred Stock. Effective upon the filing of the Amendment in June 2021, the Company issued an entity owned by Chan Heng Fai 6,380,000 shares of common stock upon the automatic conversion of all 6,380 outstanding shares of the Company’s Series A Convertible Preferred Stock.

 

On May 12, 2021, the Company entered into an Exchange Agreement with Chan Heng Fai, pursuant to which he converted $13,000,000 of note payable for 2,132 shares of the Company’s newly designated Series B Preferred Stock. Effective upon the filing of the Amendment in June 2021, the Company issued Chan Heng Fai 2,132,000 shares of common stock upon the automatic conversion of all 2,132 outstanding shares of the Company’s Series B Convertible Preferred Stock.

 

On May 10, 2021, the Company entered into an underwriting agreement with Aegis Capital Corp., as the sole book-running manager and representative of the underwriters named therein (the “Underwriters”), relating to an underwritten public offering (the “May Offering”) of (i) 4,700,637 common units (the “Common Units”), at a price to the public of $5.07 per Common Unit, with each Common Unit consisting of (a) one share of common stock, par value $0.001 per share (the “Common Stock”), (b) one Series A warrant (the “Series A Warrant” and collectively, the “Series A Warrants”) to purchase one share of Common Stock with an initial exercise price of $5.07 per whole share, exercisable until the fifth anniversary of the issuance date, and (c) one Series B warrant (the “Series B Warrant” and collectively, the “Series B Warrants” and together with the Series A Warrants, the “Warrants”) to purchase one-half share of Common Stock with an initial exercise price of $6.59 per whole share, exercisable until the fifth anniversary of the issuance date and (ii) 1,611,000 pre-funded units (the “Pre-funded Units”), at a price to the public of $5.06 per Pre-funded Unit, with each Pre-funded Unit consisting of (a) one pre-funded warrant (the “Pre-funded Warrant” and collectively, the “Pre-funded Warrants”) to purchase one share of Common Stock, (b) one Series A Warrant and (c) one Series B Warrant. The shares of Common Stock, the Pre-funded Warrants, and the Warrants were offered together, but the securities contained in the Common Units and the Pre-funded Units were issued separately. Following the May Offering, all the investors exercised their Pre-funded Units and additional 1,611,000 shares of common stock and Series A and Series B Warrants were issued.

 

The Company also granted the Underwriters a 45-day over-allotment option to purchase up to 808,363 additional shares of Common Stock and/or up to 808,363 additional Series A Warrants to purchase 808,363 shares of Common Stock, and/or up to 808,363 additional Series B warrants to purchase 404,181 shares of Common Stock. The May Offering, including the partial exercise of the Underwriters’ over-allotment option to purchase 808,363 Series A Warrants and 808,363 Series B Warrants, closed on May 13, 2021. During the month of June, 2021, Aegis exercised its option to purchase an additional 808,363 common shares at a price of $5.07 per common share and as of September 30, 2021 still holds 808,363 Series B Warrants. Through December 31, 2021, investors exercised 1,364,025 of Series A Warrants and 6,598 of Series B Warrants. As a result of the May Offering and subsequent exercise notice received for the pre-funded units and warrants, the Company issued 8,487,324 common shares. As a result of the May Offering and subsequent exercise notice received for the pre-funded units and warrants, and the net proceeds to the Company were $39,765,440.

 

The Company incurred approximately $88,848 in expenses related to the May Offering and subsequent warrants exercises, including SEC fees, FINRA fees, auditor fees and filing fees.

 

96

 

 

The following table presents net funds received from the May Offering and warrants exercised as of December 31, 2021.

 

   Shares   Par value   Amount received 
Offering   4,700,637   $4,701   $29,145,056 
Exercise of Pre-Funded Units   1,611,000   $1,611   $16,110 
Exercise of Underwriter’s Series A Warrants   808,363   $808   $3,755,774 
Exercise of Series A and Series B Warrants   1,367,324   $1,367   $6,937,347 
Offering Expenses   -   $-   $(88,848)
Total   8,487,324   $8,487   $39,765,439 

 

On July 27, 2021, the Company entered into another underwriting agreement with Aegis Capital Corp., as the sole book-running manager and representative of the underwriters named therein (the “Underwriters”), relating to an underwritten public offering (the “July Offering”) of (i) 5,324,139 shares of common stock, par value $0.001 per share (the “Common Stock”), at a price to the public of $2.12 per share of Common Stock and (ii) 9,770,200 pre-funded warrants (the “Pre-funded Warrants”) to purchase 9,770,200 shares of Common Stock, at a price to the public of $2.11 per Pre-funded Warrant. The July Offering closed on July 30, 2021. As a result of the July Offering and subsequent exercise notice received for the pre-funded warrants, the net proceeds to the Company were $33,392,444.

 

The Company granted the Underwriters a 45-day over-allotment option to purchase up to 2,264,150 additional shares of Common Stock. The Company also paid the Underwriters an underwriting discount equal to 7.0% of the gross proceeds of the Offering and a non-accountable expense fee equal to 1.5% of the gross proceeds of the Offering. In addition, the Company agreed to issue to the representative warrants (the “Representative’s Warrants”) to purchase a number of shares equal to 3.0% of the aggregate number of shares (including shares underlying the Pre-funded Warrants) sold under in the Offering, or warrants to purchase up to an aggregate of 520,754 shares, assuming the Underwriters exercise their over-allotment option in full. The Representative’s Warrants have an exercise price equal to 125% of the public offering price, or $2.65 per share, with an exercise period of 24 months from issuance. On September 9, 2021 the Underwriters exercised their over-allotment option and were issued 2,264,150 shares of our Common Stock. On September 9, 2021 the Underwriters exercised the option and the Company received $4,386,998 proceeds from this exercise.

 

The Pre-funded Warrants were offered and sold to purchasers whose purchase of Common Stock in the Offering would otherwise result in the purchaser, together with its affiliates and certain related parties, beneficially owning more than 4.99% (or, at the election of the purchaser, 9.99%) of the Company’s outstanding Common Stock immediately following the consummation of the Offering in lieu of Common Stock that would otherwise result in the purchaser’s beneficial ownership exceeding 4.99% of the Company’s outstanding Common Stock (or, at the election of the purchaser, 9.99%). Each Pre-funded Warrant is exercisable for one share of Common Stock at an exercise price of $0.01 per share. The Pre-funded Warrants are immediately exercisable and may be exercised at any time until all of the Pre-funded Warrants are exercised in full. All of the Pre-Funded Warrants were exercised as of December 31, 2021.

 

The Company incurred approximately $49,553 in expenses related to the July Offering and subsequent warrants exercises, including SEC fees, FINRA fees, auditor fees and filing fees.

 

The following table presents net funds received from the July Offering and warrants exercised as of December 31, 2021.

 

   Shares   Par value   Amount received 
Offering   5,324,139   $5,324   $28,957,297 
Exercise of Pre-Funded Units   9,770,200   $9,770   $97,702 
Exercise of Underwriter’s Over-Allotment Option   2,264,150   $2,264   $4,386,998 
Offering Expenses   -   $-   $(49,553)
Total   17,358,489   $17,358   $33,392,444 

 

97

 

 

On December 5, 2021, the Company entered into an underwriting agreement (the “Underwriting Agreement”) with Aegis Capital Corp., as the sole book-running manager and representative of the underwriters named therein (the “Underwriters”), relating to an underwritten public offering (the “December Offering”) of (i) 18,076,666 shares of common stock, par value $0.001 per share (the “Common Stock”), at a price to the public of $0.60 per share of Common Stock and (ii) 31,076,666 pre-funded warrants (the “Pre-funded Warrants”) to purchase 31,076,666 shares of Common Stock, at a price to the public of $0.599 per Pre-funded Warrant. The December Offering closed on December 8, 2021. As a result of the December Offering and subsequent exercise notice received for the pre-funded warrants, the net proceeds to the Company were $27,231,875.

 

The Company granted the Underwriters a 45-day over-allotment option to purchase up to 7,500,000 additional shares of Common Stock. The Company also paid the Underwriters an underwriting discount equal to 7% of the gross proceeds of the Offering and a non-accountable expense fee equal to 1% of the gross proceeds of the Offering. On December 14, 2021, the Company consummated the sale of these 7,500,000 shares of Common Stock, representing 15% of the shares of common stock and the shares underlying the Pre-funded Warrants sold in the offering, that were subject to the underwriters’ over-allotment option at a price of $0.60 per share, generating net proceeds of $4,115,000.

 

The Pre-funded Warrants were offered and sold to purchasers whose purchase of Common Stock in the Offering would otherwise result in the purchaser, together with its affiliates and certain related parties, beneficially owning more than 4.99% (or, at the election of the purchaser, 9.99%) of the Company’s outstanding Common Stock immediately following the consummation of the Offering. Each Pre-funded Warrant is exercisable for one share of Common Stock at an exercise price of $0.001 per share. The Pre-funded Warrants are immediately exercisable and may be exercised at any time until all of the Pre-funded Warrants are exercised in full. At December 31, 2021 15,233,288 warrants were exercised, some in cashless exercise transactions.

 

The Company incurred approximately $40,621 in expenses related to the December Offering and subsequent warrants exercises, including SEC fees, FINRA fees, auditor fees and filing fees.

 

The following table presents net funds received from the December Offering and warrants exercised as of December 31, 2021.

 

   Shares   Par value   Amount received 
Offering   18,923,334   $18,923   $27,263,673 
Exercise of Pre-Funded Units   15,223,333   $15,223   $8,823 
Exercise of Underwriter’s Over-Allotment Option   7,500,000   $7,500   $4,115,000 
Offering Expenses   -   $-   $(40,621)
Total   41,646,667   $41,647   $31,346,875 

 

On December 31, 2021, there were 86,618,446 common shares issued and outstanding.

 

The following table summarizes the warrant activity for the year ended December 31, 2021.

 

   Warrant for
Common
Shares
   Weighted
Average
Exercise Price
   Remaining Contractual
Term
(Years)
   Aggregate
Intrinsic
Value
 
Warrants Outstanding as of December 31, 2020   108,000   $9.80    2.91   $- 
Warrants Vested and exercisable at December 31, 2020   108,000   $9.80    2.91   $- 
Granted   55,607,621    1.10           
Exercised   (27,182,474)   0.41           
Forfeited, cancelled, expired   -    -           
Warrants Outstanding as of December 31, 2021   28,533,147   $1.79    1.88   $- 
Warrants Vested and exercisable at December 31, 2021   28,533,147   $1.79    1.88   $- 

 

98

 

 

GigWorld Inc. Sale of Shares

 

In year ended December 31, 2021, the Company sold 280,000 shares of GigWorld to international investors for the amount of $280,000, which was booked as addition paid-in capital. The Company held 505,381,376 shares of the total outstanding shares 506,898,576 before the sale. After the sale, the Company still owns approximately 99% of GigWorld’s total outstanding shares.

 

In year ended December 31, 2020, the Company sold 497,300 shares of GigWorld to international investors with the amount of $478,300, which was booked as addition paid-in capital. The Company held 505,667,376 shares of the total outstanding shares 506,898,576 before the sale. After the sale, the Company still owns approximately 99% of GigWorld’s total outstanding shares.

 

During the years ended December 31, 2021 and 2020, the sales of GigWorld’s shares were de minimis compared to its outstanding shares and did not change the minority interest.

 

Distribution to Minority Shareholder

 

In 2021, SeD Maryland Development LLC Board approved the payment distribution plan to members and paid $2,549,750 in distribution to the minority shareholder. In 2020, SeD Maryland Development LLC Board approved the payment distribution plan to members and paid $411,250 in distribution to the minority shareholder.

 

Changes of Ownership of Alset International

 

In 2020, Alset International issued 563,197,062 common shares through warrants exercise with exercise price approximately $0.03 per share and received $18,012,959. On March 27, 2020, Alset International granted 7,500,000 common shares to its employees in the performance share award plan. The fair value of $146,853 of these shares was based on the market price on the granted day and was recorded as both compensation expense and equity in the financial statements. On June 5, 2020, the shareholder meeting approved 35,278,600 shares granted to the directors. The fair value of $1,417,523 was based the June 5, 2020, the grant day, market price and was recorded as both compensation expense and equity in the financial statements. During the year ended December 31, 2020, the stock-based compensation expense was $1,564,376. On August 20, 2020, the Company acquired 30,000,000 common shares from Chan Heng Fai in exchange for a two-year non-interest bearing note of $1,333,429. On December 30, 2020, the Company exercised part of its warrants to purchase 220,000,000 shares of Alset International by paying of $6,632,499.

 

In the year ended December 31, 2021, Alset International issued 1,721,303,416 common shares through warrants exercise with exercise price of approximately $0.04 per share and received $60,300,464 cash, which included approximately $58 million from Alset EHome International to exercise its warrants to purchase Alset International common shares. The warrant exercise transactions between Alset EHome International and Alset International were intercompany transactions and only affected change in non-controlling interest on the consolidated statements of stockholders’ equity. During the year ended December 31, 2021, the stock-based compensation expense of Alset International was $73,292 with the issuance of 1,500,000 shares to an officer. The Company’s ownership of Alset International changed from 57.1% as of December 31, 2020 to 76.8% as of December 31, 2021.

 

Changes of Ownership Percentage of Alset International

 

On July 13, 2020, due to share grants and warrant exercises, the Company’s ownership percentage of Alset International fell below 50% and the entity was deconsolidated in accordance with ASC 810-10-45-5. A gain of approximately $53 million was recorded as a result of the deconsolidation.

 

Upon deconsolidation the Company elected to apply the Fair Value Option under ASU 2016-01 to the investment in Alset International as the Company still retained significant influence of the subsidiary.

 

99

 

 

11. ACCUMULATED OTHER COMPREHENSIVE INCOME

 

The following is a summary of the changes in the balances of accumulated other comprehensive income, net of tax:  

 

                     
   Unrealized Gains and Losses on Security Investment   Foreign Currency Translations   Change in Minority Interest   Total 
Balance at January 1, 2021  $(48,758)  $2,258,017   $(65,921)  $2,143,338 
                     
Other Comprehensive Income   (41,273)   (2,625,912)   865,493    (1,801,692)
                     
Balance at December 31, 2021  $(90,031)  $(367,895)  $799,572   $341,646 

  

   Unrealized Gains and Losses on Security Investment   Foreign Currency Translations   Change in Minority Interest   Total 
Balance at January 1, 2020  $(59,888)  $1,603,145   $(84,968)  $1,458,289 
                     
Other Comprehensive Income   11,130    654,872    19,047    685,049 
                     
Balance at December 31, 2020  $(48,758)  $2,258,017   $(65,921)  $2,143,338 

 

12. LEASE INCOME

 

The Company generally rents its SFRs under lease agreements with a term of one year. Future minimum rental revenue under existing leases on our properties at December 31, 2021 in each calendar year through the end of their terms are as follows:

SCHEDULE OF FUTURE MINIMUM RENTAL PAYMENTS

      
2022   464,343 
Total Future Receipts  $464,343 

 

Property Management Agreements

 

The Company has entered into property management agreement with the property managers under which the property managers generally oversee and direct the leasing, management and advertising of the properties in our portfolio, including collecting rents and acting as liaison with the tenants. The Company pays its property managers a monthly property management fee for each property unit and a leasing fee. For the years ended December 31, 2021 and 2020, property management fees incurred by the property managers were $15,390 and $0, respectively. For the years ended December 31, 2021 and 2020, leasing fees incurred by the property managers were $63,880 and $0, respectively.

 

13. DISCONTINUED OPERATIONS

 

Impact BioMedical Inc.

 

On April 27, 2020, Global BioMedical Pte Ltd (“GBM”), one of our subsidiaries, entered into a share exchange agreement with DSS BioHealth Security, Inc. (“DBHS”), a wholly owned subsidiary of DSS, Inc. (“DSS”), pursuant to which, DBHS will acquire all of the outstanding capital stock of Impact BioMedical Inc., wholly owned subsidiary of GBM, through a share exchange. The aggregate consideration to be issued to GBM for the Impact BioMedical shares will be the following: (i) 483,334 newly issued shares of DSS common stock; and (ii) 46,868 newly issued shares of a new series of DSS perpetual convertible preferred stock with a stated value of $46,868,000, or $1,000 per share. The convertible preferred stock can be convertible into shares of DSS common stock at a conversion price of $6.48 of preferred stock stated value per share of common stock, subject to a 19.9% beneficial ownership conversion limitation (a so-called “blocker”) based on the total issued outstanding shares of common stock of DSS beneficially owned by GBM. Holders of the convertible preferred stock will have no voting rights, except as required by applicable law or regulation, and no dividends will accrue or be payable on the convertible preferred stock. The holders of convertible preferred stock will be entitled to a liquidation preference of $1,000 per share, and DSS will have the right to redeem all or any portion of the then outstanding shares of convertible preferred stock, pro rata among all holders, at a redemption price per share equal to such liquidation value per share.

 

100

 

 

Under ASU 2014-08, a disposal transaction meets the definition of a discontinued operation if all of the following criteria are met:

 

1. The disposal group constitutes a component of an entity or a group of components of an entity
   
2. The component of an entity (or group of components of an entity) meets the held-for-sale classification criteria, is disposed of by sale, or is disposed of other than by sale (e.g., “by abandonment, in an exchange measured based on the recorded amount of the nonmonetary asset relinquished, or in a distribution to owners in a spinoff”).
   
3. The disposal of a component of an entity (or group of components of an entity) “represents a strategic shift that has (or will have) a major effect on an entity’s operations and financial results”.

 

Impact Biomedical Inc. is a group of subsidiaries of AEI and operates independently with its own financial reporting. The transaction is a disposal by sale and has a major effect on AEI’s financial results. Since it meets all above test criteria, we treated this disposal transaction as a discontinued operation in our financial statements.

 

On August 21, 2020, the transaction closed and Impact BioMedical Inc became a direct wholly owned subsidiary of DBHS. GBM received 483,334 shares of DSS common stock and 46,868 shares of DSS preferred stock, which preferred shares could be converted to 7,232,716 common shares (however, any conversion will be subject to the blocker GBM has agreed to, as described above). After this transaction, we hold 500,001 shares of the common stock of DSS, representing 9.7% of the outstanding common stock of DSS. Our CEO, Chan Heng Fai is the owner of the common stock of DSS (not including any common or preferred shares we hold) and is the executive chairman of the board of directors of DSS. The Company has elected the fair value option for the DSS common stock that would otherwise be accounted for under the equity method of accounting. ASC 820, Fair Value Measurement and Disclosures, defines fair value of the financial assets. We value DSS common stock under level 1 category through quoted prices and preferred stock under level 3 category through an Option-Pricing Method. Under the “blocker” term in the agreement, the Company could convert 4,293 shares Convertible Preferred Stock into 662,500 shares of the common stock of DSS as of September 30, 2020. The quoted price of DSS common stock was $6.95 as of August 21, 2020. The total fair value of DSS common and preferred stocks GBM received as consideration for the disposal of Impact BioMedical was $46,284,171. As of August 21, 2020, the net asset value of Impact BioMedical was $94,011. The difference of $46,190,160 was recorded as additional paid in capital. We did not recognize gain or loss from this transaction as it was a related party transaction.

 

The composition of assets and liabilities included in discontinued operations is as follows:

 

   December 31,   December 31, 
   2021   2020 
Assets          
Cash  $        -   $          - 
Prepaid Expense   -    - 
Total Asset  $-   $- 
           
Liabilities          
Accounts Payable  $-   $- 
Total Liabilities  $-   $- 

 

101

 

 

The financial results of discontinued operations are as follows:

 

   2021   2020 
   Years Ended December 31, 
   2021   2020 
         
Revenue  $-   $- 
           
Operating Expense          
Research & Development   -    246,915 
General & Administration   -    170,035 
Total Operating Expense   -    416,950 
           
Loss from Security Investment by Equity Method   -    - 
Loss from Acquisition   -    - 
Other Expense   -    488 
           
Loss from Discontinued Operations  $-   $(417,438)

 

The cash flows attributable to the discontinued operation are as follows:

 

   Year Ended
December 31, 2021
   Year Ended
December 31, 2020
 
         
Operating  $-   $(422,188)
Investing   -    - 
Financing   -    - 
Net Change in Cash  $-   $(422,188)

 

14. INVESTMENTS MEASURED AT FAIR VALUE

 

Financial assets measured at fair value on a recurring basis are summarized below and disclosed on the consolidated balance sheets as of December 31, 2021 and 2020: 

  

       Fair Value Measurement Using     
   Amount at Cost   Level 1   Level 2   Level 3   Amount at Fair Value 
December 31, 2021                         
Assets                         
Investment Securities- Fair Value Option  $72,000,301   $25,320,694   $-   $-   $25,320,694 
Investment Securities- Trading   9,809,778    9,908,077    -    -    9,908,077 
Convertible Note Receivable   138,599    -    -    98,398    98,398 
Warrants - American Premium Water   696,791    -    -    1,009,854    1,009,854 
Warrants - AMRE   -    -    -    -    - 
Total Investment in Securities at Fair Value  $82,645,469   $35,228,771   $-   $1,108,252   $36,337,023 

 

102

 

 

       Fair Value Measurement Using     
   Amount at Cost   Level 1   Level 2   Level 3   Amount at Fair Value 
December 31, 2020                         
Assets                         
Investment securities- Fair Value Option  $7,404,911   $10,549,102   $-   $-   $10,549,102 
Investment securities- Trading   17,650    18,654    -    -    18,654 
Convertible Preferred Stock   42,889,000    -    -    37,675,000    37,675,000 
Convertible Note Receivable   50,000    -    -    66,978    66,978 
Warrants - American Premium Water   860,342    -    -    862,723    862,723 
Warrants - AMRE   -    -    -    -    - 
Stock Options - Vivacitas   -    -    -    -    - 
Total Investment in Securities at Fair Value  $51,221,903   $10,567,756   $-   $38,604,701   $49,172,457 

 

Realized loss on investment securities for the year ended December 31, 2021 and 2020 was $4,698,078 and $192,459, respectively. Unrealized loss on securities investment was $49,190,748 and $1,694,535 in the years ended December 31, 2021 and 2020, respectively. These losses were recorded directly to net loss. The change in fair value of the convertible note receivable in the years ended December 31, 2021 and 2020 was $57,179 and $19,486, respectively, and was recorded in consolidated statements of stockholders’ equity.

 

For U.S. trading stocks, we use Bloomberg Market stock prices as the share prices to calculate fair value. For overseas stock, we use the stock price from local stock exchange to calculate fair value. The following chart shows details of the fair value of equity security investments at December 31, 2021 and 2020, respectively.  

 SCHEDULE OF FAIR VALUE OF EQUITY SECURITY INVESTMENT

   Share price         Market Value    
   12/31/2021     Shares   12/31/2021   Valuation
                
DSS (Related Party)  $0.672    19,888,262*  $13,364,912   Investment in Securities at Fair Value
                   
AMBS (Related Party)  $0.016    20,000,000   $328,000   Investment in Securities at Fair Value
                   
Holista (Related Party)  $0.034    43,626,621   $1,489,179   Investment in Securities at Fair Value
                   
American Premium Water (Related Party)  $0.002    354,039,000   $778,886   Investment in Securities at Fair Value
                   
True Partner  $0.119    62,122,908   $7,409,717   Investment in Securities at Fair Value
                   
Value Exchange  $0.300    6,500,000   $1,950,000   Investment in Securities at Fair Value
                   
Trading Stock            $9,908,077   Investment in Securities at Fair Value
                   
    Total Level 1 Equity Securities     $35,228,771    
Nervotech     N/A      1,666   $37,045   Investment in Securities at Cost
HWH World Co.     N/A      20,000   $42,562   Investment in Securities at Cost
K Beauty     N/A      3,600   $19,609   Investment in Securities at Cost
                   
         Total Equity Securities     $35,327,987    

 

   Share price       Market Value    
   12/31/2020     Shares   12/31/2020   Valuation
                
DSS (Related Party)  $6.240    1,162,501*  $7,254,006   Investment in Securities at Fair Value
                   
AMBS (Related Party)  $0.008    20,000,000   $160,000   Investment in Securities at Fair Value
                   
Holista (Related Party)  $0.055    46,226,673   $2,565,468   Investment in Securities at Fair Value
                   
American Premium Water (Related Party)  $0.002    122,039,000   $256,284   Investment in Securities at Fair Value
                   
Optimum Bank (Related Party)  $3.370    92,980   $313,343   Investment in Securities at Fair Value
                   
Trading Stock            $18,654   Investment in Securities at Fair Value
    Total Level 1 Equity Securities     $10,567,755    
Vivacitas (Related Party)     N/A     2,480,000   $200,128   Investment in Securities at Cost
Nervotech     N/A     1,666   $37,826   Investment in Securities at Cost
HWH World Co.     N/A     20,000   $42,562   Investment in Securities at Cost
         Total Equity Securities     $10,848,271    

 

*Ratio of 1-for-30 (the “Reverse Split”) was effective at 5:01 p.m. Eastern Time on May 7, 2020 (the “Effective Time”).

 

103

 

 

DSS convertible preferred stock

 

The DSS convertible preferred stock under level 3 category was valued on Option Pricing Method (OPM) in determining the fair value. As of December 31, 2020, the Company held 42,575 shares of DSS convertible preferred stock, which could convert to 6,570,216 common shares, with fair market value $37,675,000. As of August 21, 2020, the Company held 46,868 shares of DSS convertible preferred stock, which could convert to 7,232,716 common shares, with fair market value $42,889,000. The following table shows the parameters adopted in the valuation at the valuation dates.

 

 

  

As of

December 31, 2020

  

As of

August 21, 2020

 
         
Stock price   6.24    6.95 
Risk-free rate   0.93%   0.63%
Volatility   113.69%   111.99%
Expected Exit Date   December 31, 2023    August 21,2023 
Dividend Yield   0.00    0.00 

 

The selected stock prices represent the close market bid price of DSS on the valuation date. Risk-free interest rates were obtained from Bloomberg. The volatility is based on the historical volatility of the DSS common stock. We assumed a three-year life for the preferred stock and assumed that after three-years the Company would desire to begin receiving a return on this investment – either through a conversion or liquidation. Given the Beneficial Ownership limited on the exercise of the Series A Preferred Shares, we have assumed that Alset International will sell their common stocks in the Target Company such that their shareholding does not exceed 19.99% prior to conversion. We have assessed the Discount for Lack of Marketability (DLOM) of this interest using a put option method and adopted Black Scholes Option Pricing Model to estimate the DLOM

 

During the year ended December 31, 2021, Global BioMedical Pte Ltd. converted 42,575 preferred stock of DSS into 6,570,170 common shares of DSS.

 

Sharing Services Convertible Note

 

The fair value of the Sharing Services Convertible Note under level 3 category as of December 31, 2021 and 2020 was calculated using a Black-Scholes valuation model valued with the following weighted average assumptions:

 

  

December 31,

2021

  

December 31,

2020

 
         
Dividend yield   0.00%   0.00%
Expected volatility   138.85%   210.07%
Risk free interest rate   3.25%   0.13%
Contractual term (in years)   0.76    1.76 
Exercise price  $0.15   $0.15 

 

We assumed dividend yield rate is 0.00% in Sharing Services. The volatility is based on the historical volatility of the Sharing Services’ common stock. Risk-free interest rates were obtained from U.S. Treasury rates for the applicable periods.

 

Changes in the observable input values would likely cause material changes in the fair value of the Company’s Level 3 financial instruments. A significant increase (decrease) in this likelihood would result in a higher (lower) fair value measurement.

 

The table below provides a summary of the changes in fair value which are recorded as other comprehensive income (loss), including net transfers in and/or out of all financial assets measured at fair value on a recurring basis using significant unobservable inputs (Level 3) during the years ended December 31, 2021 and 2020:

 

104

 

 

   Total 
Balance at January 1, 2020  $26,209 
Acquisition of APW Warrants   862,723 
Net gain   40,769 
Acquisition of DSS Preferred Stock   37,675,000 
Balance at December 31, 2020  $38,604,701 
Net loss   (57,179)
Conversion of DSS Preferred Stock   (37,439,270)
Balance at December 31, 2021  $1,108,252 

 

Vector Com Convertible Bond

 

On February 26, 2021, the Company invested approximately $88,599 in the convertible bond of Vector Com Co., Ltd (“Vector Com”), a private company in South Korea. The interest rate is 2% per annum and maturity is two years. The conversion price is approximately $21.26, per common share of Vector Com. As of December 31, 2021, the management estimated that the fair value of this note remained unchanged from its initial purchase price.

 

Warrants

 

On March 2, 2020 and October 29, 2021, the Company received warrants to purchase shares of AMRE, a related party private startup company, in conjunction with the Company lending two $200,000 promissory notes. For further details on this transaction, refer to Note 9 - Related Party Transactions, Note Receivable from a Related Party Company. As of December 31, 2021 and 2020, AMRE was a private company. Based the management’s analysis, the fair value of the warrants was $0 as of December 31, 2021 and 2020.

 

On July 17, 2020, the Company purchased 122,039,000 shares, approximately 9.99% ownership, and 1,220,390,000 warrants with an exercise price of $0.0001 per share, from APW, for an aggregated purchase price of $122,039. During 2021, the Company exercised 232,000,000 of the warrants to purchase 232,000,000 shares of APW for the total consideration of 232,000, leaving the balance of outstanding warrants of 988,390,000 at December 31, 2021. We value APB warrants under level 3 category through a Black Scholes option pricing model and the fair value of the warrants from APW was $862,723 as of December 31, 2020 and $1,009,854 as of December 31, 2021.

 

The fair value of the APW warrants under level 3 category as of December 31, 2021 and 2020 was calculated using a Black-Scholes valuation model valued with the following weighted average assumptions:

 

   As of   As of 
   December 31, 2021   December 31, 2020 
Stock Price  $0.0022   $0.0021 
Exercise Price  $0.001   $0.001 
Risk-free Interest Rate   1.48%   0.88%
Annualized volatility   186.5%   178.86%
Dividend Yield   0.00    0.00 
Year to Maturity   8.58    9.58 

 

105

 

 

The following table presents summarized financial information for our investments that we elected the fair value option that would otherwise be accounted for under the equity method of accounting.

 

   Summarized Financial Information 
   Assets   Liabilities   Net Income (Loss) 
December 31, 2021               
APW (Unaudited)*  $395,258   $3,990,098   $(1,089,440)
Holista**  $5,012,451   $2,275,422   $(989,391)
DSS*  $219,076,000   $19,784,000   $(25,777,333)
December 31, 2020               
APW (Unaudited)  $456,612   $3,872,860   $(861,031)
Holista  $6,208,762   $2,628,463   $3,926,026 
DSS  $91,919,000   $15,374,000   $1,418,000 

 

* Data derived from Financial Statement as of September 30, 2021 which was the latest available date source we could reach. 12-month Net Loss was estimated by adding one-third of 9-month Net Loss.
   
** Data derived from Financial Statement as of June 30, 2021 which was the latest available date source we could reach. 12-month Net Loss was estimated by doubling 6-month Net Loss.

 

 

15. INCOME TAXES

 

US Income Taxes

 

The components of income tax expense and the effective tax rates for the years ended December 31, 2021 and 2020 are as follows:

 

         
   Year Ended December 31, 
   2021   2020 
Current:          
Federal  $45,736   $- 
State   46,179    11,633 
Total Current   91,916    11,633 
Deferred:          
Federal   (2,725,007)   (1,488,666)
State   (1,266,545)   (563,779)
Total Deferred   (3,991,553)   (2,052,445)
Valuation Allowance   3,991,553    2,052,445 
Total Income Tax Expense  $91,916   $11,633 
           
Pre-tax Loss  $(118,483,577)  $(3,972,454)
           
Effective Income Tax Rate   -0.1%   -0.3%

 

106

 

 

A reconciliation of our income tax expense at federal statutory income tax rate of 21% to our income tax expense at the effective tax rate is as follows:

 

         
   Year Ended December 31, 
   2021   2020 
Federal Statutory Tax Rate   21.0%   21.0%
State Income Tax, Net of Federal Income Taxes   0.0%   0.4%
Intercompany Management & Oversight Fees   -0.1%   -2.5%
Capitalized Construction Costs   0.2%   5.9%
Minority interest in Partnerships   0.1%   0.9%
Deferred Finance Costs   -0.2%   -6.6%
Amort of BCF Debt Discount   -9.0%   0.0%
Miscellaneous Permanent Items   0.0%   0.4%

Non includible foreign entities loss/(income)

   -9.6%   -22.3%
Valuation Allowance   -2.5%   2.5%
Effective Income Tax Rate   -0.1%   -0.3%

 

Deferred tax assets consist of the following at December 31, 2021 and 2020:

 

   2021   2020 
Interest Income  (5,660,333)  (5,083,993)
Interest Expense   5,100,076    4,664,342 
Depreciation and Amortization   (10,434)   (6,362)
Impairment   2,253,228    2,253,228 
Accrued Expense   60,662    8,895 
Unrealized Loss on Investment   2,512,554    - 
Partnership Loss   13,175    13,175 
Others   (224,637)   16,178 
Net Operating Loss   2,047,388    186,981 
Total deferred tax asset  6,091,679   2,052,445 
Valuation Allowance   (6,091,679)   (2,052,445)
Net Deferred Tax Asset   -    - 

 

As of December 31, 2021, the Company has Federal and State net operating loss carry-forwards of approximately $7,660,000, and $6,732,000, respectively. The full utilization of the deferred tax assets in the future is dependent upon the Company’s ability to generate taxable income. Accordingly, a valuation allowance of an equal amount has been established. During the year ended December 31, 2021, the valuation allowance increased by $3,991,552.

 

As of December 31, 2021, total tax receivable is $151,211, including federal income tax receivable $77,390, and Maryland state income tax receivable $73,821. As of December 31, 2020, total current tax liability is $11,633, including federal income tax liability $0, and Maryland state income tax liability $11,633.

 

We are subject to U.S. federal income tax as well as income tax of certain state jurisdictions. We have substantially concluded all U.S. federal income tax and state tax matters through 2017. However, our federal tax returns for the years 2018 through 2020 remain open to examination. State tax jurisdiction tax years remain open to examination as well, though we believe that any additional assessment would be immaterial to the Consolidated Financial Statements.

 

107

 

 

Income taxes – Other Countries

 

On December 31, 2021 and 2020, foreign subsidiaries have tax losses of approximately $1.99 million and $337,000, respectively, which are available for offset against future taxable profits, subject to the agreement of the tax authorities and compliance with the relevant provisions. The deferred tax assets arising from these tax losses have not been recognized because it is not probable that future taxable profits will be available to use these tax assets. The following charts show the details in different regions as of December 31, 2021 and 2020.

 

As of December 31, 2021:

 

   SG Companies   HK Companies   KR Companies   AU Companies   Total 
Calculation:                         
Cumulative loss & other deferred tax assets before tax  $(11,692,089)  $-   $-   $-   $(11,692,089)
Effective tax rates   17.00%   16.50%   19.24%   30.00%     
Tax at the domestic tax rates applicable to profits in the countries where the Company operates  $(1,987,655)  $-   $-   $-   $(1,987,655)
                          
Adjustments:                         
Deferred tax assets not recognized  $1,987,655   $-   $-   $-   $1,987,655 
                          
Income tax expenses recognized in profit or loss  $-   $-   $442,098   $-   $442,098 

 

As of December 31, 2020:

 

   SG Companies   HK Companies   KR Companies   AU Companies   Total 
Calculation:                         
Cumulative loss & other deferred tax assets before tax  $(1,801,455)  $-   $(123,278)  $-   $(1,924,733)
Effective tax rates   17.00%   16.50%   25.00%   30.00%     
Tax at the domestic tax rates applicable to profits in the countries where the Company operates  $(306,247)  $-   $(30,819)  $-   $(337,066)
                          
Adjustments:                         
Deferred tax assets not recognized  $306,247   $-   $30,819   $-   $337,066 
                          
Income tax expenses recognized in profit or loss  $-   $-   $-   $-   $- 

 

16. COMMITMENTS AND CONTINGENCIES

 

Leases

 

The Company leases offices in Maryland, Singapore, Magnolia, Texas, Hong Kong and South Korea through leased spaces aggregating approximately 16,446 square feet, under leases expiring on various dates from April 2022 to September 2024. The leases have rental rates ranging from $2,265 to $21,500 per month. Our total rent expense under these office leases was $587,685 and $413,240 in 2021 and 2020, respectively. The following table outlines the details of lease terms:

Office Location   Lease Term as of December 31, 2021
Singapore - AI   June 2021 to June 2022
Singapore – F&B   October 2021 to October 2024
Hong Kong   October 2020 to October 2022
South Korea   August 2020 to August 2022
Magnolia, Texas, USA   November 2021 to April 2022
Bethesda, Maryland, USA   January 2021 to March 2024

 

The Company adopted ASU No. 2016-02, Leases (Topic 842) (“ASU 2016-02”) to recognize a right-of-use asset and a lease liability for all the leases with terms greater than twelve months. We elected the practical expedient to not recognize operating lease right-of-use assets and operating lease liabilities for lease agreements with terms less than 12 months. Operating lease right-of-use assets and operating lease liabilities are recognized based on the present value of the future minimum lease payments over the lease term at commencement date. As our leases do not provide a readily determinable implicit rates, we estimate our incremental borrowing rates to discount the lease payments based on information available at lease commencement. Our incremental borrowings rates are at a range from 0.5% to 4.5% per annum in 2021 and from 0.5% to 4.5% per annum in 2020. The balances of operating lease right-of-use assets and operating lease liabilities as of December 31, 2021 were $659,620 and $667,343, respectively. The balances of operating lease right-of-use assets and operating lease liabilities as of December 31, 2020 were $574,754 and $574,754, respectively.

 

The table below summarizes future payments due under these leases as of December 31, 2021.

 

For the Years Ended December 31:

 

      
2022  $418,219 
2023   163,351 
2024   79,027 
Total Minimum Lease Payments   660,596 
Less: Effect of Discounting   (6,747)
Present Value of Future Minimum Lease Payments   667,343 
Less: Current Obligations under Leases   (283,989)
Long-term Lease Obligations  $383,354 

 

108

 

 

Lots Sales Agreement

 

On November 23, 2015, SeD Maryland Development LLC completed the $15,700,000 acquisition of Ballenger Run, a 197-acre land sub-division development located in Frederick County, Maryland. Previously, on May 28, 2014, the RBG Family, LLC entered into a $15,000,000 assignable real estate sales contract with NVR, by which RBG Family, LLC would facilitate the sale of the 197 acres of Ballenger Run to NVR. On December 10, 2014, NVR assigned this contract to SeD Maryland Development, LLC through execution of an assignment and assumption agreement and entered into a series of lot purchase agreements by which NVR would purchase 443 subdivided residential lots from SeD Maryland Development, LLC. On December 31, 2018, SeD Maryland entered into the Third Amendment to the Lot Purchase Agreement for Ballenger Run with NVR. Pursuant to the Third Amendment, SeD Maryland converted the 5.9 acre CCRC parcel to 36 lots (the 28 feet wide villa lot) and sell to NVR. SeD Maryland pursued the required zoning approval to change the number of such lots from 85 to 121, which was approved in July 2019. Subsequently, SeD Maryland Development signed the Fourth Amendment to the Lot Purchase Agreement, pursuant to which NVR agreed to purchase all of the new 121 lots.

 

During the years ended on December 31, 2021 and 2020, NVR purchased 88 lots and 121 lots, respectively. Through December 31, 2021 and 2020, NVR had purchased a total of 476 and 388 lots, respectively.

 

As part of the contract with NVR, upon establishment of FFB assessments on the lots, the Company is obligated to credit NVR with an amount equal to one year of FFB assessment per each lot purchased by NVR. As of December 31, 2021 the accrued balance due to NVR was $188,125.

 

Promissory Note from Azure

 

Pursuant to a Secured Promissory Note dated as of August 13, 2018, on October 13, 2019 Azure Holdings, LLC, was obligated to pay our subsidiary, 150 CCM Black Oak Ltd, $140,000 in principal, plus accrued interest at the rate of 2.5% per annum through October 13, 2019. Azure Holdings, LLC failed to pay the amount due. Effective as of October 13, 2019, the interest rate increased to a default rate of 18% per annum. The Company has subsequently had numerous communications with Azure Holdings, LLC regarding the payment of this Secured Promissory Note, and attempts to set a schedule for Azure Holdings, LLC to repay the amount due. On August 16, 2021, the Company purchased a 19.5 acre tract of land located in Texas from Azure Holdings and the principal of the note together with all accrued interest was applied as a credit to the purchase price.

 

17. DIRECTORS AND EMPLOYEES’ BENEFITS

 

Stock Option plans AEI

 

The Company previously reserved 500,000 shares of common stock under the Incentive Compensation Plan for high-quality executives and other employees, officers, directors, consultants and other persons who provide services to the Company or its related entities. This plan is meant to enable such persons to acquire or increase a proprietary interest in the Company in order to strengthen the mutuality of interests between such persons and the Company’s shareholders, and providing such persons with performance incentives to expand their maximum efforts in the creation of shareholder value. As of December 31, 2021 and 2020, there have been no options granted. The reservation of shares under the Incentive Compensation Plan was cancelled in May of 2021.

 

Alset International Stock Option plans

 

On November 20, 2013, Alset International approved a Stock Option Plan (the “2013 Plan”). Employees, executive directors, and non-executive directors (including the independent directors) are eligible to participate in the 2013 Plan.

 

109

 

 

The following tables summarize stock option activity under the 2013 Plan for the year ended December 31, 2021:

 

  

Options for Common

Shares

  

Exercise

Price

  

Remaining Contractual Term

(Years)

  

Aggregate Intrinsic

Value

 
                 
Outstanding as of January 1, 2020   1,061,333   $0.09    4.00   $          - 
Vested and exercisable at January 1, 2020   1,061,333   $0.09    4.00   $- 
Granted   -    -           
Exercised   -    -           
Forfeited, cancelled, expired   -    -           
Outstanding as of December 31, 2020   1,061,333   $0.09    3.00   $- 
Vested and exercisable at December 31, 2020   1,061,333   $0.09    3.00   $- 
Granted   -    -           
Exercised   -    -           
Forfeited, cancelled, expired   -    -           
Outstanding as of December 31, 2021   1,061,333   $0.09    2.00   $- 
Vested and exercisable at December 31, 2021   1,061,333   $0.09    2.00   $- 

  

18. SUBSEQUENT EVENTS

 

Purchase of Alset International shares

 

On January 17, 2022 the Company entered into securities purchase agreement with Chan Heng Fai, pursuant to which the Company agreed to purchase from Chan Heng Fai 293,428,200 ordinary shares of Alset International for a purchase price 29,468,977 newly issued shares of the Company’s common stock. On February 28, 2022, the Company and Mr. Chan entered into an amendment to this securities purchase agreement pursuant to which the Company shall purchase these 293,428,200 ordinary shares of Alset International for a purchase price of 35,319,290 newly issued shares of the Company’s common stock. The closing of this transaction with Mr. Chan is subject to approval of the Nasdaq and the Company’s stockholders. These 293,428,200 ordinary shares of Alset International represent approximately 8.4% of the 3,492,713,362 total issued and outstanding shares of Alset International.

 

Sale of Securities of True Partner Limited

 

On January 18, 2022, the Company entered into a stock purchase agreement with DSS, Inc., pursuant to which the Company has agreed to sell, through the transfer of subsidiary and otherwise, 62,122,908 shares of stock of True Partner Capital Holding Limited in exchange for 11,397,080 shares of the common stock of DSS. On February 28, 2022 the Company entered into a revised Stock Purchase Agreement with DSS, Inc., pursuant to which the Company has agreed to replace the January 18, 2022 agreement with a new agreement to sell a subsidiary holding 44,808,908 shares of stock of True Partner Capital Holding Limited, together with an additional 17,314,000 shares of True Partner Capital Holding Limited (for a total of 62,122,908 shares) in exchange for 17,570,948 shares of common stock of DSS (the “DSS Shares”). The issuance of the DSS Shares will be subject to the approval of the NYSE American (on which the common stock of DSS is listed) and DSS’s shareholders.

 

Issuance of Common Stock

 

On January 24, 2022 the Company entered into stock purchase agreement with Chan Heng Fai, pursuant to which the Company agreed to issue to Chan Heng Fai 35,012,120 shares of the Company’s common stock for a purchase price of $0.3713 per share (for an aggregate purchase price of $13,000,000). On February 28, 2022 the Company entered into an agreement with Mr. Chan to terminate this stock purchase agreement.

 

Issuance of Promissory Note

 

On December 13, 2021 the Company entered into a Securities Purchase Agreement with Chan Heng Fai for the issuance and sale of a convertible promissory note in favor of Chan Heng Fai, in the principal amount of $6,250,000. The note bears interest of 3% per annum and is due on the earlier of December 31, 2024 or when declared due and payable by Chan Heng Fai. The note can be converted in part or whole into common shares of the Company at the conversion price of $0.625 or into cash. The loan closed on January 26, 2022 after all closing conditions were met. Mr. Chan opted to convert all of the amount of such note into 10,000,000 shares of the Company’s common stock, which shares were issued on January 27, 2022.

 

Purchase of Shares of DSS

 

On January 25, 2022, the Company agreed to purchase 44,619,423 shares of DSS’s common stock for a purchase price of $0.3810 per share, for an aggregate purchase price of $17,000,000. On February 28, 2022, the Company and DSS agreed to amend this stock purchase agreement. The number of shares of the common stock of DSS that the Company will purchase has been reduced to 3,986,877 shares for an aggregate purchase price of $1,519,000.

 

Initial Public Offering of Alset Capital Acquisition Corp.

 

On February 3, 2022 Alset Capital Acquisition Corp. (“Alset Capital”), a special purpose acquisition company sponsored by the Company and certain affiliates, closed its initial public offering of 7,500,000 units at $10 per unit. Each unit consisted of one of Alset Capital’s shares of Class A common stock, one-half of one redeemable warrant and one right to receive one-tenth of one share of Class A common stock upon the consummation of an initial business combination. Each whole warrant entitles the holder thereof to purchase one share of Class A common stock at a price of $11.50 per share. Only whole warrants are exercisable. The underwriters exercised their over-allotment option in full for an additional 1,125,000 units on February 1, 2022, which closed at the time of the closing of the Offering. As a result, the aggregate gross proceeds of this offering, including the over-allotment, were $86,250,000, prior to deducting underwriting discounts, commissions, and other offering expenses.

 

On February 3, 2022, simultaneously with the consummation of Alset Capital’s initial public offering, Alset Capital consummated the private placement of 473,750 units (the “Private Placement Units”) to the Sponsor, which amount includes 33,750 Private Placement Units purchased by the Sponsor in connection with the underwriters’ exercise of the over-allotment option in full, at a price of $10.00 per Private Placement Unit, generating gross proceeds of approximately $4.7 million (the “Private Placement”) the proceeds of which were placed in the trust account. No underwriting discounts or commissions were paid with respect to the Private Placement. The Private Placement Units are identical to the units sold in the initial public offering, except that (a) the Private Placement Units and their component securities will not be transferable, assignable or saleable until 30 days after the consummation of Alset Capital’s initial business combination except to permitted transferees and (b) the warrants and rights included as a component of the Private Placement Units, so long as they are held by the Sponsor or its permitted transferees, will be entitled to registration rights, respectively.

 

Purchase of Note from DSS

 

On February 25, 2022, Alset International entered into an assignment and assumption agreement with DSS pursuant to which DSS has agreed to purchase a convertible promissory note from Alset International. The note has a principal amount of $8,350,000 and accrued but unpaid interest of $367,400 through May 15, 2022. The note was issued by American Medical REIT, Inc. The consideration to be paid for the note will be 21,366,177 shares of DSS’s common stock. The number of DSS shares to be issued as consideration was calculated by dividing $8,717,400, the aggregate of the principal amount and the accrued but unpaid interest under the Note, by $0.408 per share. The number of shares of DSS common stock to be issued as consideration may be adjusted based on the accrued interest if the parties should agree to close this transaction on a date other than the anticipated date of May 15, 2022. The closing of the assumption agreement and the issuance of the DSS shares described above will be subject to the approval of the NYSE American and DSS’s shareholders.

 

110

 

 

Item 9. Changes in and Disagreements with Accountants on Accounting and Financial Disclosure.

 

Not Applicable.

 

Item 9A. Controls and Procedures.

 

Evaluation of Disclosure Controls and Procedures

 

In connection with the preparation of our Report on Form 10-K, an evaluation was carried out by management, with the participation of our Chief Executive Officers and Chief Financial Officers, of the effectiveness of our disclosure controls and procedures (as defined in Rules 13a-15(e) and 15d-15(e) under the Securities Exchange Act of 1934 (Exchange Act) as of December 31, 2020. Disclosure controls and procedures are designed to ensure that information required to be disclosed in reports filed or submitted under the Exchange Act is recorded, processed, summarized and reported within the time periods specified, and that such information is accumulated and communicated to management, including the Chief Executive Officers and Chief Financial Officers, to allow timely decisions regarding required disclosure.

 

During evaluation of disclosure controls and procedures as of December 31, 2021 conducted as part of our annual audit and preparation of our annual financial statements, management conducted an evaluation of the effectiveness of the design and operations of our disclosure controls and procedures and concluded that our disclosure controls and procedures were ineffective for those reasons set forth below.

 

Management’s Report on Internal Control over Financial Reporting

 

Management is responsible for the preparation and fair presentation of the financial statements included in this annual report. The financial statements have been prepared in conformity with accounting principles generally accepted in the United States of America and reflect management’s judgment and estimates concerning effects of events and transactions that are accounted for or disclosed.

 

Management is also responsible for establishing and maintaining adequate internal control over financial reporting. Our internal control over financial reporting includes those policies and procedures that pertain to our ability to record, process, summarize and report reliable data. Management recognizes that there are inherent limitations in the effectiveness of any internal control over financial reporting, including the possibility of human error and the circumvention or overriding of internal control. Accordingly, even effective internal control over financial reporting can provide only reasonable assurance with respect to financial statement presentation. Further, because of changes in conditions, the effectiveness of internal control over financial reporting may vary over time.

 

In order to ensure that our internal control over financial reporting is effective, management regularly assesses controls and did so most recently for its financial reporting as of December 31, 2020. This assessment was based on criteria for effective internal control over financial reporting described in the Internal Control Integrated Framework issued by the Committee of Sponsoring Organizations (COSO) of the Treadway Commission. In connection with management’s evaluation of the effectiveness of the Company’s internal control over financial reporting as of December 31, 2021, management determined that the Company did not maintain effective controls over financial reporting due to limited staff. This limited number of staff prevents us from segregating duties within our internal control system and restricts our ability to timely evaluate the accuracy and completeness of our financial statement disclosures. Management determined that the ineffective controls over financial reporting constitute a material weakness.

 

This annual report filed on Form 10-K does not include an attestation report of the Company’s registered public accounting firm regarding internal control over financial reporting. Management’s report was not subject to attestation by our registered public accounting firm pursuant to temporary rules of the Securities and Exchange Commission that permit us to provide only management’s report in this annual report.

 

111

 

 

Changes in Internal Control over Financial Reporting

 

We continue taking steps to enhance and improve the design of our internal controls over financial reporting. During the period covered by this Annual Report on Form 10-K, we have not been able to completely remediate the material weaknesses identified above. To remediate such weaknesses, we plan to appoint additional qualified personnel with financial accounting, GAAP, and SEC experience.

 

Item 9B. Other Information.

 

Not Applicable.

 

Item 9C. Disclosure Regarding Foreign Jurisdictions That Prevent Inspections.

 

Not applicable

 

112

 

 

PART III

 

Item 10. Directors, Executive Officers and Corporate Governance.

 

The following table sets forth the names and ages of our executive officers, directors, director nominees and key employees, and their positions with us, as of March 31, 2022:

 

Name   Age   Position(s)
Chan Heng Fai   77   Founder, Chairman of the Board and Chief Executive Officer
Chan Tung Moe   43   Co-Chief Executive Officer
Anthony S. Chan   57   Chief Operating Officer
Lui Wai Leung Alan   51   Co-Chief Financial Officer
Rongguo Wei   50   Co-Chief Financial Officer
Ang Hay Kim Aileen   62   Executive Director
Wong Tat Keung   51   Director
William Wu   55   Director
Wong Shui Yeung   51   Director
Charles MacKenzie   51   Chief Development Officer
Michael Gershon   50   Chief Legal Officer

 

The mailing address for each of the officers and directors named above is c/o of the Company at: 4800 Montgomery Lane, Suite 210, Bethesda, MD, 20814.

 

The principal occupations for the past five years of each of our executive officers, directors, director nominees and key employees are as follows:

 

Executive Officers and Directors

 

Chan Heng Fai founded our company and has served as our Chairman of the Board and Chief Executive Officer since inception. Mr. Chan is an expert in banking and finance, with 45 years of experience in these industries. He has restructured numerous companies in various industries and countries during the past 40 years. Mr. Chan has served as the Chief Executive Officer of our subsidiary Alset International Limited since April 2014. Mr. Chan joined the Board of Directors of Alset International Limited in May 2013. Mr. Chan has also served as the Chairman and Chief Executive Officer of Alset Capital Acquisition Corp. since October 2021. From 1995 to 2015, Mr. Chan served as Managing Chairman of Hong Kong-listed Zensun Enterprises Limited (formerly Heng Fai Enterprises Limited), an investment holding company. Mr. Chan had previously served as a member of the Board of Zensun Enterprises Limited since September 1992. Mr. Chan was formerly the Managing Director of SingHaiyi Group Ltd., a Singapore property development, investment and management company (“SingHaiyi”), from March 2003 to September 2013, and the Executive Chairman of China Gas Holdings Limited, an investor and operator of the city gas pipeline infrastructure in China from 1997 to 2002.

 

Mr. Chan has served as a non-executive director of DSS, Inc. (formerly known as Document Security Systems, Inc.) since January 2017 and as Chairman of the Board since March 2019. Mr. Chan has served as a member of the Board of Directors of OptimumBank Holdings, Inc. since June 2018. He has also served as a non-executive director of our indirect subsidiary LiquidValue Development Inc. since January 2017. Mr. Chan has served as a director of Alset International’s 99.98%-owned subsidiary GigWorld Inc. since October 2014. Mr. Chan has served as a member of the Board of Directors of Sharing Services Global Corporation since April 2020. Mr. Chan has served as a member of the Board of Value Exchange International, Inc. since December 2021. Mr. Chan also served as a non-executive director of Holista CollTech Ltd. from July 2013 until June 2021.

 

Mr. Chan was formerly a director of Global Medical REIT Inc., a healthcare facility real estate company, from December 2013 to July 2015. He also served as a director of Skywest Ltd., a public Australian airline company from 2005 to 2006. Additionally, Mr. Chan served as a member of the Board of Directors of RSI International Systems, Inc., the developer of RoomKeyPMS, a web-based property management system, from June 2014 to February 2019.

 

113

 

 

Mr. Chan has committed that the majority of his time will be devoted to managing the affairs of our company and its subsidiaries; however, Mr. Chan may engage in other business ventures, including other technology-related businesses.

 

As the founder, Chairman, Chief Executive Officer and our largest stockholder, Mr. Chan leads the board and guides our company. Mr. Chan brings extensive real estate and digital transformation technology knowledge to our company and a deep background in growth companies, emerging markets, mergers and acquisitions, and capital market activities. His service as Chairman and Chief Executive Officers creates a critical link between management and the board.

 

Chan Tung Moe was appointed Co-Chief Executive Officer of our Company in July 2021. Chan Tung Moe also serves as the Co-Chief Executive Officer and Executive Director of Alset International. Chan Tung Moe is responsible for Alset International’s international real estate business (including serving as Co-Chief Executive Officer and a member of the Board of Alset International’s subsidiary LiquidValue Development Inc.). Chan Tung Moe has served as a director of DSS, Inc., a NYSE listed company, since September 2020. From April 2014 to June 2015 Chan Tung Moe was the Chief Operating Officer of HKSE listed Zensun Enterprises Limited (formerly known as Heng Fai Enterprises Limited) and was responsible for that company’s global business operations consisting of REIT ownership and management, property development, hotels and hospitality, as well as property and securities investment and trading. Prior to that, he was an executive director (from March 2006 to February 2014) and the Chief of Project Development (from April 2013 to February 2014) SingHaiyi Group Ltd, overseeing its property development projects. He was also a non-executive director of the Toronto Stock Exchange-listed RSI International Systems Inc., a hotel software company, from July 2007 to August 2016.

 

Chan Tung Moe has a diverse background and experience in the fields of property, hospitality, investment, technology and consumer finance. He holds a Master’s Degree in Business Administration with honors from the University of Western Ontario, a Master’s Degree in Electro-Mechanical Engineering with honors and a Bachelor’s Degree in Applied Science with honors from the University of British Columbia. Chan Tung Moe is the son of Chan Heng Fai.

 

The board of directors appointed Chan Tung Moe in recognition of his extensive knowledge of real estate and ability to assist the Company in expanding its business.

 

Ang Hay Kim Aileen has been our Executive Director since March 2018. Ms. Ang has more than 20 years of experience in finance and treasury, legal, human resources and office administration. She is the Senior Vice President, Corporate Services of Alset International, a position she has held since 2013 and a director of various indirect subsidiaries of our company. She also holds a Cert-in-CEHA (Singapore real estate industry certificate) and operates her own real estate business, Ideal Realty Pte Ltd., since 2015. Ms. Ang was General Manager, Corporate Services of Singxpress Ltd. (now known as SingHaiyi Group Ltd.) from 2002 to 2013. She was Senior Sales Director, Resale Division with DTZ Property Network Pte. Ltd., a Singapore real estate company, from 2005 to 2011.

 

Ms. Ang’s day-to-day operational leadership of our various businesses and her knowledge of property development and the real estate business make her well-qualified as a member of the Board.

 

Wong Tat Keung joined the Board of Directors of our company in November 2020. Since 2010, Mr. Wong has served as the director of Aston Wong CPA Limited. Mr. Wong has served as a member of the Board of Directors of Alset Capital Acquisition Corp. since January 2022. He has been an independent non-executive director of Alset International since January 2017. Mr. Wong has been an independent non-executive director of Roma Group Limited, a valuation and technical advisory firm, since March 2016, and has served as an independent non-executive director of Lerthai Group Limited, a property, investment, management and development company, since December 2018. Previously, he served as the director and sole proprietor of Aston Wong & Co., a registered certified public accounting firm, from January 2006 to February 2010. From January 2005 to December 2005, he was a Partner at Aston Wong, Chan & Co., Certified Public Accountants. From April 2003 to December 2004, he served at Gary Cheng & Co., Certified Public Accountants as Audit Senior. He served as an Audit Junior to Supervisor of Hui Sik Wing & Co., certified public accountants from April 1993 to December 1999. He served as an independent non-executive director of SingHaiyi from July 2009 to July 2013 and ZH Holdings from December 2009 to July 2015. Mr. Wong is a Certified Public Accountant admitted to practice in Hong Kong. He is a Fellow Member of Association of Chartered Certified Accountants and an Associate Member of the Hong Kong Institute of Certified Public Accountants. He holds a Master in Business Administration degree (financial services) from the University of Greenwich, London, England.

 

114

 

 

Mr. Wong demonstrates extensive knowledge of complex, cross-border financial, accounting and tax matters highly relevant to our business, as well as working experience in internal corporate controls, making him well-qualified to serve as an independent member of the board. Mr. Wong serves on our Audit Committee, Nominations and Corporate Governance Committee and Compensation Committee.

 

William Wu joined the Board of Directors of our company in November 2020. Mr. Wu, age 54, has served as the managing director of Investment Banking at Glory Sun Securities Limited since January 2019. Mr. Wu has served as a member of the Board of Directors of Alset Capital Acquisition Corp. since January 2022. Mr. Wu previously served as the executive director and chief executive officer of Power Financial Group Limited from November 2017 to January 2019. Mr. Wu has served as a member of the Board of Directors of DSS, Inc. since October of 2019. Mr. Wu has served as a director of Asia Allied Infrastructure Holdings Limited since February 2015. Mr. Wu previously served as a director and chief executive officer of RHB Hong Kong Limited from April 2011 to October 2017. Mr. Wu served as the chief executive officer of SW Kingsway Capital Holdings Limited (now known as Sunwah Kingsway Capital Holdings Limited) from April 2006 to September 2010. Mr. Wu holds a Bachelor of Business Administration degree and a Master of Business Administration degree of Simon Fraser University in Canada. He was qualified as a chartered financial analyst of The Institute of Chartered Financial Analysts in 1996.

 

Mr. Wu previously worked for a number of international investment banks and possesses over 27 years of experience in the investment banking, capital markets, institutional broking and direct investment businesses. He is a registered license holder to carry out Type 6 (advising on corporate finance) and Type 9 (asset management) regulated activities under the Securities and Futures Ordinance (Chapter 571 of the Laws of Hong Kong).

 

Mr. Wu demonstrates extensive knowledge of complex, cross-border financial matters highly relevant to our business, making him well-qualified to serve as an independent member of the board. Mr. Wu serves on our Audit Committee, Nominations and Corporate Governance Committee and Compensation Committee.

 

Wong Shui Yeung joined the Board of Directors of our company in November 2021. Mr. Wong is a practicing member and fellow member of Hong Kong Institute of Certified Public Accountants and a member of Hong Kong Securities and Investment Institute and holds a bachelor’s degree in business administration. He has over 20 years’ experience in accounting, auditing, corporate finance, corporate investment and development, and company secretarial practice. Mr. Wong has served as a member of the Board of Directors of Alset Capital Acquisition Corp. since January 2022. Mr. Wong has served as an independent non-executive director of Alset International Limited since June 2017, the shares of which are listed on the Catalist Board of Singapore Stock Exchange. Mr. Wong was an independent non-executive director of SMI Holdings Group Limited from April 2017 to December 2020, the shares of which were listed on the Main Board of The Stock Exchange of Hong Kong Limited and was an independent non-executive director of SMI Culture & Travel Group Holdings Limited from December 2019 to November 2020, the shares of which are listed on the Main Board of The Stock Exchange of Hong Kong Limited.

 

Mr. Wong’s knowledge of complex, cross-border financial, accounting and tax matters highly relevant to our business, as well as working experience in internal corporate controls, qualify him to serve as an independent member of the board. Mr. Wong serves on our Audit Committee, Nominations and Corporate Governance Committee and Compensation Committee.

 

115

 

 

Anthony S. Chan has served as the Company’s Chief Operating Officer since February 2022. Anthony is a certified public accountant (“CPA”) registered with the State of New York and a seasoned finance executive with over 32 years of professional experience in auditing, SEC reporting, compliance and risk management. Currently, Mr. Chan is the Chief Financial Officer of Sharing Services Global Corporation (OTC:SHRG), and since 2014, Anthony has served as President and Co-founder of CA Global Consulting Inc., and since 2020, as Director of Assurance and Advisory Services of Wei, Wei & Co., LLP, a PCAOB-registered public accounting firm. Previously, Anthony served as Chief Financial Officer of several public companies, including SPI Energy Co., Ltd. (NASDAQ:SPI), Helo Corp. (OTC:HLOC) and Sino-Global Shipping America, Ltd. Prior to that, Mr. Chan was a partner at three full-service CPA firms in New York, namely, UHY LLP, Friedman LLP and Berdon LLP. Anthony holds a Bachelor of Arts degree in Accounting and Economics from Queens College, City University of New York (“CUNY”) and a Master of Business Administration degree in Finance and Investments from Baruch College, CUNY.

 

Lui Wai Leung Alan has been our Co-Chief Financial Officer since March 2018. Mr. Lui has been the Chief Financial Officer of Alset International since November 2016 and served as its Acting Chief Financial Officer since June 2016. Mr. Lui has served as an Executive Director of Alset International since July 2020. Mr. Lui has served as a director of BMI Capital Partners International Ltd, a Hong Kong investment consulting company, since October 2016. He has also served as a director of LiquidValue Asset Management Pte Limited, a Singapore fund management company, since April 2018. Both companies are wholly owned subsidiaries of Alset International. Mr. Lui has served as the Co-Chief Financial Officer of LiquidValue Development since December 2017 and has served as the Co-Chief Financial Officer of Alset EHome Inc. since October 2017. Mr. Lui has served as Chief Financial Officer of GigWorld Inc. since May 2016 and has served as a director of one of GigWorld’s subsidiaries since July 2016. From June 1997 through March 2016, Mr. Lui served in various executive roles at Zensun Enterprises Limited (formerly known as Heng Fai Enterprises Limited), a Hong Kong-listed company, including as Financial Controller. Mr. Lui oversaw the financial and management reporting and focusing on its financing operations, treasury investment and management. He has extensive experience in financial reporting, taxation and financial consultancy and management. Mr. Lui is a certified practicing accountant in Australia and received a Bachelor’s degree in Business Administration from the Hong Kong Baptist University.

 

Rongguo Wei has been our Co-Chief Financial Officer since March 2018. Mr. Wei has served as the Chief Financial Officer of LiquidValue Development since March 2017. Mr. Wei has also served as the Chief Financial Officer of Alset Capital Acquisition Corp. since October 2021. Mr. Wei is a finance professional with more than 15 years of experience working in public and private corporations in the United States. As the Chief Financial Officer of SeD Development Management LLC, Mr. Wei is responsible for oversight of all finance, accounting, reporting and taxation activities for that company. Prior to joining SeD Development Management LLC in August 2016, Mr. Wei worked for several different U.S. multinational and private companies including serving as Controller at American Silk Mill, LLC, a textile manufacturing and distribution company, from August 2014 to July 2016, serving as a Senior Financial Analyst at Air Products & Chemicals, Inc., a manufacturing company, from January 2013 to June 2014, and serving as a Financial/Accounting Analyst at First Quality Enterprise, Inc., a personal products company, from 2011 to 2012. Mr. Wei served as a member of the Board Directors of Amarantus Bioscience Holdings, Inc., a biotech company, from February to May 2017, and has served as Chief Financial Officer of that company from February 2017 until November 2017. Before Mr. Wei came to the United States, he worked as an equity analyst at Hong Yuan Securities, an investment bank in Beijing, China, concentrating on industrial and public company research and analysis. Mr. Wei is a certified public accountant and received his Master of Business Administration from the University of Maryland and a Master of Business Taxation from the University of Minnesota. Mr. Wei also holds a Master in Business degree from Tsinghua University and a Bachelor’s degree from Beihang University.

 

Charles MacKenzie was appointed our Chief Development Officer in December 2019. Mr. MacKenzie has served as a member of the Board of Directors of LiquidValue Development since December 2017. He has served as Chief Executive Officer-United States of Alset EHome Inc. since April 2020 and has served as the Chief Development Officer for SeD Development Management, a subsidiary of Alset EHome Inc., since July 2015. Mr. MacKenzie also serves as a member of the Board of Directors of Alset EHome Inc. since October 2017. He was previously the Chief Development Officer for Inter-American Development (IAD), a subsidiary of Heng Fai Enterprises Limited (now known as Zensun Enterprises Limited) from April 2014 to June 2015. Mr. MacKenzie is the Founder and President of MacKenzie Equity Partners, specializing in mixed-use real estate investments. Mr. MacKenzie was also the owner of Smartbox Portable Storage, a residential moving and storage company, from October 2006 to a successful sale in February 2017. Mr. MacKenzie focuses on acquisitions and development of residential and mixed-use projects within the United States. Mr. MacKenzie specializes in site selection, contract negotiations, marketing and feasibility analysis, construction and management oversight, building design and investor relations. Mr. MacKenzie received a B.A. and graduate degree from St. Lawrence University, where he served on Board of Trustees from 2003 to 2007.

 

116

 

 

Key Employees

 

Michael Gershon has been our Chief Legal Officer since October 2018. Mr. Gershon has served as Chief Legal Officer of our subsidiary SeD Development Management LLC since April 2019 and from February 2017 until April 2019 served as Associate Corporate Counsel of that subsidiary. Prior to joining our company, Mr. Gershon served as an attorney adviser with the Division of Corporation Finance at the U.S. Securities and Exchange Commission from November 2015 until November 2016 and served as an associate at the law firm of Wuersch & Gering LLP from August 2004 until January 2015. Mr. Gershon received a B.A. degree in economics from Boston College and a J.D. from Georgetown University Law Center.

 

Section 16(a) Beneficial Ownership Reporting Compliance

 

To our knowledge, no director, officer or beneficial owner of more than ten percent of any class of our equity securities, failed to file on a timely basis reports required by Section 16(a) of the Exchange Act during the fiscal year ended December 31, 2021.

 

Code of Ethics

 

We have adopted a written code of ethics that applies to all of our directors, officers and employees in accordance with the rules of the Nasdaq Capital Market and the SEC. We have posted a copy of our code of ethics on our company website, and we intend to post amendments to this code, or any waivers of its requirements, on our company website.

 

Conflicts of Interest

 

We comply with applicable state law with respect to transactions (including business opportunities) involving potential conflicts. Applicable state corporate law requires that all transactions involving our company and any director or executive officer (or other entities with which they are affiliated) are subject to full disclosure and approval of the majority of the disinterested independent members of our Board of Directors, approval of the majority of our stockholders or the determination that the contract or transaction is intrinsically fair to us. More particularly, our policy is to have any related party transactions (i.e., transactions involving a director, an officer or an affiliate of our company) be approved solely by a majority of the disinterested independent directors serving on the Board of Directors.

 

Corporate Governance

 

There have been no changes in any state law or other procedures by which security holders may recommend nominees to our board of directors.

 

Board Committees

 

Our Board of Directors has an Audit Committee, a Nominations and Corporate Governance Committee and a Compensation Committee. Each of these committees is currently composed of Wong Tat Keung, William Wu and Wong Shui Yeung.

 

Our Audit Committee and Compensation Committee will each comply with the listing requirements of the Nasdaq Marketplace Rules. At least one member of the Audit Committee will be an “audit committee financial expert,” as that term is defined in Item 407(d)(5)(ii) of Regulation S-K, and each member will be “independent” as that term is defined in Rule 5605(a) of the Nasdaq Marketplace Rules. Our Board of Directors has determined that each of Wong Tat Keung, William Wu and Wong Shui Yeung is independent.

 

117

 

 

Indemnification of Directors and Executive Officers

 

Section 145 of the Delaware General Corporation Law provides for, under certain circumstances, the indemnification of our officers, directors, employees and agents against liabilities that they may incur in such capacities. Below is a summary of the circumstances in which such indemnification is provided.

 

In general, the statute provides that any director, officer, employee or agent of a corporation may be indemnified against expenses (including attorneys’ fees), judgments, fines and amounts paid in settlement, actually and reasonably incurred in a proceeding (including any civil, criminal, administrative or investigative proceeding) to which the individual was a party by reason of such status. Such indemnity may be provided if the indemnified person’s actions resulting in the liabilities: (i) were taken in good faith; (ii) were reasonably believed to have been in or not opposed to our best interests; and (iii) with respect to any criminal action, such person had no reasonable cause to believe the actions were unlawful. Unless ordered by a court, indemnification generally may be awarded only after a determination of independent members of the Board of Directors or a committee thereof, by independent legal counsel or by vote of the stockholders that the applicable standard of conduct was met by the individual to be indemnified.

 

The statutory provisions further provide that to the extent a director, officer, employee or agent is wholly successful on the merits or otherwise in defense of any proceeding to which he or she was a party, he or she is entitled to receive indemnification against expenses, including attorneys’ fees, actually and reasonably incurred in connection with the proceeding.

 

Indemnification in connection with a proceeding by us or in our right in which the director, officer, employee or agent is successful is permitted only with respect to expenses, including attorneys’ fees actually and reasonably incurred in connection with the defense. In such actions, the person to be indemnified must have acted in good faith, in a manner believed to have been in our best interests and must not have been adjudged liable to us, unless and only to the extent that the Court of Chancery or the court in which such action or suit was brought shall determine upon application that, despite the adjudication of liability, in view of all the circumstances of the case, such person is fairly and reasonably entitled to indemnity for such expense which the Court of Chancery or such other court shall deem proper. Indemnification is otherwise prohibited in connection with a proceeding brought on our behalf in which a director is adjudged liable to us, or in connection with any proceeding charging improper personal benefit to the director in which the director is adjudged liable for receipt of an improper personal benefit.

 

Delaware law authorizes us to reimburse or pay reasonable expenses incurred by a director, officer, employee or agent in connection with a proceeding in advance of a final disposition of the matter. Such advances of expenses are permitted if the person furnishes to us a written agreement to repay such advances if it is determined that he or she is not entitled to be indemnified by us.

 

The statutory section cited above further specifies that any provisions for indemnification of or advances for expenses does not exclude other rights under our certificate of incorporation, bylaws, resolutions of our stockholders or disinterested directors, or otherwise. These indemnification provisions continue for a person who has ceased to be a director, officer, employee or agent of the corporation and inure to the benefit of the heirs, executors and administrators of such persons.

 

The statutory provision cited above also grants us the power to purchase and maintain insurance policies that protect any director, officer, employee or agent against any liability asserted against or incurred by him or her in such capacity arising out of his or her status as such. Such policies may provide for indemnification whether or not the corporation would otherwise have the power to provide for it.

 

At present, we do not maintain directors’ and officers’ liability insurance in order to limit the exposure to liability for indemnification of directors and officers, including liabilities under the Securities Act; however, we are in the process of obtaining such insurance.

 

118

 

 

Item 11. Executive Compensation.

 

Summary Compensation Table

 

The following table sets forth the cash and non-cash compensation awarded to or earned by: (i) each individual who served as the principal executive officer and principal financial officer of our company during the years ended December 31, 2021 and 2020; and (ii) each other individual that served as an executive officer of our company at the conclusion of the years ended December 31, 2021 and 2020 and who received more than $100,000 in the form of salary and bonus during such year. We have included the information for certain individuals who were employed and compensated by Alset International Limited or its subsidiaries. Such compensation was paid solely for services rendered to such subsidiary. For purposes of this Report, these individuals are collectively the “named executive officers” of our company.

 

   Year   Salary   Bonus   Stock Awards   Option Awards   Non-equity Incentive Plan Compensation   Non-qualified Deferred Compensation Earnings   All Other Compensation   Total 
Chan Heng Fai   2021    $9    $5,983,858                        $5,983,867 
Chairman and Chief Executive Officer (1)   2020                                 $473,468   $473,468 
                                              
Chan Tung Moe   2021   $215,589   $150,760                            $366,349 
Co-Chief Executive Officer (2) 

2020

                                        
                                              
Lui Wai Leung Alan   2021   $135,735   $57,714                            $193,449 
Co-Chief Financial Officer   2020   $122,534                                 $122,534 
                                              
Rongguo Wei   2021   $136,184   $86,092                            $222,276 
Co-Chief Financial Officer   2020   $116,184                                 $116,184 
                                              
Charles MacKenzie   2021                                 $360,000   $360,000 
Chief Development Officer (3)   2020                                 $240,000   $240,000 

 

(1) Chan Heng Fai was paid bonuses totaling SGD $8,076,472 (USD $5,983,858) in 2021 by our majority owned subsidiary, Alset International Limited. Such payment was based on increases in the NAV and market capitalization of Alset International Limited during the year ended December 31, 2020. In 2022, Chan Heng Fai has been paid bonuses totaling SGD $4,097,874 (USD $3,036,115) by Alset International Limited, including bonuses for increases in the Net Asset Value (“NAV”) and market capitalization of Alset International Limited during the year ended December 31, 2021 (such amount is not included above). Chan Heng Fai is also paid SGD $1 (USD $.74) per month by Alset International Limited. In February of 2022, Chan Heng Fai was paid $4,800,000 by Alset EHome International Inc. as a result of increases in Alset EHome International Inc.’s NAV in the fiscal year ended December 31, 2021 (which amount is also not set forth above).

(2) Chan Tung Moe was previously a consultant to the Company; since July of 2021 he has served as an employee of the Company. Chan Tung Moe is compensated by both the Company and its subsidiary Alset International.

(3) Our Chief Development Officer Charles MacKenzie is compensated by a subsidiary of our company pursuant to a consulting agreement in connection with our subsidiary’s real estate projects. Mr. MacKenzie has served as our Chief Development Officer since December of 2019.

 

119

 

 

Employment and Consulting Agreements

 

On February 8, 2021, the Company and the Company’s subsidiary Alset Business Development Pte. Ltd. (formerly known as Hengfai Business Development Pte. Ltd.) entered into an Executive Employment Agreement (the “Employment Agreement”) with the Company’s Chairman and Chief Executive Officer, Chan Heng Fai. Pursuant to the Employment Agreement, Mr. Chan’s compensation will include a fixed salary of $1 per month and two bonus payments each year consisting of: (i) one payment equal to Five Percent (5%) of the growth in market capitalization the Company experiences in any year; and (ii) one payment equal to Five Percent (5%) of the growth in net asset value the Company experiences in any year. In each case, such payment is to be calculated within seven (7) days of December 31st of each year. Such bonus payments shall be paid in cash or the Company’s common stock, at the election of Mr. Chan.

 

The Company and Alset Business Development Pte. Ltd. entered into a Supplement to the Executive Employment Agreement (the “Supplement”) with Chan Heng Fai on December 13, 2021.This Supplement amended the Employment Agreement. Pursuant to the Employment Agreement, the term of the Employment Agreement was to end on December 31, 2025. The Supplement has amended the Employment Agreement to extend its expiration until December 31, 2030.

 

This Supplement also provides that if there is a change of control at the Company, Chan Heng Fai shall be entitled to cash payment equal to the amount he would have been owed through the term of the Employment Agreement (as extended by the Supplement). Such payment shall be calculated based on the highest annual amount paid to Chan Heng Fai through the date of such change of control. In addition, if Chan Heng Fai is terminated, pursuant to the Supplement, Chan Heng Fai shall be entitled to cash payment equal to the amount he would have been owed through the term of the Employment Agreement (as extended by the Supplement), calculated as described above.

 

The Compensation Committee of the Company’s Board of Directors later recommended that Chan Heng Fai be paid $4,800,000 of the NAV Bonus pursuant to the Employment Agreement and the Supplement. The Company, Alset Business Development Pte. Ltd. and Chan Heng Fai entered into an Amendment to the Employment Agreement, dated as of January 26, 2022 (the “Amendment”), and such bonus was paid. The Amendment provides that in the event that the net asset value of the Company is determined to be a greater or lesser amount than $4,800,000 upon the completion and filing of the Company’s audited financial statements, Mr. Chan shall be entitled to the balance of such amount or shall reimburse the Company, as applicable. The Amendment further provides that the Company shall assume all obligations of Alset Business Development Pte. Ltd. under the Employment Agreement.

 

Chan Heng Fai was paid bonuses totaling SGD $8,076,472 (USD $5,983,858) in 2021 by our majority owned subsidiary, Alset International Limited. Such payment was based on increases in the Net Asset Value (“NAV”) and market capitalization of Alset International during the year ended December 31, 2020. In 2022, Chan Heng Fai has been paid bonuses totaling SGD $4,097,874 (USD $3,036,115) by Alset International, including bonuses for increases in the NAV and market capitalization of Alset International during the year ended December 31, 2021. Chan Heng Fai is also paid SGD $1 (USD $.74) per month by Alset International Limited. Mr. Chan’s current employment agreement with Alset International Limited, dated as of December 10, 2021, provides that Mr. Chan shall continue to be paid SGD $1.00 per month, and shall be entitled to receive a bonus equal to 5% of the market capitalization growth of Alset International and 5% of the annual NAV increase of Alset International. The term of this agreement was made effective to March 25, 2020 and shall end on March 24, 2030. If Alset International terminates the appointment of Mr. Chan (subject to certain exceptions), Alset International shall be obliged to compensate Mr. Chan with a severance payment which will be equivalent to the total remuneration that would have been paid to Mr. Chan as if he had completed his term as the Chief Executive Officer of Alset International (“Severance Payment”). In the event there is a change in control of Alset International, Mr. Chan shall be granted with the option to continue his appointment with Alset International. If Mr. Chan decides not to continue with the appointment, Alset International shall be obliged to compensate Mr. Chan an amount equivalent to the Severance Payment. The Severance Payment shall be for the balance of the tenure of his term and shall be computed based on the highest annual remuneration, including salaries, incentive payments and performance bonus paid to Mr. Chan in the previous years prior to the termination of the appointment. Such Severance Payment shall be paid in cash only.

 

On July 1, 2021 the Company and its subsidiary Alset Business Development Pte. Ltd. (formerly known as Hengfai Business Development Pte. Ltd.) entered into Executive Employment Agreement with the Company’s Co-CEO, Chan Tung Moe. Based on the agreement, Chan Tung Moe’s compensation will include a fixed salary of $10,000 per month. In addition, Chan Tung Moe was paid a signing bonus of $60,000. The term of the Executive Employment Agreement ends on June 30, 2024. Chan Tung Moe is the son of the Chief Executive Office, Chairman and majority shareholder, Chan Heng Fai.  Chan Tung Moe is also compensated by Alset International Limited for his services.

 

Our Chief Development Officer Charles MacKenzie is compensated by a subsidiary of our company pursuant to a consulting agreement in connection with our subsidiary’s real estate projects.

 

Effective as of February 15, 2022, the Company has appointed Anthony S. Chan as the Chief Operating Officer of the Company. Mr. Chan has served as a consultant to the Company since April of 2021. Mr. Chan will continue to be compensated pursuant to the terms of a consulting agreement entered into between the Company and CA Global Consulting Inc., pursuant to which the Company pays Anthony S. Chan’s company $12,000 per month. 

 

Outstanding Equity Awards at Fiscal Year End

 

No stock options or other equity awards were granted to any of our named executive officers during the year ended December 31, 2021.

 

2018 Incentive Compensation Plan

 

Under our 2018 Incentive Compensation Plan (the “Plan”), adopted by our board of directors and holders of a majority of our outstanding shares of common stock in September 2018, 500,000 shares of common stock (subject to certain adjustments) are reserved for issuance upon exercise of stock options and grants of other equity awards. The Plan is designed to serve as an incentive for attracting and retaining qualified and motivated employees, officers, directors, consultants and other persons who provide services to us. The compensation committee of our board of directors administers and interprets the Plan and is authorized to grant stock options and other equity awards thereunder to all eligible employees of our company, including non-employee consultants to our company and directors.

 

The Plan provides for the granting of “incentive stock options” (as defined in Section 422 of the Code), non-statutory stock options, stock appreciation rights, restricted stock, restricted stock units, deferred stock, dividend equivalents, bonus stock and awards in lieu of cash compensation, other stock-based awards and performance awards. Options may be granted under the Plan on such terms and at such prices as determined by the compensation committee of the board, except that the per share exercise price of the stock options cannot be less than the fair market value of our common stock on the date of the grant. Each option will be exercisable after the period or periods specified in the stock option agreement, but all stock options must be exercised within ten years from the date of grant. Options granted under the Plan are not transferable other than by will or by the laws of descent and distribution. The compensation committee of the board has the authority to amend or terminate the Plan, provided that no amendment shall be made without stockholder approval if such stockholder approval is necessary to comply with any tax or regulatory requirement. Unless terminated sooner, the Plan will terminate ten years from its effective date. The Plan also provides that no participant may receive stock options or other awards under the Plan that in the aggregate equal more than 30% of all options or awards issued over the life of the Plan. To date, we have not issued any stock options to officers, directors or employees. The compensation committee intends to grant stock options to key employees and non-executive directors of our company.

 

Director Compensation

 

The following table sets forth the cash and non-cash compensation awarded to or earned by the members of our Board of Directors during the fiscal year ended December 31, 2021, except for Mr. Chan Heng Fai, whose information is set forth in the summary compensation table above:

 

Name  Salary   Bonus   Total Compensation 
Ang Hay Kim Aileen (1)  $88,908   $57,049   $145,957 
Wong Tat Keung (2)  $26,818        $26,818 
William Wu  $12,000        $12,000 
Wong Shui Yeung (3)  $16,818        $16,818 
Robert H. Trapp (4)  $10,000        $10,000 

 

(1) Ms. Ang is compensated as an employee of Alset International.

(2) Mr. Wong is compensated as both a member of the Board of Directors of Alset International and a member of the Company’s Board of Directors.

(3) On November 3, 2021, Mr. Wong Shui Yeung joined the Company’s Board of Directors. Mr. Wong Shui Yeung is compensated as both a member of the Board of Directors of Alset International and a member of the Company’s Board of Directors.

(4) On November 3, 2021, Robert H. Trapp resigned as a member of the Company’s Board of Directors.

 

We intend to compensate each non-employee director through annual stock option grants and by paying a quarterly cash fee. In addition to receiving compensation from our company, Chan Heng Fai has been compensated by our subsidiary, Alset International, for his services as an officer and director of that company and Aileen Ang has been compensated by Alset International for her services as an officer. Certain members of our Board of Directors are currently compensated by Alset International for their services as a director of that company. Our Board of Directors will review director compensation annually and adjust it according to then current market conditions and good business practices.

  

On February 16, 2022, our Board of Directors set the annual cash compensation for the independent members of our Board of Directors for 2022. In addition to their current compensation of $1,000 per month, independent members of the Board of Directors will also be paid an additional payment of $2,000 for each Board or Board Committee meeting that such independent member shall attend during the fiscal year ending December 31, 2022.

 

Certain of our directors are compensated for services on the Board of Directors of companies in which we are a shareholder, including but not limited to DSS, Inc., which compensates Mr. Wu. 

 

120

 

 

Item 12. Security Ownership of Certain Beneficial Owners and Management and Related Stockholder Matters.

 

Security Ownership

 

The following table and accompanying footnotes set forth certain information with respect to the beneficial ownership of our common stock as of March 31, 2022, referred to in the table below as the “Beneficial Ownership Date,” by:

 

each person who is known to be the beneficial owner of 5% or more of the outstanding shares of our common stock;
each member of our board of directors, director nominees and each of our named executive officers individually; and
all of our directors, director nominees and executive officers as a group.

 

Beneficial ownership is determined in accordance with the rules of the SEC. In computing the number of shares beneficially owned by a person and the percentage ownership of that person, shares of common stock subject to stock options or warrants held by that person that are currently exercisable or exercisable within 60 days of the Beneficial Ownership Date and shares of restricted stock subject to vesting until the occurrence of certain events, are deemed outstanding, but are not deemed outstanding for computing the percentage ownership of any other person (however, neither the stockholder nor the directors and officers listed below own any stock options or warrants to purchase shares of our common stock at the present time). The percentages of beneficial ownership are based on 113,187,898 shares of common stock outstanding as of the Beneficial Ownership Date.

 

To our knowledge, except as set forth in the footnotes to this table and subject to applicable community property laws, each person named in the table has sole voting and investment power with respect to the shares set forth opposite such person’s name.

 

Name and Address (1) 

Number of Common Shares

Beneficially Owned

  

Percentage of Outstanding

Common Shares

 
Chan Heng Fai (2)   35,527,647    31.4%
Chan Tung Moe   0    0.0%
Anthony S. Chan          
Lui Wai Leung Alan   0    0.0%
Rongguo Wei   0    0.0%
Ang Hay Kim Aileen   0    0.0%
Wong Tat Keung   0    0.0%
William Wu   0    0.0%
Wong Shui Yeung   0    0.0%
Charles MacKenzie   0    0.0%
All Directors and Officers (10 individuals)   35,527,647    31.4%

 

  (1) Except as otherwise indicated, the address of each of the persons in this table is c/o Alset EHome International Inc., 4800 Montgomery Lane, Suite 210, Bethesda, Maryland 20814.
     
  (2) Includes 28,749,299 shares of common stock held by Chan Heng Fai, 6,380,000 shares of common stock held by HFE Holdings Limited and 398,348 shares of common stock held by Heng Fai Holdings Limited, of which Mr. Chan has sole voting and investment power with respect to such shares.

 

121

 

 

Change of Control

 

The Company is not aware of any arrangement which may at a subsequent date result in a change in control of the Company.

 

Item 13. Certain Relationships and Related Transactions, and Director Independence.

 

Policies and Procedures for Transactions with Related Persons

 

Our board of directors intends to adopt a written related person transaction policy to set forth the policies and procedures for the review and approval or ratification of related person transactions. Related persons include any executive officer, director or a holder of more than 5% of our common stock, including any of their immediate family members and any entity owned or controlled by such persons. Related person transactions refer to any transaction, arrangement or relationship, or any series of similar transactions, arrangements or relationships in which (i) we were or are to be a participant, (ii) the amount involved exceeds $120,000, and (iii) a related person had or will have a direct or indirect material interest. Related person transactions include, without limitation, purchases of goods or services by or from the related person or entities in which the related person has a material interest, indebtedness, guarantees of indebtedness, and employment by us of a related person, in each case subject to certain exceptions set forth in Item 404 of Regulation S-K under the Securities Act.

 

We expect that the policy will provide that in any related person transaction, our audit committee and board of directors will consider all of the available material facts and circumstances of the transaction, including: the direct and indirect interests of the related persons; in the event the related person is a director (or immediate family member of a director or an entity with which a director is affiliated), the impact that the transaction will have on a director’s independence; the risks, costs and benefits of the transaction to us; and whether any alternative transactions or sources for comparable services or products are available. After considering all such facts and circumstances, our audit committee and board of directors will determine whether approval or ratification of the related person transaction is in our best interests. For example, if our audit committee determines that the proposed terms of a related person transaction are reasonable and at least as favorable as could have been obtained from unrelated third parties, it will recommend to our board of directors that such transaction be approved or ratified. In addition, if a related person transaction will compromise the independence of one of our directors, our audit committee may recommend that our board of directors reject the transaction if it could affect our ability to comply with securities laws and regulations or Nasdaq listing requirements.

 

Transactions and Relationships with Directors, Officers and 5% Stockholders

 

Personal Guarantees by Director

 

As of December 31, 2021 and 2020, a director of the Company had provided personal guarantees amounting to approximately $500,000, to secure external loans from financial institutions for the Company and its consolidated subsidiaries.

 

Cancellation of Shares

 

Pursuant to an agreement entered into by us on June 24, 2020 with our stockholders HFE Holdings Limited and Chan Heng Fai, HFE Holdings Limited surrendered 3,600,000 shares of our common stock to the treasury of our company, and Chan Heng Fai surrendered 1,000 shares of our common stock to the treasury of our company. All such shares were cancelled. No consideration was exchanged in connection with the surrender of these shares.

 

Purchase of Shares of Alset International Limited

 

On August 20, 2020, the Company acquired 30,000,000 common shares of Alset International Limited from Chan Heng Fai in exchange for a two-year non-interest bearing note of $1,333,429. This note was subsequently repaid.

 

122

 

 

Sale of Impact Biomedical to DSS

 

On April 27, 2020, Global BioMedical Pte Ltd (“GBM”), one of our subsidiaries, entered into a share exchange agreement with DSS BioHealth Security, Inc. (“DBHS”), a wholly owned subsidiary of DSS, Inc. (“DSS”), pursuant to which, DBHS agreed to acquire all of the outstanding capital stock of Impact BioMedical Inc., a wholly owned subsidiary of GBM, through a share exchange. It was agreed that the aggregate consideration to be issued to GBM for the Impact BioMedical shares would be the following: (i) 483,334 newly issued shares of DSS common stock; and (ii) 46,868 newly issued shares of a new series of DSS perpetual convertible preferred stock with a stated value of $46,868,000, or $1,000 per share. The convertible preferred stock can be convertible into shares of DSS common stock at a conversion price of $6.48 of preferred stock stated value per share of common stock, subject to a 19.9% beneficial ownership conversion limitation (a so-called “blocker”) based on the total issued outstanding shares of common stock of DSS beneficially owned by GBM. Holders of the convertible preferred stock will have no voting rights, except as required by applicable law or regulation, and no dividends will accrue or be payable on the convertible preferred stock. The holders of convertible preferred stock will be entitled to a liquidation preference of $1,000 per share, and DSS will have the right to redeem all or any portion of the then outstanding shares of convertible preferred stock, pro rata among all holders, at a redemption price per share equal to such liquidation value per share.

 

On August 21, 2020, the transaction closed and Impact BioMedical Inc became a direct wholly owned subsidiary of DBHS. GBM received 483,334 shares of DSS common stock and 46,868 shares of DSS preferred stock, which preferred shares could be converted to 7,232,716 common shares (however, any conversion will be subject to the blocker GBM has agreed to, as described above).

 

On October 16, 2020, GBM converted 4,293 shares of DSS Series A Preferred Stock having a par value of $0.02 per share in exchange for 662,500 restricted shares of DSS common stock based upon a liquidation value of $1,000 and a conversion price of $6.48 per share. Our ownership of DSS was 19.9% after the conversion.

 

Sale of iGalen International Inc. to an officer of the Company

 

On December 30, 2020, Health, Wealth Happiness Pte Ltd (“HWH Pte Ltd”), a 100% owned subsidiary of the Company, sold 530,000 shares (its 53% ownership) of iGalen International Inc., which owns 100% iGalen Inc., to an officer of the Company for $100.

 

Notes Payable

 

Chan Heng Fai provided an interest-free, due on demand advance to LiquidValue Development Pte. Ltd. and its subsidiary LiquidValue Development Limited for the general operations. As of December 31, 2021 and 2020, the outstanding balance was approximately $820,113 and $823,823, respectively.

 

Chan Heng Fai provided interest-free due on demand advance to AEI for the general operations. On December 31, 2021 and 2020, the outstanding balance was $0 and $178,400, respectively.

 

Chan Heng Fai provided an interest-free, due on demand advance to SeD Perth Pty. Ltd. for its general operations. On December 31, 2021 and 2020, the outstanding balance was $13,546 and $14,379, respectively.

 

On August 20, 2020, the Company acquired 30,000,000 common shares from Chan Heng Fai in exchange for a two-year non-interest bearing note of $1,333,429. On December 31, 2021 and 2020 the amount outstanding was $0 and $1,333,429, respectively.

 

123

 

 

On March 12, 2021, the Company entered into a Securities Purchase Agreement (the “SPA”) with Chan Heng Fai, the founder, Chairman and Chief Executive Officer of the Company, for four proposed transactions, consisting of (i) purchase of certain warrants (the “Warrants”) to purchase 1,500,000,000 shares of Alset International Limited, which was valued at $28,363,966; (ii) purchase of all of the issued and outstanding stock of LiquidValue Development Pte Ltd. (“LVD”), which was valued at $173,395; (iii) purchase of 62,122,908 ordinary shares in True Partner Capital Holding Limited (HKG: 8657) (“True Partner”), which was valued at $6,729,629; and (iv) purchase of 4,775,523 shares of the common stock of American Pacific Bancorp Inc. (“APB”), which was valued at $28,653,138. The total amount of above four transactions was $63,920,129, payable on the Closing Date by the Company, in the convertible promissory notes (“Alset CPNs”), which, subject to the terms and conditions of the Alset CPNs and the Company’s shareholder approval, shall be convertible into shares of the Company’s common stock (“AEI Common Stock”), at par value of $0.001 per share, at the conversion price of AEI’s Stock Market Price. AEI’s Stock Market Price shall be $5.59 per share, equivalent to the average of the five closing per share prices of AEI Common Stock preceding January 4, 2021 as quoted by Bloomberg L.P. AEI’s stock price was $10.03 on March 12, 2021, the commitment date. The Beneficial Conversion Feature (“BCF”) intrinsic value was $50,770,192 for the four convertible promissory notes and was recorded as debt discount of convertible notes after the transaction. On May 13 and June 14, 2021 all Alset CPNs of $63,920,128 and accrued interests of $306,438 were converted into 2,123 shares of series B preferred stock and 9,163,965 shares of common stock of the Company.

 

On May 14, 2021, the Company borrowed S$7,395,472 Singapore Dollars (equal to approximately $5,545,495 U.S. Dollars) from Chan Heng Fai. The unpaid principal amount of the Loan shall be due and payable on May 14, 2022 and the Loan shall have no interest. The loan was paid back in full during 2021 and the outstanding balance was $0 as of December 31, 2021.

 

Chan Heng Fai provided an interest-free, due on demand advance to HengFeng Finance Limited for the general operations. As of December 31, 2021 and 2020, the outstanding balance was $0 and $184,250, respectively.

 

Management Fees

 

MacKenzie Equity Partners, owned by Charles MacKenzie, our Chief Development Officer and a Director of the Company’s subsidiary LiquidValue Development, has had a consulting agreement with one of the Company’s subsidiaries since 2015. Per the terms of the agreement, as amended on January 1, 2018, the Company’s subsidiary pays a monthly fee of $20,000 for the consulting services. The Company incurred expenses of $360,000 and $240,000 for the years ended December 31, 2021 and 2020, respectively, which were capitalized as part of Real Estate on the Company’s Consolidated Balance Sheet, as the services relate to property and project management. During 2021, MacKenzie Equity Partners was granted an additional $120,000 bonus payment. As of December 31, 2021 and 2020 the Company owed $80,000 and $0, respectively to this entity.

 

Consulting Services

 

A law firm owned by Conn Flanigan, a Director of LiquidValue Development, performs consulting services to LiquidValue Development and some other subsidiaries of the Company. The Company incurred expenses of $0 and $12,645 for the years ended December 31, 2021 and 2020, respectively. As of December 31, 2021 and 2020 there was no outstanding balance due to this entity.

 

Note Receivable from a Related Party Company

 

On March 2, 2020 and on October 29, 2021, LiquidValue Asset Management Pte. Ltd. (“LiquidValue”) received two $200,000 Promissory Notes and on October 29, 2021 Alset International received $8,350,000 Promissory Note from American Medical REIT Inc. (“AMRE”), a company which is less than 3.5% owned by LiquidValue as of December 31, 2021. Chan Heng Fai and Chan Tung Moe are directors of American Medical REIT Inc. The notes carry interests of 8% and are payable in two, three years and 25 months, respectively. LiquidValue also received warrants to purchase AMRE shares at the exercise price of $5.00 per share. The amount of the warrants equals to the note principle divided by the exercise price. If AMRE goes to IPO in the future and IPO price is less than $10.00 per share, the exercise price shall be adjusted downward to fifty percent (50%) of the IPO price. As of December 31, 2021 and 2020, the fair market value of the warrants was $0. The Company accrued $130,000 and $13,431 interest income as of December 31, 2021 and 2020, respectively.

 

124

 

 

On January 24, 2017, SeD Capital Pte Ltd, a 100% owned subsidiary of Alset International lent $350,000 to iGalen Inc. The term of the loan was two years, with an interest rate of 3% per annum for the first year and 5% per annum for the second year. The expiration term was renewed as due on demand after two years with 5% per annum interest rate. As of December 31, 2020, the outstanding principle was $350,000 and accrued interest $61,555. On December 31, 2021, the management of the Company evaluated the financial and the operation results of iGalen and concluded that possibility to repay this loan is not probable, and the principal and accrued interest total of $412,754 was recorded as bad debt expense.

 

As of December 31, 2021, the Company provided advances for operation of $236,699 to HWH World Co., a direct sales company in Thailand of which the Company holds approximately 19% ownership.

 

On April 20, 2021, SeD Capital Pte Ltd entered into Joint Venture Agreement with Novum Alpha Pte Ltd., pursuant to which, each company owns 50% of the joint venture company Credas Capital Pte Ltd. Based on the agreement, SeD Capital Pte Ltd contributed 90% of the initial $150,000 shareholder loan to the joint venture, with the remaining balance contributed by Novum Alpha. The loan carries 0% interest rate and will be repaid on a “first-in first-out” basis, out of the operating profits of the joint venture, with the immediate partial payment of $100,000 of the initial loan to SeD Capital, once the company achieves profitability. As of December 31, 2021, the outstanding balance was $135,720.

 

Loan to Employees

 

On November 24, 2020, American Pacific Bancorp. Inc. lent $560,000 to Chan Tung Moe, an officer of one of the subsidiaries of the Company and son of Chan Heng Fai, Chairman and Chief Executive Officer of the Company, bearing interest at 6%, with a maturity date of November 23, 2023. This loan was secured by an irrevocable letter of instruction on 80,000 shares of Alset EHome International. On November 24, 2020, American Pacific Bancorp. Inc. lent $280,000 to Lim Sheng Hon Danny, an employee of one of the subsidiaries of the Company, bearing interest at 6%, with a maturity date of November 23, 2023. This loan was secured by an irrevocable letter of instruction on 40,000 shares of Alset EHome International. Subsequent to the making of these loans, the Company acquired the majority of the issued and outstanding common stock of American Pacific Bancorp. As of December 31, 2021, both principal and interest, $840,000 and $28,031, of both loans to Chan Tung Moe and Lim Sheng Hong, were fully paid off.

 

Subscription Agreement to Purchase Shares of Document Security Systems, Inc.

 

On September 3, 2021, the Company entered into a subscription agreement to purchase 12,155,591 shares of the common stock of DSS for a price of $1.234 per share for an aggregate purchase price of approximately $15 Million. This transaction closed on September 8, 2021.

 

DSS Investment into American Pacific Bancorp, Inc.

 

On September 8, 2021, the Company’s subsidiary American Pacific Bancorp, Inc. (“APB”) entered into a purchase agreement for APB to sell DSS 6,666,700 shares of the Class A Common Stock of APB for $6.00 per share, for an aggregate purchase price of $40,000,200. This transaction closed on September 9, 2021. Following this transaction, DSS has become the majority owner of APB.

 

Purchase of Alset International shares

 

On January 17, 2022 the Company entered into securities purchase agreement with Chan Heng Fai, pursuant to which the Company agreed to purchase from Chan Heng Fai 293,428,200 ordinary shares of Alset International for a purchase price 29,468,977 newly issued shares of the Company’s common stock. On February 28, 2022, the Company and Mr. Chan entered into an amendment to this securities purchase agreement pursuant to which the Company shall purchase these 293,428,200 ordinary shares of Alset International for a purchase price of 35,319,290 newly issued shares of the Company’s common stock. The closing of this transaction with Mr. Chan is subject to approval of the Nasdaq and the Company’s stockholders. These 293,428,200 ordinary shares of Alset International represent approximately 8.4% of the 3,492,713,362 total issued and outstanding shares of Alset International.

 

125

 

 

Sale of Securities of True Partner Limited

 

On January 18, 2022, the Company entered into a stock purchase agreement with DSS, Inc., pursuant to which the Company has agreed to sell, through the transfer of subsidiary and otherwise, 62,122,908 shares of stock of True Partner Capital Holding Limited in exchange for 11,397,080 shares of the common stock of DSS. On February 28, 2022 the Company entered into a revised Stock Purchase Agreement with DSS, Inc., pursuant to which the Company has agreed to replace the January 18, 2022 agreement with a new agreement to sell a subsidiary holding 44,808,908 shares of stock of True Partner Capital Holding Limited, together with an additional 17,314,000 shares of True Partner Capital Holding Limited (for a total of 62,122,908 shares) in exchange for 17,570,948 shares of common stock of DSS (the “DSS Shares”). The issuance of the DSS Shares will be subject to the approval of the NYSE American (on which the common stock of DSS is listed) and DSS’s shareholders.

 

Issuance of Common Stock

 

On January 24, 2022 the Company entered into stock purchase agreement with Chan Heng Fai, pursuant to which the Company agreed to issue to Chan Heng Fai 35,012,120 shares of the Company’s common stock for a purchase price of $0.3713 per share (for an aggregate purchase price of $13,000,000). On February 28, 2022 the Company entered into an agreement with Mr. Chan to terminate this stock purchase agreement.

 

Issuance of Promissory Note

 

On December 13, 2021 the Company entered into a Securities Purchase Agreement with Chan Heng Fai for the issuance and sale of a convertible promissory note in favor of Chan Heng Fai, in the principal amount of $6,250,000. The note bears interest of 3% per annum and is due on the earlier of December 31, 2024 or when declared due and payable by Chan Heng Fai. The note can be converted in part or whole into common shares of the Company at the conversion price of $0.625 or into cash. The loan closed on January 26, 2022 after all closing conditions were met. Mr. Chan opted to convert all of the amount of such note into 10,000,000 shares of the Company’s common stock, which shares were issued on January 27, 2022.

 

Purchase of Shares of DSS

 

On January 25, 2022, the Company agreed to purchase 44,619,423 shares of DSS’s common stock for a purchase price of $0.3810 per share, for an aggregate purchase price of $17,000,000. On February 28, 2022, the Company and DSS agreed to amend this stock purchase agreement. The number of shares of the common stock of DSS that the Company will purchase has been reduced to 3,986,877 shares for an aggregate purchase price of $1,519,000.

 

Initial Public Offering of Alset Capital Acquisition Corp.

 

On February 3, 2022 Alset Capital Acquisition Corp. (“Alset Capital”), a special purpose acquisition company sponsored by the Company and certain affiliates, closed its initial public offering of 7,500,000 units at $10 per unit. Each unit consisted of one of Alset Capital’s shares of Class A common stock, one-half of one redeemable warrant and one right to receive one-tenth of one share of Class A common stock upon the consummation of an initial business combination. Each whole warrant entitles the holder thereof to purchase one share of Class A common stock at a price of $11.50 per share. Only whole warrants are exercisable. The underwriters exercised their over-allotment option in full for an additional 1,125,000 units on February 1, 2022, which closed at the time of the closing of the Offering. As a result, the aggregate gross proceeds of this offering, including the over-allotment, were $86,250,000, prior to deducting underwriting discounts, commissions, and other offering expenses.

 

126

 

 

On February 3, 2022, simultaneously with the consummation of Alset Capital’s initial public offering, Alset Capital consummated the private placement of 473,750 units (the “Private Placement Units”) to the Sponsor, which amount includes 33,750 Private Placement Units purchased by the Sponsor in connection with the underwriters’ exercise of the over-allotment option in full, at a price of $10.00 per Private Placement Unit, generating gross proceeds of approximately $4.7 million (the “Private Placement”) the proceeds of which were placed in the trust account. No underwriting discounts or commissions were paid with respect to the Private Placement. The Private Placement Units are identical to the units sold in the initial public offering, except that (a) the Private Placement Units and their component securities will not be transferable, assignable or saleable until 30 days after the consummation of Alset Capital’s initial business combination except to permitted transferees and (b) the warrants and rights included as a component of the Private Placement Units, so long as they are held by the Sponsor or its permitted transferees, will be entitled to registration rights, respectively.

 

The Company and its majority-owned subsidiary Alset International each own 45% of the sole member of Alset Acquisition Sponsor, LLC, the sponsor of Alset Capital, with the remaining 10% of the sole member of the sponsor owned by Alset Investment Pte. Ltd., a company owned by the Company’s Chairman, Chief Executive Officer and largest stockholder, Chan Heng Fai.

 

Purchase of Note from DSS

 

On February 25, 2022, Alset International entered into an assignment and assumption agreement with DSS pursuant to which DSS has agreed to purchase a convertible promissory note from Alset International. The note has a principal amount of $8,350,000 and accrued but unpaid interest of $367,400 through May 15, 2022. The note was issued by American Medical REIT, Inc. The consideration to be paid for the note will be 21,366,177 shares of DSS’s common stock. The number of DSS shares to be issued as consideration was calculated by dividing $8,717,400, the aggregate of the principal amount and the accrued but unpaid interest under the Note, by $0.408 per share. The number of shares of DSS common stock to be issued as consideration may be adjusted based on the accrued interest if the parties should agree to close this transaction on a date other than the anticipated date of May 15, 2022. The closing of the assumption agreement and the issuance of the DSS shares described above will be subject to the approval of the NYSE American and DSS’s shareholders.

 

Indemnification Agreements

 

We intend to enter into an indemnification agreement with each of our directors and executive officers. The indemnification agreements and our certificate of incorporation and bylaws require us to indemnify our directors and executive officers to the fullest extent permitted by Delaware law. See “Indemnification of Directors and Executive Officers.”

 

Item 14. Principal Accounting Fees and Services

 

The following table indicates the fees paid by us for services performed for the years ended December 31, 2021 and December 31, 2020:

 

   Year Ended December 31, 2021   Year Ended December 31, 2020 
         
Audit Fees  $269,380   $158,500 
Audit-Related Fees  $20,000   $0 
Tax Fees  $0   $0 
All Other Fees  $0   $38,000 
Total  $289,380   $196,500 

 

Audit Fees. This category includes the aggregate fees billed for professional services rendered by the independent auditors during the years ended December 31, 2021 and December 31, 2020 for the audit of our financial statements and review of our Form 10-Qs.

 

Tax Fees. This category includes the aggregate fees billed for tax services rendered in the preparation of our federal and state income tax returns.

 

All Other Fees. This category includes the aggregate fees billed for all other services, exclusive of the fees disclosed above, rendered during the year ended December 31, 2021 and December 31, 2020.

 

On December 21, 2021, the Board of Directors of the Company dismissed Briggs & Veselka Co. (“B&V”) as its independent registered public accounting firm at the recommendation of the Audit Committee. B&V’s audit report on the Company’s financial statements for the year ended December 31, 2020 did not contain an adverse opinion or a disclaimer of opinion and were not qualified or modified as to uncertainty, audit scope or accounting principles.

 

On December 22, 2021, the Company engaged Grassi & Co., CPAs, P.C. (“Grassi”) as its independent registered public accounting firm for the Company’s fiscal year ending December 31, 2021. The decision to engage Grassi was recommended by the Company’s Audit Committee and approved by the Company’s Board of Directors.

 

 

127

 

 

PART IV

 

Item 15. Exhibit and Financial Statement Schedules

 

(a)(1) List of Consolidated Financial Statements included in Part II hereof:

 

Consolidated Balance Sheets at December 31, 2021 and 2020

Consolidated Statements of Operations and Other Comprehensive Loss for the Years Ended December 31, 2021 and 2020

Consolidated Statements of Stockholders’ Equity for the Years Ended December 31, 2021 and 2020

Consolidated Statements of Cash Flows for the Years Ended December 31, 2021 and 2020

 

(a)(2) List of Financial Statement schedules included in Part IV hereof:

 

None.

 

(a)(3) Exhibits

 

The following exhibits are filed with this Report or incorporated by reference:

 

Exhibit No.   Description
1.1   Underwriting Agreement, dated November 23, 2020, incorporated herein by reference to Exhibit 1.1 to the Company’s Current Report on Form 8-K filed with the Securities and Exchange Commission on November 27, 2020.
1.2   Underwriting Agreement dated May 10, 2021 with Aegis Capital Corp., incorporated by reference to Exhibit 10.1 on Form 8-K filed with the SEC on May 13, 2021.
1.3   Underwriting Agreement, dated as of July 27, 2021, by and between Alset EHome International Inc. and Aegis Capital Corp., as representative of the underwriters named therein, incorporated by reference to Exhibit 1.1 on Form 8-K filed with the SEC on July 30, 2021.
1.4   Underwriting Agreement, dated as of December 5, 2021, incorporated herein by reference to Exhibit 1.1 to the Company’s Current Report on Form 8-K filed with the Securities and Exchange Commission on December 8, 2021.
2.1   Certificate of Merger, incorporated herein by reference to Exhibit 3.5 to the Company’s Current Report on Form 8-K filed with the Securities and Exchange Commission on February 11, 2021.
3.1   Certificate of Incorporation of HF Enterprises Inc., incorporated herein by reference to Exhibit 3.1 to the Company’s Registration Statement on Form S-1, filed with the Securities and Exchange Commission on December 23, 2019.
3.2   Bylaws of HF Enterprises Inc., incorporated herein by reference to Exhibit 3.2 to the Company’s Registration Statement on Form S-1, filed with the Securities and Exchange Commission on December 23, 2019.
3.3   Second Amended and Restated Certificate of Incorporation of HF Enterprises Inc., incorporated herein by reference to Exhibit 3.3 to the Company’s Registration Statement on Form S-1, filed with the Securities and Exchange Commission on December 23, 2019.
3.4   Third Amended and Restated Certificate of Incorporation of HF Enterprises Inc., incorporated herein by reference to Exhibit 3.4 to the Company’s Registration Statement on Form S-1/A, filed with the Securities and Exchange Commission on July 30, 2020.
3.5   Certificate of Amendment, incorporated by reference to Exhibit 3.1 on Form 8-K filed with the SEC on May 4, 2021.
3.6   Certificate of Designation of the Company’s Series A Convertible Preferred Stock, incorporated by reference to Exhibit 3.1 on Form 8-K filed with the SEC on May 4, 2021.
3.7   Certificate of Designation of the Company’s Series B Convertible Preferred Stock, incorporated by reference to Exhibit 3.1 on Form 8-K filed with the SEC on May 12, 2021.
3.8   Certificate of Amendment, incorporated by reference to Exhibit 3.1 on Form 8-K filed with the SEC on June 14, 2021.
4.1   Form of Representative’s Warrant, incorporated herein by reference to Exhibit 4.1 to the Company’s Current Report on Form 8-K filed with the Securities and Exchange Commission on November 27, 2020.

 

128

 

 

4.2   Form of Pre-funded Warrant, incorporated by reference to Exhibit 4.1 to the Company’s Current Report on Form 8-K filed with the SEC on May 14, 2021.
4.3   Form of Series A Warrant, incorporated by reference to Exhibit 4.2 to the Company’s Current Report on Form 8-K filed with the SEC on May 14, 2021.
4.4   Form of Series B Warrant, incorporated by reference to Exhibit 4.3 to the Company’s Current Report on Form 8-K filed with the SEC on May 14, 2021.
4.5   Warrant Agent Agreement (including the terms of the Pre-funded Warrant), incorporated by reference to Exhibit 4.1 to the Company’s Current Report on Form 8-K filed with the SEC on July 30, 2021.
4.6   Representative’s Warrant incorporated by reference to Exhibit 4.1 to the Company’s Current Report on Form 8-K filed with the SEC on July 30, 2021.
4.7   Form of Pre-funded Warrant, incorporated by reference to Exhibit 4.8 to the Company’s Registration Statement on Form S-1, filed with the SEC on December 1, 2021.
4.8   Form of Pre-funded Warrant, incorporated herein by reference to Exhibit 4.2 to the Company’s Current Report on Form 8-K filed with the Securities and Exchange Commission on December 8, 2021.
4.9*   Description of Capital Stock
10.1   HF Enterprises Inc. 2018 Incentive Compensation Plan, incorporated herein by reference to Exhibit 10.1 to the Company’s Registration Statement on Form S-1, filed with the Securities and Exchange Commission on December 23, 2019.
10.2   Form of Lot Purchase Agreement for Ballenger Run, by and between SeD Maryland Development, LLC and NVR, Inc. d/b/a Ryan Homes, incorporated herein by reference to Exhibit 10.7 to the Company’s Registration Statement on Form S-1, filed with the Securities and Exchange Commission on December 23, 2019.
10.3   Management Agreement, entered into as of July 15, 2015, by and between SeD Maryland Development, LLC and SeD Development Management, LLC, incorporated herein by reference to Exhibit 10.8 to the Company’s Registration Statement on Form S-1, filed with the Securities and Exchange Commission on December 23, 2019.
10.4   Amended and Restated Limited Liability Company Agreement of SeD Maryland Development, LLC, dated as of September 16, 2015, by and between SeD Ballenger, LLC and CNQC Maryland Development LLC, incorporated herein by reference to Exhibit 10.9 to the Company’s Registration Statement on Form S-1, filed with the Securities and Exchange Commission on December 23, 2019.
10.5   Consulting Services Agreement, dated as of May 1, 2017, by and between SeD Development Management LLC and MacKenzie Equity Partners LLC, incorporated herein by reference to Exhibit 10.10 to the Company’s Registration Statement on Form S-1, filed with the Securities and Exchange Commission on December 23, 2019.
10.6   Project Development and Management Agreement, dated as of February 25, 2015, by and among MacKenzie Development Company, LLC, Cavalier Development Group, LLC and SeD Maryland Development, LLC, incorporated herein by reference to Exhibit 10.11 to the Company’s Registration Statement on Form S-1, filed with the Securities and Exchange Commission on December 23, 2019.
10.7   Assignment and Assumption Agreement, dated as of September 15, 2017, by and between MacKenzie Development Company, LLC and Adams-Aumiller Properties, LLC, incorporated herein by reference to Exhibit 10.12 to the Company’s Registration Statement on Form S-1, filed with the Securities and Exchange Commission on December 23, 2019.
10.8   Stock Purchase Agreement, dated as of October 1, 2018, by and between HF Enterprises Inc. and Heng Fai Chan as the sole shareholder of Alset Global Pte. Ltd. (formerly known as Hengfai International Pte. Ltd.), incorporated herein by reference to Exhibit 10.28 to the Company’s Registration Statement on Form S-1, filed with the Securities and Exchange Commission on December 23, 2019.
10.9   Stock Purchase Agreement, dated as of October 1, 2018, by and between HF Enterprises Inc. and Heng Fai Chan as the sole shareholder of Global eHealth Limited, incorporated herein by reference to Exhibit 10.29 to the Company’s Registration Statement on Form S-1, filed with the Securities and Exchange Commission on December 23, 2019.

 

129

 

 

10.10   Stock Purchase Agreement, dated as of October 1, 2018, by and between HF Enterprises Inc. and Heng Fai Chan as the sole shareholder of Heng Fai Enterprises Pte. Ltd., incorporated herein by reference to Exhibit 10.30 to the Company’s Registration Statement on Form S-1, filed with the Securities and Exchange Commission on December 23, 2019.
10.11   Purchase and Sale Agreement, by and among 150 CCM Black Oak, Ltd. and Houston LD, LLC, dated as of July 3, 2018, incorporated herein by reference to Exhibit 10.31 to the Company’s Registration Statement on Form S-1, filed with the Securities and Exchange Commission on December 23, 2019.
10.12   Amended and Restated Purchase and Sale Agreement, by and among 150 CCM Black Oak, Ltd. and Houston LD, LLC, dated as of October 12, 2018, incorporated herein by reference to Exhibit 10.32 to the Company’s Registration Statement on Form S-1, filed with the Securities and Exchange Commission on December 23, 2019.
10.13   Amendment to Project Development and Management Agreement for Ballenger Run PUD, dated as of October 16, 2019 by and between Adams-Aumiller Properties, LLC and Cavalier Development Group, LLC, incorporated herein by reference to Exhibit 10.33 to the Company’s Registration Statement on Form S-1, filed with the Securities and Exchange Commission on December 23, 2019.
10.14   Development Loan Agreement, dated as of April 17, 2019, by and between SeD Maryland Development, LLC and Manufacturers and Traders Trust Company, incorporated herein by reference to Exhibit 10.34 to the Company’s Registration Statement on Form S-1, filed with the Securities and Exchange Commission on December 23, 2019.
10.15   Term Sheet, dated as of March 3, 2020, by and among DSS Securities, Inc., LiquidValue Asset Management Pte Ltd., AMRE Asset Management Inc. and American Medical REIT Inc., incorporated herein by reference to Exhibit 10.35 to the Company’s Registration Statement on Form S-1/A, filed with the Securities and Exchange Commission on July 30, 2020.
10.16   Stockholders’ Agreement, dated as of March 3, 2020, by and among AMRE Asset Management Inc., AMRE Tennessee, LLC, LiquidValue Asset Management Pte Ltd., and DSS Securities, Inc., incorporated herein by reference to Exhibit 10.36 to the Company’s Registration Statement on Form S-1/A, filed with the Securities and Exchange Commission on July 30, 2020.
10.17   Term Sheet, dated as of March 12, 2020, by and between Document Security Systems, Inc., DSS BioHealth Security Inc., Global BioMedical Pte Ltd and Impact BioMedical Inc., incorporated herein by reference to Exhibit 10.37 to the Company’s Registration Statement on Form S-1/A, filed with the Securities and Exchange Commission on July 30, 2020.
10.18   Share Exchange Agreement among Singapore eDevelopment Limited, Global BioMedical Pte Ltd., Document Security Systems, Inc. and DSS BioHealth Security Inc. dated as of April 27, 2020, incorporated herein by reference to Exhibit 10.38 to the Company’s Registration Statement on Form S-1/A, filed with the Securities and Exchange Commission on July 30, 2020.
10.19   Loan Agreement, dated as of June 18, 2020, by and between SeD Home & REITs Inc. and Manufacturers and Traders Trust Company, incorporated herein by reference to Exhibit 10.39 to the Company’s Registration Statement on Form S-1/A, filed with the Securities and Exchange Commission on July 30, 2020.
10.20   Promissory Note from HF Enterprises Inc. to Chan Heng Fai, dated as of August 20, 2020, incorporated herein by reference to Exhibit 10.40 to the Company’s Registration Statement on Form S-1/A, filed with the Securities and Exchange Commission on September 18, 2020.
10.21   Binding Term Sheet on Share Exchange Transaction Among HF Enterprises Inc. and Mr. Chan Heng Fai Ambrose, dated January 4, 2021, incorporated herein by reference to Exhibit 10.1 to the Company’s Current Report on Form 8-K, filed with the Securities and Exchange Commission on January 12, 2021.
10.22   Executive Employment Agreement, by and between Alset EHome International Inc., Alset Business Development Pte. Ltd. (formerly known as Hengfai Business Development Pte. Ltd.) and Chan Heng Fai, dated as of February 8, 2021, incorporated herein by reference to Exhibit 10.1 to the Company’s Current Report on Form 8-K, filed with the Securities and Exchange Commission on February 12, 2021.
10.23   Securities Purchase Agreement By and Among Alset EHome International Inc., Chan Heng Fai Ambrose, True Partner International Limited, LiquidValue Development Pte Ltd. and American Pacific Bancorp, Inc. dated March 12, 2021, incorporated herein by reference to Exhibit 10.1 to the Company’s Current Report on Form 8-K filed with the Securities and Exchange Commission on March 18, 2021.

 

130

 

 

10.24   2% Conditional Convertible Promissory Note dated March 12, 2021, in the principal amount of $28,363,966.42, incorporated herein by reference to Exhibit 10.2 to the Company’s Current Report on Form 8-K filed with the Securities and Exchange Commission on March 18, 2021.
10.25   2% Conditional Convertible Promissory Note dated March 12, 2021, in the principal amount of $173,394.87, incorporated herein by reference to Exhibit 10.3 to the Company’s Current Report on Form 8-K filed with the Securities and Exchange Commission on March 18, 2021.
10.26   2% Conditional Convertible Promissory Note dated March 12, 2021, in the principal amount of $6,729,629.29, incorporated herein by reference to Exhibit 10.4 to the Company’s Current Report on Form 8-K filed with the Securities and Exchange Commission on March 18, 2021.
10.27   2% Conditional Convertible Promissory Note dated March 12, 2021, in the principal amount of $28,653,138.00, incorporated herein by reference to Exhibit 10.5 to the Company’s Current Report on Form 8-K filed with the Securities and Exchange Commission on March 18, 2021.
10.28   Loan and Exchange Agreement, incorporated by reference to Exhibit 10.1 on Form 8-K filed with the SEC on May 4, 2021.
10.29   Loan and Exchange Agreement, incorporated by reference to Exhibit 10.1 on Form 8-K filed with the SEC on May 4, 2021.
10.30   Exchange Agreement by and between the Company and Chan Heng Fai, incorporated by reference to Exhibit 10.1 on Form 8-K filed with the SEC on May 12, 2021.
10.31   Form of Series A Warrant Agent Agreement, incorporated by reference to Exhibit 10.33 on Form S-1 filed with the SEC on May 4, 2021.
10.32   Form of Series B Warrant Agent Agreement, incorporated by reference to Exhibit 10.34 on Form S-1 filed with the SEC on May 4, 2021.
10.33   Executive Employment Agreement, by and between Alset EHome International Inc., Alset Business Development Pte. Ltd. (formerly known as Hengfai Business Development Pte. Ltd.) and Chan Tung Moe, dated as of July 1, 2021, incorporated by reference to Exhibit 10.1 on Form 8-K filed with the SEC on July 7, 2021.
10.34   Subscription Agreement by and among Document Security Systems, Inc. and Alset EHome International, Inc., dated as of September 3, 2021, incorporated by reference to Exhibit 10.1 on Form 8-K filed with the SEC on September 3, 2021.
10.35   Class A Common Stock Purchase Agreement, dated as of September 8, 2021 among American Pacific Bancorp, Inc. and Document Security Systems, Inc., incorporated by reference to Exhibit 10.1 on Form 8-K filed with the SEC on September 3, 2021.
10.36   Warrant Agent Agreement, incorporated herein by reference to Exhibit 4.1 to the Company’s Current Report on Form 8-K filed with the Securities and Exchange Commission on December 8, 2021.
10.37   Supplement to the Executive Employment Agreement, by and between Alset EHome International Inc., Alset Business Development Pte. Ltd. (formerly known as Hengfai Business Development Pte. Ltd.) and Chan Heng Fai, dated as of December 13, 2021 incorporated by reference to Exhibit 10.1 on Form 8-K filed with the SEC on December 17, 2021.
10.38   Securities Purchase Agreement with Heng Fai Ambrose Chan, dated as of January 17, 2022, incorporated by reference to Exhibit 10.1 on Form 8-K filed with the SEC on January 20, 2022.
10.39   Stock Purchase Agreement with DSS, Inc. (sale of AI shares), dated as of January 18, 2022, incorporated by reference to Exhibit 10.2 on Form 8-K filed with the SEC on January 20, 2022.
10.40   Stock Purchase Agreement with DSS, Inc. (sale of TP), dated as of January 18, 2022, incorporated by reference to Exhibit 10.3 on Form 8-K filed with the SEC on January 20, 2022.
10.41   Stock Purchase Agreement with Heng Fai Ambrose Chan, dated January 24, 2022, incorporated by reference to Exhibit 10.1 to the Company’s Current Report on Form 8-K filed with the Securities and Exchange Commission on January 25, 2022.
10.42   Stock Purchase Agreement with DSS, Inc., dated January 25, 2022, incorporated by reference to Exhibit 10.1 to the Company’s Current Report on Form 8-K filed with the Securities and Exchange Commission on January 25, 2022.
10.43   Amendment to Executive Employment Agreement, by and between Alset EHome International Inc., Alset Business Development Pte. Ltd. (formerly known as Hengfai Business Development Pte. Ltd.) and Chan Heng Fai, dated as of January 26, 2022, incorporated by reference to Exhibit 10.1 to the Company’s Current Report on Form 8-K filed with the Securities and Exchange Commission on February 1, 2022.

 

131

 

 

10.44   Assignment and Assumption Agreement, dated as of February 25, 2022, by and between Alset International Limited and DSS, Inc., incorporated by reference to Exhibit 10.1 to the Company’s Current Report on Form 8-K filed with the Securities and Exchange Commission on February 25, 2022.
10.45   Convertible Promissory Note, dated as of October 29, 2021, issued by American Medical REIT Inc. to Alset International Limited, incorporated by reference to Exhibit 10.2 to the Company’s Current Report on Form 8-K filed with the Securities and Exchange Commission on February 25, 2022.
10.46   Amendment of Stock Purchase Agreement, between Alset EHome International Inc. and DSS, Inc., dated February 28, 2022, incorporated by reference to Exhibit 10.1 to the Company’s Current Report on Form 8-K filed with the Securities and Exchange Commission on March 1, 2022.
10.47   Amendment to the Securities Purchase Agreement, between Alset EHome International Inc. and Chan Heng Fai, dated February 28, 2022, incorporated by reference to Exhibit 10.2 to the Company’s Current Report on Form 8-K filed with the Securities and Exchange Commission on March 1, 2022.
10.48   True Partner Stock Purchase Agreement, between Alset EHome International Inc. and DSS, Inc., dated February 28, 2022, incorporated by reference to Exhibit 10.3 to the Company’s Current Report on Form 8-K filed with the Securities and Exchange Commission on March 1, 2022.
10.49   True Partner Termination Agreement, between Alset EHome International Inc. and DSS, Inc., dated as of February 28, 2022, incorporated by reference to Exhibit 10.4 to the Company’s Current Report on Form 8-K filed with the Securities and Exchange Commission on March 1, 2022.
10.50   Chan Termination Agreement, between Alset EHome International Inc. and Chan Heng Fai, dated February 28, 2022, incorporated by reference to Exhibit 10.5 to the Company’s Current Report on Form 8-K filed with the Securities and Exchange Commission on March 1, 2022.
10.51   DSS Termination Agreement, between Alset EHome International Inc. and DSS, Inc., dated February 28, 2022, incorporated by reference to Exhibit 10.6 to the Company’s Current Report on Form 8-K filed with the Securities and Exchange Commission on March 1, 2022.
10.52*   Consulting Agreement between Alset EHome International Inc. and CA Global Consulting Inc., dated as of April 8, 2021.
10.53*   Service Agreement for Chief Executive Officer, between Alset International Limited and Chan Heng Fai, dated as of December 10, 2021.
14.1   Code of Conduct, incorporated herein by reference to Exhibit 14.1 to the Company’s Registration Statement on Form S-1, filed with the Securities and Exchange Commission on December 23, 2019.
14.2   Code of Ethics for the CEO and Senior Financial Officers, incorporated herein by reference to Exhibit 14.2 to the Company’s Registration Statement on Form S-1, filed with the Securities and Exchange Commission on December 23, 2019.
21*   Subsidiaries of the Company.
31.1a*   Certification of Chief Executive Officer Pursuant to Rules 13a-14(a) and 15d-14(a) under the Securities Exchange Act of 1934, as Adopted Pursuant to Section 302 of the Sarbanes-Oxley Act of 2002.
31.1b*   Certification of Co-Chief Executive Officer Pursuant to Rules 13a-14(a) and 15d-14(a) under the Securities Exchange Act of 1934, as Adopted Pursuant to Section 302 of the Sarbanes-Oxley Act of 2002.
31.2a*   Certification of Co-Chief Financial Officer Pursuant to Rules 13a-14(a) and 15d-14(a) under the Securities Exchange Act of 1934, as Adopted Pursuant to Section 302 of the Sarbanes-Oxley Act of 2002.
31.2b*   Certification of Co-Chief Financial Officer Pursuant to Rules 13a-14(a) and 15d-14(a) under the Securities Exchange Act of 1934, as Adopted Pursuant to Section 302 of the Sarbanes-Oxley Act of 2002.
32.1**   Certification of Chief Executive Officer and Chief Financial Officers Pursuant to 18 U.S.C. Section 1350, as Adopted Pursuant to Section 906 of the Sarbanes-Oxley Act of 2002.
101.INS   Inline XBRL Instance Document
101.SCH   Inline XBRL Taxonomy Extension Schema Document
101.CAL   Inline XBRL Taxonomy Extension Calculation Linkbase Document
101.DEF   Inline XBRL Taxonomy Extension Definition Linkbase Document
101.LAB   Inline XBRL Taxonomy Extension Label Linkbase Document
101.PRE   Inline XBRL Taxonomy Extension Presentation Linkbase Document

 

* Filed herewith.

** Furnished herewith.

 

Item 16. Form 10-K Summary

 

None.


 

132

 

 

SIGNATURES

 

Pursuant to the requirements of Section 13 or 15(d) of the Securities Exchange Act of 1934, the registrant has duly caused this report to be signed on its behalf by the undersigned, thereunto duly authorized.

 

  Alset EHome International Inc.
   
Dated: March 31, 2022 By: /s/ Rongguo (Ronald) Wei
  Name: Rongguo (Ronald) Wei
  Title: Co-Chief Financial Officer

 

Pursuant to the requirements of the Securities Exchange Act of 1934, this report has been signed below by the following persons on behalf of the registrant and in the capacities and on the dates indicated.

 

Signature   Title   Date
         
/s/ Chan Heng Fai   Chief Executive Officer, Director   March 31, 2022
Chan Heng Fai   (Principal Executive Officer)    
         
/s/ Chan Tung Moe   Chief Executive Officer   March 31, 2022
Chan Tung Moe   (Principal Executive Officer)    
         
/s/ Lui Wai Leung Alan   Co-Chief Financial Officer   March 31, 2022
Lui Wai Leung Alan  

(Principal Financial Officer and

Principal Accounting Officer)

   
         
/s/ Rongguo (Ronald) Wei   Co-Chief Financial Officer   March 31, 2022
Rongguo (Ronald) Wei  

(Principal Financial Officer and

Principal Accounting Officer)

   
         
/s/ Ang Hay Kim Aileen   Executive Director   March 31, 2022
Ang Hay Kim Aileen        
         
/s/ Wong Tat Keung   Director   March 31, 2022
Wong Tat Keung        
         
/s/ William Wu   Director   March 31, 2022
William Wu        
         
/s/ Wong Shui Yeung   Director   March 31, 2022
Wong Shui Yeung        

 

133