20-F 1 a18-8168_120f.htm 20-F

Table of Contents

 

UNITED STATES

SECURITIES AND EXCHANGE COMMISSION

WASHINGTON, D.C. 20549

 

FORM 20-F

 

 

o

REGISTRATION STATEMENT PURSUANT TO SECTION 12(b) OR 12(g) OF THE SECURITIES EXCHANGE ACT OF 1934

 

 

OR

 

 

x

ANNUAL REPORT PURSUANT TO SECTION 13 OR 15(d) OF THE SECURITIES EXCHANGE ACT OF 1934
For the fiscal year ended December 31, 2017.

 

 

OR

 

 

o

TRANSITION REPORT PURSUANT TO SECTION 13 OR 15(d) OF THE SECURITIES EXCHANGE ACT OF 1934

 

 

OR

 

 

o

SHELL COMPANY REPORT PURSUANT TO SECTION 13 OR 15(d) OF THE SECURITIES EXCHANGE ACT OF 1934.

 

For the transition period from                       to                        

 

Commission file number 001-38198

 

BEST Inc.

(Exact name of Registrant as specified in its charter)

 

Cayman Islands

(Jurisdiction of incorporation or organization)

 

2nd Floor, Block A, Huaxing Modern Industry Park
No. 18 Tangmiao Road, Xihu District, Hangzhou
Zhejiang Province 310013
People’s Republic of China

(Address of principal executive offices)

 

Ms. Lei Guo, Chief Accounting Officer
Telephone: +86-571-88995656
Email: ir@best-inc.com
2nd Floor, Block A, Huaxing Modern Industry Park
No. 18 Tangmiao Road, Xihu District, Hangzhou
Zhejiang Province 310013
People’s Republic of China

* (Name, Telephone, E-mail and/or Facsimile number and Address of Company Contact Person)

 

Securities registered or to be registered pursuant to Section 12(b) of the Act.

 

Title of each class

 

Name of each exchange on which registered

American Depositary Shares, each representing one Class A ordinary share

 

New York Stock Exchange, Inc.

Class A ordinary shares, par value $0.01 per share*

 

New York Stock Exchange, Inc.

 


*        Not for trading, but only in connection with the registration of American Depositary Shares representing such Class A ordinary shares pursuant to the requirements of the Securities and Exchange Commission.

 

Securities registered or to be registered pursuant to Section 12(g) of the Act. None

 

Securities for which there is a reporting obligation pursuant to Section 15(d) of the Act. None

 

Indicate the number of outstanding shares of each of the issuer’s classes of capital or common stock as of the close of the period covered by the annual report.

 

232,648,452 Class A ordinary shares were outstanding as of December 31, 2017

 

94,075,249 Class B ordinary shares were outstanding as of December 31, 2017

 

47,790,698 Class C ordinary shares were outstanding as of December 31, 2017

 

Indicate by check mark if the registrant is a well-known seasoned issuer, as defined in Rule 405 of the Securities Act.

o Yes   x No

 

If this report is an annual or transition report, indicate by check mark if the registrant is not required to file reports pursuant to Section 13 or 15(d) of the Securities Exchange Act of 1934.

o Yes   x No

 

Note — Checking the box above will not relieve any registrant required to file reports pursuant to Section 13 or 15(d) of the Securities Exchange Act of 1934 from their obligations under those Sections.

 

Indicate by check mark whether the registrant (1) has filed all reports required to be filed by Section 13 or 15(d) of the Securities Exchange Act of 1934 during the preceding 12 months (or for such shorter period that the registrantion was required to file such reports), and (2) has been subject to such filing requirements for the past 90 days.

x Yes   o No

 

Indicate by check mark whether the registrant has submitted electronically and posted on its corporate Web site, if any, every Interactive Data File required to be submitted and posted pursuant to Rule 405 of Regulation S-T (§232.405 of this chapter) during the preceding 12 months (or for such shorter period that the registrant was required to submit and post such files).

x Yes   o No

 

Indicate by check mark whether the registrant is a large accelerated filer, an accelerated filer, a non-accelerated filer, or an emerging growth company. See the definitions of “large accelerated filer,” “accelerated filer,” and “emerging growth company” in Rule 12b-2 of the Exchange Act. (Check one):

 

Large accelerated filer o

 

Accelerated filer o

 

Non-accelerated filer x

 

Emerging growth company o

 

If an emerging growth company that prepares its financial statements in accordance with U.S. GAAP, indicate by check mark if the registrant has elected not to use the extended transition period for complying with any new or revised financial accounting standards† provided pursuant to Section 13(a) of the Exchange Act. o

 


† The term “new or revised financial accounting standard” refers to any update issued by the Financial Accounting Standards Board to its Accounting Standards Codification after April 5, 2012.

 

Indicate by check mark which basis of accounting the registrant has used to prepare the financial statements included in this filing:

 

U.S. GAAP x

 

International Financial Reporting Standards as issued
by the International Accounting Standards Board
o

 

Other o

 

If “Other” has been checked in response to the previous question, indicate by check mark which financial statement item the registrant has elected to follow.

o Item 17   o Item 18

 

If this is an annual report, indicate by check mark whether the registrant is a shell company (as defined in Rule 12b-2 of the Exchange Act).

o Yes   x No

 

(APPLICABLE ONLY TO ISSUERS INVOLVED IN BANKRUPTCY PROCEEDINGS DURING THE PAST FIVE YEARS)

 

Indicate by check mark whether the registrant has filed all documents and reports required to be filed by Sections 12, 13 or 15(d) of the Securities Exchange Act of 1934 subsequent to the distribution of securities under a plan confirmed by a court.

 

o Yes   o No

 



Table of Contents

 

BEST INC.

 

FORM 20-F ANNUAL REPORT

FISCAL YEAR ENDED DECEMBER 31, 2017

 

 

Page

 

 

PART I

 

ITEM 1. IDENTITY OF DIRECTORS, SENIOR MANAGEMENT AND ADVISERS

3

ITEM 2. OFFER STATISTICS AND EXPECTED TIMETABLE

3

ITEM 3. KEY INFORMATION

3

ITEM 4. INFORMATION ON THE COMPANY

32

ITEM 4A. UNRESOLVED STAFF COMMENTS

59

ITEM 5. OPERATING AND FINANCIAL REVIEW AND PROSPECTS

59

ITEM 6. DIRECTORS, SENIOR MANAGEMENT AND EMPLOYEES

78

ITEM 7. MAJOR SHAREHOLDERS AND RELATED PARTY TRANSACTIONS

87

ITEM 8. FINANCIAL INFORMATION

87

ITEM 9. THE OFFER AND LISTING

88

ITEM 10. ADDITIONAL INFORMATION

89

ITEM 11. QUANTITATIVE AND QUALITATIVE DISCLOSURES ABOUT MARKET RISK

94

ITEM 12. DESCRIPTION OF SECURITIES OTHER THAN EQUITY SECURITIES

95

PART II

96

ITEM 13. DEFAULTS, DIVIDEND ARREARAGES AND DELINQUENCIES

96

ITEM 14. MATERIAL MODIFICATIONS TO THE RIGHTS OF SECURITY HOLDERS AND USE OF PROCEEDS

97

ITEM 15. CONTROLS AND PROCEDURES

97

ITEM 16A. AUDIT COMMITTEE FINANCIAL EXPERT

98

ITEM 16B. CODE OF ETHICS

98

ITEM 16C. PRINCIPAL ACCOUNTANT FEES AND SERVICES

98

ITEM 16D. EXEMPTIONS FROM THE LISTING STANDARDS FOR AUDIT COMMITTEES

98

ITEM 16E. PURCHASE OF EQUITY SECURITIES BY THE ISSUER AND AFFILIATED PURCHASERS

98

ITEM 16F. CHANGE IN REGISTRANT’S CERTIFYING ACCOUNTANT

98

ITEM 16G. CORPORATE GOVERNANCE

98

ITEM 16H. MINE SAFETY

99

PART III

99

ITEM 17. FINANCIAL STATEMENTS

99

ITEM 18. FINANCIAL STATEMENTS

99

ITEM 19. EXHIBIT INDEX

100

 

i



Table of Contents

 

Conventions that Apply to this Annual Report on Form 20-F

 

In this annual report, unless otherwise indicated:

 

·                  “2008 equity and performance incentive plan” are to our equity and performance incentive plan adopted in 2008, as amended;

 

·                  “2017 equity incentive plan” are to BEST Inc. 2017 Equity Incentive Plan adopted in September 2017;

 

·                  “ADRs” are to the American depositary receipts, which, if issued, evidence our ADSs;

 

·                  “ADSs” are to our American depositary shares, each of which represents one Class A ordinary share;

 

·                  “AGVs” are to automated guided vehicles;

 

·                  “Alibaba” are to Alibaba Group Holding Limited and its consolidated subsidiaries and affiliated consolidated entities, two of which (Alibaba Investment Limited and Cainiao Smart Logistics Investment Limited) are principal record shareholders of us;

 

·                  “average orders fulfilled per customer” in any given period are to orders fulfilled in the period divided by the average number of customers at the beginning and end of the period;

 

·                  “B2B” are to business-to-business, or commercial transactions between businesses;

 

·                  “B2C” are to business-to-consumers, or commercial transactions between businesses and consumers;

 

·                  “Cainiao Network” are to Cainiao Smart Logistics Network Limited, in which Alibaba Group Holding Limited owned an approximately 51% equity interest as of November 29, 2017 as disclosed in a prospectus supplement filed with the SEC by Alibaba Group Holding Limited on November 30, 2017, and its consolidated subsidiaries and affiliated consolidated entities, one of which (Cainiao Smart Logistics Investment Limited) is a principal shareholder of us;

 

·                  “China” and the “PRC” are to the People’s Republic of China, excluding, for the purposes of this annual report only, Taiwan, the Hong Kong Special Administrative Region and the Macao Special Administrative Region;

 

·                  “Cloud OFC” or “OFC” are to our cloud-based order fulfillment centers through which we take full responsibility for the optimal allocation of our customers’ inventory;

 

·                  “franchisee partners” are to our direct business partners that operate our Cloud OFCs for BEST Supply Chain Management or service stations on our supply chain service network for BEST Express and BEST Freight and provide related services under our brands;

 

·                  “freight” are to full-truckload and less-than-truckload road transportation services;

 

·                  “freight volume” in any given period are to the tonnage of freight cargo collected by us or our franchisee partners using our waybills in that period;

 

·                  “FTL” are to full-truckload freight services;

 

·                  “hubs” are to large logistics facilities located in major cities in the PRC that are connected by line-haul transportation to most of our other hubs;

 

·                  “LTL” are to less-than-truckload freight services;

 

·                  “membership stores” as of any date are to convenience stores that have registered on our B2B platform Dianjia.com as of that date;

 

·                  “New Retail” are to the seamless integration of online and offline retail to offer a consumer-centric, omni-channel and global shopping experience through digitization and just-in-time delivery;

 

·                  “orders fulfilled” in any given period are to the number of orders processed by our self-operated or franchised OFCs, as applicable, which were delivered to intended recipients in that period;

 

·                  “ordinary shares” are to, collectively, our Class A ordinary shares, Class B ordinary shares and Class C ordinary shares, par value US$0.01 per share;

 

1



Table of Contents

 

·                  “parcel volume” in any given period are to the number of parcels collected by us or our franchisee partners using our waybills in that period;

 

·                  “RMB” or “Renminbi” are to the legal currency of the PRC;

 

·                  “Smart Supply Chain” are to a supply chain built upon a technology infrastructure that is designed to analyze massive amounts of data to provide the customization, productivity and efficiency needed in the New Retail era, which can be defined by characteristics including data and information visibility to all participants, timely predictions and real-time responses, flexibility, efficiency and integration of supply chain services;

 

·                  “SMEs” are to small and medium enterprises;

 

·                  “sortation centers” are to generally smaller-scale logistics facilities compared to hubs, primarily connected to nearby hubs and other sortation centers by feeder services;

 

·                  “store orders fulfilled” in any given period are to the number of orders placed through Dianjia.com and fulfilled in that period;

 

·                  “swap bodies” are to standard freight containers that can be conveniently mounted on tractors for road transportation;

 

·                  “US$,” “U.S. dollars,” or “dollars” are to the legal currency of the United States;

 

·                  “U.S. GAAP” are to accounting principles generally accepted in the United States;

 

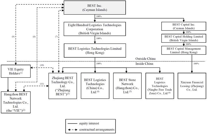
·                  “variable interest entity” or “VIE” are to Hangzhou BEST Network Technologies Co., Ltd., which is 100% owned by PRC citizens and a PRC entity owned by PRC citizens, and is consolidated into our consolidated financial statements in accordance with U.S. GAAP as if it were our wholly-owned subsidiary;

 

·                  “we,” “us,” “our company,” “our” and “BEST” are to BEST Inc., our Cayman Islands holding company, and its subsidiaries and variable interest entity, as the context requires; and

 

·                  “WOWO” are to Sichuan Wowo Supermarket Chain Co., Ltd., which we acquired in May 2017.

 

This annual report includes our audited consolidated financial statements for the years ended December 31, 2015, 2016 and 2017, and as of December 31, 2016 and 2017.

 

Our ADSs are listed on the New York Stock Exchange under the symbol “BSTI.”

 

2



Table of Contents

 

PART I

 

ITEM 1.                                                                                                                                                IDENTITY OF DIRECTORS, SENIOR MANAGEMENT AND ADVISERS

 

Not required.

 

ITEM 2.                                                                                                                                                OFFER STATISTICS AND EXPECTED TIMETABLE

 

Not required.

 

ITEM 3.                                                                                                                                                KEY INFORMATION

 

A.                                                                                                                                  Selected Financial Data

 

The selected consolidated financial data shown below should be read in conjunction with “Item 5. Operating and Financial Review and Prospects,” and the financial statements and the notes to those statements included elsewhere in this annual report. The selected consolidated statements of operations data for the years ended December 31, 2015, 2016 and 2017 and the selected consolidated balance sheet data as of December 31, 2016 and 2017 have been derived from our audited consolidated financial statements, which are included elsewhere in this annual report. The selected consolidated statements of operations data for the years ended December 31, 2014 and the selected balance sheet data as of December 31, 2015 have been derived from our audited financial statements not included in this annual report. Selected consolidated financial data as of and for the year ended December 31, 2013 have not been included, as such information is not available on a basis that is consistent with the consolidated financial data included in this annual report and cannot be provided on a U.S. GAAP basis without unreasonable effort or expense. The historical results are not necessarily indicative of results to be expected in any future period.

 

 

 

For the year ended December 31,

 

 

 

2014

 

2015

 

2016

 

2017

 

 

 

RMB

 

RMB

 

RMB

 

RMB

 

US$

 

 

 

(in thousands, except number of shares and per share data)

 

 

 

 

 

 

 

 

 

 

 

 

 

Selected Consolidated Statements of Operations Data

 

 

 

 

 

 

 

 

 

 

 

Revenue

 

 

 

 

 

 

 

 

 

 

 

Supply chain management

 

536,026

 

828,431

 

1,241,356

 

1,600,952

 

246,062

 

Express

 

2,260,397

 

3,710,292

 

5,388,833

 

12,786,279

 

1,965,215

 

Freight

 

265,931

 

675,881

 

1,604,573

 

3,178,044

 

488,456

 

Store+

 

 

9,700

 

560,226

 

2,226,034

 

342,135

 

Others

 

3,440

 

32,023

 

49,149

 

198,253

 

30,471

 

Total revenue

 

3,065,794

 

5,256,327

 

8,844,137

 

19,989,562

 

3,072,339

 

 

 

 

 

 

 

 

 

 

 

 

 

Cost of revenue

 

 

 

 

 

 

 

 

 

 

 

Supply chain management

 

(508,444

)

(795,099

)

(1,183,245

)

(1,502,570

)

(230,941

)

Express

 

(2,590,123

)

(4,035,300

)

(5,671,356

)

(12,435,550

)

(1,911,309

)

Freight

 

(338,316

)

(923,011

)

(1,906,930

)

(3,362,652

)

(516,830

)

Store+

 

 

(9,714

)

(569,557

)

(2,072,912

)

(318,601

)

Others

 

(3,577

)

(27,584

)

(45,479

)

(130,327

)

(20,031

)

Total cost of revenue

 

(3,440,460

)

(5,790,708

)

(9,376,567

)

(19,504,011

)

(2,997,712

)

 

 

 

 

 

 

 

 

 

 

 

 

Gross (loss)/profit

 

(374,666

)

(534,381

)

(532,430

)

485,551

 

74,627

 

Selling expenses

 

(132,123

)

(188,455

)

(370,017

)

(694,852

)

(106,797

)

General and administrative expenses

 

(232,974

)

(380,864

)

(521,237

)

(928,188

)

(142,660

)

Research and development expenses

 

(26,648

)

(46,177

)

(80,326

)

(139,009

)

(21,365

)

Other operating income

 

43,245

 

61,877

 

104,047

 

 

 

Total operating expenses

 

(348,500

)

(553,619

)

(867,533

)

(1,762,049

)

(270,822

)

 

 

 

 

 

 

 

 

 

 

 

 

Loss from operations

 

(723,166

)

(1,088,000

)

(1,399,963

)

(1,276,498

)

(196,195

)

Interest income

 

3,977

 

3,727

 

24,386

 

75,056

 

11,536

 

Interest expense

 

(7,997

)

(10,439

)

(21,379

)

(47,154

)

(7,247

)

Foreign exchange (loss)/gain

 

(905

)

5,808

 

(1,864

)

(6,320

)

(971

)

Other income

 

13,627

 

31,247

 

44,409

 

56,035

 

8,612

 

Other expense

 

(3,997

)

(1,774

)

(8,542

)

(18,507

)

(2,844

)

Loss before income tax and share of net (loss)/income of equity investees

 

(718,461

)

(1,059,431

)

(1,362,953

)

(1,217,388

)

(187,109

)

Income tax expense

 

 

 

(570

)

(9,856

)

(1,515

)

Loss before share of net (loss)/income of equity investees

 

(718,461

)

(1,059,431

)

(1,363,523

)

(1,227,244

)

(188,624

)

Share of net (loss)/income of equity investees

 

 

(12

)

43

 

(816

)

(125

)

 

3



Table of Contents

 

 

 

For the year ended December 31,

 

 

 

2014

 

2015

 

2016

 

2017

 

 

 

RMB

 

RMB

 

RMB

 

RMB

 

US$

 

 

 

(in thousands, except number of shares and per share data)

 

 

 

 

 

Net loss

 

(718,461

)

(1,059,443

)

(1,363,480

)

(1,228,060

)

(188,749

)

Net loss attributable to non-controlling interests

 

 

 

 

(167

)

(26

)

Net loss attributable to BEST Inc.

 

(718,461

)

(1,059,443

)

(1,363,480

)

(1,227,893

)

(188,723

)

Accretion to redemption value of redeemable convertible preferred shares

 

(512,289

)

(3,996,288

)

(3,661,975

)

 

 

Deemed dividend-Repurchase of redeemable convertible preferred shares

 

(45,784

)

 

(160,891

)

 

 

Deemed dividend-Modification of redeemable convertible preferred shares

 

(15,007

)

 

(423,979

)

 

 

Deemed dividend-Extinguishment loss of Series D redeemable convertible preferred shares

 

 

(296,677

)

 

 

 

Net loss attributable to ordinary shareholders

 

(1,291,541

)

(5,352,408

)

(5,610,325

)

(1,227,893

)

(188,723

)

Net loss per ordinary share:

 

 

 

 

 

 

 

 

 

 

 

Basic

 

(21.53

)

(89.21

)

(93.51

)

(8.28

)

(1.27

)

Diluted

 

(21.53

)

(89.21

)

(93.51

)

(8.28

)

(1.27

)

Shares used in net loss per share computation:

 

 

 

 

 

 

 

 

 

 

 

Ordinary shares:

 

 

 

 

 

 

 

 

 

 

 

Basic

 

60,000,000

 

60,000,000

 

60,000,000

 

 

 

 

Diluted

 

60,000,000

 

60,000,000

 

60,000,000

 

 

 

 

Class A ordinary shares:

 

 

 

 

 

 

 

 

 

 

 

Basic

 

 

 

 

73,900,022

 

 

 

Diluted

 

 

 

 

148,237,982

 

 

 

Class B ordinary shares:

 

 

 

 

 

 

 

 

 

 

 

Basic

 

 

 

 

26,547,262

 

 

 

Diluted

 

 

 

 

26,547,262

 

 

 

Class C ordinary shares:

 

 

 

 

 

 

 

 

 

 

 

Basic

 

 

 

 

47,790,698

 

 

 

Diluted

 

 

 

 

47,790,698

 

 

 

 

 

 

As of December 31,

 

 

 

2015

 

2016

 

2017

 

 

 

RMB

 

RMB

 

RMB

 

US$

 

 

 

(in thousands)

 

 

 

 

 

 

 

 

 

 

 

Selected Consolidated Balance Sheet Data

 

 

 

 

 

 

 

 

 

Cash and cash equivalents

 

291,064

 

2,927,581

 

1,240,431

 

190,651

 

Restricted cash (current portion)

 

135,342

 

374,363

 

1,652,653

 

254,008

 

Short-term investments

 

 

62,000

 

2,353,663

 

361,751

 

Property and equipment, net

 

625,535

 

947,505

 

1,307,470

 

200,954

 

Intangible assets, net

 

5,366

 

13,516

 

158,556

 

24,370

 

Long-term investments

 

10,288

 

24,081

 

37,167

 

5,712

 

Goodwill

 

239,564

 

247,203

 

448,584

 

68,946

 

Restricted cash (non-current portion)

 

55,060

 

78,588

 

89,745

 

13,794

 

Other non-current assets

 

20,843

 

87,395

 

62,314

 

9,577

 

Total assets

 

2,286,578

 

6,295,853

 

10,878,529

 

1,671,998

 

Short-term bank loans

 

338,000

 

458,000

 

1,216,384

 

186,955

 

Total liabilities

 

2,728,113

 

3,961,748

 

6,486,034

 

996,883

 

Total mezzanine equity

 

7,585,550

 

15,842,210

 

 

 

Total shareholders’ (deficit)/equity

 

(8,027,085

)

(13,508,105

)

4,392,495

 

675,115

 

Total liabilities, mezzanine equity and shareholders’ (deficit)/equity

 

2,286,578

 

6,295,853

 

10,878,529

 

1,671,998

 

 

Non-GAAP Measures

 

We use EBITDA and adjusted EBITDA, non-GAAP financial measures, in the evaluation of our operating results and in our financial and operational decision-making. We believe that EBITDA and adjusted EBITDA help us to identify underlying trends in our business that could otherwise be distorted by the effect of certain expenses and income that we include in net loss. We believe that EBITDA and adjusted EBITDA provide useful information about our operating results, enhance the overall understanding of our past performance and future prospects, and allow for greater visibility with respect to key metrics used by our management in its financial and operational decision-making.

 

                EBITDA and adjusted EBITDA should not be considered in isolation or construed as an alternative to net loss or any other measure of performance or as an indicator of our operating performance. Investors are encouraged to review the historical non-GAAP financial measures to the most directly comparable GAAP measures. EBITDA and adjusted EBITDA presented here may not be comparable to similarly titled measures presented by other companies. Other companies may calculate similarly titled measures differently, limiting their usefulness as comparative measures to our data. We encourage investors and others to review our financial information in its entirety and not rely on a single financial measure.

 

4



Table of Contents

 

EBITDA represents net loss plus depreciation, amortization, interest expense and income tax expense and minus interest income.

 

Adjusted EBITDA represents EBITDA before share-based compensation expenses.

 

The table below sets forth a reconciliation of our net loss to EBITDA for the periods indicated:

 

 

 

For the year ended December 31,

 

 

 

2014

 

2015

 

2016

 

2017

 

 

 

RMB

 

RMB

 

RMB

 

RMB

 

US$

 

 

 

(in thousands)

 

 

 

 

 

 

 

 

 

 

 

 

 

Net loss

 

(718,461

)

(1,059,443

)

(1,363,480

)

(1,228,060

)

(188,749

)

Add:

 

 

 

 

 

 

 

 

 

 

 

Depreciation & Amortization

 

84,970

 

147,283

 

246,311

 

363,909

 

55,932

 

Interest expense

 

7,997

 

10,439

 

21,379

 

47,154

 

7,247

 

Income tax expense

 

 

 

570

 

9,856

 

1,515

 

Subtract:

 

 

 

 

 

 

 

 

 

 

 

Interest income

 

3,977

 

3,727

 

24,386

 

75,056

 

11,536

 

EBITDA

 

(629,471

)

(905,448

)

(1,119,606

)

(882,197

)

(135,591

)

Share-based compensation expenses

 

 

 

 

298,963

 

45,950

 

Adjusted EBITDA

 

(629,471

)

(905,448

)

(1,119,606

)

(583,234

)

(89,641

)

 

Selected Operating Data

 

The table below sets forth the selected operating data for the periods indicated:

 

 

 

For the year ended December 31,

 

 

 

2014

 

2015

 

2016

 

2017

 

BEST Supply Chain Management

 

 

 

 

 

 

 

 

 

Number of orders fulfilled by self-operated Cloud OFCs (in thousands)(1)

 

18,842

 

44,997

 

88,063

 

132,245

 

Number of orders fulfilled by franchised Cloud OFCs (in thousands)

 

1,442

 

8,826

 

32,602

 

48,232

 

BEST Express

 

 

 

 

 

 

 

 

 

Parcel volume (in thousands)(1)

 

735,481

 

1,402,101

 

2,165,521

 

3,769,385

 

BEST Freight

 

 

 

 

 

 

 

 

 

Freight volume (tonnage in thousands)(1)

 

678

 

1,507

 

2,982

 

4,316

 

BEST Store+

 

 

 

 

 

 

 

 

 

Number of store orders fulfilled

 

N/A

 

10,151

 

687,692

 

2,403,538

 

 


(1)         Includes services performed for external customers both directly and indirectly through our other segments. For discussion of our total segment revenue, which includes both external revenue and intersegment revenue, please see “Item 5. Operating and Financial Review and Prospects—Segment Financial Information.”

 

Currency Translation and Exchange Rates

 

We have translated certain Renminbi, or RMB, amounts included in this annual report into U.S. dollars for the convenience of the readers. The rate we used for the translations was RMB6.5063 = US$1.00, which was the noon buying rate on December 29, 2017 in New York for cable transfers in Renminbi as set forth in the H.10 weekly statistical release of the Federal Reserve Board. The translation does not mean that RMB could actually be converted into U.S. dollars at that rate. The following table shows the noon buying rate for RMB express in RMB per US$1.00.

 

 

 

Noon Buying Rate

 

Period  

 

Period End

 

Average(1)

 

Low

 

High

 

 

 

(RMB per US$1.00)

 

2013

 

6.0537

 

6.1412

 

6.2438

 

6.0537

 

2014

 

6.2046

 

6.1704

 

6.2591

 

6.0402

 

2015

 

6.4778

 

6.2869

 

6.4896

 

6.1870

 

2016

 

6.9430

 

6.6549

 

6.9580

 

6.4480

 

2017

 

6.5063

 

6.7350

 

6.9575

 

6.4773

 

October

 

6.6328

 

6.6254

 

6.6533

 

6.5712

 

November

 

6.6090

 

6.6200

 

6.6385

 

6.5967

 

December

 

6.5063

 

6.5932

 

6.6210

 

6.5063

 

2018

 

 

 

 

 

 

 

 

 

January

 

6.2841

 

6.4232

 

6.5263

 

6.2841

 

February

 

6.3280

 

6.3183

 

6.3471

 

6.2649

 

March

 

6.2726

 

6.3174

 

6.3565

 

6.2685

 

April (through April 6, 2018)

 

6.3045

 

6.2960

 

6.3045

 

6.2785

 

 


(1)    Annual averages are calculated from month-end rates. Monthly averages are calculated using the average of the daily rates during the relevant period.

 

5



Table of Contents

 

B.                                                   Capitalization and Indebtedness

 

Not required.

 

C.                                                   Reasons for the Offer and Use of Proceeds

 

Not required.

 

D.                                                   Risk Factors

 

Risks Relating to Our Business and Industry

 

We are highly reliant on our proprietary technology infrastructure in our business operations, and failure to continue to improve and effectively utilize our technology infrastructure or successfully develop new technologies could harm our business operations, reputation and prospects.

 

Technology is critical to our integrated solutions, connecting our systems with those of our ecosystem participants. While we have continuously enhanced our proprietary technology infrastructure, we may not be able to continue to improve our technology infrastructure and develop new technologies to meet the future needs of our business. If we are unable to maintain, improve and effectively utilize our technology infrastructure or to realize the expected results from our technology investments, our business, financial condition, results of operations and prospects, as well as our reputation, could be materially and adversely affected. Any problem with the functionality and effectiveness of our software or platforms could also result in unanticipated system disruptions, slower response times, impaired user experiences, delays in reporting accurate operating and financial information and inefficient management of our systems. In addition, enhancing our technology infrastructure requires significant investments of time and financial and managerial resources, including recruiting and training new technology personnel, adding new hardware and updating software and strengthening research and development. If our technology investments are unsuccessful, our business could suffer and we may be unable to recover the resources we commit to such initiatives.

 

We may not be able to maintain and enhance our ecosystem, which could negatively affect our business and prospects.

 

Our ability to maintain a healthy and rich ecosystem that creates strong network effects among our ecosystem participants is critical to our success. While our ecosystem provides synergies and economies of scale across service lines and among our ecosystem participants, the extent to which we are able to maintain and strengthen the attractiveness of our ecosystem depends on our ability to offer a mutually beneficial platform for all participants, maintain the quality of our services and solutions, develop attractive services and solutions that meet the evolving needs of our ecosystem participants, reinforce the scope and scale of our ecosystem, and retain our participants. We must also provide sufficient geographic coverage to cement the effectiveness of our service network, continue to utilize data to improve service quality and operational efficiency of all ecosystem participants and maintain and improve our technology infrastructure as part of our single interoperable system to ensure seamless operations.

 

In addition, our ecosystem participants may compete with one another, which may complicate the management of our ecosystem. Further, changes made to enhance our ecosystem or balance the interests of participants may be viewed positively by one participant but may have negative effects upon another. If we fail to balance the interests of all participants in our ecosystem, we may fail to further attract and retain additional ecosystem participants, which could adversely impact our business and financial condition.

 

If we are unable to continue to innovate, meet evolving market trends, adapt to changing customer demands and maintain our culture of innovation, our ability to sustain and grow our business may suffer.

 

The ongoing success of our business depends on our ability to continue to introduce innovative solutions and services to meet evolving market trends and satisfy changing customer demands. We must continue to adapt by continuing innovation, improving our services and modifying our strategies, which could cause us to incur substantial costs. We may not be able to continue to innovate or adapt to changing market and customer needs in a timely and cost-effective manner, if at all. This could adversely impact our ability to embrace the changes brought by the New Retail era, expand our ecosystem and grow our business. Failure to develop new services to meet evolving market demands through innovation could cause us to lose current and potential customers and harm our operating results and financial condition.

 

In addition, we may not be able to maintain our culture of innovation, which has been critical to our success and has helped us create value for our shareholders, succeed as a leader in our industry and attract, retain and motivate employees and other ecosystem participants. Among other challenges, we may not be able to identify and promote people in leadership positions who share our culture and can always focus on technology and innovation. Competitive pressure may also cause us to move in directions that may divert us from our mission, vision and values. If we cannot maintain our culture of innovation, our long-term business prospects could be materially and adversely affected.

 

6



Table of Contents

 

We operate in a competitive industry, and if we fail to compete effectively, our business could suffer.

 

We compete with total supply chain solution providers. As our operations encompass a broad range of areas, certain service lines may also face competition from other service providers in China, including supply chain management service providers, express delivery and freight service providers, B2B platforms for convenience stores, SaaS software service providers and logistics brokers. In addition to established players, we face competition from new market entrants. Increased competition may lead to a loss of market share, increasing difficulty in launching new service offerings, reduction in revenue or increase in loss, any one of which could harm our business, financial condition and results of operations.

 

Our competitors may have a broader service or network coverage, more advanced technology infrastructure, stronger brand recognition and greater capital resources than we do. In addition, our competitors may reduce their rates to gain business, especially during times of reduced economic growth, and such reductions may limit our ability to maintain or increase our rates, maintain our operating margins or achieve growth in our business. The establishment by our competitors of cooperative relationships or competing networks to increase their ability to address the needs of our customers and other ecosystem participants could also negatively impact us. We may not be able to successfully compete against current or future competitors, and competitive pressures may have a material and adverse effect on our business, financial condition and results of operations.

 

Our business and growth are significantly affected by the emergence of New Retail, the continued development of e-commerce in China and elsewhere and related demand for integrated supply chain solutions.

 

We serve merchants that conduct business in the retail industry in China, and these merchants rely on our services to fulfill orders placed by consumers. As we focus on providing integrated supply chain solutions for the New Retail era, our future business opportunities depend upon the continued integration of online and offline retail channels and the adoption of the New Retail paradigm by an increasing number of merchants in China and elsewhere, both in terms of large platforms and brands as well as small and medium enterprises, or SMEs, and micro-merchants.

 

The future development and landscape of the retail industry in China and elsewhere are affected by a number of factors, many of which are beyond our control. These factors include the consumption power and disposable income of consumers, as well as changes in demographics and consumer preferences. The development of the retail industry is also subject to the selection, price and popularity of products offered through online and offline retail channels of original brand manufacturers and changes in the availability, reliability and security of such channels. Further, the emergence of alternative channels or business models that better suit the needs of consumers and the development of online-to-offline supply chain integration by retailers can also affect the development of the retail industry. Another important factor is the development of fulfillment, payment and other ancillary services associated with the retail industry. Macroeconomic conditions, particularly as retail spending tends to decline during recessions and other economic factors affecting consumer confidence, including inflation and deflation, fluctuation of currency exchange rates, volatility of stock and property markets, interest rates, tax rates and changes in unemployment rates, can also impact the development of the retail industry in China and elsewhere. Finally, other factors, such as changes in government policies, laws and regulations, in particular those that govern the retail industry, as well as changes in domestic and international politics, including military conflicts, political turmoil and social instability, can also influence the development of the retail industry in China and elsewhere. If New Retail, the e-commerce industry in China and their respective demand for integrated supply chain solutions fail to develop as we expect, our business and growth could be harmed.

 

We have a history of net losses and negative cash flows from operating activities, which may occur again in the future.

 

We incurred net losses of RMB1,059.4 million, RMB1,363.5 million and RMB1,228.1 million (US$188.7 million) in 2015, 2016 and 2017, respectively. In addition, net cash used in operating activities was RMB312.2 million and RMB788.8 million in 2015 and 2016, respectively, although we generated net cash from operating activities in the amount of RMB117.0 million (US$18.0 million) in 2017.

 

We expect our costs and expenses to increase in absolute amounts due to (i) the continued expansion of our operations, which will cause us to incur increased costs and expenses associated with third-party transportation, labor, leasing property for the operation of our Cloud OFCs, hubs and sortation centers; (ii) the continued investment in our technology infrastructure and network; and (iii) the launch of new and additional value-added services, which may incur start-up costs, have different revenue and cost structures, and take time to achieve profitability.

 

Our ability to achieve and maintain profitability depends on our ability to enhance our market position, maintain competitive pricing, leverage technology and business model innovation to expand and enhance our service offerings, and increase our operational efficiency. These are affected by many factors which may be beyond our control, such as the overall demand for supply chain services and general economic conditions, including levels of consumption. If we are unable to achieve profitability, we may have to cut down the scale of our operation, which may impact our business growth and adversely affect our financial condition and results of operations.

 

Our historical growth rates may not be indicative of our future growth, and if we are unable to manage our growth or execute our strategies effectively, our business and prospects may be materially and adversely affected.

 

We have experienced significant growth in recent years. Our total revenue increased from RMB5.3 billion in 2015 to RMB8.9 billion in 2016 and further to RMB20.0 billion (US$3.1 million) in 2017. However, our past growth rates may not be indicative of future growth and our planned growth initiatives may not be successful.

 

7



Table of Contents

 

Our rapid growth has placed, and will continue to place significant demands on our management and our technology infrastructure, as well as our administrative, operational and financial systems. We intend to achieve growth by continuing innovation, expanding market share, growing BEST Store+, broadening value-added services, expanding global reach, enhancing operational efficiency and quality, as well as growing through mergers, acquisitions and strategic alliances. There can be no assurance that we will be able to effectively manage our growth. If our growth initiatives fail, our businesses and prospects may be materially and adversely affected.

 

We are affected by seasonality experienced in the consumer retail and logistics and supply chain industries.

 

Our businesses are affected by seasonality experienced in the consumer retail and logistics and supply chain industries. We typically experience a seasonal surge in sales, especially in our express operations, during the fourth quarter of each year as a result of stronger sales in connection with the Singles’ Day and December 12 promotions, which may impose challenging resource and capacity demands on our business operations. Activity levels across our business lines are typically lower around Chinese national holidays, including Chinese New Year in the first quarter of each year, as consumer spending levels and shipment levels tend to be weaker.

 

Seasonality also makes it challenging to forecast demand for our services, as the express, freight, supply chain management and store sales volumes can vary significantly and unexpectedly. We make planning and spending decisions, including capacity expansion, procurement commitments, personnel needs and other resource requirements based on our estimates of demand. Failure to meet demand associated with the seasonality in a timely manner may adversely affect our financial condition and results of operations.

 

Our success depends to a substantial degree upon our senior management, including Mr. Shao-Ning Johnny Chou and other key personnel, and our business operations would be negatively affected if we fail to attract and retain highly competent senior management.

 

We depend to a significant degree on the continued service of Mr. Shao-Ning Johnny Chou, our founder, chairman and chief executive officer, our experienced senior management and other key personnel. If members of our senior management team or other key personnel resign, join a competitor or form a competing company, it could negatively impact our business operations and create uncertainty as we search for and integrate a replacement and could have an adverse effect on our financial condition and results of operations.

 

We have entered into employment and confidentiality agreements with our senior management and other key personnel. However, these employment and confidentiality agreements do not ensure the continued service of these senior management and key personnel, and we may not be able to enforce these agreements. In addition, we do not maintain key man life insurance for any of the senior members of our management team or other key personnel.

 

We utilize franchisee partners to conduct certain aspects of our business, and face risks associated with these relationships, their employees and other personnel.

 

We utilize franchisee partners to conduct certain aspects of our business. As of December 31, 2017, we had approximately 8,800 franchisee partners. Many of our franchisee partners sub-contract part of their businesses to sub-franchisees. Our control over franchisee partners and their sub-franchisees may not be as effective as if we had directly owned these partners’ businesses, which could potentially make it difficult for us to manage them. Particularly, as we do not enter into agreements with sub-franchisees of our franchisee partners, we are unable to exert a significant degree of influence over them.

 

Our franchisee partners, sub-franchisees and their employees directly interact with merchants and consumers in our ecosystem, and their performance directly affects our reputation and brand image. If our service personnel or those of our franchisee partners or sub-franchisees fail to satisfy the needs of our ecosystem participants, respond effectively to their complaints, which we have received from time to time, or provide services in a reliable, safe and secure manner, our reputation and the loyalty of our ecosystem participants could be negatively affected. As a result, we may lose ecosystem participants or experience a decrease in our business volume, which could have a material adverse effect on our business, financial condition and results of operations. We do not directly supervise the services provided by our franchisee partners and may not be able to successfully maintain and improve the quality of their services. Our franchisee partners may also fail to implement sufficient control over the pick-up and delivery personnel who work at the service stations in connection with their conduct, such as proper collection and handling of the items we transport and delivery service fees, adherence to privacy standards and timely delivery. As a result, we may suffer financial losses, incur liabilities and suffer reputational damages in the event of theft or late delivery of the items we ship, embezzlement of delivery service fees or mishandling of private information. In addition, while violation of laws and regulations by franchisee partners had not led to any material claim against us in the past, we cannot assure you that such claim will not arise in the future which may harm our brand or reputation or have other adverse impacts.

 

Further, suspension or termination of a franchisee partner’s services in a particular geographic area may cause interruption to or failure in our services in the corresponding geographic area. A franchisee partner may suspend or terminate its services voluntarily or involuntarily due to various reasons, including disagreement or dispute with us, failure to make a profit, failure to maintain requisite approvals, licenses or permits or to comply with other governmental regulations, and events beyond our or its control, such as inclement weather, natural disasters, transportation interruptions or labor unrest or shortage. Due to the intense competition in China’s logistics and supply chain industry, our existing franchisee partners may also choose to discontinue their cooperation with us and work with our competitors instead. We may not be able to promptly replace our franchisee partners or find alternative ways to provide services in a timely, reliable and cost-effective manner, or at all. As a result of any service disruptions associated with our franchisee partners, satisfaction, brand, reputation, operations and financial performance of our ecosystem participants may be materially and adversely affected.

 

8



Table of Contents

 

Our BEST Store+ service line has a limited operating history.

 

We have a very limited history in providing BEST Store+ services, which were launched on a full-scale basis in March 2016. While we experienced rapid growth in this service line, we cannot assure you that we will be able to maintain its growth or successfully address any future problems or issues. We expect to continue to adjust our existing operating model and explore new operating model for this service line which may subject us to further uncertainties and negative effects on our overall business and results of operations.

 

As we intend to grow the scale of BEST Store+, we may incur significant ramp-up costs to support such growth, which may negatively affect our profitability, particularly if we are unable to achieve economies of scale. For instance, we may not be able to increase margin or reduce costs as we expect. In addition, membership stores may not utilize Dianjia.com to procure merchandise to the extent we expect. We are also subject to risks related to our acquisition of WOWO in May 2017. If we are unable to successfully integrate these additional stores into our platform, it could cause us to expend additional costs or deter others from partnering with us. See “—Any difficulties in identifying, consummating and integrating acquisitions, investments or alliances may expose us to potential risks and have an adverse effect on our business, results of operations or financial condition.” We also face risks related to management of the merchandise inventories sold through Dianjia.com, and we depend on our demand forecasts for various kinds of products to make procurement decisions and to manage our inventories.

 

We are also subject to risks that membership and self-operated stores fail to integrate with our service network as expected. We may also face challenges with the implementation of value-added services and last-mile delivery from convenience stores in our network. This may impact our ability to expand the number of membership stores in the network or retain or increase the activities of existing membership stores.

 

We, as well as our membership BEST Store+ operators, compete with numerous other convenience store chains, independent convenience stores, supermarkets, drugstores, motor fuel service stations, mass merchants, fast food operators and other similar retail outlets, who may have more experience than us, and may use promotional pricing or other discounts to encourage their in-store merchandise sales. Such competition may put pressure on us and our membership BEST Store+ operators, and the results of operations of our BEST Store+ service line may be materially and adversely affected.

 

We face challenges associated with diversifying our service offerings.

 

We have in the past selectively launched new service lines such as BEST Store+, BEST Capital, BEST UCargo and other initiatives, and intend to continue to diversify our service offerings in the future. New services or new types of customers may involve risks and challenges we do not currently face. Such new initiatives may require us to devote significant financial and managerial resources and may not perform as expected.

 

In addition, we may not be able to successfully anticipate and address customer demands and preferences in connection with new service offerings and our existing network and facilities may not be adaptable to the new services or customers. For example, different service offerings may impose different requirements and service standards. We may also be inexperienced with the operating models and cost structures associated with a new type of customer or service offering. If we take ineffective measures and cannot promptly adopt new and more effective measures, we may suffer losses. Further, we may not be able to ensure adequate service quality, and therefore may receive complaints or incur costly liability claims, which would harm our overall reputation and financial performance. We may not be able to achieve profitability or recoup our investments with respect to any new services or new types of customers in time or at all.

 

Macroeconomic and other factors that reduce demand for supply chain services, in China or globally, could have a material adverse impact on our business.

 

The global logistics and supply chain industry has historically experienced cyclical fluctuations in financial performance due to economic recessions, reductions in per capital disposable income and levels of consumer spending, downturns in the business cycles of customers, interest rate fluctuations and economic factors beyond our control. During economic downturns, whether in China or globally, reduced overall demand for supply chain services will likely reduce demand for our services and solutions and exert downward pressures on our rates and margins. As we focus on providing integrated supply chain solutions in the New Retail era, if the online and offline retail channel integration trend or any other trend required for the emergence of New Retail does not develop as we expect, our business prospect may be adversely affected. In periods of strong economic growth, demand for limited transportation resources can also result in increased network congestion and operating inefficiencies. In addition, any deterioration in the economic environment subjects our business to various risks that may have a material impact on our operating results and future prospects. For instance, some of our customers may face economic difficulties and may not be able to pay us, and some may go out of business. These customers may not complete their payments as quickly as they have in the past, causing our working capital needs to increase.

 

In an economic downturn, we may not be able to appropriately adjust our expenses to changing market demands and it may be more difficult to match our staffing levels to our business needs. In addition, we have certain significant fixed expenses and other variable expenses that are fixed for a period of time, which we may not be able to adequately adjust in a period of rapid change in market demand.

 

We have started to recognize a substantial amount of share-based compensation expense upon the completion of our initial public offering, which will have a significant impact on our results of operations.

 

                We adopted our 2008 equity and performance incentive plan in June 2008 pursuant to which we may grant options to purchase up to 20,934,684 of our ordinary shares, and our 2017 equity incentive plan in September 2017 pursuant to which we may grant equity-based awards representing initially 10,000,000 Class A ordinary shares, which number will automatically be increased by a maximum of 2% of our total outstanding shares at the end of preceding calendar year on January 1, 2019 and on every January 1 thereafter for eight years (subject to certain limitations). As of February 28, 2018, we had in aggregate outstanding options with respect to 18,927,645 ordinary shares and restricted share units with respect to 176,500 ordinary shares that have been granted to our employees, directors and consultants under the 2008 equity and performance incentive plan and the 2017 equity incentive plan. We are required to account for share options and restricted share units granted to our employees, directors and consultants in accordance with Codification of Accounting Standards, or ASC 718, “Compensation—Stock Compensation” and ASC 505-50, “Equity, Equity-Based Payments to Non-Employees.” We are required to classify share options and restricted share units granted to our employees, directors and consultants as equity awards and recognize share-based compensation expense based on the fair value of such share options and restricted share units, with the share-based compensation expense recognized over the period in which the recipient is required to provide service in exchange for the equity award. Because the exercisability of the share options granted by us before our initial public offering was conditional upon completion of our initial public offering or, in case we had waived such restriction, our obligation to issue ordinary shares pursuant to any exercise of the options was conditional upon the completion of our initial public offering, we did not recognize any share-based compensation expense relating to these share options granted by us before the completion of our initial public offering. Upon the completion of our initial public offering in September 2017, we immediately recognized a substantial amount of share-based compensation expense associated with vested option awards.

 

9



Table of Contents

 

We will incur additional share-based compensation expenses in the future as we continue to grant share-based awards to our employees, directors and consultants. We believe the granting of share-based awards is important for us to attract and retain talented employees, directors and consultants. As a result, our expense associated with share-based compensation may increase, which may have an adverse effect on our results of operations. For further information on our share incentive plans and information on our recognition of related expenses, please see “Item 5. Operating and Financial Review and Prospects—Components of Results of Operations—Share-Based Compensation” and “Item 6. Directors, Senior Management and Employees—B. Compensation—Share Incentive Plans.”

 

We currently derive a significant portion of our revenue from consumer activity on a limited number of prominent e-commerce platforms, and a reduction of demand from these platforms may negatively affect our business.

 

A significant portion of our revenue is derived from a number of major e-commerce platforms in China, such as Taobao Marketplace and Tmall. If these platforms are to suffer a decline in their usage or if our relationships with them are to be harmed, it could materially and negatively impact our business and operating results and financial condition. We generally do not have long-term contractual relationships with e-commerce platforms, and instead individual merchants on such platforms select us as their shipping and other supply chain service provider. If we are unable to remain a preferred service provider for the merchants on these e-commerce platforms, our business volume may decrease significantly, which could adversely affect our business and results of operations.

 

If our customers are able to reduce their logistics and supply chain costs or increase utilization of their internal solutions, our business and operating results may be materially and adversely affected.

 

A major driver for merchants and other customers to use third-party logistics and supply chain service providers is the high cost and degree of difficulty associated with developing in-house logistics and supply chain expertise and operational efficiencies. If, however, our customers are able to develop their own logistics and supply chain solutions, increase utilization of their in-house supply chain, reduce their logistics spending, or otherwise choose to terminate our services, our logistics and supply chain management business and operating results may be materially and adversely affected. In addition, certain of our major e-commerce platform partners may develop their own logistics capabilities, which could reduce the scope of services we provide to users on their platforms.

 

Decreased availability or increased costs of key logistics and supply chain inputs, including third-party transportation, equipment and materials could impact our cost of operations and our profitability across business lines.

 

We depend on reliable access to third-party transportation, supplies of equipment, including vehicles and the sorting machines, conveyor systems and Automated Guided Vehicles, or AGVs, used at our Cloud OFCs and other network facilities, replacement parts and materials such as packing. The supplier base providing logistics equipment is relatively consolidated, which has resulted in a limited number of suppliers for certain types of equipment and supplies. Conversely, the market for third-party transportation services is fragmented with a large number of service providers, and it can be difficult to find reliable partners whose performance and reliability meet our standards at the scale our operations require. Any significant reduction in availability or increase in cost of any logistics and supply chain inputs could adversely affect our operations and increase our costs, which could adversely affect our operating results and cash flows.

 

Overall tightening of the labor market, increases in labor costs or any labor unrest, including strikes, may affect our business as we operate in a labor-intensive industry.

 

Our business requires a substantial number of personnel, and labor costs comprised 27.3%, 24.4% and 14.6% of our total cost of revenue in 2015, 2016 and 2017, respectively. Any failure to retain stable and dedicated labor by us, our franchisee partners or service providers may lead to disruptions to or delays in our services. We, our franchisee partners and service providers often hire additional or temporary workers to handle the significant increase in express and freight volumes during peak periods of e-commerce activities. We have observed an overall tightening labor market. We have experienced, and expect to continue to experience, increases in labor costs due to increases in salaries, social benefits and employee headcounts and we may also face seasonal labor shortages. We, our franchisee partners and service providers compete with other companies for labor, and we may not be able to offer competitive salaries and benefits compared to them.

 

We, our franchisee partners and service providers have been subject to labor disputes from time to time in the ordinary course of business, although none of them, individually or in the aggregate, has had a material adverse impact on us. We expect to continue to be subject to various legal or administrative proceedings related to labor disputes in the ordinary course of our business, due to the magnitude of the labor force involved in our service network. Any labor unrest or strikes directed against us, our franchisee partners or service providers could directly or indirectly prevent or hinder our normal operating activities, and if not resolved in a timely manner, lead to delays in fulfilling our customer orders. We, our franchisee partners and service providers are not able to predict or control any labor unrest, especially those involving labor not directly employed by us. Further, labor unrest may affect general labor market conditions or result in changes to labor laws, which in turn could materially and adversely affect our business, financial condition and results of operations.

 

10



Table of Contents

 

We engage outsourcing firms to provide outsourced personnel for our operations and have limited control over these personnel and may be liable for violations of applicable PRC labor laws and regulations.

 

We engage outsourcing firms who send large numbers of their employees to work at our network facilities. As of December 31, 2017, over 31,000 outsourced personnel were active in our operations. We enter into agreements with the outsourcing firms only and do not have any contractual relationship with these outsourced workers. Since these outsourced personnel are not directly employed by us, our control over them is more limited as compared to our own employees. If any outsourced personnel fail to operate in accordance with our instructions, policies and business guidelines, our market reputation, brand image and results of operations could be materially and adversely affected.

 

Our agreements with the outsourcing firms provide that we are not liable to the outsourced personnel if the outsourcing firms fail to fulfill their duties to these personnel. However, if the outsourcing firms violate any relevant requirements under the applicable PRC labor laws, regulations or their employment agreements with the personnel, such personnel may claim compensation from us as they provide their services at our network facilities. As a result, we may incur legal liability, and our market reputation, brand image as well as our business, financial condition and results of operations could be materially and adversely affected.

 

Our business depends on our reputation and brand image, and any damage to them or any failure to effectively adjust our branding strategy in our international expansion could adversely impact our business.

 

Our brand name in Chinese, “,” means hundreds of generations. We believe that our BEST brand name and our other brands stand for long-term commitment, comprehensive and high-quality service, reliability and efficiency, and are part of our most important and valuable assets. We have registered our major trademarks critical to our business in Chinese with the relevant PRC authorities, including “” (BEST), “” (BEST Logistics), “” (BEST Supply Chain), “” (BEST Express), “” (BEST Freight), “” (BEST Global), “” (BEST Capital), “” (BEST UCargo) and “+” (Store+). We have also used and registered our various trademarks in other jurisdictions. Our brands and reputation are significant sales and marketing tools, and we devote substantial resources to promoting and protecting them. Adverse publicity (whether or not justified) such as accidents, customer service mishaps or noncompliance with laws relating to activities by our franchisee partners, service providers, contractors or agents, could tarnish our reputation and reduce the value of our brand. With the increased use of social media outlets, adverse publicity can be disseminated quickly and broadly, making it increasingly difficult for us to effectively respond.

 

As we continue our international expansion, we may need to adjust our branding strategy in new countries and regions that we enter into. For example, our existing brands may be viewed as similar to brands used by existing players in the local markets that provide similar services. As such, we may need to adopt a new brand name in these markets and our efforts in establishing the reputation of the new brand in a new market may not be successful and could lead to brand disruption and harm our operations in these markets. Existing players in the local markets may also claim that our brands are similar to theirs and thereby bring claims against us for infringement upon their brand names or trademark rights, which may cause harm to our reputation and disrupt our branding strategy in the relevant local market. Damage to our reputation and loss of brand equity could reduce demand for our services and thus have an adverse effect on our financial condition, liquidity and results of operations, as well as require additional resources to rebuild our reputation and restore the value of our brand.

 

We may not be able to attract and retain the qualified and skilled employees needed to support our business.

 

We believe our success depends on the efforts, effectiveness and talent of our employees, including research and development, supply chain management, operations, engineering, risk management, and sales and marketing personnel. Our future success depends on our continued ability to attract, develop, motivate and retain qualified and skilled employees. Competition for highly skilled personnel is extremely intense. We may not be able to hire and retain these personnel at compensation levels consistent with our existing compensation and salary structure. Some of the companies with which we compete for experienced employees have greater resources than we have and may be able to offer more attractive terms of employment.

 

In addition, we invest significant time and resources in training our employees, which increases their value to competitors who may seek to recruit them. If we fail to retain our employees, we could incur significant expenses in hiring and training their replacements, and the quality of our services and our ability to serve our customers could diminish, resulting in a material adverse effect to our business.

 

A significant system disruption could adversely affect the operations of us and our ecosystem participants, which could severely impact our business and prospects.

 

We rely on our technology infrastructure to process, transmit and store digital information, and to manage or support a variety of business processes and activities. In addition, the provision of service to our customers and the operation of our service network infrastructure involves the storage and transmission of proprietary information and sensitive or confidential data, including business and personal information of our ecosystem participants, who are reliant on the use of our technology infrastructure to manage their business processes and activities. Our technology infrastructures and those of our customers and our franchisee partners are connected through various interfaces. Some of these infrastructures are managed by third-parties and are susceptible to damage, disruptions or shutdowns due to failures during the process of upgrading or replacing software, databases or components thereof, power outages, hardware failures, computer viruses, malicious insiders, telecommunication failures, user errors or other catastrophic events. Hackers, acting individually or in coordinated groups, may also launch distributed denial of service attacks or other coordinated attacks that may cause service outages or other interruptions in our business.

 

11



Table of Contents

 

The techniques used to obtain unauthorized access, disable or degrade service or sabotage systems change frequently, may be difficult to detect and often are not recognized until launched against a target. As a result, we may be unable to anticipate these techniques or to implement adequate preventative measures. If our systems were to suffer an operational failure, it could harm our reputation and have material adverse effect on our business and prospects.

 

Our business generates and processes a large quantity of data, and improper handling of or unauthorized access to such data may adversely affect our business.

 

We face risks related to complying with applicable laws, rules and regulations relating to the collection, use, disclosure and security of personal information, as well as any requests from regulatory and government authorities relating to such data.

 

The PRC regulatory and enforcement regime with regard to data security and data protection has continued to evolve. There are uncertainties on how certain laws and regulations will be implemented in practice. PRC regulators have been increasingly focused on regulating data security and data protection. We expect that these areas will receive greater attention from regulators, as well as attract public scrutiny and attention going forward. This greater attention, scrutiny and enforcement, including more frequent inspections, could increase our compliance costs and subject us to heightened risks and challenges associated with data security and protection. If we are unable to manage these risks, our reputation and results of operations could be materially and adversely affected. For further details please see “Item 4. Information on the Company—B. Business Overview—Regulatory Matters—Regulations Relating to Internet Security.”

 

We also grant limited access to specified data on our technology platform to certain other ecosystem participants. These third parties face the same challenges and risks inherent in handling and protecting large volumes of data. Any system failure or security breach or lapse on our part or on the part of any of such third parties that results in the release of user data could harm our reputation and brand and, consequently, our business, in addition to exposing us to potential legal liability.

 

In addition, we are subject to additional laws in other jurisdictions in which we operate and where our ecosystem participants are located. The laws, rules and regulations of other jurisdictions, such as the U.S. and Europe, may impose more stringent or conflicting requirements and penalties than those in China, compliance with which could require significant resources and costs. Our policies and practices concerning the collection, use and disclosure of user data are posted on our websites. Any failure, or perceived failure, by us to comply with any regulatory requirements or privacy protection-related laws, rules and regulations could result in proceedings or actions against us by governmental entities or others. These proceedings or actions could subject us to significant penalties and negative publicity, require us to change our business practices, increase our costs and severely disrupt our business.

 

We face risks associated with the items we deliver and the contents of shipments and inventories handled through our service network.

 

We handle a large volume of shipments and inventories across our service network, and face challenges with respect to the protection and control of these items. Shipments and inventories in our service network may be stolen, damaged or lost for various reasons, and we, our franchisee partners and service providers may be perceived or found to be liable for such incidents. In addition, we may fail to screen shipments and inventories and detect unsafe or prohibited/restricted items. Unsafe items, such as flammables and explosives, toxic or corrosive items and radioactive materials, may damage other items or facilities in our service network, injure recipients and harm our personnel and assets or those of our franchisee partners and service providers. Furthermore, if we fail to prevent prohibited or restricted items from entering into our service network and if we participate in the transport and delivery of such items, we may be subject to administrative or even criminal penalties, and if any personal injury or property damage is concurrently caused, we may be further liable for civil compensation.

 

Our delivery operations also involve inherent risks. We constantly have a large number of vehicles and personnel in transportation and a large number of items in storage facilities that we rent, and are therefore subject to risks associated with storage and transportation safety. The insurance maintained by us may not fully cover the damages caused by transportation related injuries or loss. From time to time, our vehicles and personnel may be involved in accidents, and the items they transport may be lost or damaged. In addition, frictions or disputes may occasionally arise from the personal interactions between our pick-up and delivery personnel and senders or recipients and those of our franchisees partners and service providers. Personal injury or property damage may occur in connection with such incidents.

 

Any of the foregoing could disrupt our services, cause us to incur substantial expenses and divert the time and attention of our management. We, our franchisee partners and service providers may face claims and incur significant liabilities if found liable or partially liable for any injuries, damages or losses. Claims against us may exceed the amount of our insurance coverage, or may not be covered by insurance at all. Governmental authorities may also impose significant fines on us or require us to adopt costly preventive measures. Furthermore, if our services are perceived to be insecure or unsafe by our ecosystem participants, our business volume may be significantly reduced, and our business, financial condition and results of operations may be materially and adversely affected.

 

12



Table of Contents

 

We have limited ability to protect our intellectual property rights, including our brand and our proprietary information technology platform, and unauthorized parties may infringe upon or misappropriate our intellectual property.

 

Our success depends in part upon our proprietary technology infrastructure, including certain methodologies, practices, tools and technical expertise we utilize in designing, developing, implementing and maintaining applications and processes used in providing our services. We rely on a combination of patent, copyright, trademark, trade secrets and other intellectual property protections, confidentiality agreements with our key personnel, customers and other relevant persons and other measures to protect our intellectual property, including our brand and our proprietary technology infrastructure. Nevertheless, it may be possible for third parties to obtain and use our intellectual property without authorization. The unauthorized use of intellectual property is common in China and enforcement of intellectual property rights by PRC regulatory agencies is inconsistent. As a result, litigation may be necessary to enforce our intellectual property rights. Litigation could result in substantial costs and diversion of our management’s attention and resources, and could disrupt our business, as well as have a material adverse effect on our financial condition and results of operations. Given the relative unpredictability of the PRC’s legal system and potential difficulties in enforcing a court judgment, there is no guarantee that we would be able to halt any unauthorized use of our intellectual property in China through litigation.

 

We may be accused of infringing the intellectual property rights of others.

 

Our success depends in part on the use of our proprietary intellectual property and the intellectual property of other ecosystem participants, including technology, software products, business policies, plans, and trade secrets. Many of our contracts with third parties require us not to engage in the unauthorized use of such intellectual property or information, and to indemnify such third parties for any resulting loss. The steps taken by us in this regard may not be adequate to safeguard such intellectual property and confidential information. Moreover, most of our contracts do not include any limitation on our liability with respect to our infringement or breach of our obligation to keep confidential the intellectual property or confidential information. In addition, we may not always be aware of intellectual property registrations or applications relating to trademarks, source codes, software products or other intellectual property of such third parties, whether in China or other jurisdictions. As a result, if the proprietary rights of our ecosystem participants or other third parties are misappropriated by us or our employees, we may be liable for damages or other compensation.

 

Assertions of infringement of intellectual property or misappropriation of confidential information against us, if successful, could have a material adverse effect on our business, financial condition and results of operations. Protracted litigation could divert our management’s attention and our resources and also result in existing or potential customers deferring or limiting their procurement or use of our services until resolution of such litigation. Even if such assertions against us are unsuccessful, they may cause us to lose existing and future business and incur reputational harm and substantial legal fees.

 

Any difficulties in identifying, consummating and integrating acquisitions, investments or alliances may expose us to potential risks and have an adverse effect on our business, results of operations or financial condition.

 

We have in the past made and may in the future seek to make acquisitions and investments and enter into strategic alliances to further expand our business. If we are presented with appropriate opportunities, we may acquire additional businesses, services, resources, or assets, including supply chain service providers and transport solution providers that are accretive to our core business. We cannot assure you that we will always be able to complete such acquisitions successfully or on terms acceptable to us. Integration of entities or assets we acquire into our business may not be successful and may prevent us from expanding into new services, customer segments or operating locations. This could significantly affect the expected benefits of these acquisitions. Moreover, the integration of any acquired entities or assets into our operations could require significant attention from our management. The diversion of our management’s attention and any difficulties encountered in any integration process could have an adverse effect on our ability to manage our business.

 

Our possible future acquisitions, investments or strategic alliances may also expose us to other potential risks, including risks associated with unforeseen or hidden liabilities, the diversion of resources from our existing businesses and technologies, our inability to generate sufficient revenue to offset the costs, expenses of acquisitions and potential loss of, or harm to, relationships with employees and customers as a result of our integration of new businesses. In addition, we may recognize impairment losses on goodwill arising from our acquisitions. The occurrence of any of these events could have a material and adverse effect on our ability to manage our business, our financial condition and our results of operations.

 

Our international expansion exposes us to significant risks.

 

We provide inbound and outbound cross-border supply chain management services and plan to continue to expand our footprint internationally as part of our growth strategy. In addition to China, we currently operate warehouses in the U.S. and Germany, provide coverage through partners in Australia, France, Japan, Korea, Netherlands and the United Kingdom, and expect to open additional foreign facilities and hire employees to work at these offices in order to reach new customers and expand the reach of our service network. Operating in international markets requires significant resources and management attention and will subject us to regulatory, economic and political risks in addition to those we already face in China. Because of our limited experience with international operations as well as developing and managing operations in international markets, our international expansion efforts may not produce the results we expect.

 

In addition, we will face risks in doing business internationally that could adversely affect our business. For instance, we face difficulties managing and staffing international operations and the increased operating, travel, infrastructure and legal compliance costs associated with international business. We must comply with laws and regulations in foreign jurisdictions, particularly in the areas of data privacy and customs. We must also comply with technical and environmental standards in these jurisdictions. In addition, we must offer customer service in various languages, adapt and localize our service offerings for specific countries, appropriately price our products and services and work with overseas merchants, partners and other third parties, such as local transportation service providers. We are also subject to general risks inherent in international operations, such as fluctuations in exchange rates, changes in trade policies, tariff regulations, embargoes and customer clearances, or other trade restrictions, as well political or social unrest or economic instability in regions in which we operate.

 

13



Table of Contents

 

Our failure to manage any of these risks successfully could harm our international operations, and adversely affect our business, results of operations and financial condition.

 

We may not be able to obtain sufficient capital to fund our business expansion.

 

Our business expansion requires substantial amount of capital. In 2015, 2016 and 2017, we incurred capital expenditures of RMB398.1 million, RMB628.5 million and RMB749.7 million (US$115.2 million), respectively, representing purchases of property and equipment. We have incurred and expect to continue to incur substantial costs to launch and ramp-up new service offerings and we may only be able to recover such costs over the long term. The continued improvement and upgrade of our supply chain service network may also require substantial amount of capital investments, such as purchasing equipment, funding leasehold improvements at our hubs, sortation centers and Cloud OFCs and expanding our BEST Store+ network. Further, we may encounter development delays and excess development costs.

 

We have historically funded our operations by issuance of equity securities, preferred shares and short-term bank borrowings. There can be no assurance that we will be able to generate sufficient cash from our operations to fund our capital requirements or raise additional funds through equity or debt financings on satisfactory terms or at all, in which case we may be required to prioritize projects or curtail capital expenditures, and our results of operations could be adversely affected. On the other hand, if we raise funds through debt financings, we may also become subject to restrictive covenants that could limit our future capital raising activities and other financial and operational matters. If we raise funds through further issuances of equity or equity-linked securities, our existing shareholders could suffer significant dilution in their percentage ownership of our company.

 

Failure of us or our franchisee partners to obtain, maintain or update necessary licenses and permits may have material adverse effect on our business, financial condition and results of operations.

 

We and our franchisee partners are required to hold a number of licenses and permits in connection with our business operation including, but not limited to, the courier service operation permit, road transportation operation permit and the value-added telecommunication service license concerning Internet information service, or the ICP license.

 

Under PRC laws, an enterprise that operates and provides express delivery services must obtain a courier service operation permit listing out all the regions it and its branches are allowed to operate in. Such enterprise needs to make a filing with the relevant postal authority to update its courier service operation permit to include any additional regions it plans to expand into. All of our PRC subsidiaries, our VIE and its subsidiaries engaging in express delivery services have obtained courier service operation permits required for our operations. However, some local branches of our VIE and its subsidiaries have not made timely filings with the relevant postal authority to update their courier service operation permits. While we have not received any government order or penalty resulting from such failure, we cannot assure you that we will not be subject to orders to rectify, fines of up to RMB50,000 or business suspension of such branches.

 

In addition, an enterprise engaging in road freight transportation is required to obtain a road transportation operation permit from the relevant county-level road transportation administrative bureau, while a foreign-invested enterprise (including its subsidiaries) engaging in road freight transportation must obtain the approval from the provincial-level road transportation administrative bureau. If an enterprise engaging in road freight transportation intends to establish a branch, it is required to make a filing with the local road transportation administrative bureau where the branch is to be established. While all of our PRC subsidiaries, the VIE and its subsidiaries engaging in road freight transportation have obtained their road transportation operation permits, we are in the process of renewing the filings for some of the branches, and if we cannot complete the renewal in a timely manner, these branches may be subject to business suspension and other penalties.

 

Our franchisee partners also need to obtain necessary licenses and permits and make necessary filings to provide express delivery services. Some of our franchisee partners providing express delivery services do not currently possess all necessary licenses and permits. While we have urged them to obtain such licenses and permits, we can provide no assurance that all of our franchisee partners will be able to obtain all of the licenses and permits and make all of the filings necessary for their business. Failure to obtain such licenses and permits and make such filings may result in suspension of operation, fines or other penalties on our franchisee partners by government authorities. In addition, if any of our franchisee partners providing express delivery services fails to obtain required licenses and permits, we may also be subject to an order to rectify and a fine ranging from RMB5,000 to RMB30,000 for each such failure.

 

New laws and regulations that are enforced from time to time may require additional licenses and permits other than those we and our franchisee partners currently have. If the PRC government considers us or our franchisee partners to be operating without the proper approvals, licenses or permits or promulgates new laws and regulations that require additional approvals or licenses, it has the authority, among other things, to levy fines, confiscate our income, revoke our business licenses, and require us to discontinue our relevant business or impose restrictions on the affected portion of our business. Any of these actions by the PRC government may have a material and adverse effect on our results of operations.

 

14



Table of Contents

 

Failure to comply with PRC laws and regulations by us or our franchisee partners may materially and adversely impact our business, financial condition and results of operations.

 

Our business is subject to governmental supervision and regulation by the relevant PRC governmental authorities, including but not limited to the State Post Bureau and the Ministry of Transportation. Together, these governmental authorities promulgate and enforce regulations that cover many aspects of our day-to-day operations, and we may fail to fully comply with these regulations. For example, the PRC Postal Law, promulgated by the Standing Committee of the National People’s Congress of China, which became effective on October 1, 2009 and was amended in 2015, indicates that express delivery companies cannot engage in “posting and mail delivery business exclusively operated by postal enterprises.” However, PRC laws do not provide a definition for “posting and mail delivery business exclusively operated by postal enterprises.” If the authorities define such term in the future and if the items that we or our franchisee partners deliver fall into the defined category, we may be considered in violation of such regulation, and as a result, it might have an adverse impact on our results of operations.

 

According to the Administrative Measures for Express Delivery Market, or the Express Delivery Regulations, promulgated by the Ministry of Transport on January 11, 2013, when engaging in express delivery business through franchising arrangements, a franchisor is required to execute written agreements with its franchisees to set forth their respective rights and obligations with respect to their franchising arrangement and clearly delineate their respective liabilities to consumers in case of any infringement of their lawful rights. Failure to enter into such a written agreement with any franchisee may subject a franchisor to an order to rectify and a fine ranging from RMB5,000 to RMB30,000. While it is not clearly provided in the Express Delivery Regulations, national government authorities have imposed that certain specific forms be used in connection with the execution of the written agreements required under the Express Delivery Regulations. While the majority of our agreements with franchisee partners for express delivery service have satisfied such form requirements, our other agreements with such franchisee partners may be found non-compliant by relevant authorities. Although we have proactively taken measures to ensure that our agreements with franchisee partners will comply with such requirements, we cannot assure you that we will not be subject to fines and penalties due to any past or future non-compliances.

 

Pursuant to the Administrative Regulations on Commercial Franchising Operation promulgated by the State Council in February 2007 and Provisions on Administration of the Record Filing of Commercial Franchises issued by MOFCOM in December 2011, or collectively the Regulations and Provisions on Commercial Franchising, commercial franchising refers to the business activities where an enterprise that possesses the registered trademarks, enterprise logos, patents, proprietary technology or any other business resources allows such business resources to be used by another business operator through a contract and the business operator follows the uniform business model to conduct business operations and pay franchising fees according to the contract. Therefore, if the relationship between us and our franchisee partners and other ecosystem participants constitute such regulated commercial franchising, we will be subject to these regulations and will be required to file such franchising arrangements with MOFCOM or its local counterparts and update the filings when there are changes to relevant information. While we had completed such filings with respect to our BEST Express, BEST Freight and Cloud OFC services as of December 31, 2017, we cannot assure you that we can update such filings in a timely manner or our relationships with other existing and future ecosystem participants will not be found to constitute such regulated commercial franchising in the future. As of December 31, 2017, we had not received any request from any governmental authorities to make any of such filings. If relevant authorities determine that we failed to make any filing with respect to any regulated commercial franchising activity in the future, we may be subject to an order to rectify or fines ranging from RMB10,000 to RMB50,000, and if we fail to rectify within the rectification period determined by competent government authorities, we may be subject to an additional fine ranging from RMB50,000 and RMB100,000 as well as public reprimand.

 

In addition, our franchisee partners have full discretion over their daily operations and make localized decisions with respect to their facilities, vehicles and hiring and pricing strategies. Their operations are regulated by various PRC laws and regulations, including local administrative rulings, orders and policies that are pertinent to their localized freight, express delivery business and retail business. For example, local regulations may specify the models or types of vehicles to be used in pickup and delivery services or require the franchisee partners to implement heightened safety screening procedures, which could materially drive up the operating costs and impact the delivery efficiency of the pickup and delivery outlets.

 

We are also subject to a number of retail industry regulations including, but not limited to, regulations relating to pricing, consumer protection, product quality, food safety and public safety. Local regulatory authorities conduct periodic inspections, examinations and inquiries in respect of our compliance with relevant regulatory requirements. If we, or our membership stores, fail to comply with these laws and regulations, we or our membership stores may be exposed to penalties, fines, the suspension or revocation of our or our membership stores’ licenses or permits to conduct business, administrative proceedings and litigation.

 

New laws and regulations may be enforced from time to time and substantial uncertainties exist regarding the interpretation and implementation of current and any future PRC laws and regulations applicable to our businesses. If the PRC government promulgates new laws and regulations that impose additional restrictions on our daily operations, it has the authority, among other things, to levy fines, confiscate income, revoke business licenses, and require us to discontinue our relevant business or impose restrictions on the affected portion of our business. Any of these actions by the PRC government may have a material and adverse effect on our results of operations. If our franchisee partners are found to be in violation of any applicable law or regulation then in effect, such franchisee partners may be subject to similar penalties or administrative orders and may not be able to continue to deliver satisfactory services or at all. As a result, our business, reputation, financial condition and results of operations may be materially and adversely affected.

 

We face risks related to the termination and renewal of leases on which we rely for our operations.

 

Substantially all of our Cloud OFCs, hubs and sortation centers are located in properties for which we have entered into long-term operating leases. In some instances, we may negotiate an option to renew the lease according to the terms and conditions under the relevant lease agreements. However, upon the expiration of such leases, we may not be able to renew these leases on commercially reasonable terms, if at all. Under certain lease agreements, the lessor may terminate the agreement by giving prior notice and paying default penalties to us. Such default penalties nonetheless may not be sufficient to cover our losses. Even though the lessors for most of our Cloud OFCs, hubs and sortation centers do not have the right of unilateral early termination unless they provide the required notice, the lease may nonetheless be terminated early if we are in material breach of the lease agreements. We may assert claims for compensation against the landlords if they elect to terminate a lease agreement early and without due cause. If the leases for our Cloud OFCs, hubs or sortation centers were terminated prior to their expiration dates, notwithstanding any compensation we may receive for early termination of such leases, or if we are not able to renew such leases, we may have to incur significant cost related to relocation.

 

15



Table of Contents

 

Our use of certain leased properties could be challenged by third parties or governmental authorities, which may cause interruptions to our business operations.

 

As of December 31, 2017, lessors of approximately 2.4% of the total gross floor area of our leased properties in China have not provided us with their property ownership certificates or any other documentation proving their right to lease those properties to us. If our lessors are not the owners of the properties and they have not obtained consents from the owners or their lessors or permits from the relevant governmental authorities, our leases could be invalidated. If this occurs, we may have to renegotiate the leases with the owners or other parties who have the right to lease the properties, and the terms of the new leases may be less favorable to us. Although we may seek damages from such lessors, such leases may be void and we may be forced to relocate. Any relocation would require us to locate and secure additional facilities, expenditures of additional funds in connection with the relocation and preparation of replacement facilities. This could affect our ability to provide uninterrupted services to our customers and harm our reputation. As of December 31, 2017, we had not incurred expenditures associated with the relocation and preparation of replacement facilities. In addition, a substantial portion of our leasehold interests in leased properties have not been registered with the relevant PRC governmental authorities as required by relevant PRC laws. The failure to register leasehold interests may expose us to potential warnings and penalties.

 

In addition, some of our leased properties in China may not have filed the fire-control registration as required by relevant PRC laws and as a result, our use of the leased property may be affected. In the event that our use of properties is successfully challenged by the regulators or due to fire incidents, we may be forced to relocate from the affected operations.

 

Our failure or alleged failure to comply with China’s anti-corruption laws or the U.S. Foreign Corrupt Practices Act could result in penalties, which could harm our reputation and have an adverse effect on our business, results of operations and financial condition.

 

We are subject to PRC laws and regulations related to anti-corruption, which prohibit bribery to government agencies, state or government owned or controlled enterprises or entities, to government officials or officials that work for state or government owned enterprises or entities, as well as bribery to non-government entities or individuals. As a U.S. public company, we are also subject to the U.S. Foreign Corrupt Practices Act, or the FCPA, which generally prohibits companies and any individuals or entities acting on their behalf from offering or making improper payments or providing benefits to foreign officials for the purpose of obtaining or keeping business, along with various other anti-corruption laws. Our existing policies prohibit any such conduct and we are in the process of implementing additional policies and procedures, and providing training, to ensure that we, our employees, franchisee partners and other third parties comply with PRC anti-corruption laws and regulations, the FCPA and other anti-corruption laws to which we are subject. There is, however, no assurance that such policies or procedures will work effectively all the time or protect us against liability under the FCPA or other anti-corruption laws. There is no assurance that our employees, franchisee partners and other third parties would always obey our policies and procedures. Further, there is uncertainty in connection with the implementation of PRC anti-corruption laws. We could be held liable for actions taken by our employees, franchisee partners and other third parties with respect to our business or any businesses that we may acquire. In addition to the PRC, we also operate warehouses in the U.S. and Germany and provide coverage in Australia, France, Japan, Korea, Netherlands, and the United Kingdom through our partners. This puts us in frequent contact with persons who may be considered “foreign officials” under the FCPA, resulting in an elevated risk of potential FCPA violations. If we are found not to be in compliance with PRC anti-corruption laws, the FCPA and other applicable anti-corruption laws, we may be subject to criminal, administrative, and civil penalties and other remedial measures, which could have an adverse impact on our business, results of operations and financial condition. Any investigation of any potential violations of the FCPA or other anti-corruption laws by U.S. or foreign authorities, including Chinese authorities, could adversely impact our reputation, cause us to lose customer relationships and lead to other adverse impacts on our business, results of operations and financial condition.

 

We are subject to various claims and lawsuits in the ordinary course of business, and increases in the amount or severity of these claims and lawsuits could adversely affect us.

 

We are exposed to various claims and litigation related to commercial disputes, personal injury, property damage, labor disputes and other matters in the ordinary course of our business. Developments in regulatory, legislative or judicial standards, material changes to litigation trends, or a catastrophic accident or series of accidents, including accidents that affect our franchisee partners or service providers, involving any or all of commercial disputes, property damage, personal injury, and labor disputes could have a material adverse effect on our operating results, financial condition and reputation.

 

We may not have sufficient insurance coverage.

 

We maintain various insurance policies to safeguard against risks and unexpected events. We have purchased certain life insurance, such as group accident insurance; property loss insurance, such as cargo transportation insurance and all-risk property insurance; and liability insurance, such as non-motor vehicle liability insurance, public liability insurance and logistics liability insurance. Some of our insurance also covers fire or other damages. We also provide social security insurance including pension insurance, unemployment insurance, work-related injury insurance and medical insurance for our full-time employees. We are not legally required to maintain insurance for the items we ship. We do not maintain business interruption insurance or general third-party liability insurance, nor do we maintain key-man life insurance. We cannot assure you that our insurance coverage is sufficient to prevent us from any losses or that we will be able to successfully claim for losses under our current insurance policies on a timely basis, or at all. If we incur losses that are not covered by our insurance policies, or if the amount reimbursed is significantly less than our actual losses, our business, financial condition and results of operations could be materially and adversely affected.

 

16



Table of Contents

 

Fluctuations in exchange rates could result in foreign currency exchange losses, which may adversely affect our financial condition, results of operations and cash flows.

 

We have in the past raised significant funds in U.S. dollars and have received net proceeds in U.S. dollars from our initial public offering. We have historically incurred substantial short-term borrowings in Renminbi to fund our working capital requirement in the PRC while holding significant U.S. dollar balances. As such, any appreciation in the value of Renminbi against U.S. dollar and other currencies would have a negative impact on our financial position and results of operations. In addition, while we currently incur only a small portion of our expenses and generate only a small portion of our revenue in currencies other than Renminbi, we may incur more of such expenses and generate more of such revenues in the future as we continue our international expansion. As a result, we may be subject to increased foreign exchange rate risk in the future.

 

The value of the Renminbi against the U.S. dollar and other currencies may fluctuate and is affected by, among other things, changes in political and economic conditions and the foreign exchange policy adopted by the PRC and other governments. Specifically in the PRC, on July 21, 2005, the PRC government changed its policy of pegging the value of the Renminbi to the U.S. dollar. From December 31, 2015 to December 31, 2016, the Renminbi depreciated approximately 6.7% against the U.S. dollar. In 2017, however, the RMB appreciated approximately 6.7% against the U.S. dollar. It remains unclear what further fluctuations may occur or what impact this will have on our results of operations.

 

It is difficult to predict how market forces or PRC, U.S. or other government policies may impact the exchange rate between the Renminbi, U.S. dollar and other currencies in the future. There remains significant international pressure on the PRC government to adopt a more flexible currency policy, which could result in greater fluctuation of the Renminbi against the U.S. dollar. Substantially all of our revenue and costs are currently denominated in Renminbi, and a large portion of our financial assets is denominated in U.S. dollars. To the extent that we need to convert U.S. dollars into Renminbi for our operations, appreciation of the Renminbi against the U.S. dollar would have an adverse effect on the Renminbi amount we would receive. Conversely, if we decide to convert our Renminbi into U.S. dollars for other business purposes, appreciation of the U.S. dollar against the Renminbi would have a negative effect on the U.S. dollar amount we would receive. We cannot predict the impact of foreign currency fluctuations, and foreign currency fluctuations in the future may adversely affect our financial condition, results of operations and cash flows.

 

We face risks related to natural disasters, extreme weather conditions, health epidemics and other catastrophic incidents, which could significantly disrupt our operations.

 

China has in the past experienced significant natural disasters, including earthquakes in Western and Southwestern China, extreme weather conditions, as well as health scares related to epidemic diseases, and any similar event could materially impact our business in the future. If a disaster or other disruption were to occur in the future that affects the regions where we have or are developing Cloud OFCs or hubs and sortation centers, our operations could be materially and adversely affected due to loss of personnel and damages to property. Even if we are not directly affected, such a disaster or disruption could affect the operations or financial condition of our ecosystem participants, which could harm our results of operations.

 

In addition, our business could be affected by public health epidemics, such as the outbreak of avian influenza, severe acute respiratory syndrome, or SARS, Zika virus, Ebola virus, or other disease. If any of our employees is suspected of having contracted a contagious disease, we may be required to apply quarantines or suspend our operations. Furthermore, any future outbreak may restrict economic activities in affected regions, resulting in reduced business volume, temporary closure of our offices or otherwise disrupt our business operations and adversely affect our results of operations.

 

If we fail to maintain proper and effective internal controls, our ability to produce accurate financial statements on a timely basis could be impaired.

 

Prior to the completion of our initial public offering, we had been a private company with limited accounting personnel and other resources with which to address our internal control over financial reporting. In connection with the audit of our financial statements as of December 31, 2015 and 2016 and for each of the three years in the period ended December 31, 2016, we identified a material weakness in our internal control over financial reporting. A material weakness is a deficiency, or combination of deficiencies, in internal control over financial reporting such that there is a reasonable possibility that a material misstatement of our financial statements will not be prevented or detected on a timely basis. The material weakness related to the lack of accounting personnel with requisite knowledge of U.S. GAAP and SEC rules, and lack of financial reporting policies and procedures commensurate with U.S. GAAP and SEC reporting requirements. We have implemented a number of measures to address this material weakness. We have hired additional qualified financial and accounting staff with U.S. GAAP and SEC reporting experience to strengthen our financial reporting capability, and have improved our monthly closing process, related financial reporting and disclosure procedures. We have also established an internal audit department to enhance internal controls and have engaged an independent advisory firm to assist us in assessing the design and effectiveness of our execution of internal controls in accordance with the compliance requirements under the Sarbanes-Oxley Act of 2002 and in improving our overall internal controls. As of December 31, 2017, based on an assessment performed by our management on the performance of the remediation measures described above, we determined that the material weakness previously identified in our internal control over financial reporting had been remediated.

 

17



Table of Contents

 

As a U.S. public company, we are subject to the reporting requirements of the U.S. Securities Exchange Act of 1934, as amended, or the Exchange Act, the Sarbanes-Oxley Act and the rules and regulations of the New York Stock Exchange. The Sarbanes-Oxley Act requires, among other things, that we maintain effective disclosure controls and procedures and internal controls over financial reporting. Commencing with our fiscal year ending December 31, 2018, we must perform system and process evaluation and testing of our internal controls over financial reporting to allow management to report on the effectiveness of our internal controls over financial reporting in our Form 20-F filing for that year, as required by Section 404 of the Sarbanes-Oxley Act. In addition, our independent registered public accounting firm must attest to and report on the effectiveness of our internal control over financial reporting. Our management may conclude that our internal control over financial reporting is not effective. Moreover, even if our management concludes that our internal control over financial reporting is effective, our independent registered public accounting firm, after conducting its own independent testing, may issue a report that is qualified if it is not satisfied with our internal controls or the level at which our controls are documented, designed, operated or reviewed, or if it interprets the relevant requirements differently from us. This will require that we incur substantial additional professional fees and internal costs to expand our accounting and finance functions and that we expend significant management efforts. Prior to our initial public offering, we were never required to test our internal controls within a specified period, and, as a result, we may experience difficulty in meeting these reporting requirements in a timely manner.

 

In addition, our internal control over financial reporting may not prevent or detect all errors and all fraud. A control system, no matter how well designed and operated, can provide only reasonable, not absolute, assurance that the control system’s objectives will be met. Because of the inherent limitations in all control systems, no evaluation of controls can provide absolute assurance that misstatements due to error or fraud will not occur or that all control issues and instances of fraud will be detected.

 

If we are not able to comply with the requirements of Section 404 of the Sarbanes-Oxley Act in a timely manner, or if we are unable to maintain proper and effective internal controls, we may not be able to produce timely and accurate financial statements. If that were to happen, the market price of our ADSs could decline and we could be subject to sanctions or investigations by the New York Stock Exchange, SEC or other regulatory authorities.

 

Risks Related to Our Corporate Structure

 

If the PRC government finds that the agreements that establish the structure for operating certain of our operations in China do not comply with PRC regulations relating to the relevant industries, or if these regulations or the interpretation of existing regulations change in the future, we could be subject to severe penalties or be forced to relinquish our interests in those operations.

 

Under current PRC laws and regulations, foreign enterprises or individuals may not invest in or operate domestic mail delivery services and foreign ownership of Internet information services is subject to restrictions. According to the Guidance Catalogue of Industries for Foreign Investment (most recently revised in 2017), foreign investment is prohibited in the establishment of any postal enterprise and in domestic mail delivery services. Postal enterprises refer to the China Post Group and its wholly-owned enterprises or controlled enterprises providing postal services, as well as other services including but not limited to mail delivery, postal remittances, savings and issuance of stamps and production and sale of philatelic products. In addition, foreign investors are generally not permitted to own more than 50% of the equity interests in a value-added telecommunication service provider. Any such foreign investor must also have experience and a good track record in providing value-added telecommunications services overseas.

 

We are a Cayman Islands company and our PRC subsidiaries wholly owned by us are considered wholly foreign owned enterprises. Accordingly, none of these subsidiaries are eligible to operate domestic mail delivery services and value-added telecommunications business in China. It is also practically and economically not possible to separate the delivery of mail from the delivery of non-mail items in our day-to-day services. To ensure compliance with the PRC laws and regulations, we conduct such business activities through Hangzhou BEST Network Technologies Ltd., our VIE, and its subsidiaries. Our company and Zhejiang BEST, our wholly-owned subsidiary in China, have entered into a series of contractual arrangements with the VIE and its shareholders, which enable us to (i) exercise effective control over the VIE, (ii) receive substantially all of the economic benefits of the VIE, and (iii) have an exclusive option to purchase all or part of the equity interests and assets in the VIE when and to the extent permitted by PRC law. As a result of these contractual arrangements, we have control over and are the primary beneficiary of the VIE and hence consolidate its financial results as our VIE under U.S. GAAP.

 

If the PRC government finds that our contractual arrangements do not comply with its restrictions on foreign investment in domestic express delivery services of mail or value-added telecommunications business, or if the PRC government otherwise finds that we, our VIE, or any of its subsidiaries are in violation of PRC laws or regulations or lack the necessary permits or licenses to operate our business, the relevant PRC regulatory authorities, would have broad discretion in dealing with such violations or failures, including, without limitation: (i) revoking the business licenses and/or operating licenses of these entities; (ii) discontinuing or placing restrictions or onerous conditions on our operation through any transactions between our PRC subsidiaries and VIE; (iii) imposing fines, confiscating the income from our PRC subsidiaries or VIE, or imposing other requirements with which such entities may not be able to comply; (iv) requiring us to restructure our ownership structure or operations, including terminating the contractual arrangements with our VIE and deregistering the equity pledges of our VIE, which in turn would affect our ability to consolidate, derive economic interests from, or exert effective control over our VIE; or (v) restricting or prohibiting our use of the proceeds of our initial public offering to finance our business and operations in China.

 

Any of these actions would cause significant disruption to our business operations and severely damage our reputation, which would in turn materially and adversely affect our business, financial condition and results of operations. In addition, new PRC laws, rules and regulations may be introduced to impose additional requirements that may impose additional challenges to our corporate structure and contractual arrangements. If any of these occurrences results in our inability to direct the activities of our VIE that most significantly impact its economic performance, and/or our failure to receive the economic benefits from our VIE, we may not be able to consolidate the entity in our consolidated financial statements in accordance with U.S. GAAP.

 

18



Table of Contents

 

Our contractual arrangements with our VIE may result in adverse tax consequences to us.

 

Under applicable PRC laws and regulations, arrangements and transactions among related parties may be subject to audit or challenge by the PRC tax authorities. We could face material and adverse tax consequences if the PRC tax authorities determine that our contractual arrangements with our VIE were not made on an arm’s length basis and adjust our income and expenses for PRC tax purposes by requiring a transfer pricing adjustment. A transfer pricing adjustment could adversely affect us by (i) increasing the tax liabilities of our VIE without reducing the tax liability of our PRC subsidiaries, which could further result in late payment fees and other penalties to our VIE for underpaid taxes; or (ii) limiting the ability of our VIE to obtain or maintain preferential tax treatments and other financial incentives.

 

We rely on contractual arrangements with our VIE and its shareholders for our China operations, which may not be as effective as direct ownership in providing operational control and otherwise have a material adverse effect as to our business.

 

We rely on contractual arrangements with our VIE and its shareholders to operate our business in China. For a description of these contractual arrangements, see “Item 4. Information on the Company—C. Organizational Structure—Variable Interest Entity Contractual Arrangements.” In 2015, 2016 and 2017, 71%, 61% and 66% of our total revenue, respectively, was attributed to our VIE. These contractual arrangements may not be as effective as direct ownership in providing us with control over our VIE. If our VIE or its shareholders fail to perform their respective obligations under these contractual arrangements, we may have to incur substantial costs and expend significant resources to enforce such arrangements in reliance on legal remedies under PRC law as we will only have indirect recourse to the assets held by our VIE. These remedies may not always be effective, particularly in light of uncertainties in the PRC legal system. Furthermore, in connection with litigation, arbitration or other judicial or dispute resolution proceedings, assets under the name of any of record holder of equity interest in our VIE, including such equity interest, may be put under court custody. As a consequence, we cannot be certain that the equity interest will be disposed of pursuant to the contractual arrangements or ownership by the record holder of the equity interest.

 

All of these contractual arrangements are governed by PRC law and provide for the resolution of disputes through litigation in the PRC. Accordingly, these contracts would be interpreted in accordance with PRC laws and any disputes would be resolved in accordance with PRC legal procedures. The legal environment in the PRC is not as developed as in other jurisdictions, such as the U.S. As a result, uncertainties in the PRC legal system could limit our ability to enforce these contractual arrangements. In the event that we are unable to enforce these contractual arrangements, or if we suffer significant time delays or other obstacles in the process of enforcing these contractual arrangements, it would be very difficult to exert effective control over our VIE, and our ability to conduct our business and our financial condition and results of operations may be materially and adversely affected. See “—Risks Related to Doing Business in the People’s Republic of China—There are uncertainties regarding the interpretation and enforcement of PRC laws, rules and regulations.”

 

The shareholders of our VIE may have conflicts of interest with us, which may materially and adversely affect our business and financial condition.

 

In connection with our operations in China, we rely on the shareholders of our VIE to abide by the obligations under such contractual arrangements. Our VIE is 36.285% owned by Wei Chen, a PRC individual who is a relative of Mr. Shao-Ning Johnny Chou, 36.285% owned by Lili He, another PRC individual who is a relative of Mr. Shao-Ning Johnny Chou and 27.43% owned by Hangzhou Ali Venture Capital Co., Ltd., a PRC domestic company and a consolidated entity of Alibaba. The interests of Wei Chen, Lili He and Hangzhou Ali Venture Capital Co., Ltd. in their own capacities as the shareholders of our VIE may differ from the interests of our company as a whole, as what is in the best interests of our VIE, including matters such as whether to distribute dividends or to make other distributions to fund our offshore requirement, may not be in the best interests of our company. There can be no assurance that when conflicts of interest arise, any or all of these shareholders will act in the best interests of our company, or that conflicts of interest will be resolved in our favor. In addition, these shareholders may breach or cause our VIE to breach or refuse to renew the existing contractual arrangements with us.

 

We currently do not have arrangements to address potential conflicts of interest the shareholders of our VIE may encounter. We believe that we can, at all times, exercise our option under the exclusive call option agreement to cause these shareholders of our VIE to transfer all of their equity ownership in our VIE to a PRC entity or individual designated by us as permitted by then applicable PRC laws.

 

In addition, if such conflicts of interest arise, we could also, in the capacity of attorney-in-fact of the then existing shareholders of the VIE as provided under the shareholder voting rights proxy agreement, directly appoint new directors of our VIE. If we cannot resolve any conflicts of interest or disputes between us and the shareholders of our VIE, we would have to rely on legal proceedings, which could result in disruption of our business and subject us to substantial uncertainty as to the outcome of any such legal proceedings.

 

We may lose the ability to use, or otherwise benefit from, the licenses, approvals and assets held by our VIE, which could severely disrupt our business, render us unable to conduct some or all of our business operations and constrain our growth.

 

As part of our contractual arrangements with our VIE, our VIE holds certain assets, licenses and permits that are material to our business operations, including the courier service operation permit, the ICP license and the road transportation operation permit. The contractual arrangements contain terms that specifically obligate VIE equity holders to ensure the valid existence of the VIE and restrict the disposal of material assets of the VIE. However, in the event the VIE equity holders breach the terms of these contractual arrangements and voluntarily liquidate our VIE, or our VIE declares bankruptcy and all or part of its assets become subject to liens or rights of third-party creditors, or are otherwise disposed of without our consent, we may be unable to conduct some or all of our business operations or otherwise benefit from the assets held by the VIE, which could have a material adverse effect on our business, financial condition and results of operations. Furthermore, if our VIE undergoes a voluntary or involuntary liquidation proceeding, its equity holders or unrelated third-party creditors may claim rights to some or all of the assets of the VIE, thereby hindering our ability to operate our business as well as constrain our growth.

 

19



Table of Contents

 

Our corporate actions are significantly influenced by our principal shareholders, including our founder, chairman and chief executive officer, Mr. Shao-Ning Johnny Chou, and Alibaba (including Cainiao Network), which have the ability to exert significant influence over important corporate matters that require approval of shareholders, which may deprive you of an opportunity to receive a premium for your ADSs and materially reduce the value of your investment.

 

Our outstanding share capital consists of Class A ordinary shares, Class B ordinary shares and Class C ordinary shares. Each Class A ordinary share is entitled to one vote, each Class B ordinary share is entitled to 15 votes, and each Class C ordinary share is entitled to 30 votes at general meetings of our shareholders. As of February 28, 2018, Alibaba (including Cainiao Network) beneficially owned, in aggregate, 100% of our Class B ordinary shares, representing approximately 46.2% of the aggregate voting power of our issued and outstanding share capital, and Mr. Shao-Ning Johnny Chou beneficially owned 100% of the Class C ordinary shares issued and outstanding, representing approximately 46.6% of the aggregate voting power of our issued and outstanding share capital. Our amended and restated memorandum and articles of association that are currently in effect also provide that all matters submitted to our shareholders for approval should be decided by a special resolution, which requires at least two-thirds of the votes cast by shareholders who are present in person or by proxy at a general meeting of our company, unless a greater majority is required. Therefore, our shareholders will not be able to pass any resolution without the affirmative votes of Mr. Shao-Ning Johnny Chou or Alibaba (including Cainiao Network) if one or more of them continue to hold more than one-third of the aggregate voting power of our issued and outstanding share capital. In addition, Mr. Shao-Ning Johnny Chou has nominated two directors to our board of directors; Alibaba (including Cainiao Network) has nominated two directors to our board of directors; and they generally have the right to appoint replacements of these directors unless they do not hold any of our shares.

 

This concentration of ownership and the protective provisions in our amended and restated memorandum and articles of association may discourage, delay or prevent a change in control of our company, which could have the dual effect of depriving our shareholders of an opportunity to receive a premium for their shares as part of a sale of our company and reducing the price of the ADSs. As a result of the foregoing, the value of your investment could be materially reduced.

 

If the custodians or authorized users of our controlling non-tangible assets, including chops and seals, fail to fulfill their responsibilities, or misappropriate or misuse these assets, our business and operations may be materially and adversely affected.

 

Under PRC law, legal documents for corporate transactions that our business relies on are executed using the chop or seal of the signing entity or with the signature of a legal representative whose designation is registered and filed with the relevant local branch of the SAIC.

 

The chops of our PRC subsidiaries and VIE are generally held by the relevant entities so that documents can be executed locally. Although we usually utilize chops to execute contracts, the registered legal representatives of our PRC subsidiaries and VIE have the apparent authority to enter into contracts on behalf of such entities without chops, unless such contracts set forth otherwise.

 

In order to maintain the physical security of our chops, we generally have them stored in secured locations accessible only to the designated key employees of our legal, administrative or finance departments. Although we have approval procedures in place and monitor our key employees, including the designated legal representatives of our PRC subsidiaries and our VIE, the procedures may not be sufficient to prevent all instances of abuse or negligence. There is a risk that our key employees or designated legal representatives could abuse their authority, for example, by binding our PRC subsidiaries and our VIE with contracts against our interests, as we would be obligated to honor these contracts if the other contracting party acts in good faith in reliance on the apparent authority of our chops or signatures of our legal representatives. If any designated legal representative obtains control of the chop in an effort to obtain control over the relevant entity, we would need to have a shareholder or board resolution to designate a new legal representative and to take legal action to seek the return of the chop, apply for a new chop with the relevant authorities, or otherwise seek legal remedies for the legal representative’s misconduct. If any of the designated legal representatives obtains and misuses or misappropriates our chops and seals or other controlling intangible assets for whatever reason, we could experience disruption to our normal business operations. We may have to take corporate or legal action, which could involve significant time and resources to resolve while distracting management from our operations, and our business and operations may be materially and adversely affected.

 

Substantial uncertainties exist with respect to the enactment timetable, interpretation and implementation of the draft PRC Foreign Investment Law, and its enactment may materially and adversely affect our business and financial condition.

 

We rely on contractual arrangements with our VIE and its shareholders to operate our business in China. For a description of these contractual arrangements, see “Item 4. Information on the Company—C. Organizational Structure—Variable Interest Entity Contractual Arrangements.” Our VIE holds courier service operation permits, ICP license and other regulated licenses. Our VIE operates our domestic mail delivery services in addition to parcel delivery services and value-added telecommunication business, in which foreign investment is prohibited or restricted. The PRC government may determine that the contractual arrangements necessary to form and control our VIE do not comply with PRC legal or regulatory requirements or policies that may be adopted in the future.

 

In particular, the MOFCOM published a discussion draft of the proposed Foreign Investment Law in January 2015 aiming to, upon its enactment, replace the major existing laws and regulations governing foreign investment in China. While the MOFCOM solicited comments on this draft, substantial uncertainties exist with respect to the enactment timetable, interpretation and implementation of the proposed legislation and the extent of revision to the currently proposed draft. The draft Foreign Investment Law, if enacted as proposed, may materially impact the entire legal framework regulating foreign investments in China.

 

20



Table of Contents

 

Among other things, the draft Foreign Investment Law purports to introduce the principle of “actual control” in determining whether a company is considered a foreign invested enterprise, or an FIE. The draft Foreign Investment Law specifically provides that entities established in China but “controlled” by foreign investors will be treated as FIEs, whereas an entity organized in a foreign jurisdiction, but cleared by the MOFCOM as “controlled” by PRC entities and/or citizens, would nonetheless be treated as a PRC domestic entity for investment in the “restriction category” or similar category that could appear on any such “negative list.” In this connection, “control” is broadly defined in the draft law to cover any of the following summarized categories: (i) holding 50% or more of the voting rights or similar rights and interests of the subject entity; (ii) holding less than 50% of the voting rights or similar rights and interests of the subject entity but having the power to directly or indirectly appoint or otherwise secure at least 50% of the seats on the board or other equivalent decision making bodies, or having the voting power to materially influence the board, the shareholders’ meeting or other equivalent decision making bodies; or (iii) having the power to exert decisive influence, via contractual or trust arrangements, over the subject entity’s operations, financial, staffing and technology matters.

 

Once an entity is determined to be an FIE, and its investment amount exceeds certain thresholds or its business operation falls within a “negative list” purported to be separately issued by the State Council in the future, market entry clearance by the MOFCOM or its local counterparts would be required.

 

The “variable interest entity” structure, or VIE structure, has been adopted by many PRC-based companies, including us, to obtain necessary licenses and permits in the industries that are currently subject to foreign investment restrictions in China. Under the draft Foreign Investment Law, VIEs that are controlled via contractual arrangements would also be deemed as FIEs, if they are ultimately “controlled” by foreign investors. For any companies with a VIE structure in an industry category that is in the “restriction category” or similar category that could appear on any such “negative list,” the existing VIE structure may be deemed legitimate only if the ultimate controlling person(s) is/are of PRC nationality (either PRC state owned enterprises or agencies, or PRC citizens). Conversely, if the actual controlling person(s) is/are of foreign nationalities, then the VIEs will be treated as FIEs, in which case, the existing VIE structures will likely to be scrutinized and subject to foreign investment restrictions and approval from the MOFCOM and other supervising authorities such as the industry and commerce, taxation, foreign exchange and audit regulators. Any operation in an industry category on the “negative list” without market entry clearance may be considered as illegal.

 

However, there are significant uncertainties as to how the control status of our company and our VIE would be determined under the enacted version of the Foreign Investment Law. In addition, it is uncertain whether any of the businesses that we currently operate or plan to operate in the future through our VIE and the businesses operated by our equity investees with a VIE structure would be on the to-be-issued “negative list” and therefore be subject to any foreign investment restrictions or prohibitions. We also face uncertainties as to whether the enacted version of the Foreign Investment

 

Law and the final “negative list” would mandate further actions, such as MOFCOM market entry clearance, to be completed by companies with existing VIE structure and whether such clearance can be timely obtained, or at all. If we or our equity investees with a VIE structure were not considered to be ultimately controlled by PRC domestic investors under the enacted version of the Foreign Investment Law, further actions required to be taken by us or such equity investees under the enacted Foreign Investment Law may materially and adversely affect our business and financial condition.

 

In addition, our corporate governance practices may be materially impacted and our compliance costs could increase if we were not considered as ultimately controlled by PRC domestic investors under the Foreign Investment Law, if enacted as currently proposed. For instance, the draft Foreign Investment Law as proposed purports to impose stringent ad hoc and periodic information reporting requirements on foreign investors and the applicable FIEs. Aside from investment implementation report and investment amendment report that would be required for each investment and alteration of investment specifics, an annual report would be mandatory, and large foreign investors meeting certain criteria would be required to report on a quarterly basis. Any company found to be non-compliant with these information reporting obligations could potentially be subject to fines and/or administrative or criminal liabilities, and the persons directly responsible could be subject to criminal liabilities.

 

Risks Related to Doing Business in the People’s Republic of China

 

Changes in the political and economic policies of the PRC government may materially and adversely affect our business, financial condition and results of operations and may result in our inability to sustain our growth and expansion strategies.

 

Substantially all of our operations are conducted in the PRC and substantially all of our revenue is sourced from the PRC. Accordingly, our financial condition and results of operations are affected to a significant extent by economic, political and legal developments in the PRC.

 

The PRC economy differs from the economies of most developed countries in many respects, including the extent of government involvement, level of development, growth rate, and control of foreign exchange and allocation of resources. Although the PRC government has implemented measures emphasizing the utilization of market forces for economic reform, the reduction of state ownership of productive assets, and the establishment of improved corporate governance in business enterprises, a substantial portion of productive assets in China is still owned by the government. In addition, the PRC government continues to play a significant role in regulating industry development by imposing industrial policies. The PRC government also exercises significant control over China’s economic growth by allocating resources, controlling payment of foreign currency-denominated obligations, setting monetary policy, regulating financial services and institutions and providing preferential treatment to particular industries or companies.

 

21



Table of Contents

 

While the PRC economy has experienced significant growth in the past, growth has been uneven, both geographically and among various sectors of the economy. The PRC government has implemented various measures to encourage economic growth and guide the allocation of resources. Some of these measures may benefit the overall PRC economy, but may also have a negative effect on us. Our financial condition and results of operations could be materially and adversely affected by government control over capital investments or changes in tax regulations that are applicable to us. In addition, the PRC government has implemented in the past certain measures to control the pace of economic growth. These measures may cause decreased economic activity, which in turn could lead to a reduction in demand for our services and consequently have a material adverse effect on our businesses, financial condition and results of operations.

 

There are uncertainties regarding the interpretation and enforcement of PRC laws, rules and regulations.

 

Substantially all of our operations are conducted in the PRC, and are governed by PRC laws, rules and regulations. Our PRC subsidiaries are subject to laws, rules and regulations applicable to foreign investment in China. The PRC legal system is a civil law system based on written statutes. Unlike the common law system, prior court decisions may be cited for reference but have limited precedential value.

 

In 1979, the PRC government began to promulgate a comprehensive system of laws, rules and regulations governing economic matters in general. The overall effect of legislation over the past four decades has significantly enhanced the protections afforded to various forms of foreign investment in China. However, China has not developed a fully integrated legal system, and recently enacted laws, rules and regulations may not sufficiently cover all aspects of economic activities in China or may be subject to significant degrees of interpretation by PRC regulatory agencies. In particular, because these laws, rules and regulations are relatively new, and because of the limited number of published decisions and the nonbinding nature of such decisions, and because the laws, rules and regulations often give the relevant regulator significant discretion in how to enforce them, the interpretation and enforcement of these laws, rules and regulations involve uncertainties and can be inconsistent and unpredictable. In addition, the PRC legal system is based in part on government policies and internal rules, some of which are not published on a timely basis or at all, and which may have a retroactive effect. As a result, we may not be aware of our violation of these policies and rules until after the occurrence of the violation.

 

Any administrative and court proceedings in China may be protracted, resulting in substantial costs and diversion of resources and management attention. Since PRC administrative and court authorities have significant discretion in interpreting and implementing statutory and contractual terms, it may be more difficult to evaluate the outcome of administrative and court proceedings and the level of legal protection we enjoy than in more developed legal systems. These uncertainties may impede our ability to enforce the contracts we have entered into and could materially and adversely affect our business, financial condition and results of operations.

 

Our business operations are extensively impacted by the policies and regulations of the PRC government. Any policy or regulatory change may cause us to incur significant compliance costs.

 

We are subject to extensive national, provincial and local governmental regulations, policies and controls. Central governmental authorities and provincial and local authorities and agencies regulate many aspects of Chinese industries, including, among others and in addition to specific industry-related regulations, the following aspects: (i) operation of logistics and supply chain services; (ii) traffic and transport-related services; (iii) provision of supply chain solutions, transport services, financial services, retail services and operation of high technology businesses; (iv) environmental laws and regulations; (v) security laws and regulations; (vi) establishment of or changes in shareholder of foreign investment enterprises; (vii) foreign exchange; (viii) taxes, duties and fees; (ix) customs; and (x) land planning and land use rights, including establishment of urban transformation initiatives.

 

The liabilities, costs, obligations and requirements associated with these laws and regulations may cause interruptions to our operations or impact our financial position and results of operations. Failure to comply with the relevant laws and regulations in our operations may result in various penalties, including, among others the suspension of our operations and thus adversely and materially affect our business, prospects, financial condition and results of operations. Additionally, there can be no assurance that the relevant government agencies will not change such laws or regulations or impose additional or more stringent laws or regulations. Compliance with such laws or regulations may require us to incur material capital expenditures or other obligations or liabilities.

 

The successful operation of our business depends upon the performance and reliability of the Internet infrastructure in China and other countries in which we operate.

 

Our business depends on the performance and reliability of the Internet infrastructure in China and other countries in which we operate. Almost all access to the Internet in China is maintained through state-owned telecommunication operators under the administrative control and regulatory supervision of the MIIT. In addition, the national networks in China are connected to the Internet through state-owned international gateways, which are the only channels through which a domestic user can connect to the Internet outside of China. We may not have access to alternative networks in the event of disruptions, failures or other problems with the Internet infrastructure in China or elsewhere. In addition, the Internet infrastructure in the countries in which we operate may not support the demands associated with continued growth in Internet usage.

 

The failure of telecommunications network operators to provide us with the requisite bandwidth could also interfere with the speed and availability of our websites. We have no control over the costs of the services provided by the telecommunications operators. If the prices that we pay for telecommunications and Internet services rise significantly, our gross margins could be adversely affected. In addition, if Internet access fees or other charges to Internet users increase, activities in our ecosystem may decrease, which in turn may significantly decrease our revenue.

 

22



Table of Contents

 

Certain PRC regulations establish more complex procedures for acquisitions conducted by foreign investors that could make it more difficult for us to grow through acquisitions.

 

On August 8, 2006, six PRC regulatory agencies, including the MOFCOM, the State-Owned Assets Supervision and Administration Commission, or the SASAC, the State Administration of Taxation, the State Administration for Industry and Commerce, or the SAIC, the CSRC, and the SAFE, jointly adopted the Regulations on Mergers and Acquisitions of Domestic Enterprises by Foreign Investors, or the M&A Rules, which came into effect on September 8, 2006 and were amended on June 22, 2009. The M&A Rules include, among other things, provisions that purport to require that an offshore special purpose vehicle formed for the purpose of an overseas listing of securities in a PRC company obtain the approval of the CSRC prior to the listing and trading of such special purpose vehicle’s securities on an overseas stock exchange. On September 21, 2006, the CSRC published on its official website procedures regarding its approval of overseas listings by special purpose vehicles. However, substantial uncertainty remains regarding the scope and applicability of the M&A Rules to offshore special purpose vehicles.

 

While the application of the M&A Rules remains unclear, we believe, based on the advice of our PRC counsel, King & Wood Mallesons, that the CSRC approval is not required in the context of our initial public offering because (i) our PRC subsidiaries were incorporated as foreign-invested enterprises by means of foreign direct investments at the time of their incorporation, and (ii) we did not acquire any equity interests or assets of a PRC company owned by its controlling shareholders or beneficial owners who are PRC companies or individuals, as such terms are defined under the M&A Rules. There can be no assurance that the relevant PRC government agencies, including the CSRC, would reach the same conclusion as our PRC counsel. If the CSRC or other PRC regulatory body subsequently determines that we need to obtain the CSRC’s approval for our initial public offering or if the CSRC or any other PRC government authorities promulgates any interpretation or implements rules before our listing that would require us to obtain CSRC or other governmental approvals for our initial public offering, we may face adverse actions or sanctions by the CSRC or other PRC regulatory agencies. In any such event, these regulatory agencies may impose fines and penalties on our operations in China, limit our operating privileges in China, delay or restrict the repatriation of the proceeds from our initial public offering into the PRC or take other actions that could have a material adverse effect on our business, financial condition, results of operations, reputation and prospects.

 

The new regulations also established additional procedures and requirements that are expected to make merger and acquisition activities in China by foreign investors more time-consuming and complex, including requirements in some instances that the MOFCOM be notified in advance of any change-of-control transaction in which a foreign investor takes control of a PRC domestic enterprise, or that the approval from the MOFCOM be obtained in circumstances where overseas companies established or controlled by PRC enterprises or residents acquire affiliated domestic companies. We may grow our business in part by acquiring other companies operating in our industry. Complying with the requirements of the new regulations to complete such transactions could be time-consuming, and any required approval processes, including approval from the MOFCOM, may delay or inhibit our ability to complete such transactions, which could affect our ability to expand our business or maintain our market share. See “Item 4. Information on the Company—B. Business Overview—Regulatory Matters—Regulations Relating to M&A Rules and Overseas Listing.”

 

PRC regulations relating to investments in offshore companies by PRC residents may subject our PRC-resident beneficial owners or our PRC subsidiaries to liability or penalties, limit our ability to inject capital into our PRC subsidiaries or limit our PRC subsidiaries’ ability to increase their registered capital or distribute profits.

 

SAFE promulgated the Circular on Relevant Issues Concerning Foreign Exchange Control on Domestic Residents’ Offshore Investment and Financing and Roundtrip Investment through Special Purpose Vehicles, or SAFE Circular 37, on July 4, 2014, which replaced the former circular commonly known as “SAFE Circular 75” promulgated by SAFE on October 21, 2005. SAFE Circular 37 requires PRC residents to register with local branches of SAFE in connection with their direct establishment or indirect control of an offshore entity, for the purpose of overseas investment and financing, with such PRC residents’ legally owned assets or equity interests in domestic enterprises or offshore assets or interests, referred to in SAFE Circular 37 as a “special purpose vehicle.” SAFE Circular 37 further requires amendment to the registration in the event of any significant changes with respect to the special purpose vehicle, such as increase or decrease of capital contributed by PRC individuals, share transfer or exchange, merger, division or other material event. In the event that a PRC shareholder holding interests in a special purpose vehicle fails to fulfill the required SAFE registration, the PRC subsidiaries of that special purpose vehicle may be prohibited from making profit distributions to the offshore parent and from carrying out subsequent cross-border foreign exchange activities, and the special purpose vehicle may be restricted in its ability to contribute additional capital into its PRC subsidiary. Moreover, failure to comply with the various SAFE registration requirements described above could result in liability under PRC law for evasion of foreign exchange controls. According to the Notice on Further Simplifying and Improving Policies for the Foreign Exchange Administration of Direct Investment released on February 13, 2015 by SAFE, local qualified banks will examine and handle foreign exchange registration for overseas direct investment, including the initial foreign exchange registration and amendment registration, under SAFE Circular 37 from June 1, 2015.

 

We have notified our substantial beneficial owners who we know are PRC residents of their obligations of applications, filings and amendments as required under SAFE Circular 37 and other related rules. Nevertheless, we may not be aware of the identities of all of our beneficial owners who are PRC residents. We do not have control over our beneficial owners and there can be no assurance that all of our PRC-resident beneficial owners will comply with SAFE Circular 37, its implementation rules and other applicable foreign exchange rules, and there is no assurance that the registration under SAFE Circular 37 and any amendment will be completed in a timely manner, or will be completed at all. The failure of our beneficial owners who are PRC residents to register or amend their foreign exchange registrations in a timely manner pursuant to SAFE Circular 37, its implementation rules and other applicable foreign exchange rules, or the failure of future beneficial owners of our company who are PRC residents to comply with these registration requirements, may subject such beneficial owners or our PRC subsidiaries to fines and legal sanctions. Failure to register or comply with relevant requirements may also limit our ability to contribute additional capital to our PRC subsidiaries and limit our PRC subsidiaries’ ability to distribute dividends to our company, or we may be penalized by SAFE. These risks may have a material adverse effect on our business, financial condition and results of operations.

 

23



Table of Contents

 

PRC regulation of loans to and direct investment in PRC entities by offshore holding companies and governmental control of currency conversion may delay or prevent us from using the proceeds of our initial public offering to make loans to or make additional capital contributions to our PRC subsidiaries, which could materially and adversely affect our liquidity and our ability to fund and expand our business.

 

We are an offshore holding company conducting our operations in China through our PRC subsidiaries, our VIE and its subsidiaries. Any funds we transfer to our PRC subsidiaries, either as a shareholder loan or as an increase in registered capital, are subject to approval by or registration with relevant governmental authorities in China. According to the relevant PRC regulations on foreign-invested enterprises, or FIEs, in China, capital contributions to our PRC subsidiaries are subject to the approval of or filing with the MOFCOM or its local branches and registration with other governmental authorities in China. In addition, (i) any foreign loan procured by our PRC subsidiaries is required to be registered with the State Administration of Foreign Exchange, or the SAFE, or its local branches, and (ii) each of our PRC subsidiaries may not procure loans which exceed the difference between its registered capital and its total investment amount as approved by the MOFCOM or its local branches. Any medium or long term loan to be provided by us to our VIE must be filed with the National Development and Reform Commission, or the NDRC, and the SAFE or its local branches in advance. We may not obtain these governmental approvals or complete such registrations on a timely basis, if at all, with respect to future capital contributions or foreign loans by us to our PRC subsidiaries. If we fail to receive such approvals or complete such registrations, our ability to use the proceeds of our initial public offering and to capitalize our PRC operations may be negatively affected, which could adversely affect our liquidity and our ability to fund and expand our business.

 

In 2008, the SAFE promulgated the Circular on the Relevant Operating Issues Concerning the Improvement of the Administration of the Payment and Settlement of Foreign Currency Capital of Foreign-Invested Enterprises, or SAFE Circular 142. SAFE Circular 142 regulates the conversion by FIEs of foreign currency into Renminbi by restricting the usage of converted Renminbi. SAFE Circular 142 provides that any Renminbi capital converted from registered capitals in foreign currency of FIEs may only be used for purposes within the business scopes approved by PRC governmental authority and such Renminbi capital may not be used for equity investments within China unless otherwise permitted by the PRC law. In addition, the SAFE strengthened its oversight of the flow and use of the Renminbi capital converted from registered capital in foreign currency of FIEs. The use of such Renminbi capital may not be changed without SAFE approval, and such Renminbi capital may not in any case be used to repay Renminbi loans if the proceeds of such loans have not been utilized. As a result, we are required to apply Renminbi funds converted from the net proceeds we received from our initial public offering within the business scopes of our PRC subsidiaries. On March 30, 2015, the SAFE promulgated the Circular on Reforming the Management Approach Regarding the Foreign Exchange Capital Settlement of Foreign-Invested Enterprises, or SAFE Circular 19. SAFE Circular 19 took effect as of June 1, 2015 and superseded SAFE Circular 142 on the same date. SAFE Circular 19 launched a nationwide reform of the administration of the settlement of the foreign exchange capitals of FIEs and allows FIEs to settle their foreign exchange capital at their discretion, but continues to prohibit FIEs from using the Renminbi fund converted from their foreign exchange capitals for expenditure beyond their business scopes. SAFE promulgated the Notice of the State Administration of Foreign Exchange on Reforming and Standardizing the Foreign Exchange Settlement Management Policy of Capital Account, or SAFE Circular 16, effective on June 9, 2016, which reiterates some of the rules set forth in SAFE Circular 19, but changes the prohibition against using RMB capital converted from foreign currency-denominated registered capital of a foreign-invested company to issue RMB entrusted loans to a prohibition against using such capital to issue loans to non-associated enterprises. Violations of SAFE

 

Circular 19 and SAFE Circular 16 could result in administrative penalties. SAFE Circular 19 and SAFE Circular 16 may significantly limit our ability to transfer any foreign currency we hold, including the net proceeds from our initial public offering, to our PRC subsidiaries, which may adversely affect our liquidity and our ability to fund and expand our business in the PRC. SAFE Circular 19 and SAFE Circular 16 may significantly limit our ability to transfer to and use in China the net proceeds from our initial public offering, which may adversely affect our business, financial condition and results of operations.

 

In light of the various requirements imposed by PRC regulations on loans to, and direct investment in, PRC entities by offshore holding companies, we cannot assure you that we will be able to complete the necessary government registrations or obtain the necessary government approvals on a timely basis, if at all, with respect to future loans or capital contributions by us to our PRC subsidiaries or our VIE. If we fail to complete such registrations or obtain such approvals, our ability to use the proceeds we receive from our initial public offering and to capitalize or otherwise fund our PRC operations may be negatively affected, which could materially and adversely affect our liquidity and our ability to fund and expand our business.

 

Any failure to comply with PRC regulations regarding our employee share incentive plans may subject the PRC plan participants or us to fines and other legal or administrative sanctions.

 

Pursuant to SAFE Circular 37, PRC residents who participate in share incentive plans in overseas non-publicly-listed companies due to their position as director, senior management or employees of the PRC subsidiaries of the overseas companies may submit applications to SAFE or its local branches for the foreign exchange registration with respect to offshore special purpose companies. Our directors, executive officers and other employees who are PRC residents or who are non-PRC residents residing in China for a continuous period of not less than one year, subject to limited exceptions, and who have been granted options may follow SAFE Circular 37 to apply for the foreign exchange registration before our company becomes an overseas listed company. As a U.S. public company, we and our directors, executive officers and other employees who are PRC residents and who have been granted options are subject to the Notice on Issues Concerning the Foreign Exchange Administration for Domestic Individuals Participating in Stock Incentive Plan of Overseas Publicly Listed Company, or SAFE Circular 7, issued by SAFE in February 2012, according to which, employees, directors, supervisors and other management members participating in any stock incentive plan of an overseas publicly listed company who are PRC residents or who are non-PRC residents residing in China for a continuous period of not less than one year, subject to limited exceptions, are required to register with SAFE through a domestic qualified agent, which could be a PRC subsidiary of such overseas listed company, and complete certain other procedures. We are making efforts to comply with these requirements. However, there can be no assurance that they can successfully register with SAFE in full compliance with the rules. Failure to complete the SAFE registrations may subject them to fines and legal sanctions and may also limit the ability to make payment under our share incentive plans or receive dividends or sales proceeds related thereto, or our ability to contribute additional capital into our wholly-foreign owned enterprises in China and limit our wholly-foreign owned enterprises’ ability to distribute dividends to us. We also face regulatory uncertainties that could restrict our ability to adopt additional share incentive plans for our directors and employees under PRC law.

 

24



Table of Contents

 

The enforcement of the PRC Labor Contract Law, and other labor-related regulations in the PRC may increase our labor costs and limit our flexibility to use labor. Our failure to comply with PRC labor-related laws may expose us to penalties.

 

On June 29, 2007, the Standing Committee of the National People’s Congress of China enacted the PRC Labor Contract Law, which became effective on January 1, 2008 and was amended on December 28, 2012. The PRC Labor Contract Law introduces specific provisions related to fixed-term employment contracts, part-time employment, probation, consultation with labor unions and employee assemblies, employment without a written contract, dismissal of employees, severance, and collective bargaining, which together represent enhanced enforcement of labor laws and regulations. According to the PRC Labor Contract Law, an employer is obliged to sign an unfixed-term labor contract with any employee who has worked for the employer for 10 consecutive years. Further, if an employee requests or agrees to renew a fixed-term labor contract that has already been entered into twice consecutively, the resulting contract must have an unfixed term, with certain exceptions. The employer must pay economic compensation to an employee where a labor contract is terminated or expires in accordance with the PRC Labor Contract Law, except for certain situations which are specifically regulated. As a result, our ability to terminate employees is significantly restricted. In addition, the government has issued various labor-related regulations to further protect the rights of employees. According to such laws and regulations, employees are entitled to annual leave ranging from five to 15 days and are able to be compensated for any untaken annual leave days in the amount of three times their daily salary, subject to certain exceptions. In the event that we decide to change our employment or labor practices, the PRC Labor Contract Law and its implementation rules may also limit our ability to effect those changes in a manner that we believe to be cost-effective. In addition, as the interpretation and implementation of these new regulations are still evolving, our employment practices may not be at all times deemed in compliance with the new regulations. If we are subject to severe penalties or incur significant liabilities in connection with labor disputes or investigations, our business and financial conditions may be adversely affected.

 

Companies operating in China are required to participate in various government sponsored employee benefit plans, including certain social insurance, housing funds and other welfare-oriented payment obligations, and contribute to the plans in amounts equal to certain percentages of salaries, including bonuses and allowances, of their employees up to a maximum amount specified by the local government from time to time. The requirement to maintain employee benefit plans has not been implemented consistently by local governments in China given the different levels of economic development in different locations. We did not pay, or were not able to pay, certain past social security and housing fund contributions in strict compliance with the relevant PRC regulations for and on behalf of our employees due to differences in local regulations and inconsistent implementation or interpretation by local authorities in the PRC and varying levels of acceptance of the housing fund system by our employees. We may be subject to fines and penalties for our failure to make payments in accordance with the applicable PRC laws and regulations. We may be required to make up the contributions for these plans as well as to pay late fees and fines. We have not made any accruals for the interest on underpayments and penalties that may be imposed by the relevant PRC government authorities in the financial statements. If we are subject to penalties, late fees or fines in relation to the underpaid employee benefits, our financial condition and results of operations may be adversely affected.

 

We rely to a significant extent on dividends and other distributions on equity paid by our principal operating subsidiaries to fund offshore cash and financing requirements. Any limitation on the ability of our operating subsidiaries to make payments to us could have a material and adverse impact on our ability to operate our business.

 

We are a holding company and rely to a significant extent on dividends and other distributions on equity paid by our principal operating subsidiaries and on remittances from our VIE, for our offshore cash and financing requirements, including the funds necessary to pay dividends and other cash distributions to our shareholders, fund inter-company loans, service any debt and interest we may incur outside of China and pay our expenses. When our principal operating subsidiaries or our VIE incur additional debt, the instruments governing the debt may restrict their ability to pay dividends or make other distributions or remittances to us. Furthermore, the laws, rules and regulations applicable to our

 

PRC subsidiaries and certain other subsidiaries permit payments of dividends only out of their retained earnings, if any, determined in accordance with applicable accounting standards and regulations.

 

Under PRC laws, rules and regulations, each of our subsidiaries incorporated in China is required to set aside at least 10% of its net income each year to fund certain statutory reserves until the cumulative amount of such reserves reaches 50% of its registered capital. These reserves, together with the registered capital, are not distributable as cash dividends. As a result of these laws, rules and regulations, our subsidiaries incorporated in China are restricted in their ability to transfer a portion of their respective net assets to their shareholders as dividends, loans or advances.

 

In response to the persistent capital outflow in China and RMB’s depreciation against U.S. dollar in the fourth quarter of 2016, the PBOC and the SAFE have implemented a series of capital control measures over recent months, including stricter vetting procedures for China-based companies to remit foreign currency for overseas acquisitions, dividend payments and shareholder loan repayments. For instance, on January 26, 2017, SAFE issued the Notice of State Administration of Foreign Exchange on Improving the Review of Authenticity and Compliance to Further Promote Foreign Exchange Control, or the SAFE Circular 3, which stipulates several capital control measures with respect to the outbound remittance of profit from domestic entities to offshore entities, including (i) under the principle of genuine transaction, banks shall check board resolutions regarding profit distribution, the original version of tax filing records and audited financial statements; and (ii) domestic entities shall hold income to account for previous years’ losses before remitting the profits. The PRC government may continue to strengthen its capital controls, and more restrictions and substantial vetting process may be put in place by SAFE for cross-border transactions falling under both the current account and the capital account. Limitations on the ability of VIEs to make remittances to wholly-foreign owned enterprises and on the ability of our subsidiaries to pay dividends to us could limit our ability to access cash generated by the operations of those entities, including to make investments or acquisitions that could be beneficial to our businesses, pay dividends to our shareholders, service debt and interest, or otherwise fund and conduct our business.

 

25



Table of Contents

 

We may be treated as a resident enterprise for PRC tax purposes under the PRC Enterprise Income Tax Law, and we may therefore be subject to PRC income tax on our global income.

 

Under the PRC Enterprise Income Tax Law and its implementing rules, enterprises established under the laws of jurisdictions outside of China with “de facto management bodies” located in China may be considered PRC tax resident enterprises for tax purposes and may be subject to the PRC enterprise income tax at the rate of 25% on their global income. “De facto management body” refers to a managing body that exercises substantive and overall management and control over the production and business, personnel, accounting books and assets of an enterprise. The State Administration of Taxation issued the Notice Regarding the Determination of Chinese-Controlled Offshore-Incorporated Enterprises as PRC Tax Resident Enterprises on the Basis of De Facto Management Bodies, or SAT Circular 82, on April 22, 2009. SAT Circular 82 provides certain specific criteria for determining whether the “de facto management body” of a Chinese-controlled offshore-incorporated enterprise is located in China. Although SAT Circular 82 only applies to offshore enterprises controlled by PRC enterprises, not those controlled by foreign enterprises or individuals, the determining criteria set forth in SAT Circular 82 may reflect the State Administration of Taxation’s general position on how the “de facto management body” test should be applied in determining the tax resident status of offshore enterprises, regardless of whether they are controlled by PRC enterprises. If we were to be considered a PRC resident enterprise, we would be subject to PRC enterprise income tax at the rate of 25% on our global income. In such case, our profitability and cash flow may be materially reduced as a result of our global income being taxed under the Enterprise Income Tax Law. We believe that none of our entities outside of China is a PRC resident enterprise for PRC tax purposes. However, the tax resident status of an enterprise is subject to determination by the PRC tax authorities and uncertainties remain with respect to the interpretation of the term “de facto management body.”

 

Dividends payable to our foreign investors and gains on the sale of our ADSs or Class A ordinary shares by our foreign investors may become subject to PRC tax.

 

Under the PRC Enterprise Income Tax Law and its implementing rules issued by the State Council, a 10% PRC withholding tax is applicable to dividends payable to investors that are non-resident enterprises, which do not have an establishment or place of business in the PRC or which have such establishment or place of business but the dividends are not effectively connected with such establishment or place of business, to the extent such dividends are derived from sources within the PRC. Similarly, any gain realized on the transfer of ADSs or Class A ordinary shares by such investors is also subject to PRC tax at a current rate of 10%, subject to any reduction or exemption set forth in applicable tax treaties or under applicable tax arrangements between jurisdictions, if such gain is regarded as income derived from sources within the PRC. If we are deemed a PRC resident enterprise, dividends paid on our Class A ordinary shares or ADSs, and any gain realized from the transfer of our Class A ordinary shares or ADSs, would be treated as income derived from sources within the PRC and would as a result be subject to PRC taxation. Furthermore, if we are deemed a PRC resident enterprise, dividends payable to individual investors who are non-PRC residents and any gain realized on the transfer of ADSs or Class A ordinary shares by such investors may be subject to PRC tax at a current rate of 20%, subject to any reduction or exemption set forth in applicable tax treaties or under applicable tax arrangements between jurisdictions. If we or any of our subsidiaries established outside China are considered a PRC resident enterprise, it is unclear whether holders of our ADSs or Class A ordinary shares would be able to claim the benefit of income tax treaties or agreements entered into between China and other countries or areas. If dividends payable to our non-PRC investors, or gains from the transfer of our ADSs or Class A ordinary shares by such investors, are deemed as income derived from sources within the PRC and thus are subject to PRC tax, the value of your investment in our ADSs or Class A ordinary shares may decline significantly.

 

We and our shareholders face uncertainties with respect to indirect transfers of equity interests in PRC resident enterprises, assets attributed to a PRC establishment of non-Chinese company, or real property located in China owned by non-Chinese companies.

 

On February 3, 2015, the State Administration of Taxation issued the Bulletin on Issues of Enterprise Income Tax on Indirect Transfers of Assets by Non-PRC Resident Enterprises, or Bulletin 7, which was recently amended on December 29, 2017. Pursuant to this Bulletin, an “indirect transfer” of assets, including equity interests in a PRC resident enterprise, by non-PRC resident enterprises may be recharacterized and treated as a direct transfer of PRC taxable assets, if such arrangement does not have a reasonable commercial purpose and was established for the purpose of avoiding payment of PRC enterprise income tax. As a result, gains derived from such indirect transfer may be subject to PRC enterprise income tax. According to Bulletin 7, “PRC taxable assets” include assets attributed to an establishment or place of business in China, real properties located in China, and equity investments in PRC resident enterprises, in respect of which gains from their transfer by a direct holder, being a non-PRC resident enterprise, would be subject to PRC enterprise income taxes. When determining whether there is a “reasonable commercial purpose” of the transaction arrangement, features to be taken into consideration include: whether the main value of the equity interest of the relevant offshore enterprise derives from PRC taxable assets; whether the assets of the relevant offshore enterprise mainly consists of direct or indirect investment in China or if its income mainly derives from China; whether the offshore enterprise and its subsidiaries directly or indirectly holding PRC taxable assets have real commercial nature which is evidenced by their actual function and risk exposure; the duration of existence of the business model and organizational structure; the foreign income tax liabilities arising from the indirect transfer of PRC taxable assets; the replicability of the transaction by direct transfer of PRC taxable assets; and the tax situation of such indirect transfer and applicable tax treaties or similar arrangements. In respect of an indirect offshore transfer of assets of a PRC establishment or place of business, the resulting gain is to be included with the enterprise income tax filing of the PRC establishment or place of business being transferred, and would consequently be subject to PRC enterprise income tax at a rate of 25%. Where the underlying transfer relates to the real properties located in China or to equity investments in a PRC resident enterprise, which is not related to a PRC establishment or place of business of a non-resident enterprise, a PRC enterprise income tax of 10% would apply, subject to available preferential tax treatment under applicable tax treaties or similar arrangements, and the party who is obligated to make the transfer payments has the withholding obligation. Where the payor fails to withhold any or sufficient tax, the transferor shall declare and pay such tax to the tax authority by itself within the statutory time limit. Bulletin 7 does not apply to transactions of sale of shares by investors through a public stock exchange where such shares were acquired from a transaction through a public stock exchange. On October 17, 2017, SAT issued the Bulletin on Issues Concerning the Withholding of Non-resident Enterprise Income Tax at Source, or Bulletin 37, which, among others, repeals certain rules related to treatment of situations where a payor has failed to timely withhold tax as stipulated in Circular 7. In particular, Bulletin 37 provides that when a payor as the withholding agent fails to or is unable to perform its withholding duty, on the condition that the relevant non-PRC resident enterprise voluntarily makes payment before being ordered to do so in a timely manner or within a time limit prescribed by relevant tax authorities, the tax shall be deemed as having been timely paid. The Bulletin 37 further specifies and clarifies tax withholding methods applicable to income of non-PRC resident enterprises.

 

26



Table of Contents

 

There is uncertainty as to the application of Bulletin 7. Especially as Bulletin 7 is lately promulgated, it is not clear how it will be implemented. Bulletin 7 may be determined by the tax authorities to be applicable to our offshore restructuring transactions or sale of our ordinary shares or preferred shares, or those of our offshore subsidiaries, where non-resident enterprises, being the transferors, were involved. We thereby may be subject to the tax filing and withholding or tax payment obligation, while our PRC subsidiaries may be requested to assist in the filing. Furthermore, we, our non-resident enterprises and PRC subsidiaries may be required to spend valuable resources to comply with Bulletin 7 or to establish that we and our non-resident enterprises should not be taxed under Bulletin 7, for our previous and future restructuring or disposal of shares of our offshore subsidiaries, which may have a material adverse effect on our financial condition and results of operations.

 

The PRC tax authorities have the discretion under Bulletin 7 to make adjustments to the taxable capital gains based on the difference between the fair value of the taxable assets transferred and the cost of investment. If the PRC tax authorities make adjustments to the taxable income of the transactions under Bulletin 7, our income tax costs associated with such potential acquisitions or disposals could increase, which may have an adverse effect on our financial condition and results of operations.

 

Restrictions on currency exchange may limit our ability to utilize our cash effectively.

 

Substantially all of our revenue is denominated in Renminbi. The Renminbi is currently convertible under the “current account,” which includes dividends, trade and service-related foreign exchange transactions, but not under the “capital account,” which includes foreign direct investment and loans, including loans we may secure from or for our onshore subsidiaries or our VIE. Currently, certain of our PRC subsidiaries may purchase foreign currency for settlement of “current account transactions,” including payment of dividends to us, without the approval of SAFE by complying with certain procedural requirements. However, the relevant PRC governmental authorities may limit or eliminate our ability to purchase foreign currencies in the future for current account transactions. Foreign exchange transactions under the capital account remain subject to limitations and require approvals from, or registration with, SAFE and other relevant PRC governmental authorities. Since a significant amount of our future revenue will be denominated in Renminbi, any existing and future restrictions on currency exchange may limit our ability to utilize cash generated in Renminbi to fund our business activities outside of the PRC or pay dividends in foreign currencies to our shareholders, including holders of our ADSs, and may limit our ability to obtain foreign currency through debt or equity financing for our subsidiaries and our VIE.

 

The audit report included in this annual report is prepared by an auditor who has not been inspected by the Public Company Accounting Oversight Board and, as such, our investors are deprived of the benefits of such inspection.

 

Our independent registered public accounting firm that issues the audit report included in this annual report, as auditors of companies that are traded publicly in the U.S. and a firm registered with the U.S. Public Company Accounting Oversight Board, or the PCAOB, is required by the laws of the U.S. to undergo regular inspections by the PCAOB to assess its compliance with the laws of the U.S. and professional standards. Because our auditors are located in the PRC, a jurisdiction where the PCAOB is currently unable to fully conduct inspections without the approval of the Chinese authorities, our auditors have not been inspected by the PCAOB.

 

Inspections of other firms that the PCAOB has conducted outside China have identified deficiencies in those firms’ audit procedures and quality control procedures, which may be addressed as part of the inspection process to improve future audit quality. This lack of PCAOB inspections in China prevents the PCAOB from regularly evaluating our auditor’s audits and its quality control procedures. As a result, investors in our company do not have the benefits of PCAOB inspections. Further, the inability of the PCAOB to conduct inspections of auditors in China makes it more difficult to evaluate the effectiveness of our auditor’s audit procedures or quality control procedures as compared to auditors outside of China that are subject to PCAOB inspections.

 

If additional remedial measures are imposed on the “big four” China-based accounting firms, including our independent registered public accounting firm, in administrative proceedings brought by the SEC alleging such firms’ failure to meet specific criteria set by the SEC with respect to requests for the production of documents, we could be unable to timely file future financial statements in compliance with the requirements of the Exchange Act.

 

In December 2012, the SEC instituted proceedings under Rule 102(e)(1)(iii) of the SEC’s Rules of Practice against five China-based accounting firms, including our independent registered public accounting firm, alleging that these firms had violated U.S. securities laws and the SEC’s rules and regulations thereunder by failing to provide to the SEC the firms’ work papers related to their audits of certain China-based companies that are publicly traded in the U.S. Rule 102(e)(1)(iii) grants the SEC the authority to deny to any person, temporarily or permanently, the ability to practice before the SEC who is found by the SEC, after notice and opportunity for a hearing, to have willfully violated any such laws or rules and regulations. On January 22, 2014, an initial administrative law decision was issued, censuring these accounting firms and suspending four of the five firms from practicing before the SEC for a period of six months. Four of these China-based accounting firms appealed to the SEC against this decision and, on February 6, 2015, each of the four China-based accounting firms agreed to a censure and to pay a fine to the SEC to settle the dispute and avoid suspension of their ability to practice before the SEC. The firms’ ability to continue to serve all their respective clients is not affected by the settlement. The settlement requires the firms to follow detailed procedures to seek to provide the SEC with access to Chinese firms’ audit documents via the China Securities Regulatory Commission. If the firms do not follow these procedures, the SEC could impose penalties such as suspensions, or it could restart the administrative proceedings. The settlement did not require the firms to admit to any violation of law and preserves the firms’ legal defenses in the event the administrative proceeding is restarted

 

27



Table of Contents

 

In the event that the SEC restarts the administrative proceedings, depending upon the final outcome, companies listed in the U.S. with major Chinese operations may find it difficult or impossible to retain auditors in respect of their operations in China, which could result in financial statements being determined to not be in compliance with the requirements of the Exchange Act, including possible delisting. Moreover, any negative news about any such future proceedings against these audit firms may cause investor uncertainty regarding China-based, U.S.-listed companies and the market price of our ADSs may be adversely affected.

 

If our independent registered public accounting firm were denied, even temporarily, the ability to practice before the SEC and we were unable to timely find another registered public accounting firm to audit and issue an opinion on our financial statements, our financial statements could be determined not to be in compliance with the requirements of the Exchange Act. Such a determination could ultimately lead to the delay or abandonment of our initial public offering, delisting of the ADSs representing our Class A ordinary shares from the New York Stock Exchange or deregistration from the SEC, or both, which would substantially reduce or effectively terminate the trading of our ADSs in the U.S.

 

Risks Related to Our ADSs

 

The trading price of our ADSs may be volatile, which could result in substantial losses to you.

 

The trading prices of our ADSs are likely to be volatile and could fluctuate widely due to factors beyond our control. This may happen because of broad market and industry factors, such as the performance and fluctuation in the market prices or the underperformance or deteriorating financial results of other listed companies based in China. The securities of some of these companies have experienced significant volatility since their initial public offerings, including, in some cases, substantial declines in the trading prices of their securities. The trading performances of other Chinese companies’ securities after their offerings, including Internet and e-commerce companies, may affect the attitudes of investors toward Chinese companies listed in the U.S., which consequently may impact the trading performance of our ADSs, regardless of our actual operating performance. In addition, any negative news or perceptions about inadequate corporate governance practices or fraudulent accounting, corporate structure or matters of other Chinese companies may also negatively affect the attitudes of investors towards Chinese companies in general, including us, regardless of whether we have conducted any inappropriate activities. In addition, securities markets may from time to time experience significant price and volume fluctuations that are not related to our operating performance, such as the large decline in share prices in the U.S., China and other jurisdictions in late 2008, early 2009, the second half of 2011 and in 2015, which may have a material and adverse effect on the trading price of our ADSs.

 

In addition to the above factors, the price and trading volume of our ADSs may be highly volatile due to multiple factors, such as announcements by us or our competitors of new product and service offerings, acquisitions, strategic relationships, joint ventures, capital raisings or capital commitments, additions or departures by our senior management and by actual or anticipated fluctuations in our quarterly results of operations and changes or revisions of our expected results. The trading price and volume of our ADSs may also be affected by studies and reports relating to the quality of our service offerings or those of our competitors and reports by securities research analysts. Other factors include regulatory developments affecting us or our industry, customers or suppliers, as well as changes in the market for our services and the economic performance or market valuations of other companies offering supply chain services may affect trading in our ADSs. Further, the trading price and volume of our ADSs may also be influenced by fluctuations of exchange rates between the RMB and the U.S. dollar, or restrictions on our outstanding shares or ADSs and sales or perceived potential sales of additional Class A ordinary shares or ADSs.

 

If securities or industry analysts do not publish research or publish inaccurate or unfavorable research about our business, the market price for our ADSs and trading volume could decline.

 

The trading market for our ADSs will depend in part on the research and reports that securities or industry analysts publish about us or our business. If research analysts do not establish and maintain adequate research coverage or if one or more of the analysts who covers us downgrades our ADSs or publishes inaccurate or unfavorable research about our business, the market price for our ADSs would likely decline. If one or more of these analysts cease coverage of our company or fail to publish reports on us regularly, we could lose visibility in the financial markets, which, in turn, could cause the market price or trading volume for our ADSs to decline.

 

Techniques employed by short sellers may drive down the market price of our ADSs.

 

Short selling is the practice of selling securities that the seller does not own but rather has borrowed from a third party with the intention of buying identical securities back at a later date to return to the lender. The short seller hopes to profit from a decline in the value of the securities between the sale of the borrowed securities and the purchase of the replacement shares, as the short seller expects to pay less in that purchase than it received in the sale. As it is in the short seller’s interest for the price of the security to decline, many short sellers publish, or arrange for the publication of, negative opinions regarding the relevant issuer and its business prospects in order to create negative market momentum and generate profits for themselves after selling a security short. These short attacks have, in the past, led to selling of shares in the market.

 

28



Table of Contents

 

Public companies that have substantially all of their operations in China have been the subject of short selling. Much of the scrutiny and negative publicity has centered on allegations of a lack of effective internal control over financial reporting resulting in financial and accounting irregularities and mistakes, inadequate corporate governance policies or a lack of adherence thereto and, in many cases, allegations of fraud. As a result, many of these companies are now conducting internal and external investigations into the allegations and, in the interim, are subject to shareholder lawsuits and/or SEC enforcement actions.

 

It is not clear what effect such negative publicity could have on us. If we were to become the subject of any unfavorable allegations, whether such allegations are proven to be true or untrue, we could have to expend a significant amount of resources to investigate such allegations and/or defend ourselves. While we would strongly defend against any such short seller attacks, we may be constrained in the manner in which we can proceed against the relevant short seller by principles of freedom of speech, applicable state law or issues of commercial confidentiality. Such a situation could be costly and time-consuming, and could distract our management from growing our business. Even if such allegations are ultimately proven to be groundless, allegations against us could severely impact our business operations and stockholders equity, and any investment in our ADSs could be greatly reduced or rendered worthless.

 

Because we do not expect to pay dividends in the foreseeable future, you must rely on price appreciation of our ADSs for return on your investment.

 

We currently intend to retain most, if not all, of our available funds and any future earnings to fund the development and growth of our business. As a result, we do not expect to pay any cash dividends in the foreseeable future. See “Item 8. Financial Information—A. Consolidated Statements and Other Financial Information—Dividend Policy and Distributions.” Therefore, you should not rely on an investment in our ADSs as a source for any future dividend income.

 

Our board of directors has complete discretion as to whether to distribute dividends, subject to certain requirements of Cayman Islands law. Under Cayman Islands law, a Cayman Islands company may pay a dividend out of either profit or share premium account, provided that in no circumstances may a dividend be paid if this would result in the company being unable to pay its debts as they fall due in the ordinary course of business. Even if our board of directors decides to declare and pay dividends, the timing, amount and form of future dividends, if any, will depend on, among other things, our future results of operations and cash flow, our capital requirements and surplus, the amount of distributions, if any, received by us from our subsidiaries, our financial condition, contractual restrictions and other factors deemed relevant by our board of directors. Accordingly, the return on your investment in our ADSs will likely depend entirely upon any future price appreciation of our ADSs. There is no guarantee that our ADSs will appreciate in value or even maintain the price at which you purchased the ADSs. You may not realize a return on your investment in our ADSs and you may even lose your entire investment in our ADSs.

 

Substantial future sales or perceived potential sales of our ADSs in the public market could cause the price of our ADSs to decline.

 

Substantial sales of our ADSs in the public market, or the perception that these sales could occur, could cause the market price of our ADSs to decline significantly. As of February 28, 2018, we had 374,514,399 ordinary shares outstanding, comprising 232,648,452 Class A ordinary shares and 94,075,249 Class B ordinary shares and 47,790,698 Class C ordinary shares, including 51,750,000 Class A ordinary shares represented by ADSs. All ADSs representing our Class A ordinary shares are freely transferable by persons other than our “affiliates” without restriction or additional registration under the U.S. Securities Act of 1933, as amended, or the Securities Act. All of the other Class A ordinary shares outstanding are available for sale in the public market subject to volume and other restrictions as applicable under Rules 144 and 701 under the Securities Act.

 

Certain major holders of our ordinary shares have the right to cause us to register under the Securities Act the sale of their shares. Registration of these shares under the Securities Act would result in ADSs representing these shares becoming freely tradable without restriction under the Securities Act immediately upon the effectiveness of the registration. Sales of these registered shares in the form of ADSs in the public market could cause the price of our ADSs to decline significantly.

 

We have adopted share incentive plans under which we have the discretion to grant a broad range of equity-based awards to eligible participants. We have registered all ordinary shares that we may issue under these share incentive plans. Since these ordinary shares have been registered, they can be freely sold in the public market in the form of ADSs upon issuance, subject to volume limitations applicable to affiliates. If a large number of our ordinary shares or securities convertible into our ordinary shares are sold in the public market in the form of ADSs after they become eligible for sale, the sales could reduce the trading price of our ADSs and impede our ability to raise future capital. In addition, any ordinary shares that we issue under our share incentive plans would dilute the percentage ownership held by our investors.

 

As a holder of ADSs, you have fewer rights than holders of our ordinary shares and must act through the depositary to exercise those rights.

 

                Holders of ADSs do not have the same rights as our registered shareholders. As a holder of our ADSs, you will not have any direct right to attend general meetings of our shareholders or to cast any votes at such meetings. You will only be able to exercise the voting rights which attach to the underlying Class A ordinary shares represented by your ADSs indirectly by giving voting instructions to the depositary in accordance with the provisions of the deposit agreement. Upon receipt of your voting instructions, the depositary will try, as far as is practicable, to vote the underlying Class A ordinary shares in accordance with your instructions. You will not be able to exercise directly any right to vote with respect to the underlying Class A ordinary shares unless you withdraw the shares and become the registered holder of such shares prior to the record date for the general meeting. Under our ninth amended and restated articles of association currently in effect, the minimum notice period required to be given by our company to our registered shareholders to convene a general meeting will be 10 calendar days. When a general meeting is convened, you may not receive sufficient notice of the meeting to enable you to withdraw the Class A ordinary shares represented by your ADSs and become the registered holder of such shares to allow you to attend the general meeting or to cast your vote directly with respect to any specific matter or resolution to be considered and voted upon at the general meeting. In addition, under our ninth amended and restated articles of association currently in effect, for the purposes of determining those shareholders who are entitled to attend and vote at any general meeting, our directors may close our register of members and/or fix in advance a record date for such meeting, and such closure of our register of members or the setting of such a record date may prevent you from withdrawing the underlying Class A ordinary shares represented by your ADSs and becoming the registered holder of such shares prior to the record date, so that you would not be able to attend the general meeting or to vote directly. Where any matter is to be put to a vote at a general meeting, we will make all reasonable efforts to cause the depositary to notify you of the upcoming vote and to deliver our voting materials to you in a timely manner, but there can be no assurance that you will receive the voting materials in time to ensure that you can instruct the depositary to vote the Class A ordinary shares underlying your ADSs. Furthermore, the depositary and its agents will not be responsible for any failure to carry out any instructions to vote, for the manner in which any vote is cast or for the effect of any such vote. As a result, you may not be able to exercise your right to direct how the underlying Class A ordinary shares represented by your ADSs are voted, and you may lack recourse if the underlying Class A ordinary shares represented by your ADSs are not voted as you requested. In addition, in your capacity as an ADS holder, you will not be able to call a shareholders’ meeting.

 

29



Table of Contents

 

Your right to participate in any future rights offerings may be limited, which may cause dilution to your holdings.

 

We may from time to time distribute rights to our shareholders, including rights to acquire our securities. However, we cannot make rights available to you in the U.S. unless we register both the rights and the securities to which the rights relate under the Securities Act or an exemption from the registration requirements is available. Under the deposit agreement, the depositary will not make rights available to you unless both the rights and the underlying securities to be distributed to ADS holders are either registered under the Securities Act or exempt from registration under the Securities Act. We are under no obligation to file a registration statement with respect to any such rights or securities or to endeavor to cause such a registration statement to be declared effective and we may not be able to establish a necessary exemption from registration under the Securities Act. Accordingly, you may be unable to participate in our rights offerings and may experience dilution in your holdings.

 

You may not receive cash dividends if the depositary decides it is impractical to make them available to you.

 

The depositary will pay cash dividends on the ADSs only to the extent that we decide to distribute dividends on our ordinary shares or other deposited securities, and we do not have any present plan to pay any cash dividends in the foreseeable future. See “Item 8. Financial Information—A. Consolidated Statements and Other Financial Information—Dividend Policy and Distributions.” To the extent that our company pays any cash dividends or other distributions to our shareholders, we will pay such distributions which are payable in respect of our Class A ordinary shares (or other deposited securities) represented by ADSs to the depositary of our ADSs or the custodian (as the registered holder of such Class A ordinary shares or other deposited securities), and the depositary has agreed to pay the cash dividends or other distributions it or the custodian receives on our Class A ordinary shares or other deposited securities after deducting its fees and expenses, to the holders of the ADSs. You will receive these distributions in proportion to the number of Class A ordinary shares your ADSs represent. However, the depositary may, at its discretion, decide that it is inequitable or impractical to make a distribution available to any holders of ADSs. For example, the depositary may determine that it is not practicable to distribute certain property through the mail, or that the value of certain distributions may be less than the cost of mailing them. In these cases, the depositary may decide not to distribute such property to you.

 

You may be subject to limitations on transfer of your ADSs.

 

Your ADSs are transferable on the books of the depositary. However, the depositary may close its transfer books at any time or from time to time when it deems expedient in connection with the performance of its duties. In addition, the depositary may refuse to deliver, transfer or register transfers of ADSs generally when our books or the books of the depositary are closed, or at any time if we or the depositary deems it advisable to do so because of any requirement of law or of any government or governmental body, or under any provision of the deposit agreement, or for any other reason.

 

Certain judgments obtained against us by our shareholders may not be enforceable.

 

We are an exempted company incorporated under the laws of the Cayman Islands. Substantially all of our assets are located outside the U.S. In addition, all of our directors and executive officers and the experts named in this annual report reside outside the U.S., and most of their assets are located outside the U.S. As a result, it may be difficult or impossible for you to bring an action against us or against them in the U.S. in the event that you believe that your rights have been infringed under the U.S. federal securities laws or otherwise. Even if you are successful in bringing an action of this kind, the laws of the Cayman Islands, China or other relevant jurisdiction may render you unable to enforce a judgment against our assets or the assets of our directors and officers.

 

You may face difficulties in protecting your interests, and your ability to protect your rights through U.S. courts may be limited, because we are incorporated under Cayman Islands law.

 

We are an exempted company limited by shares incorporated under the laws of the Cayman Islands. Our corporate affairs are governed by our memorandum and articles of association, the Companies Law (2018 Revision) of the Cayman Islands and the common law of the Cayman Islands. The rights of shareholders to take action against our directors, actions by our minority shareholders and the fiduciary duties of our directors to us under Cayman Islands law are to a large extent governed by the common law of the Cayman Islands. The common law of the Cayman Islands is derived in part from comparatively limited judicial precedent in the Cayman Islands as well as from the common law of England, the decisions of whose courts are of persuasive authority, but are not binding, on a court in the Cayman Islands. The rights of our shareholders and the fiduciary duties of our directors under Cayman Islands law are not as clearly established as they would be under statutes or judicial precedent in some jurisdictions in the U.S. In particular, the Cayman Islands has a less developed body of securities laws than the U.S. Some U.S. states, such as Delaware, have more fully developed and judicially interpreted bodies of corporate law than the Cayman Islands. In addition, Cayman Islands companies may not have standing to initiate a shareholder derivative action in a federal court of the U.S.

 

30



Table of Contents

 

Shareholders of Cayman Islands exempted companies like us have no general rights under Cayman Islands law to inspect corporate records or to obtain copies of lists of shareholders of these companies. Our directors have discretion under our ninth amended and restated articles of association currently in effect to determine whether or not, and under what conditions, our corporate records may be inspected by our shareholders, but are not obliged to make them available to our shareholders. This may make it more difficult for you to obtain the information needed to establish any facts necessary for a shareholder resolution or to solicit proxies from other shareholders in connection with a proxy contest.

 

As a result of all of the above, our public shareholders may have more difficulty in protecting their interests in the face of actions taken by management, members of the board of directors or controlling shareholders than they would as public shareholders of a company incorporated in the U.S.

 

Our articles of association contain anti-takeover provisions that could discourage a third party from acquiring us, which could limit our shareholders’ opportunity to sell their shares, including Class A ordinary shares represented by our ADSs, at a premium.

 

Our ninth amended and restated articles of association currently in effect contain provisions that limit the ability of others to acquire control of our company or cause us to engage in change-of-control transactions. These provisions could have the effect of depriving our shareholders of an opportunity to sell their shares at a premium over prevailing market prices by discouraging third parties from seeking to obtain control of our company in a tender offer or similar transaction. For example, our board of directors has the authority, without further action by our shareholders, to issue preferred shares in one or more series and to fix their designations, powers, preferences, privileges, and relative participating, optional or special rights and the qualifications, limitations or restrictions, including dividend rights, conversion rights, voting rights, terms of redemption and liquidation preferences, any or all of which may be greater than the rights associated with our ordinary shares, in the form of ADS or otherwise. Preferred shares could be issued quickly with terms calculated to delay or prevent a change in control of our company or make removal of management more difficult. If our board of directors decides to issue preferred shares, the price of our ADSs may fall and the voting and other rights of the holders of our ordinary shares and ADSs may be materially and adversely affected.

 

These provisions could have the effect of depriving our shareholders of an opportunity to sell their shares at a premium over prevailing market prices by discouraging third parties from seeking to obtain control of our company in a tender offer or similar transaction.

 

We are a foreign private issuer within the meaning of the rules under the Exchange Act, and as such we are exempt from certain provisions applicable to U.S. domestic public companies.

 

Because we qualify as a foreign private issuer under the Exchange Act, we are exempt from certain provisions of the securities rules and regulations in the U.S. that are applicable to U.S. domestic issuers, including: (i) the rules under the Exchange Act requiring the filing with the SEC of quarterly reports on Form 10-Q or current reports on Form 8-K; (ii) the sections of the Exchange Act regulating the solicitation of proxies, consents, or authorizations in respect of a security registered under the Exchange Act; (iii) the sections of the Exchange Act requiring insiders to file public reports of their stock ownership and trading activities and liability for insiders who profit from trades made in a short period of time; and (iv) the selective disclosure rules by issuers of material nonpublic information under Regulation FD.

 

We are required to file an annual report on Form 20-F within four months of the end of each fiscal year. In addition, we intend to publish our results on a quarterly basis as press releases, distributed pursuant to the rules and regulations of the New York Stock Exchange. Press releases relating to financial results and material events will also be furnished to the SEC on Form 6-K. However, the information we are required to file with or furnish to the SEC will be less extensive and less timely compared to that required to be filed with the SEC by U.S. domestic issuers. As a result, you may not be afforded the same protections or information that would be made available to you were you investing in a U.S. domestic issuer.

 

As a foreign private issuer, we are permitted to adopt certain practices of our home country, the Cayman Islands, in relation to corporate governance matters that differ significantly from the New York Stock Exchange corporate governance listing standards; these practices afford less protection to shareholders than they would enjoy if we complied fully with the New York Stock Exchange corporate governance listing standards.

 

Our ADSs are listed on the New York Stock Exchange. The New York Stock Exchange Listed Company Manual permits a foreign private issuer like us to follow the corporate governance practices of its home country. Certain corporate governance practices in the Cayman Islands, which is our home country, may differ significantly from the New York Stock Exchange corporate governance listing standards.

 

31



Table of Contents

 

For instance, we are not required to: (i) have a majority of the board be independent; (ii) have a compensation committee or a corporate governance and nominating committee consisting entirely of independent directors; or (iii) have regularly scheduled executive sessions with only independent directors each year. We intend to rely on some of these exemptions. As a result, you may not be provided with the benefits of certain corporate governance requirements of the New York Stock Exchange.

 

We may become a passive foreign investment company, or PFIC, which could result in adverse U.S. tax consequences to U.S. investors.

 

Based on the past and projected composition of our income and assets, and the valuation of our assets, including goodwill, we do not believe we were a PFIC for our most recent taxable year and we do not expect to become one in the future, although there can be no assurance in this regard. The determination of whether or not we are a PFIC is made on an annual basis and will depend on the composition of our income and assets from time to time. Specifically, for any taxable year, we will be classified as a PFIC for U.S. federal income tax purposes if either (i) 75% or more of our gross income in that taxable year is passive income or (ii) the average percentage of our assets (which includes cash) by value in that taxable year which produce, or are held for the production of, passive income is at least 50%. The calculation of the value of our assets will be based, in part, on the quarterly market value of our ADSs, which is subject to change. See “Item 10. Additional Information—E. Taxation—Material U.S. Federal Income Tax Considerations—Passive Foreign Investment Company.”

 

In addition, there is uncertainty as to the treatment of our corporate structure and ownership of our VIE for U.S. federal income tax purposes. For U.S. federal income tax purposes, we consider ourselves to own the stock of our VIE. If it is determined, contrary to our view, that we do not own the stock of our VIE for U.S. federal income tax purposes (for instance, because the relevant Chinese authorities do not respect these arrangements), we may be treated as a PFIC.

 

If we are a PFIC for any taxable year during which you hold our ADSs or Class A ordinary shares, our PFIC status could result in adverse U.S. federal income tax consequences to you if you are a U.S. Holder, as defined under “Item 10. Additional Information—E. Taxation—Material U.S. Federal Income Tax Considerations.” For example, if we are or become a PFIC, you may become subject to increased tax liabilities under U.S. federal income tax laws and regulations, and will become subject to burdensome reporting requirements. See “Item 10. Additional Information—E. Taxation—Material U.S. Federal Income Tax Considerations—Passive Foreign Investment Company.” There can be no assurance that we will not be a PFIC for 2017 or any future taxable year.

 

We will continue to incur increased costs as a result of being a public company.

 

As a U.S. public company, we incur significant legal, accounting and other expenses that we did not incur as a private company. The Sarbanes-Oxley Act of 2002, as well as rules subsequently implemented by the SEC and the New York Stock Exchange, impose various requirements on the corporate governance practices of public companies. These rules and regulations increase our legal and financial compliance costs and make some corporate activities more time-consuming and costly. We expect to continue to incur significant expenses and devote substantial management effort toward ensuring compliance with the requirements of Section 404 of the Sarbanes-Oxley Act of 2002 and the other rules and regulations of the SEC. For example, as a result of becoming a public company, we have increased the number of independent directors and adopted policies regarding internal controls and disclosure controls and procedures. We also expect that operating as a public company will continue to make it more difficult and more expensive for us to obtain director and officer liability insurance, and we may be required to accept reduced policy limits and coverage or incur substantially higher costs to obtain the same or similar coverage. In addition, we incur additional costs associated with our public company reporting requirements. It may also be more difficult for us to find qualified persons to serve on our board of directors or as executive officers.

 

In the past, shareholders of a public company often brought securities class action suits against the company following periods of instability in the market price of that company’s securities. If we were involved in a class action suit, it could divert a significant amount of our management’s attention and other resources from our business and operations, which could harm our results of operations and require us to incur significant expenses to defend the suit. Any such class action suit, whether or not successful, could harm our reputation and restrict our ability to raise capital in the future. In addition, if a claim is successfully made against us, we may be required to pay significant damages, which could have a material adverse effect on our financial condition and results of operations.

 

ITEM 4.                                                 INFORMATION ON THE COMPANY

 

A.                                                   History and Development of the Company

 

Our founder established Eight Hundred Logistics Technologies Corporation, or BEST BVI, a British Virgin Islands company, and its wholly owned subsidiary in Hong Kong, BEST Logistics Technologies Limited, or BEST HK, in May 2007. In March 2008, BEST Logistics Technologies Limited was established under the laws of Cayman Islands, which became our current ultimate holding company. In June 2017, the name of BEST Logistics Technologies Limited was changed to BEST Inc. In December 2017, we established BEST Capital Inc., a Cayman Islands company, and its wholly owned subsidiaries, namely BEST Capital Holding Limited, a British Virgin Islands company, and BEST Capital Management Limited, a Hong Kong company. In March 2018, Xinyuan Financial Leasing (Zhejiang) Co., Ltd., which operates our BEST Capital business, was transferred from BEST Logistics Technologies Limited to BEST Capital Management Limited. We conduct our businesses mainly through our wholly foreign owned enterprises and the VIE in China. See “—C. Organizational Structure — Contractual Arrangements with Our Affiliated Consolidated Entities.”

 

We have a track record of successful organic growth and strategic acquisitions, as evidenced by the following corporate milestones:

 

·                  In 2007, BEST was founded in Hangzhou;

 

32



Table of Contents

 

·                  In 2008, we launched BEST Supply Chain Management;

 

·                  In 2010, we launched BEST Express through acquisition of Huitong Express;

 

·                  In 2012, we launched BEST Freight through acquisition of Quanjitong;

 

·                  In 2013, we launched BEST Capital;

 

·                  In 2015, we launched BEST Global and BEST Store+; and

 

·                  In 2016, we launched BEST UCargo.

 

Each of these service lines serves to expand the scope and scale of our supply chain service network while harnessing our technology infrastructure and service network to provide integrated solutions.

 

On September 20, 2017, our ADSs began trading on the New York Stock Exchange under the ticker symbol “BSTI.” We closed our initial public offering on September 22, 2017 and the underwriters subsequently exercised their over-allotment option on October 24, 2017. We issued and sold a total of 49,750,000 ADSs in these transactions, representing 49,750,000 Class A ordinary shares in the form of ADSs, raising US$477.6 million in proceeds to us before expenses but after underwriting discounts and commissions. Certain selling shareholders sold a total of 2,000,000 ADSs in these transactions, representing 2,000,000 Class A ordinary shares in the form of ADSs, to the underwriters pursuant to their over-allotment option. We did not receive any of the proceeds from the sale of ADSs by the selling shareholders.

 

Our principal executive offices are located at 2nd Floor, Block A, Huaxing Modern Industry Park, No. 18 Tangmiao Road, Xihu District, Hangzhou, Zhejiang Province 310013, People’s Republic of China. Our telephone number at this address is +86-571-88995656. Our registered office in the Cayman Islands is located at the offices of Maples Corporate Services Limited, PO Box 309, Ugland House, Grand Cayman KY1-1104, Cayman Islands. Our agent for service of process in the United States is Law Debenture Corporate Services Inc., located at 801 2nd Avenue, Suite 403, New York, New York 10017.

 

B.                                                   Business Overview

 

We are a leading Smart Supply Chain service provider in China. Our multi-sided platform combines technology, integrated logistics and supply chain services, last-mile services and value-added services. BEST Cloud, our proprietary technology platform that seamlessly connects our systems with those of our ecosystem participants, is the backbone that powers our integrated services and solutions. Our logistics and supply chain services encompass B2B and B2C supply chain management, express and less-than-truckload delivery, cross-border supply chain management and a real-time bidding platform to source truckload capacity. Our last-mile services include online merchandise sourcing and store management for convenience stores as well as B2C services. In addition, we provide value-added services to support our ecosystem participants and help them grow.

 

We believe we are well positioned to transform the logistics and supply chain industry in China and capture growth opportunities in the New Retail era, which is the seamless integration of online and offline retail to offer a consumer-centric, omni-channel and global shopping experience through digitization and just-in-time delivery.

 

Our Technology Infrastructure

 

BEST Cloud is our proprietary technology platform. It enables our ecosystem participants to operate their businesses effectively through a diverse range of SaaS-based applications. We utilize big data analytics, machine learning, artificial intelligence, or AI, and mobile technologies to efficiently design, manage and operate complex supply chain services and solutions for our ecosystem. We apply our technologies to a diverse range of applications, such as network and route optimization, swap bodies, sorting line automation, smart warehouses and store management to enhance operational efficiency and service quality.

 

Our Integrated Logistics and Supply Chain Services and Solutions

 

BEST Supply Chain Management: We offer integrated services and solutions across the supply chain, including warehouse management, order fulfillment, express delivery, freight and other services. As of December 31, 2017, we served over 730 corporate customers, including multinationals and large Chinese corporates such as 3M, Li Ning, Hotwind and Cainiao Network, and numerous small and medium enterprises, or SMEs.

 

BEST Express: We have one of the most extensive express service networks covering 100% of China’s provinces and cities, and 98% of China’s districts and counties as of December 31, 2017.

 

BEST Freight: We achieved a 82% CAGR in freight volume between 2012 and 2017. Our nationwide freight network covers 100% of China’s provinces and 98% of China’s cities as of December 31, 2017.

 

BEST Global: We offer door-to-door integrated cross-border supply chain services to and from China, including international express, LTL, fulfillment, reverse logistics and freight forwarding through our own network and global transportation and warehouse partners. We operate warehouses in the U.S. and Germany and have coverage in Australia, France, Japan, Korea, Netherlands and the United Kingdom through partners.

 

33



Table of Contents

 

BEST UCargo: We have built a real-time bidding platform to source truckload capacity from independent transportation service providers and agents. As of December 31, 2017, over 3,000 transportation service providers and agents were registered on our BEST UCargo platform, providing access to over 180,000 trucks covering 30 provinces in China.

 

Our Last-mile Services

 

BEST Store+ was created in 2015 to address pain points in the traditional retail industry such as high channel costs and inefficient supply chain management. It offers online merchandise sourcing and store management services for convenience stores. It streamlines their supply chain by enabling merchandise procurement directly through us, rather than through multiple layers of distributors. We also started to leverage our BEST Store+ network to provide last-mile B2C services, such as parcel pick-up and drop-off and bill payment. As of December 31, 2017, we had 363,755 membership stores.

 

Our Value-Added Services

 

BEST Capital utilizes data insights and close relationships with our ecosystem participants to provide various value-added services, including customized financial services, such as fleet and equipment finance leases, to support their operations and growth, and centralized sourcing of products and services, such as bulk procurement of trucks and accessories, to help them obtain group discounts and reduce costs.

 

Our Asset-Light Business Model

 

We operate an asset-light business model. We lease premises for our network facilities and outsource all of our transportation needs to third-party service providers. In addition, we franchise almost all of our service stations in our express and freight network and the majority of our Cloud OFCs. Our franchisee partners are responsible for investing in their own operations and have strong local expertise and proximity to customers, which allows us to expand our network rapidly while optimizing our level of capital investment. As of December 31, 2017, we had approximately 8,800 franchisee partners who operate over 33,000 service stations in our express and freight network and 228 franchised Cloud OFCs.

 

We have established a flat franchise network that minimizes the number of tiers of franchisees in order to maintain flexibility and control. We self-operate all critical nodes in our network including 100% of hubs and sortation centers. This model ensures consistent service quality and mitigates risk of service disruption.

 

Our Ecosystem

 

Merchants, consumers, franchisee partners, transportation service providers and other suppliers are participants in our ecosystem, which is strategically designed to benefit from its inherent network effect. As our platform grows and our suite of solutions and services expands, our ecosystem will continue to attract new participants. The growing number of participants in our ecosystem enlarges our scale and extends our reach, which drives network density and improves its overall efficiency.

 

Our Technology Infrastructure

 

BEST Cloud, our proprietary technology platform, is the backbone that powers our integrated solutions. It seamlessly connects our systems with those of our ecosystem participants. We utilize big data analytics, machine learning, AI, and mobile technologies to efficiently design, manage and operate complex supply chain systems for our ecosystem. Our technology allows us to provide end-to-end support for our customers and enable our ecosystem participants to grow and prosper. We have also built a large and experienced technology team of over 500 professionals including software engineers and other technology specialists.

 

We believe BEST Cloud and our strong technology team are key advantages distinguishing us from our competitors.

 

Fundamental System Architecture

 

The system architecture of BEST Cloud differs from traditional information systems. While traditional information systems focus on monitoring, controlling and coordinating business processes individually, BEST Cloud focuses on connecting all endpoints in our ecosystem, including those of our own service lines, facilities, equipment and employees and those of our customers and business partners. We believe this offers the following advantages:

 

·                  We are able to weave together services from different networks to create new solutions for our customers.

 

·                  We are able to rapidly develop and launch new applications which can be deployed across the network.

 

·                  Our network users benefit from technology improvements instantly as they all have access to our centrally hosted systems.

 

34



Table of Contents

 

Single Interoperable System

 

BEST Cloud connects all of our ecosystem participants by establishing millions of interlinkages among endpoints in our network. These endpoints include human interfaces, such as web portals and mobile apps, our customers’ information systems and our own smart devices and logistics equipment.

 

We plan to continue to increase the scale of our endpoints through development of more software and application interfaces and expand the scope of our service offerings and attract more participants into our ecosystem. This will allow us to collect and analyze an increasing amount and variety of data to provide better, more innovative services.

 

Big Data Analytics

 

We view the data collected through BEST Cloud’s millions of endpoints as one of our most valuable assets. Through our big data analytics engines, optimization engines and machine learning tools, we analyze this data to identify correlations and derive insights. These data insights enable us to develop and improve our services and solutions, improve operating efficiency and reduce operating costs for us and our ecosystem participants.

 

We help merchants manage inventory, optimize their procurement and select merchandise with our big data analytics. We also apply big data analytics to optimize operations of our express and freight service networks, including analysis of delayed deliveries and targeted service improvements, load rate, and sort operations. Our big data analytics systems also aid in the calculation of labor costs in our hubs and sortation centers based on processing volumes, which has been important in controlling our costs. Our hubs and sortation centers use this information in planning their daily operations. We expect to utilize big data analytics in the development of new value-added services and to manage our financial and operating risks. We have also internally developed XingNG, a data bus that can support billions of data exchanges between system components on a daily basis.

 

These technologies allow us to process data more rapidly to support our operations in real-time and facilitate the growth of our technology infrastructure in line with the growth of our service lines.

 

Machine Learning and Artificial Intelligence

 

We have deployed AI and machine learning technology to produce valuable insights using the massive amount of data collected by BEST Cloud. The following examples illustrate the role AI and machine learning play in our business:

 

·                  Sorting operations.  Our internally developed, patented smart sorting technology is able to learn to recognize non-standard addresses and maps express parcels to appropriate service stations at an accuracy rate of over 99.9% and at a rate of two milliseconds per address. Traditionally, mapping of these non-standard addresses required manual processing and extensive local knowledge.

 

·                  Station monitoring.  Using machine learning technology, we are able to generate a station performance index for BEST Express and BEST Freight franchisee partners using operating data in our system. With this index we are able to identify at-risk service stations, address related issues and maintain the stability and service quality of our network.

 

·                  Inventory planning.  Based on predicted order volume and inventory operational cost, our AI technology calculates estimated replacement volumes of goods needed at our Cloud OFCs to increase operational efficiency.

 

·                  Shipment planning.  Based on the dimensions, weights, destinations and shipping times entered into our system, AI-powered planning technology can automatically assign vehicles and routes to reduce delivery costs.

 

·                  Performance tracking.  By applying machine learning technology to data from the thousands of routes in our network, we are able to evaluate driver performance and estimate vehicle arrival times to optimize transportation resource allocation.

 

Data and Service Integration

 

BEST Cloud weaves information collected through the millions of endpoints and from our application and technology layers with the capabilities available across our ecosystem to create smart solutions. For example, data collected from our Thunder () routing engine is used to optimize route planning for BEST Express and BEST Freight which allows them to provide on-time delivery while reducing costs. When transportation service providers operating on our BEST Express network complete their deliveries, they are able to use the BEST UCargo mobile application to bid on truckload jobs, which may be sourced from our BEST Freight franchisee partners, for the return route.

 

Red Sun (), Big Dipper () and Thunder () are our proprietary big data analytics applications that respectively power our automated sorting, provide service station mapping and optimize routes on our service network. We have also developed a number of mobile applications for use by various ecosystem participants. For instance, Rulai Shenzhang () is an application used by BEST Express delivery workers for route navigation, parcel tracking and payment management. The Zhanggui () application is used by BEST Freight service station management to provide instant dispatch monitoring, account settlement, reporting and customer relationship management.

 

35



Table of Contents

 

Asset-Light Business Model

 

We are an asset-light company. We lease facilities used in our operations and outsource all of our transportation needs to third-party service providers. We have established a flat franchise network that minimizes the number of tiers of franchisees in order to maintain flexibility and control. For BEST Supply Chain Management, we operate large scale Cloud OFCs in tier 1 and tier 2 cities and franchise the rest. For BEST Express and BEST Freight, we directly operate all of the hubs and sortation centers at provincial, city and district levels, as well as certain strategic service stations at street levels and franchise the majority of service stations. As of December 31, 2017, our franchisee partners operated 70% of our Cloud OFCs, more than 99% of our service stations for BEST Express, and all of our service stations for BEST Freight.

 

Our asset-light business model allows us to optimize levels of self-operated and franchised operations to ensure the right balance of scalability and control, and helps us expand our network in a cost-effective manner. By directly operating the critical parts of the network and providing key services, we are able to achieve standardization, ensure technology integration and data visibility. Direct operation of the hubs and sortation centers also gives us the flexibility to dynamically reconfigure and optimize our network, including consolidating sortation centers and route optimization to improve operating efficiency and reduce costs. For instance, when volume generated by a service station reaches critical mass, we may route its feeder service directly to hubs and bypass sortation centers with which it was previously connected. We spent approximately RMB650 million from 2010 to 2016 to buy back the operational rights of 247 former franchisee partners in 191 cities in order to retain direct operational control. Our franchisee partners are responsible for investing in their own operations, thus allowing us to optimize the level of our capital investment. We train and provide our franchisee partners with best business practices. Through BEST Cloud, we connect their systems to ours for performance monitoring and data transparency. As a result, we can achieve scalability and growth while capitalizing on the franchisee partners’ strong local expertise and proximity to customers. Our flat franchise network minimizes the number of tiers of franchisees, which ensures consistent service quality and mitigates risk of service disruption.

 

Relationship with Our Franchisee Partners

 

As of December 31, 2017, we had approximately 8,800 franchisee partners. We believe our relationships with franchisee partners are mutually beneficial. Our technology infrastructure and supply chain service network empower our franchisee partners to increase operating efficiency and improve their service quality. Our franchisee partners are also our marketing champions for customer acquisition, which significantly reduces the need for a large centralized sales force. The success of our franchisee partners in turn contributes to the success of our network, allowing us to provide a broader range of services, and attracts more participants to our ecosystem.

 

We carefully evaluate potential franchisee partners before they are allowed to join our network. Once approved, we enter into agreements to govern our relationships with franchisee partners. Pursuant to these agreements:

 

·                  We grant franchisee partners the right to provide service under our brand name in a specific geographic region during the term of the agreements. We support franchisee partners with technology infrastructure, facilitating their integration into our broader ecosystem. Franchisee partners are not allowed to provide similar services under their own names or the brand names of other parties and are not allowed to assign their rights under the agreement to any third party without our consent.

 

·                  Franchisee partners are required to provide services that meet our quality standards as stipulated in our comprehensive operating manual which covers every aspect of their operations. We also regularly provide training to the franchisee partners’ employees. We have the right to inspect their service quality, demand correction, impose fines on them, or unilaterally terminate the contract if their service quality cannot satisfy our standards within a remedial period.

 

·                  Our franchisee partners are required to pay a one-off fee as well as a performance deposit. The performance deposit may be forfeited if they breach the agreement such as when their service quality does not meet our standards. We also provide them with guidelines on the various fees they will pay us for use of our network.

 

As of December 31, 2017, we had a team of 463 local managers based across China, directly interacting with our franchisee partners on a daily basis to ensure that our quality standards are followed and to help our franchisee partners solve problems and improve and expand their services.

 

Our Service Offerings

 

Through our leading proprietary technology infrastructure and extensive supply chain service network, we offer comprehensive services and solutions that include the following major categories:

 

Service Line

 

Description

·                  BEST Supply Chain Management

 

Integrated, customizable supply chain management services

·                  BEST Express

 

Express delivery of parcels under 15 kg

·                  BEST Freight

 

Door-to-door, LTL and FTL freight services

·                  BEST Store+

 

Online merchandise sourcing and store management services for convenience stores and last-mile B2C services

 

36



Table of Contents

 

Service Line

 

Description

·                  BEST Global

 

Door-to-door, integrated cross-border supply chain services

·                  BEST Capital

 

Financial services to support our ecosystem participants

·                  BEST UCargo

 

Real-time bidding platform for truckload capacity sourcing

·                  BEST Cloud

 

Proprietary technology powering our services and solutions

 

BEST Supply Chain Management

 

The table below sets forth information regarding the scale of our supply chain management services in China as of and for the periods indicated:

 

 

 

As of and for the year ended
December 31,

 

 

 

2014

 

2015

 

2016

 

2017

 

Number of Cloud OFCs:

 

 

 

 

 

 

 

 

 

Self-Operated

 

47

 

52

 

93

 

99

 

Franchised

 

18

 

54

 

140

 

228

 

Total

 

65

 

106

 

233

 

327

 

GFA of Cloud OFCs (‘000 sq m)

 

487

 

921

 

1,721

 

2,384

 

Number of total orders fulfilled (‘000)(1)

 

20,284

 

53,823

 

120,665

 

180,477

 

Number of orders fulfilled during Singles’ Day promotion period (‘000)(1)

 

3,315

 

6,466

 

11,425

 

14,420

 

 


(1)             Includes orders fulfilled by franchised Cloud OFCs.

 

BEST Supply Chain Management services

 

BEST Supply Chain Management provides one-stop, customizable supply chain management services to both online and offline businesses. Leveraging our strong technology infrastructure and extensive supply chain service network, we provide comprehensive integrated solutions including warehouse management, in-warehouse processing, order fulfillment, express delivery, freight and value-added services.

 

BEST Supply Chain Management services include the following categories:

 

·                  Cloud OFCs.  We offer warehouse management, in-warehouse processing and order fulfillment services to our customers to optimize their inventory management and delivery process. We also provide and arrange transportation services and coordinate shipments from merchants to our Cloud OFCs and from our Cloud OFCs to customers or consumers or other locations designated by our customers as part of our order fulfillment services.

 

We created the concept of “cloud-based order fulfillment centers,” or Cloud OFCs, which differ from traditional warehouses in that they can support direct order fulfillment and dispatch operations in addition to storage functions. They are “cloud-based” because we take full responsibility for the optimal allocation of our customers’ inventory into different Cloud OFCs and save our customers from the hassle of day-to-day operations, and therefore, from our customers’ point of view, these Cloud OFCs are “in the cloud.” We use big data analytics and advanced algorithms to set optimal inventory levels across our Cloud OFCs based on expected demands for our customers’ products to lower overall supply chain costs and improve service quality.

 

We directly operate some Cloud OFCs, and have allowed our franchisee partners to operate other Cloud OFCs for a volume-based service system usage fee. All the Cloud OFCs use our technology infrastructure and are connected to the various information systems across our platform. Therefore, we can allocate inventory of our customers effectively in our Cloud OFCs, leverage our franchisee partners’ Cloud OFCs and coordinate our various services including subsequent transportation and delivery. Our franchised Cloud OFCs also provide significant cross-selling opportunities for our other services. We constantly monitor the service quality of our franchised Cloud OFCs to ensure the standardization of services across all the Cloud OFCs.

 

·                  Transportation Services.  We provide and arrange transportation services and coordinate shipments to and from locations designated by our customers, such as their factories, warehouses, distributors, customers or consumers and our Cloud OFCs. Transportation from our Cloud OFCs is considered part of our order fulfillment services.

 

We offer end-to-end transportation services from factories to consumers that may include FTL, LTL, regional distribution, intra-city distribution, express delivery, freight forwarding and other transportation-related value-added services. We arrange and optimize transportation services for our customers by evaluating options available from not just BEST Express and BEST Freight but also from a variety of transportation service providers in the market to ensure the best quality and lowest cost. We believe this approach is important to attracting and retaining customers.

 

37



Table of Contents

 

·                  Value-Added Services.  We also offer a full suite of SaaS-based solutions such as OMS and ERP to allow our customers to improve their supply chain operations.

 

BEST Supply Chain Management’s technology system is integrated into our customers’ ERP systems to facilitate the management and satisfaction of their warehousing and transportation needs. In addition, we provide a client portal to allow customers to monitor these operations at any time, and track the status of individual orders throughout the delivery process.

 

We are also able to fully integrate online and offline channels to track, manage and deliver goods across our Cloud OFCs and our customers’ retail stores. This allows consumers to place orders online or offline, have goods delivered to their homes from any store or Cloud OFC, and pick up and return goods at any store. We believe our ability to provide integrated supply chain management services across all sales channels has positioned us well in the New Retail era.

 

BEST Supply Chain Management Service Pricing

 

We serve customers of varying sizes and are able to tailor our services to accommodate their business needs.

 

·                  We are able to serve the entire supply chain of our customers, most of which are well-known brands, as a one-stop supply chain solutions provider. We normally enter into annual service contracts with these customers. Our contracts specify the details of our services based on our customers’ expected sales volume and, when services are provided at our Cloud OFCs rather than on our customers’ premises, the floor area of the Cloud OFCs to be used. Our contracts also typically specify the unit price for each service we provide and hence, the amount of revenue we generate depends on the unit price and volume of orders fulfilled by us.

 

·                  For franchised Cloud OFCs, we charge a service system usage fee for each order processed through our network for their usage of our technology infrastructure plus other fees such as for training. When franchised Cloud OFCs use our freight and express services, we charge them our normal rates for such services, and such revenue is recognized by BEST Freight and BEST Express.

 

·                  For small and medium customers, most of whom are online sellers, we offer a full range of standardized services, and we charge different prices for different services.

 

BEST Express

 

Our total parcel volume was 154.7 million pieces, 322.3 million pieces, 735.5 million pieces, 1,402.1 million pieces, 2,165.5 million pieces in 2012, 2013, 2014, 2015 and 2016, respectively, representing a CAGR of 93.4%. Our total parcel volume further increased by 74.1% to 3,769.4 million pieces in 2017. We have one of the most extensive express service networks, covering 100% of China’s provinces and cities and 98% of China’s districts and counties as of December 31, 2017. Our market share in China’s express delivery market, as measured by parcel volume, also increased steadily from 2.7% in 2012 to 6.9% in 2016 and further to 9.4% in 2017. Our peak daily parcel volume, which has historically occurred during the Singles’ Day promotion, increased from 1.2 million in 2012 to 37.6 million in 2017.

 

BEST Express services

 

Through our network and together with our franchisee partners, we provide express delivery of parcels typically weighing less than 15 kg with expected delivery time generally ranging from 24 to 72 hours.

 

In addition, we offer customized delivery services such as COD facilitation, declared value insurance coverage, proof of delivery and rush delivery. The principal types of parcels transported by us include items ordered on e-commerce platforms, such as Taobao Marketplace and Tmall, and shipments by other merchants and consumers. We also provide packaging services specially designed for micro-merchants. BEST Express also provides express services that support BEST Supply Chain Management’s fulfillment operations.

 

Express delivery service process

 

Senders either drop off parcels at our service stations or request pick up service. A waybill carrying a unique tracking number and corresponding barcode is assigned to each parcel, allowing us to track its status throughout the entire delivery process. The pick-up service station may perform preliminary sorting of the parcels before sending them to our sortation centers and/or hubs covering its region. Service stations typically make deliveries to sortation centers on a daily basis. Upon receipt of parcels sent from service stations, the sortation center and/or hub further sorts, packs and dispatches the parcels to the destination sortation center and/or hub. The destination sortation center and/or hub unloads and sorts the parcels, which are then delivered to the recipients by our service stations performing the last-mile delivery. Once the recipient signs on the waybill to confirm receipt, a full cycle is completed.

 

Express delivery service pricing

 

When sending a package, senders make payment to the relevant pick-up service station. We set pricing guidelines, but our franchisee partners have flexibility on pricing to effectively respond to local competitive dynamics based on business volume and long-term prospects of each sender. We believe this model leverages our franchisee partners’ entrepreneurship and their insights into the local market.

 

38



Table of Contents

 

Fee structure

 

Our express delivery service revenue from franchisee partners is mainly generated from an integrated fee that is comprised of (i) a fixed-amount waybill fee for each parcel processed through our network, and (ii) a delivery service fee based on parcel weight, route and the scope of our services and responsibilities.

 

Prior to 2017, we were not responsible for last-mile delivery of parcels unless we directly operated the destination service stations and, therefore, pick-up service stations were directly liable to destination service stations for their delivery service charges. In the event of loss or damage, the pick-up service station was responsible for working with the delivery service station to resolve the issue. Starting in 2017, in order to enhance the parcel delivery experience and our control over service quality throughout our network, we revised our arrangements with franchisee partners and the scope of our service. As a result, we became the principal that is directly responsible for last-mile delivery of all parcels processed through our network, and we are liable to senders for damage to or loss of parcels in connection with last-mile delivery. In consideration of such expanded service scope and increased responsibilities, we increased the fee that we charge to pick-up franchised service stations. We provide the last-mile delivery service through either destination franchised service stations under our supervision or self-operated service stations and are responsible for paying service fees to the destination franchised service stations for the provision of last-mile delivery services.

 

We determine and periodically evaluate and adjust our fee levels based on prevailing market conditions, our operating costs and service quality.

 

Express delivery service capacity

 

The maximum capacity of our express delivery service has been continuously increasing as we expand our network, increase line-haul connections within our network and utilize technology to optimize our operations and increase efficiency. Our network has been designed to ensure performance under extreme volumes and periodic fluctuations. During the Singles’ Day promotion period in 2015, 2016 and 2017, our network processed 16.0 million, 23.3 million and 37.6 million parcels, respectively.

 

BEST Freight

 

Our total freight volume was 215.4 thousand tonnes, 375.1 thousand tonnes, 677.7 thousand tonnes, 1,506.8 thousand tonnes, and 2,982.1 thousand tonnes in 2012, 2013, 2014, 2015 and 2016, respectively, representing a CAGR 82%, and increased by 44.7% to 4,316.0 thousand tonnes in 2017. Our nationwide freight network covers 98% of China’s cities as of December 31, 2017.

 

BEST Freight services

 

BEST Freight’s core business involves LTL transportation. Through BEST Freight’s comprehensive network across China spanning pick-up, distribution, transportation and delivery, we transport parcels and other goods generally weighing 15 kg or more.

 

BEST Freight provides door-to-door freight services for B2B and B2C shippers. Historically, the majority of items transported by BEST Freight were shipped by B2B sellers to other businesses. As online sales of large consumer products, such as home appliances and furniture, have significantly increased in recent years, shipments of these large consumer products directly to consumers from online and offline B2C sellers comprise a greater proportion of the items we ship. In addition, BEST Freight provides value-added services including pre-shipment inspection, cargo insurance, oversized item delivery, COD facilitation, evidence of delivery, and upstairs delivery services. BEST Freight also provides freight services that support BEST Supply Chain Management’s fulfillment operations.

 

BEST Freight started to offer FTL transportation services in 2017 by leveraging our BEST UCargo platform to better serve the needs of brands and large online and offline retailers.

 

Freight service process

 

The service process of BEST Freight is very similar to that of BEST Express. While the goods shipped through BEST Freight are larger and heavier and thereby require different equipment, facilities and vehicles to sort and deliver, the major steps in the transportation process are essentially the same. In addition, as we do not directly operate endpoint service stations for freight services, operations before the goods are sent to our sortation centers and/or hubs and after the goods have left the destination sortation centers and/or hubs are normally provided by our franchisee partners. However, BEST Freight also has certain direct merchant customers for which we directly provide door-to-door services that include first-mile pick-up and last-mile delivery.

 

Freight service pricing

 

All of our endpoint service stations for freight services are operated by franchisee partners and we derive the vast majority of our freight service revenue from franchisee partners that operate our service stations. The components of our freight service revenue are similar to that of our express service revenue. As with our express service revenue, starting in 2017, in order to enhance the freight delivery experience and our control over service quality throughout our network, we revised our arrangements with franchisee partners and the scope of our service. As a result, we became the principal that is directly responsible for last-mile delivery of all goods sent through our network, and we are liable to senders for damage to or loss of goods in connection with last-mile delivery. In consideration of such expanded service scope and increased responsibilities, we increased the fee that we charge to pick-up franchised service stations. We provide the last-mile delivery service mainly through destination franchised service stations under our supervision and are responsible for paying service fees to them for the provision of last-mile delivery services.

 

39



Table of Contents

 

We determine and periodically evaluate and adjust our fee levels based on prevailing market conditions, our operating costs and service quality.

 

BEST Store+

 

BEST Store+ was created in 2015 to address pain points in the traditional retail industry such as high channel costs and inefficient supply chain management. As of December 31, 2017, we had 363,755 membership stores across China and help them tackle the challenges they face by leveraging the strengths of our technology infrastructure and ecosystem. We offer merchandise sourcing and supply chain services through our B2B platform Dianjia.com, which allows convenience stores to procure their merchandise through us, rather than through multiple layers of distributors and wholesalers. Leveraging our brand and capabilities in self-operated stores, we authorize certain membership stores to use our brand name, and empower the stores with our data and technological advantages and customer service integration. We also leverage our BEST Store+ network to provide last-mile B2C services, such as parcel pick-up and drop-off and bill payment, to consumers.

 

Convenience store network

 

Convenience stores in our network fall into two categories: membership stores and self-operated stores. Membership stores are owned and operated by third parties. We have experienced rapid growth in our membership stores, from 65,573 as of June 30, 2016 to 363,755 as of December 31, 2017. We authorize certain membership stores to use our brand name. In May 2017, we acquired WOWO, which had 271 convenience stores as of December 31, 2017. We acquired these stores in order to further accumulate first-hand experience and know-how in convenience store operations and explore new services and products to integrate traditional convenience stores into our store service network. We plan to franchise out most of these self-operated stores and expect self-operated stores to comprise a very small portion of our convenience store network in the future.

 

Dianjia.com services

 

Our B2B platform Dianjia.com sources merchandise from brands and top-layer distributors to directly supply convenience stores, thereby eliminating the multiple layers of the traditional distribution network. It helps convenience stores procure inventory at more competitive prices, allowing them to reduce procurement costs, improve services and enhance sales. Dianjia.com also helps convenience store operators predict demand, optimize inventory levels and product mix and reduce their working capital needs by using big data analytics.

 

BEST Store+ service pricing

 

We primarily generate revenue for BEST Store+ from sales of merchandise to membership stores through Dianjia.com. We acquired WOWO in May 2017, and since then, we have also generated revenue from sales of merchandise by our self-operated stores to consumers. As most of products sold are standard consumer products, they are generally priced taking into account prevailing market rates and geographical locations of the stores.

 

BEST Global

 

In order to meet the strong demand for cross-border e-commerce transactions, we provide inbound and outbound door-to-door integrated cross-border supply chain services, including international express, LTL, fulfillment, reverse logistics and freight forwarding through our own network and global transportation and warehouse partners. We provide direct mail and bonded warehouses, customs clearance and fulfillment to overseas merchants offering goods into China. We also provide full supply chain services, including local fulfilment, as well as other market advisory services to Chinese merchants selling into overseas markets.

 

We operate Cloud OFCs in the U.S. and Germany occupying approximately 412,000 square feet of space. We also offer coverage through our partners in Australia, France, Japan, Korea, Netherlands and the United Kingdom. We also manage five bonded Cloud OFCs in China, including one of the largest cross-border bonded warehouses that fulfills orders generated on Tmall Global. In addition, our Urumqi Frontier Cloud OFC facilitates shipments to destinations in Central Asia, Russia and other destinations using land transport links across Eurasia. We contract with third-party transportation service providers for transportation services, including transportation within China, international air and sea freight providers, and local fulfilment companies. In China, we may also provide transportation services through our other service lines, such as BEST Express and BEST Freight. Pricing of services is primarily determined by prevailing market rates.

 

BEST Capital

 

Through BEST Capital we provide certain financial services and support to participants in our ecosystem to help them grow their businesses, and improve the overall efficiency of our network.

 

We offer finance leases to help our franchisee partners and transportation service providers acquire trucks and other logistics equipment to grow their businesses and provide better services. As of December 31, 2017, we provided finance leases for the purchase of over 4,200 trucks through BEST Capital. We normally require installation of vehicle monitoring devices and truck management systems on these trucks to help us monitor and manage the fleets. BEST Capital also provides support to certain franchisee partners and transportation service providers to satisfy their short-term capital needs from time to time. We are able to take as collateral certain operating assets which we are able to monitor and repossess for rapid utilization and/or monetization in the event of a default. In addition, as most of the parties to which we provide financial services are our ecosystem participants, we have substantial knowledge about their business and operations and can monitor their financial position and their usage of collateralized assets.

 

40



Table of Contents

 

BEST Capital also offers centralized sourcing of products and services used by our franchisee partners and transportation service providers such as bulk procurement of trucks and accessories to obtain group discounts and reduce costs.

 

BEST UCargo

 

BEST UCargo is a real-time bidding platform, powered by BEST Cloud, to source truckload capacity from independent transportation service providers and agents. As of December 31, 2017, over 3,000 transportation service providers and agents with access to over 180,000 trucks covering 30 provinces in China were registered on the BEST UCargo platform. When we or our ecosystem participants have temporary or long-term truckload transportation needs, we post these jobs on the BEST UCargo platform. Registered transportation service providers that have corresponding transportation capacity will bid on the job. Jobs are assigned based on bid price and service quality.

 

Starting in 2016, when we source truckload capacity for our ecosystem participants, they pay us directly while we are responsible for payment to the transportation service providers and agents. We believe our ability to leverage our technology infrastructure, transportation services and handle payment flows increases the credibility of BEST UCargo as compared to other online platforms. The large amount of demand for transportation services from us and our ecosystem participants also distinguishes BEST UCargo from other online platforms and helps attract a large number of transportation service providers and agents.

 

To leverage the increasing scale of our BEST UCargo platform, we intend to offer truck pooling and additional value-added services to transportation service providers and agents, such as bulk procurement of vehicle insurance, gasoline and electronic toll collection credits.

 

BEST Cloud

 

Our proprietary BEST Cloud service platform powers the technology solutions and applications for our ecosystem. Our franchisee partners use BEST Cloud to run their operations, including to manage franchised Cloud OFCs, BEST Express and BEST Freight operations. Convenience store operators use our B2B platform Dianjia.com for store management and merchandise sourcing. As of December 31, 2017, BEST Cloud had over 428,000 users of its SaaS, OMS and ERP solutions and over 16.3 million subscribers on public accounts on popular online platforms. Our best-in-class technology and big data analytics capabilities drive operational excellence and enhance value creation across our ecosystem.

 

BEST Cloud offers integrated web and mobile portals, which we refer to as our network endpoints, for merchants, consumers, franchisee partners and employees, providing access to a wide range of applications and services, such as SMS, OMS, TMS, WMS, billing and payment settlement, CRM and customer data tracking and analytics. We refer to these applications and services as the application layer. Applications may be integrated with the data and systems of our customers, such as their ERP, messaging, payment gateway and business intelligence. The application layer is supported by the technology layer, which consists of a robust set of tools such as AI, big data analytics, geographic information system, address mapping, performance monitoring, mobile apps and others. In the data integration layer, we weave information collected through millions of endpoints and from the application and technology layers with the capabilities available across our ecosystem to create smart solutions.

 

Our Supply Chain Service Network

 

We have established a nationwide, integrated supply chain service network. The seamless integration of this network with our technology infrastructure has laid the foundation for our service offerings and our rich and growing ecosystem. We are asset-light as we lease facilities used in our operations and outsource all of our transportation needs to third-party service providers.

 

Network Facilities

 

Our network facilities include Cloud OFCs, hubs and sortation centers, service stations and convenience stores.

 

Order Fulfillment Centers (Cloud OFCs)

 

Cloud OFCs are warehouses with direct order fulfillment functions, which allow us to manage inventory for our customers and dispatch products from the Cloud OFCs directly to their customers whether consumers or businesses. As of December 31, 2017, we had 327 Cloud OFCs with an aggregate gross floor area of 2.4 million square meters. Among these Cloud OFCs, 99 were directly operated by us and 228 were operated by our franchisee partners.

 

Hubs and Sortation Centers

 

All of our hubs and sortation centers can collect, sort and dispatch parcels or goods to hubs and sortation centers in other regions and cities.

 

41



Table of Contents

 

Our hubs are generally large logistics facilities located in major cities in China. Each of our hubs is connected to most of our other hubs by line-haul transportation and therefore can dispatch parcels and goods directly to most other regions in China.

 

Our sortation centers are generally smaller-scale logistics facilities compared to hubs and each of them is primarily connected to nearby hubs and/or other sortation centers by feeder services. They can dispatch parcels and goods to other regions through nearby hub or directly to nearby cities and regions. When a sortation center reaches critical mass, we will connect it directly to hubs and sortation centers in other regions by line-haul transportation.

 

As of December 31, 2017, BEST Express had 145 hubs and sortation centers, and BEST Freight had 132 hubs and sortation centers. We directly operate all of these hubs and sortation centers as they are critical to ensure the service quality of our network. Over 50% of BEST Freight hubs and sortation centers are adjacent to BEST Express hubs and sortation centers, allowing them to share resources between the two facilities, thus increasing operating efficiency and reducing costs.

 

We continue to optimize our hubs and sortation centers as our volume grows.

 

Service Stations

 

Service stations are responsible for developing relationships with senders within its coverage area and picking up parcels and other goods from senders for delivery through our network. They also handle last-mile delivery of parcels and other goods sent through our network to recipients located within their coverage areas.

 

As of December 31, 2017, we had over 33,000 service stations, of which over 24,000 were BEST Express service stations and over 9,000 were BEST Freight service stations. BEST Express service stations cover 100% of China’s provinces and cities, and 98% of China’s districts and counties. BEST Freight service stations cover 100% of China’s provinces, 98% of China’s cities and 91% of China’s districts and counties. As of December 31, 2017, our franchisee partners operated more than 99% of our BEST Express service stations, and all of our service stations for BEST Freight.

 

Convenience Stores

 

As of December 31, 2017, we had 363,755 membership stores in 51 cities in China. In May 2017, we acquired WOWO, which had 271 convenience stores as of December 31, 2017.

 

We view the stores in our network as a strategic expansion of our supply chain service network. We believe convenience stores on our BEST Store+ network will help us significantly increase first-mile and last-mile coverage with minimal investment and operational costs, providing us with a unique advantage in serving the full scope of our ecosystem participants in the New Retail era.

 

Transportation Fleet

 

Line-Haul and Feeder Services

 

We generally use line-haul services for long-distance, cross-region transportation and feeder services for shorter-distance, inter-region transportation.

 

We are responsible for arranging all of the line-haul transportation in our network. As of December 31, 2017, our network had over 2,800 BEST Express line-haul routes and over 2,400 BEST Freight line-haul routes.

 

We are also responsible for arranging feeder services between our hubs and sortation centers as well as between our different sortation centers. We also arrange feeder services between our self-operated Cloud OFCs and our hubs or sortation centers. In addition, we also arrange feeder services between our directly-served customers and our self-operated Cloud OFCs, hubs and sortation centers.

 

Our franchisee partners are responsible for arranging feeder services from their service stations to our sortation centers or hubs. They also arrange transportation for their directly-served customers and franchised Cloud OFCs. As we continue to improve our fleet management capabilities, and in order to improve the utilization of our fleet and reduce operation cost, we expect to start arranging transportation services for some of our franchisee partners in the near future.

 

Fleet Management

 

We have historically relied on trucks and other vehicles owned and operated by independent transportation service providers.

 

We have taken various measures to enhance our control over the trucks used in our network and increase their utilization to reduce transportation costs across our network. For example,

 

·                  While we continue to rely on independent transportation service providers to provide trucks and drivers, we started to provide financing to them through BEST Capital for truck purchases, install data collection equipment and truck management system on these trucks, and hire these trucks together with their drivers for our exclusive use and management on a time charter basis.

 

42



Table of Contents

 

·                  We started to use swap bodies, which are standard freight containers that can be conveniently mounted on tractors for road transportation. This allows us to increase the utilization rate of tractors and their drivers by reducing the waiting time during loading and unloading. This also allows us to better match swap bodies to freight volume and thereby minimize empty containers and save on fuel cost. We are also utilizing our technology infrastructure to optimize route planning and tractor-to-swap body ratio to further reduce our transportation costs.

 

·                  In 2016, we also launched our real-time bidding platform, BEST UCargo, to source truckload capacity from independent transportation service providers and agents at more competitive costs.

 

Operating Efficiency and Capacity

 

We have continuously expanded the capacity and improved the operating efficiency of our Cloud OFCs, hubs, sortation centers and service stations through optimization of our operating processes as well as the increased adoption of automation and AI.

 

As of December 31, 2017, four of our Cloud OFCs used 134 AGVs, which have increased the order fulfillment capacity of these Cloud OFCs while increasing efficiency and accuracy and reducing labor costs. We are also able to support extreme volumes across our network, as illustrated by the fulfillment of over 14.4 million orders during the Singles’ Day promotion period in 2017.

 

As of December 31, 2017, we had 47 automated sorting lines in our hubs and sortation centers, which handled average daily volumes of 2.4 million parcels in June 2017 and achieved daily peak volumes of 4.5 million parcels during the Singles’ Day promotion period in 2017. These automated sorting lines are able to achieve sorting accuracy of over 99.5% and each of them is able to sort over 12,000 items per hour, which is significantly higher than manual sorting.

 

We utilize big data analytics, AI and machine learning to optimize our network operations, route planning and line-haul routes to reduce costs. We also capitalize on synergies from our different services.

 

Our Ecosystem Participants

 

We have built a rich and growing ecosystem with various types of participants. Many of our ecosystem participants not only receive but also provide services to us and therefore are both our customers and suppliers. Our ecosystem participants also provide services to other ecosystem participants. Our technology infrastructure and supply chain service network enable us and our ecosystem participants to provide better services and improve operating efficiency, which ultimately benefit all participants in our ecosystem.

 

Merchants

 

Merchants in our ecosystem include (i) brands, (ii) distributors, (iii) large online and offline retailers, (iv) other sellers on various e-commerce platforms, or online sellers, most of which are SMEs and individuals, and (v) membership stores.

 

We provide BEST Supply Chain Management services to brands, large online and offline retailers and an increasing number of online sellers. We also offer BEST Cloud services and cross-sell BEST Express, BEST Freight and BEST Global services to them as part of our integrated solution. In such transactions, these merchants are our customers.

 

We also source merchandise from brands and top-tier distributors and sell them to membership stores through our B2B platform Dianjia.com. In addition, we provide door-to-door delivery and value-added services to the stores. In these transactions, brands and top-tier distributors are our suppliers and membership stores are our customers.

 

Merchants are our direct customers when they use BEST Express, BEST Freight and Cloud OFC services directly through us. Merchants are customers of our franchisee partners when they use BEST Express, BEST Freight and Cloud OFC services through our franchisee partners.

 

As we continue to expand service offerings, we expect more merchants to become customers and suppliers of our services in the future. For example, as we plan to provide financial services to membership stores, we expect they will become customers of BEST Capital, and as we utilize these stores to extend our last-mile service network, we expect they will become important suppliers for BEST Express and BEST Freight as well.

 

Our largest merchant customers include brands such as 3M, Li Ning, Hotwind and Cainiao Network and large online and offline retailers, but no single customer contributed more than 5% of our total revenue in 2015, 2016 or 2017. In addition, many of our merchant customers conduct their businesses on major e-commerce platforms in China. Our volume of express deliveries generated from merchants on major Alibaba platforms such as Taobao Marketplace and Tmall accounted for approximately 64% of our express deliveries in 2017.

 

Consumers

 

When individual consumers use BEST Express at our self-operated service stations, make a purchase at our self-operated convenience stores, or order goods from overseas through our platform, they are our direct customers. For most of our other services and solutions, we serve consumers indirectly through merchants and our franchisee partners.

 

43



Table of Contents

 

Franchisee partners

 

Franchisee partners for our BEST Express, BEST Freight and Cloud OFCs are our customers. In addition, we have started to provide other services, such as an FTL freight real-time bidding platform under BEST UCargo and financial services under BEST Capital. We may also provide additional services, such as feeder services connecting franchised service stations and our hubs and sortation centers, to our franchisee partners in the future.

 

Prior to 2017, we were not responsible for last-mile delivery of parcels or freight items unless we directly operated the destination service stations, and therefore franchisee partners were directly liable to franchised service stations for their delivery service charges. Starting in 2017, all of our franchisee partners for BEST Express and BEST Freight also provide last-mile delivery services to us and therefore are our suppliers.

 

Other ecosystem participants

 

Other participants in our ecosystem include transportation service providers and other suppliers.

 

Transportation service providers have traditionally been our suppliers as we use them for line-haul transportation and feeder services that connect our network. They are also suppliers of our FTL freight real-time bidding platform under BEST UCargo as we use them to provide transportation services for franchisee partners and our other service lines. As we expand our BEST Capital service, they have increasingly become customers of our various financial services.

 

Given the variety of participants and transactions in our ecosystem, we rely on many other suppliers to provide products and services to us and our ecosystem participants. These include other capacity carriers such as airlines and shipping companies that provide cross-border transportation services, truck and logistics equipment manufacturers from which transportation service providers and our franchisee partners procure trucks and other equipment using our financial services, landlords from which we and our franchisee partners lease premises for our network facilities, insurance providers from which we procure insurance products for various ecosystem participants, and financial institutions from which we may obtain financing.

 

As we continue to grow our ecosystem and expand our service offerings, we expect to attract an increasing number and variety of participants into our ecosystem.

 

Marketing and Sales

 

We have established our brand awareness through continuous innovation and high service quality. While we have mainly relied on word-of-mouth referrals, we also utilize various advertising channels to increase our brand awareness among potential customers.

 

Marketing and sales of our supply chain solutions and transportation services is led by a team of 1,141 personnel as of December 31, 2017. Our senior management is also significantly involved in building relationships with customers, especially current and potential major partners. In addition, from time to time, we initiate promotions to expand our customer base and build familiarity with our brand. As we have multiple service lines, there are many opportunities for cross-selling across our platform as we seek to introduce customers to our other service offerings in addition to the service line with which they engage initially. We also believe our strong reputation is a factor in retaining and attracting customers.

 

In addition to our centralized marketing efforts, we empower our franchisee partners to promote BEST services. Successful initiatives will increase demand for services in their franchised areas across our entire network. Our marketing team assists franchisee partners in the identification of new marketing leads and coordination of new initiatives.

 

Customer Service

 

The quality of our service directly affects our customer loyalty and brand image. We directly operate the critical parts of our network and selectively franchise out services to franchisee partners. To maintain consistent standards within our network, we provide periodical training to our franchisee partners’ employees and regularly inspect franchisee partners’ service quality.

 

We have established a customer relationship management system, or CRM, that allows us to effectively manage service quality issues and promptly address customer inquiries. Customers can access the system by phone or online channels. We currently operate four call centers that are dedicated to customer service. Our call center representatives provide real-time assistance from 8:00 am to 8:00 pm, seven days a week. Our call system automatically forwards each incoming call to an available representative from one of the call centers. After the submission of each enquiry, we ask the customer to rate the quality of our customer service, and we follow up on instances where customers are not completely satisfied. For each complaint, we strive to provide an initial response within 24 hours, and to resolve the issue within three days.

 

Intellectual Property

 

We regard our trademarks, trade secrets, domain names, copyrights, patents, know-how, proprietary technologies and similar intellectual property as critical to our business. As of December 31, 2017, we had registered 160 trademarks in China, including “” and “” and also had 147 trademarks under application in China. We have also been granted 25 copyrights in China in respect of our proprietary information systems. We are the registered holder of 133 domain names, including best-inc.com. We have seven issued patents and five publicly filed patents under application in China. We also rely on confidentiality and invention assignment provisions in the employment agreements that we enter into with key employees engaged in research and development. We have implemented a data security system which strictly controls access to our technology and information systems.

 

44



Table of Contents

 

Security and Safety

 

We have integrated safety policies and procedures across the full scope of our business. Our key safety measures include:

 

Operational security

 

We have enacted a full scope of operational security measures to ensure the safety of our employees, customers and partners. We screen all items processed through our network for dangerous and prohibited materials, enforce handling procedures across hubs and sortation centers, service stations and at each level of our network and raise transportation safety awareness among our workers and others. Each worksite in our network is required to conduct a general safety assessment with regard to onsite activities, including maintenance as well as non-routine tasks. We train our employees as well as those of our franchisee partners and service providers and use periodic follow-up training to maintain skills and safety awareness.

 

Technology

 

We and our partners operate trucks configured with GPS tracking as well as integrated safety features such as ESP body stability systems, VDS dynamic steering systems, EBS electronically controlled braking systems, hydraulic brakes, ramp-assist starters and ABS anti-lock braking systems. We are able to provide updates and alerts to drivers, warehouse employees and others involved in our operations as needed. In addition, we utilize advanced equipment at our facilities to reduce risks to workers involved in sorting and moving goods as well as loading and offloading items from vehicles. We also employ digital workforce management technology to monitor employee work hours to ensure compliance with regulations and reduce fatigue-related risks. Using BEST Cloud, we are able to monitor vehicles and goods as they move across our network and system and can leverage BEST Cloud’s insights to identify risk areas and address them proactively.

 

Employees

 

As of December 31, 2015, 2016 and 2017, we had a total of 7,718, 10,061 and 8,784 employees, respectively. We believe we have a good working relationship with our employees and have not experienced any significant labor disputes in the past. The majority of our employees are based in China, and we also have employees in certain other countries.

 

The following table sets forth details of our employees as of December 31, 2017 by function:

 

Function

 

Number of
Employees

 

% of Total

 

BEST Supply Chain Management

 

1,495

 

17.0

%

BEST Express

 

2,589

 

29.5

%

BEST Freight

 

1,590

 

18.1

%

BEST Store+

 

1,247

 

14.2

%

Other Service Lines

 

36

 

0.4

%

Technology

 

575

 

6.5

%

Management, Administration and Others(1)

 

1,252

 

14.3

%

Total

 

8,784

 

100.0

%

 


(1)         Includes management and administration personnel at headquarters and local level.

 

In addition to our own employees, we engage outsourcing firms that provide large numbers of their employees to work at our facilities. As of December 31, 2017, over 31,000 outsourced personnel were active in our operations. Our franchisee partners and service providers engage their own employees in connection with their operations.

 

In order to maintain a high standard of performance, reliability and safety across our network, we conduct training for our employees as well as those of our franchisee partners and service providers. We provide these trainings through a variety of programs led by our internal BEST University initiative, which includes specialized programs for individuals of each job type and level of seniority. Many of our technology professionals have received training and certifications from globally-recognized technology service organizations.

 

As required by PRC regulations, we participate in various government statutory employee benefit plans, including social insurance funds, namely a pension contribution plan, a medical insurance plan, an unemployment insurance plan, a work-related injury insurance plan, a maternity insurance plan and a housing provident fund. We are required under PRC law to make contributions to employee benefit plans at specified percentages of the salaries, bonuses and certain allowances of our employees up to a maximum amount specified by the local government from time to time.

 

45



Table of Contents

 

Properties

 

As part of our asset-light strategy, we currently lease all of the facilities that we occupy from independent third parties. Our headquarters are located at 2nd Floor, Block A, Huaxing Modern Industrial Park, No. 18 Tangmiao Road, Xihu District, Hangzhou, Zhejiang Province 310013, People’s Republic of China. As of December 31, 2017, our headquarters had an aggregate gross area of approximately 13,000 sq m. In addition, we have leased an aggregate of 3.9 million square meters of industrial and warehouse space for the administration and operation of self-operated Cloud OFCs, hubs and sortation centers as of December 31, 2017.

 

We believe that the facilities that we currently lease are adequate to meet the needs of our current operations, and that we will be able to obtain adequate facilities to accommodate our future expansion plans.

 

Insurance

 

We have in place insurance coverage up to a level which we consider to be reasonable and typical for companies in our industry in China. Our insurance broadly falls under the following categories: life insurance, such as group accident insurance; property loss insurance, such as cargo transportation insurance; all-risk property insurance; and liability insurance, such as non-motor vehicle liability insurance, public liability insurance and logistics liability insurance. We also provide benefits to our employees pursuant to local social insurance laws, including pension insurance, unemployment insurance, work-related injury insurance, maternity insurance and medical insurance.

 

Competition

 

Our extensive supply chain solutions encompass a wide range of operational areas, and as a result we may compete with a broad range of companies, including supply chain management service providers, express and freight delivery service providers, B2B platforms for convenience stores, SaaS software service providers and logistics brokers.

 

We compete with total supply chain solution providers, such as JD Logistics and SF Holdings. Certain service lines may also face competition from other service providers, such as P.G. Logistics and Annto Logistics for supply chain management services; ZTO Express, YTO Express, STO Express and YUNDA for express services; DEPPON Logistics and ANE Logistics for freight services; JD.com’s network of convenience stores and Zhongshang Huimin for our BEST Store+ business. In addition, our other services may face competition from companies that provide similar or competing services.

 

Legal Proceedings

 

We may become subject to legal proceedings, investigations, claims and administrative fines incidental to the conduct of our business from time to time. We are not currently a party to, nor are we aware of, any legal proceeding, investigation or claim which, in the opinion of our management, is likely to have a material adverse effect on our business, financial condition or results of operations.

 

Regulatory Matters

 

The following is a summary of the most significant rules and regulations that affect our business activities in China or our shareholders’ rights to receive dividends and other distributions from us.

 

Regulations Relating to Foreign Investment

 

Industry Catalogue Relating to Foreign Investment.  Investment activities in China by foreign investors are principally governed by the Guidance Catalogue of Industries for Foreign Investment, or the Catalogue, which was promulgated and is amended from time to time by the Ministry of Commerce, or the MOFCOM, and the National Development and Reform Commission. The Catalogue sets forth the industries in which foreign investments are “encouraged”, “restricted”, or “prohibited”. Industries that are not listed in any of the above three categories are permitted areas for foreign investments, and are generally open to foreign investment unless specifically restricted by other PRC regulations. Establishment of wholly foreign-owned enterprises is generally allowed in encouraged and permitted industries. Foreign investors are not allowed to invest in industries in the prohibited category.

 

According to the latest version of the Catalogue, which came into effect on July 28, 2017, foreign investments in domestic express delivery services of mail are “prohibited”, and foreign investments in value-added telecommunications services (except for e-commerce) are “restricted”. Therefore, we provide domestic express delivery services of mail through our VIE and its subsidiaries in China, and we provide value-added telecommunications services through our VIE in China.

 

Our PRC subsidiaries also operate in certain industries which fall into the “encouraged” category, such as road transportation and software development. Most of our PRC subsidiaries mainly engage in software development, technical services and consultations, which are “encouraged” under the latest version of the Catalogue.

 

Under PRC law, the establishment of a wholly foreign-owned enterprise is subject to the approval of or filing with the MOFCOM or its local counterparts and the wholly foreign-owned enterprise must register with the competent industry and commerce bureau. Our significant PRC subsidiaries have duly obtained all material approvals required for their business operations.

 

46



Table of Contents

 

Foreign Investment in Road Transportation Businesses.  According to the Administrative Provisions for Foreign Investment in the Road Transportation Industry, promulgated in November 2014 by the Ministry of Transportation and the MOFCOM, and its supplements and implementing rules, investment in a road transportation business (including, among other things, road freight transportation, and flitting, loading, unloading and storage of road cargo) by a foreign investor is subject to the approval of the relevant provincial counterparts of the Ministry of Transportation, and the newly established foreign-invested enterprise must obtain a road transportation operation permit from the relevant provincial counterparts of the Ministry of Transportation after the completion of other foreign investment registration procedures. The incorporation of any direct or indirect subsidiary of a foreign-invested enterprise that intends to engage in road transportation business is subject to the same approval procedure. Based on such regulation, acquisition by foreign investors or PRC entities directly or indirectly owned by foreign investors of road transportation business may also be required to obtain prior approval from the provincial counterparts of the Ministry of Transportation. See “Item 3. Key Information—D. Risk Factors—Risks Relating to Our Business and Industry—Failure of us or our franchisee partners to obtain, maintain or update necessary licenses and permits may have material adverse effect on our business, financial condition and results of operation.”

 

Foreign Investment in Telecommunication Businesses.  Foreign direct investment in telecommunications companies in China is governed by the Regulations for the Administration of Foreign-Invested Telecommunications Enterprises, which was promulgated by the State Council on December 11, 2001 and recently amended on February 6, 2016. The regulations provide that a foreign investor’s beneficial equity ownership in an entity providing value-added telecommunications services in China is not permitted to exceed 50%. In addition, the main foreign investor who invests in a foreign-invested value-added telecommunications enterprise operating the value-added telecommunications business in China must demonstrate a good track record and experience in operating a value-added telecommunications business, provided such investor is a major one among the foreign investors investing in a value-added telecommunications enterprise in China. Moreover, foreign investors that meet these requirements must obtain approvals from the Ministry of Industry and Information Technology, or the MIIT, and the MOFCOM, or their authorized local counterparts, which retain considerable discretion in granting approvals, for its commencement of value-added telecommunications business in China.

 

The MIIT’s Notice Regarding Strengthening Administration of Foreign Investment in Operating Value-Added Telecommunication Businesses, or the MIIT Notice, issued on July 13, 2006 prohibits holders of these services licenses from leasing, transferring or selling their licenses in any form, or providing any resources, sites or facilities, to any foreign investors intending to conduct such businesses in China.

 

Regulations Relating to Express Delivery Services

 

The PRC Postal Law, which took effect in October 2009 with latest amendment in 2015, sets out the fundamental rules on the establishment and operation of an express delivery company. Pursuant to the Postal Law, an enterprise that operates and provides express delivery services must obtain a courier service operation permit. In order to apply for a business permit for express delivery services, a company must meet all the requirements as a corporate legal person and satisfy certain prerequisites with respect to its service capacity and management system, and its registered capital must be no less than RMB500,000 to operate within a province, autonomous region, or municipality directly under the central government, no less than RMB1,000,000 in the case of cross-provincial operation, and no less than RMB2,000,000 to operate international express delivery services.

 

Pursuant to the Administrative Measures for Courier Service Market, or the Courier Market Measures, which was announced by the Ministry of Transportation in 2013, and the Administrative Measures on Courier Service Operation Permits, which was promulgated by the Ministry of Transportation on June 24, 2015, any entity engaging in express delivery services must obtain a courier service operation permit from the State Post Bureau or its local counterpart and is subject to their supervision and regulation. Entities applying for a permit to operate express delivery services in a certain province should apply to the provincial-level postal bureau, while entities applying for a permit to operate express delivery services across multiple provinces should apply to the State Post Bureau. If an entity operates express delivery services without obtaining a courier service operation permit in accordance with the above measures, it may be compelled to make corrections, subject to the confiscation of its earnings generated from its unlicensed operation of express delivery services, imposed a fine ranging from RMB50,000 to RMB200,000, and/or ordered to suspend its business operation for rectification. If a permit-holder does not operate any express delivery services for over six months without due grounds after obtaining the courier service operation permit, or suspends its business for more than six months without authorization, the postal administrative departments have the authority to cancel the courier service operation permit of such holder.

 

Filing with the postal administrative department is required where an express delivery company sets up branches. The requirements for the establishment of a branch of express delivery company are specified in the Courier Market Measures. The Courier Market Measures stipulate that where any express delivery company establishes its branches or business departments, it must register with the local industrial and commercial administrations where such branches or business departments are located by submitting its express delivery services operation permit and a list of its branches and, such branches or business departments must, within 20 days after they obtain their relevant business licenses, file with the local postal administrative department. If an express delivery company fails to complete the required registration and/or filing with the relevant governmental authority, it may be ordered to rectification and may also be imposed a fine of no more than RMB10,000 or where the circumstances are severe, a fine ranging from RMB10,000 to RMB50,000, compelled to make corrections, and/or ordered to suspend its business operation for rectification. Enterprises engaging in express delivery services other than postal enterprises may not engage in posting and mail delivery business exclusively operated by postal enterprises, and may not deliver any official documents of state organs. The express delivery business must be operated within the permitted scope and valid term of the courier service operation permit. The courier service operation permit is valid for 5 years upon its issuance and comes with an annual reporting obligation. The Circular on Implementing the Administrative Measures for the Courier Market and Strengthening the Administration of Courier Service Operations, which was issued by the State Post Bureau in 2013, further clarifies that the postal administrative department must examine whether an entity operates express delivery service within the permitted business scope and geographic scope of its courier service operation permit, and the geographic examination must be carried out down to the district-level within cities. Failure to conduct express delivery services within the permitted operation scopes would subject the express delivery company to a correction order by the postal administrative department and a fine from RMB5,000 to RMB30,000.

 

47



Table of Contents

 

Moreover, in accordance with the Regulations on Annual Reporting of Operation Permission of Express Delivery Service Business issued by the State Post Bureau in 2011, an enterprise engaged in express delivery services must complete annual reporting on its operation status for the previous year with the postal administrative authority which issued its courier service operation permit. Where an express delivery service company fails to submit its annual report to the relevant postal administrative authority in a timely manner or conceals any facts or commits fraud in its annual report, such express delivery service company may be imposed a fine ranging from RMB10,000 to RMB30,000.

 

In accordance with the Decision of the State Council on Issues concerning Cancelling and Adjusting a Batch of Administrative Examination and Approval Items in February 2015, a company operating express delivery services must apply for and obtain the courier service operation permit prior to the application of its business license, and the obtaining of courier service operation permit is subject to industrial and commercial registration with prior examination.

 

In accordance with the Courier Market Measures, if any express delivery service is carried out through franchise, both the franchisees and franchisors must obtain the courier service operation permits and any franchisee must run its franchise business within its licensed scope; and the franchisees and franchisors must enter into written agreements providing the rights and obligations of both parties and the liabilities of both parties in case of any violation of the legal rights and interests of the users of express delivery services. Any franchisee or franchisor failing to obtain the courier service operation permit or any franchisee failing to run its franchise business within its licensed scope would be subject to a correction order by the relevant postal administrative authority and a fine ranging from RMB5,000 to RMB30,000.

 

Companies engaging in express delivery service must establish and implement a system for the examination of parcels or articles received for delivery. Pursuant to the PRC Postal Law and Measures for the Supervision and Administration of Security of the Postal Industry issued by the Ministry of Transportation in 2011 and most recently amended in 2013, express delivery companies must examine the postal articles that would be in the presence of customers so as to inspect whether the postal articles are prohibited or restricted from express delivery. Express delivery companies must also examine whether the names, categories and quantity of the postal articles have been properly written down on delivery forms. Any failure to establish or implement such inspection system, or any unlawful acceptance or delivery of prohibited or restricted parcels/articles may result in the suspension of the company’s business operation for rectification or even cancellation of its courier service operation permit.

 

BEST Logistics Technologies (China) Co., Ltd., one of our PRC subsidiaries, Hangzhou BEST Network Technologies Ltd., our VIE, and 13 of our VIE’s subsidiaries have obtained the courier service operation permits to operate express delivery services. See “Item 3. Key Information—D. Risk Factors—Risks Relating to Our Business and Industry—Failure of us or our franchisee partners to obtain, maintain or update necessary licenses and permits may have material adverse effect on our business, financial condition and results of operation.”

 

The State Council announced on March 27, 2018 that the Interim Regulation on Express Delivery will be effective on May 1, 2018. This regulation was made to promote healthy development of the industry, ensure safe delivery, protect the legal rights of users, and enhance supervision of the sector. For example, companies engaging in express delivery service and their branches may establish express delivery end-networks as needed and shall make a filing with the local postal management department within 20 days of establishment. Furthermore, companies engaging in express delivery service shall implement a management system regarding users’ information and shall refrain from providing users’ information illegally. Failure to comply with above provisions on security of users’ information may result in penalties such as order to make corrections, confiscation of illegal income and a fine ranging from RMB10,000 to RMB50,000, or where the circumstances are severe, a fine ranging from RMB50,000 to RMB100,000, and suspension of the company’s business operation for rectification or even cancellation of its courier service operation permit. There is uncertainty as to the application and the implementation of the Interim Regulation on Express Delivery because it is recently promulgated.

 

Regulations Relating to Road Transportation

 

Pursuant to the Regulations on Road Transportation promulgated by the State Council in April 2004 and most recently amended in February 2016, and the Provisions on Administration of Road Freight Transportation and Stations (Sites) issued by the Ministry of Transportation in June 2005 and most recently amended in April 2016, or the Road Freight Provisions, the business operations of road freight transportation refer to commercial road freight transportation activities that provide public services. The road freight transportation includes general road freight transportation, special road freight transportation, road transportation of large articles, and road transportation of dangerous cargos. Special road freight transportation refers to freight transportation using special vehicles such as vehicles with containers, refrigeration equipment, or tank containers. The Road Freight Provisions set forth detailed requirements with respect to vehicles and drivers.

 

Under the Road Freight Provisions, anyone engaging in the business of operating road freight transportation or stations (sites) must obtain a road transportation operation permit from the local county-level road transportation administrative bureau, and each vehicle used for road freight transportation must have a road transportation certificate from the same authority. The incorporation of a subsidiary of a road freight transportation operator that intends to engage in road transportation business is subject to the same approval procedure. If a road freight transportation operator intends to establish a branch, it should file with the local road transportation administrative bureau where the branch is to be established.

 

Although the road transportation operation permits have no limitation with respect to geographical scope, several provincial governments in China, including Shanghai and Beijing, promulgated local rules on administration of road transportation, stipulating that permitted operators of road freight transportation registered in other provinces should also make filing with the local road transportation administrative bureau where it carries out its business.

 

48



Table of Contents

 

BEST Logistics Technologies (China) Co., Ltd., one of our PRC subsidiaries, and Hangzhou BEST Network Technologies Ltd., our VIE, have obtained road transportation operation permits to operate general road freight transportation or station (sites). See “Item 3. Key Information—D. Risk Factors—Risks Relating to Our Business and Industry—Failure of us or our franchisee partners to obtain, maintain or update necessary licenses and permits may have material adverse effect on our business, financial condition and results of operation.”

 

Regulations on Cargo Vehicles

 

Pursuant to the Administrative Provisions concerning the Running of Cargo Vehicles with Out-of-Gauge Goods promulgated by the Ministry of Transportation, which took effect on September 21, 2016, cargo vehicles running on public roads shall not carry cargo weighing more than the limits prescribed by this regulation and their dimensions shall not exceed those as set forth in the same regulation. Vehicle operators who violate this regulation may be subject to a fine of up to RMB30,000 for each violation. In the event of repeated violations, the regulatory authority may suspend the operating license of the vehicle operator and/or revoke the business operation registration of the relevant vehicle.

 

We rely on trucks and other vehicles owned and operated by third-party trucking companies, while the operation of our fleet is subject to this new regulation. We have an obligation to educate and manage vehicle operators as well as to urge them to comply with this regulation. We weigh each cargo truck as they enter and leave our hubs and sortation centers to ensure their compliance with this regulation in terms of cargo weight. If any truck is not in compliance with this regulation, we may be required to replace it with another vehicle that complies with this regulation. Otherwise, we may be subject to penalties under this regulation if we continue to operate those trucks that exceed the limits set forth in the regulation.

 

Regulations Relating to International Freight Forwarding Business

 

Regulations on Management of International Freight Forwarders promulgated by the Ministry of Foreign Trade and Economic Cooperation (now known as the MOFCOM) in 1995 and its detailed rules regulate the business of international freight forwarding. According to the provisions and its detailed rules, the minimum amount of registered capital must be RMB5 million for an international freight forwarder by sea, RMB3 million for an international freight forwarder by air and RMB2 million for an international freight forwarder by land or for an entity operating international express delivery services. According to the Administrative Measures on Foreign-invested International Freight Forwarders, which was promulgated by the MOFCOM in December 2005 and most recently amended in October 2015, a foreign-invested enterprise must obtain an approval to conduct its international freight forwarding business from the provincial-level authorized agency of the MOFCOM or the MOFCOM. Additionally, an international freight forwarder must, when applying for setting up its branches, increase its registered capital (or the excess amount over its minimum registered capital) by RMB500,000. Furthermore, under the Provisional Measures on Filing of International Freight Forwarders announced by the MOFCOM in March 2005 and most recently amended in August 2016, all international freight forwarders and their branches registered with the state industrial and commercial administration must be filed with the MOFCOM or its authorized agencies.

 

BEST Logistics Technologies (China) Co., Ltd., one of our PRC subsidiaries, is engaged in the international freight forwarding business and has obtained an approval certificate from and made a filing with the relevant agency for carrying out such business.

 

Regulations Relating to Commercial Franchising

 

Pursuant to the Regulations on Commercial Franchising promulgated by the State Council in February 2007 and Provisions on Administration of the Record Filing of Commercial Franchises issued by MOFCOM in December 2011, collectively the Regulations and Provisions on Commercial Franchising, commercial franchising refers to the business activities where an enterprise that possesses the registered trademarks, enterprise logos, patents, proprietary technology or any other business resources allows such business resources to be used by another business operator through contract and the franchisee follows the uniform business model to conduct business operations and pays franchising fees according to the contract. We and our franchisee partners are therefore subject to regulations on commercial franchising. Under the Regulations and Provisions on Commercial Franchising, within 15 days of the first conclusion of franchising contract, the franchisor must carry out record-filing with MOFCOM or its local counterparts and must report the current status of its franchising contracts in the first quarter of each year after record-filing. MOFCOM announces the names of franchisors who have completed filing on the government website and makes prompt updates. If the franchisor fails to comply with these Regulations and Provisions on Commercial Franchising, the MOFCOM or its local counterparts have the discretion to take administrative measures against the franchisor, including fines and public announcements. The Regulations and Provisions on Commercial Franchising also set forth requirements on the contents of franchising contracts.

 

We have completed the requisite filings with respect to our BEST Express, BEST Freight and Cloud OFC services. We cannot assure you that we can update such filing in a timely manner or that our relationships with other existing and future ecosystem participants will not be found to constitute such regulated commercial franchising in the future. As of the date of this annual report, we have not received any order from any governmental authorities to make such filing. See “Item 3. Key Information—D. Risk Factors—Risks Relating to Our Business and Industry—Failure to comply with PRC laws and regulations by us or our franchisee partners may materially and adversely impact our business, financial condition and results of operations.”

 

49



Table of Contents

 

Regulations Relating to Personal Information Security and Consumer Protection

 

The Administrative Provisions on the Security of Personal Information of Express Service Users, promulgated by State Post Bureau in March 2014, provide for the protection of the personal information of users of express or express delivery services, and the supervision on the express operations of postal enterprises and express delivery companies. In accordance with these provisions, the state postal administrative department and its local counterparts are the supervising and administering authority responsible for the security of the personal information of users of express or express delivery services, and postal enterprises and express delivery companies must establish and refine systems and measures for the security of such information. Specifically, express delivery companies must enter into confidentiality agreements with their employees regarding the information of their clients or users to specify confidentiality obligations and liabilities for violation thereof. Where express delivery companies are entrusted by operators engaging in online shopping, TV shopping, mail-order and other businesses to provide express delivery services, such express delivery companies must enter into agreements with the said principals, which agreements shall contain provisions safeguarding the security of information of users of express delivery services. Courier companies operating through franchise are further required to formulate provisions on the security of information of users of express delivery services in franchising contracts and clarify the security responsibilities between franchisor and franchisee. A courier company and its employees causing damages to the users of express delivery services by divulging the users’ information is expected to bear compensation liabilities. If a courier company is found to unlawfully furnish the information of users of express delivery services, the company and its employees are subject to administrative liabilities or even criminal penalties. A user of express delivery services may further seek remedies by following the Measures on Settling the Complaints of the Postal Users issued by State Post Bureau, which took effect in September 2014. The Postal Users Complaints Settling Center handles the complaints from users on the quality of the express delivery services under a regime of mediation. We are subject to the above provisions and measures with regard to the security of personal information and believe that we are currently in compliance with such provisions and measures in all material aspects.

 

Regulations Relating to Telecommunications and Internet Information Services

 

Regulations Relating to Telecommunication Businesses

 

Under the Telecommunications Regulations of the PRC, or the Telecommunications Regulations, promulgated by the State Council of the PRC on September 25, 2000 and most recently amended on February 6, 2016, a telecommunication services provider in China must obtain an operating license from the MIIT or its provincial counterparts. The Telecommunications Regulations categorize all telecommunication services in China as either basic telecommunications services or value-added telecommunications services. Our online and mobile commerce businesses are classified as value-added telecommunications services.

 

In addition to restricting dealings with foreign investors, the MIIT Notice contains a number of detailed requirements applicable to holders of value-added telecommunications services licenses, including that license holders or their shareholders must directly own the domain names and trademarks used in their daily operations and each license holder must possess the necessary facilities for its approved business operations and maintain such facilities in the regions covered by its license, including maintaining its network and providing Internet security in accordance with the relevant regulatory standards. The MIIT or its provincial counterpart has the power to require corrective actions after it discovers any non-compliance of the license holders, and where such license holders fail to take such steps, the MIIT or its provincial counterpart has the power to revoke the value-added telecommunications services licenses.

 

Regulations Relating to Internet Information Services

 

As a subsector of the telecommunications industry, Internet information services are regulated by the Administrative Measures on Internet Information Services, or the ICP Measures, promulgated on September 25, 2000 by the State Council and amended on January 8, 2011. “Internet information services” are defined as services that provide information to online users through the Internet. Internet information services providers, also called Internet content providers, or ICPs, that provide commercial services are required to obtain an operating license from the MIIT or its provincial counterpart. The Administrative Measures for Telecommunications Business Operating Licensing, which was promulgated by the MIIT and recently amended on July 3, 2017, further regulate the telecommunications business licensing.

 

To the extent the Internet information services provided relate to certain matters, including news, publication, education or medical and health care (including pharmaceutical products and medical equipment), approvals must also be obtained from the relevant industry regulators in accordance with the laws, rules and regulations governing those industries.

 

The PRC government has promulgated measures relating to Internet content through various ministries and agencies, including the MIIT, the News Office of the State Council, the Ministry of Culture and the General Administration of Press and Publication. In addition to various approval and license requirements, these measures specifically prohibit Internet activities that result in the dissemination of any content which is found to contain pornography, promote gambling or violence, instigate crimes, undermine public morality or the cultural traditions of the PRC or compromise state security or secrets. ICPs must monitor and control the information posted on their websites. If any prohibited content is found, they must remove such content immediately, keep a record of it and report to the relevant authorities. If an ICP violates these measures, the PRC government may impose fines and revoke any relevant business operation licenses.

 

We conduct our value-added telecommunications business through our VIE, Hangzhou BEST Network Technologies Ltd., which has obtained the requisite license.

 

Regulations Relating to Internet Security

 

The Criminal Law of the People’s Republic of China, promulgated by the National People’s Congress of China on July 6, 1979 and recently amended on November 4, 2017, imposes a number of Internet security requirements on Internet service providers. These requirements are mainly provided in the Ninth Amendment to the Criminal Law of the People’s Republic of China, or the Ninth Amendment. According to the Ninth Amendment, an Internet service provider who does not perform its duties of security management on information network may be subject to criminal punishment, if such non-performance results in certain serious consequences.

 

50



Table of Contents

 

The Decision in Relation to Protection of the Internet Security, enacted by the Standing Committee of the National People’s Congress of China on December 28, 2000 and amended on August 27, 2009, provides that certain activities, including but not limited to the following, conducted through the Internet are subject to criminal punishment: (i) gaining improper entry into a computer or system of strategic importance; (ii) bringing out abnormal operation of Internet by cultivating or transmitting computer virus or interrupting network without authorization; (iii) disseminating politically disruptive information or obscenities; (iv) leaking State secrets; (v) spreading false commercial information; (vi) infringing intellectual property rights; (vii) providing information concerning pornography; or (viii) violating lawful rights of any other national person, legal person or other institution.

 

The Regulations of the People’s Republic of China on the Security Protection of Computer Information System, promulgated by the State Council on February 18, 1994 and amended on January 8, 2011, require that no entity or individual may make use of computer information systems to engage in activities jeopardizing the interests of the state or collectives or the legitimate rights of the citizens, or endanger the security of computer information systems. A user of a computer information system shall establish and improve a security management system for its computer information system. A user of a computer information system is also required to take other security protection measures, such as reporting any incidents arising from the computer system to the public authority of the local government at or above the county level within 24 hours.

 

On December 28, 2012, the Standing Committee of the National People’s Congress of China promulgated the Decision on Strengthening Network Information Protection to enhance the legal protection of information security and privacy on the Internet. On July 16, 2013, the MIIT promulgated the Provisions on Protection of Personal Information of Telecommunication and Internet Users to regulate the collection and use of users’ personal information in the provision of telecommunication services and Internet information services in China. Personal information includes a user’s name, birth date, identification card number, address, phone number, account name, password and other information that can be used for identifying a user.

 

On July 1, 2015, the Standing Committee of the National People’s Congress of China promulgated the New National Security Law which took effect on the same date and replaced the former National Security Law promulgated in 1993. According to the New National Security Law, the state shall ensure that the information system and data in important areas are secure and controllable. There are uncertainties on how the New National Security Law will be implemented in practice.

 

The Network Security Law of the People’s Republic of China, which was promulgated by the Standing Committee of the National People’s Congress of China on November 7, 2016 and became effective on June 1, 2017, provides that network operators shall comply with laws and regulations and fulfill their obligations to safeguard security of the network when conducting business and providing services. Those who provide services through networks shall take technical measures and other necessary measures pursuant to laws, regulations and compulsory national requirements to safeguard the safe and stable operation of the networks, respond to network security incidents effectively, prevent illegal and criminal activities, and maintain the integrity, confidentiality and usability of network data.

 

On April 11, 2017, the Cyberspace Administration of China announced the Measures for the Security Assessment of Personal Information and Important Data to be Transmitted Abroad (consultation draft), or the Consultation Draft of Security Assessment Measures. The Consultation Draft of Security Assessment Measures requires network operators to conduct security assessments and obtain consents from owners of personal information prior to transmitting personal information and other important data abroad. Moreover, under the Consultation Draft of Security Assessment Measures, the network operators are required to apply to the relevant regulatory authorities for security assessments under several circumstances, including but not limited to: (i) if data to be transmitted abroad contains personal information of more than 500,000 users in aggregate; (ii) if the quantity of the data to be transmitted abroad is more than 1,000 gigabytes; (iii) if data to be transmitted abroad contains information regarding nuclear facilities, chemical biology, national defense or military projects, population and health, or relates to large-scale engineering activities, marine environment issues or sensitive geographic information; (iv) if data to be transmitted abroad contains network security information regarding system vulnerabilities or security protection of critical information infrastructure; (v) if key information infrastructure network operators transmit personal information and important data abroad; or (vi) if any other data to be transmitted abroad contains information that might affect national security or public interest and are required to be assessed as determined by the relevant regulatory authorities.

 

Regulations Relating to Finance Leasing

 

The Administrative Measures on Foreign Investment in the Leasing Industry, or the Leasing Industry Measures, were promulgated by the MOFCOM on February 3, 2005 and amended on October 28, 2015 to regulate the operation of foreign-invested leasing and finance leasing business. Under the Leasing Industry Measures, the total assets of the foreign investors of a foreign-funded finance leasing company may not be less than US$5 million. Foreign-invested finance leasing enterprises may carry out finance leasing activities by way of direct leasing, sub-leasing, sale-leaseback, leveraged leasing, entrusted leasing and joint leasing. For the purpose of the Leasing Industry Measures, the leasing property shall include, among others, transportation equipment, such as airplanes, automobiles and ships, etc. This regulation was declared invalid by the MOFCOM in 2018 for the purpose of easing regulation and optimizing service.

 

The Administrative Measures of Supervision on Finance Leasing Enterprises, or the Finance Leasing Measures, were formulated by the MOFCOM and became effective on October 1, 2013. According to the Finance Leasing Measures, the MOFCOM and the provincial-level commerce authorities are in charge of the supervision and administration of finance leasing enterprises. A finance leasing company shall report, according to the requirements of the MOFCOM, the relevant data in a timely and ruthful manner through the National Finance Leasing Company Management Information System.

 

Xinyuvan Financial Leasing (Zhejiang) Co., Ltd., one of our PRC subsidiaries, has obtained an approval to conduct finance lease business from the competent regulatory authority in the PRC.

 

51



Table of Contents

 

Regulations Relating to Retail Industry

 

Regulations Relating to Consumer Protection

 

Under the Law on the Protection of the Rights and Interests of Consumers, which was promulgated by the Standing Committee of the National People’s Congress on October 31, 1993, became effective on January 1, 1994 and was recently amended on October 25, 2013, a business operator providing a commodity or service to a consumer is subject to a number of requirements, including the following:

 

to ensure that commodities and services meet with certain safety requirements;

 

to disclose serious defects of a commodity or a service and adopt preventive measures against damage occurrence;

 

to provide consumers with true information and to refrain from conducting false advertising;

 

not to set unreasonable or unfair terms for consumers or alleviate or release itself from civil liability for harming the legal rights and interests of consumers by means of standard contracts, circulars, announcements, shop notices or other means; and

 

not to insult or slander consumers or to search the person of, or articles carried by, a consumer or to infringe upon the personal freedom of a consumer.

 

Business operators may be subject to civil liabilities for failing to fulfill the obligations discussed above. These liabilities include restoring the consumer’s reputation, eliminating the adverse effects suffered by the consumer, and offering an apology and compensation for any losses incurred. The following penalties may also be imposed upon business operators for the infraction of these obligations: issuance of a warning, confiscation of any illegal income, imposition of a fine, an order to cease business operations, revocation of its business license or imposition of criminal liabilities under circumstances that are specified in laws and statutory regulations.

 

Regulations Relating to Product Quality

 

Pursuant to the Product Quality Law of the PRC, or the Product Quality Law, which was promulgated by the Standing Committee of the National People’s Congress on February 22, 1993, became effective on September 1, 1993, and was recently amended on August 27, 2009, business operators, including manufacturers and sellers, are required to assume certain obligations in respect of product quality. Violations of the Product Quality Law may result in the imposition of fines. In addition, a company in violation of the Product Quality Law may be ordered to suspend its operations and its business license may be revoked. Criminal liability may be incurred in serious cases. A consumer or other victim who suffers injury or property losses due to product defects may demand compensation from the manufacturer as well as from the seller. Where the responsibility lies with the manufacturer, the seller shall, after settling compensation with the consumer, have the right to recover such compensation from the manufacturer, and vice versa.

 

Regulations Relating to Pricing

 

In China, the prices of a very small number of products and services are guided or fixed by the government. According to the Pricing Law, which was promulgated by Standing Committee of the National People’s Congress on December 29, 1997 and became effective on May 1, 1998, business operators must, as required by the government departments in charge of pricing, mark the prices explicitly and indicate the service items, charging standards and other related particulars clearly. Business operators may not charge any fees that are not explicitly indicated. Business operators must not commit unlawful pricing activities, such as colluding with others to manipulate the market price, using false or misleading prices to deceive consumers to transact, or conducting price discrimination against other business operators. Failure to comply with the Pricing Law may subject business operators to administrative sanctions such as warning, ceasing unlawful activities, compensation, confiscating illegal gains and fines. The business operators may be ordered to suspend business for rectification, or have their business licenses revoked if the circumstances are severe. We are subject to the Pricing Law as a service provider and believe that our pricing activities are currently in compliance with the law in all material aspects.

 

Regulations Relating to Leasing

 

We currently lease all of the facilities that we occupy from independent third parties. Pursuant to the Law on Administration of Urban Real Estate which took effect in January 1995 with the latest amendment in August 2009, lessors and lessees are required to enter into a written lease contract, containing such provisions as the term of the lease, the use of the premises, liability for rent and repair, and other rights and obligations of both parties. Both lessor and lessee are also required to register the lease with the real estate administration department. Pursuant to implementing rules stipulated by certain provinces or cities, such as Tianjin, if the lessor and lessee fail to go through the registration procedures, both lessor and lessee may be subject to warnings, rectifications and/or other penalties.

 

According to the PRC Contract Law which took effect in October 1999, the lessee may sublease the leased premises to a third party, subject to the consent of the lessor. Where the lessee subleases the premises, the lease contract between the lessee and the lessor remains valid. The lessor is entitled to terminate the lease contract if the lessee subleases the premises without the consent of the lessor. In addition, if the lessor transfers the premises, the lease contract between the lessee and the lessor will still remain valid.

 

Pursuant to the PRC Property Law which took effect in October 2007, if a mortgagor leases the mortgaged property before the mortgage contract is executed, the previously established leasehold interest will not be affected by the subsequent mortgage, but where a mortgagor leases the mortgaged property after the creation and registration of the mortgage interest, the leasehold interest will be subordinated to the registered mortgage.

 

52



Table of Contents

 

Regulations Relating to Intellectual Property Rights

 

The PRC government has adopted comprehensive legislation governing intellectual property rights, including copyrights, patents, trademarks and domain names.

 

Copyright.  Copyright in China, including copyrighted software, is principally protected under the Copyright Law and its implementation rules. Under the Copyright Law, the term of protection for copyrighted software is 50 years.

 

Patent.  The Patent Law provides for patentable inventions, utility models and designs, which must meet three conditions: novelty, inventiveness and practical applicability. The State Intellectual Property Office under the State Council is responsible for examining and approving patent applications. The duration of a patent right is either 10 years or 20 years from the date of application, depending on the type of patent right.

 

Trademark.  The Trademark Law and its implementation rules protect registered trademarks. The PRC Trademark Office of State Administration of Industry and Commerce is responsible for the registration and administration of trademarks throughout China. The Trademark Law has adopted a “first-to-file” principle with respect to trademark registration. Where registration is sought for a trademark that is identical or similar to another trademark which has already registered or given preliminary examination and approval for use in the same or similar category of commodities or services, the application for registration of such trademark may be rejected. Trademark registration is effective for a renewable ten-year period, unless otherwise revoked.

 

Domain Name.  Domain names are protected under the Administrative Measures on the Internet Domain Names promulgated by the MIIT. The MIIT is the major regulatory body responsible for the administration of the PRC Internet domain names, under supervision of which the China Internet Network Information Center is responsible for the daily administration of “.cn” domain names and Chinese domain names. Domain name registration is handled through domain name service agencies established under the relevant regulations, and applicants become domain name holders upon successful registration.

 

Regulations Relating to Employment

 

Pursuant to the Labor Law, which was promulgated by National People’s Congress in January 1995 and amended in August 2009, and the Labor Contract Law, promulgated by Standing Committee of the National People’s Congress in June 2007 and amended in December 2012, employers must execute written labor contracts with full-time employees. If an employer fails to enter into a written employment contract with an employee within one year from the date on which the employment relationship is established, the employer must rectify the situation by entering into a written employment contract with the employee and pay the employee twice the employee’s salary for the period from the day following the lapse of one month after the date of establishment of the employment relationship to the day prior to the execution of the written employment contract. All employers must comply with local minimum wage standards. Violation of the Labor Law and the Labor Contract Law may result in the imposition of fines and other administrative and criminal liability in the case of serious violation.

 

In December 2012, the Labor Contract Law was amended to impose more stringent requirements on the use of employees of temp agencies, who are known in China as “dispatched workers.” Dispatched workers are entitled to equal pay with fulltime employees for equal work. Employers are only allowed to use dispatched workers for temporary, auxiliary or substitutive positions, and the number of dispatched workers may not exceed 10% of the total number of employees.

 

Enterprises in China are required by PRC laws and regulations to participate in certain employee benefit plans, including social insurance funds, namely a pension plan, a medical insurance plan, an unemployment insurance plan, a work-related injury insurance plan and a maternity insurance plan, and a housing provident fund, and contribute to the plans or funds in amounts equal to certain percentages of salaries, including bonuses and allowances, of the employees as specified by the local government from time to time at locations where they operate their businesses or where they are located. According to the PRC Social Insurance Law, which was promulgated by the Standing Committee of the National People’s Congress on October 28, 2010 and became effective on July 1, 2011, an employer that fails to make social insurance contributions may be ordered to rectify the non-compliance and pay the required contributions within a stipulated deadline and be subject to a late fee of up to 0.05% or 0.2% per day, as the case may be. If the employer still fails to rectify the failure to make social insurance contributions within the stipulated deadline, it may be subject to a fine ranging from one to three times the amount overdue. According to the Regulations on Management of Housing Fund, which was promulgated by the State Council on April 3, 1999 and amended on March 24, 2002, an enterprise that fails to make housing fund contributions may be ordered to rectify the noncompliance and pay the required contributions within a stipulated deadline; otherwise, an application may be made to a local court for compulsory enforcement. See “Item 3. Key Information—D. Risk Factors—Risks Related to Doing Business in the People’s Republic of China—The enforcement of the Labor Contract Law of the People’s Republic of China, or the PRC Labor Contract Law, and other labor-related regulations in the PRC may increase our labor costs, impose limitations on our labor practices and adversely affect our business and our results of operations, and our failure to comply with PRC labor-related laws may expose us to penalties.”

 

Regulations Relating to Foreign Exchange

 

The principal regulations governing foreign currency exchange in China are the Foreign Exchange Administration Regulations, most recently amended in August 2008. Payments of current account items, such as profit distributions and trade and service-related foreign exchange transactions, can usually be made in foreign currencies without prior approval from the SAFE, by complying with certain procedural requirements. By contrast, approval from or registration with appropriate governmental authorities is required where Renminbi is to be converted into foreign currency and remitted out of China to pay capital expenses such as the repayment of foreign currency-denominated loans.

 

53



Table of Contents

 

On March 30, 2015, SAFE issued the Circular of the State Administration of Foreign Exchange on Reforming the Management Approach regarding the Settlement of Foreign Exchange Capital of Foreign-invested Enterprises, or SAFE Circular 19. Pursuant to SAFE Circular 19, the foreign exchange capital of foreign-invested enterprises is subject to the discretional foreign exchange settlement, which means the foreign exchange capital in the capital account of foreign-invested enterprises upon the confirmation of rights and interests of monetary contribution by the local foreign exchange bureau (or the book-entry registration of monetary contribution by the banks) may be settled at the banks based on the actual operation needs of the enterprises. The proportion of discretionary settlement of foreign exchange capital of foreign-invested enterprises is currently 100%. SAFE can adjust such proportion in due time based on the circumstances of international balance of payments. SAFE promulgated the Notice of the State Administration of Foreign Exchange on Reforming and Standardizing the Foreign Exchange Settlement Management Policy of Capital Account, or SAFE Circular 16, effective on June 9, 2016, which reiterates some of the rules set forth in SAFE Circular 19, but changes the prohibition against using RMB capital converted from foreign currency-denominated registered capital of a foreign-invested company to issue RMB entrusted loans to a prohibition against using such capital to issue loans to non-associated enterprises. Violations of SAFE Circular 19 or SAFE Circular 16 could result in administrative penalties.

 

On January 26, 2017, SAFE issued the Notice of State Administration of Foreign Exchange on Improving the Review of Authenticity and Compliance to Further Promote Foreign Exchange Control, or SAFE Circular 3, which stipulates several capital control measures with respect to the outbound remittance of profit from domestic entities to offshore entities, including (i) under the principle of genuine transaction, banks shall check board resolutions regarding profit distribution, the original version of tax filing records and audited financial statements; and (ii) domestic entities shall hold income to account for previous years’ losses before remitting the profits. Moreover, pursuant to SAFE Circular 3, domestic entities shall make detailed explanations of the sources of capital and utilization arrangements, and provide board resolutions, contracts and other proof when completing the registration procedures in connection with an outbound investment.

 

Regulations Relating to Dividend Distribution

 

The principal laws, rules and regulations governing dividend distribution by foreign-invested enterprises in the PRC are the Company Law of the PRC, as amended, the Wholly Foreign-owned Enterprise Law and its implementation regulations and the Chinese-foreign Equity Joint Venture Law and its implementation regulations. Under these laws, rules and regulations, foreign-invested enterprises may pay dividends only out of their accumulated profit, if any, as determined in accordance with PRC accounting standards and regulations. Both PRC domestic companies and wholly-foreign owned PRC enterprises are required to set aside as general reserves at least 10% of their after-tax profit each year, until the cumulative amount of such reserves reaches 50% of their registered capital. A PRC company is not permitted to distribute any profits until any losses from prior fiscal years have been offset. Profits retained from prior fiscal years may be distributed together with distributable profits from the current fiscal year.

 

Regulations Relating to Offshore Financing

 

SAFE promulgated the Circular on Relevant Issues Concerning Foreign Exchange Control on Domestic Residents’ Offshore Investment and Financing and Roundtrip Investment through Special Purpose Vehicles, or SAFE Circular 37, on July 4, 2014, which replaced the former circular commonly known as “SAFE Circular 75” promulgated by SAFE on October 21, 2005. SAFE Circular 37 requires PRC residents to register with local branches of SAFE in connection with their direct establishment or indirect control of an offshore entity, for the purpose of overseas investment and financing, with such PRC residents’ legally owned assets or equity interests in domestic enterprises or offshore assets or interests, referred to in SAFE Circular 37 as a “special purpose vehicle.” SAFE Circular 37 further requires amendment to the registration in the event of any significant changes with respect to the special purpose vehicle, such as increase or decrease of capital contributed by PRC individuals, share transfer or exchange, merger, division or other material event. In the event that a PRC shareholder holding interests in a special purpose vehicle fails to fulfill the required SAFE registration, the PRC subsidiaries of that special purpose vehicle may be prohibited from making profit distributions to the offshore parent and from carrying out subsequent cross-border foreign exchange activities, and the special purpose vehicle may be restricted in its ability to contribute additional capital into its PRC subsidiary. Moreover, failure to comply with the various SAFE registration requirements described above could result in liability under PRC law for evasion of foreign exchange controls. According to the Notice on Further Simplifying and Improving Policies for the Foreign Exchange Administration of Direct Investment released on February 13, 2015 by SAFE, local banks will examine and handle foreign exchange registration for overseas direct investment, including the initial foreign exchange registration and amendment registration, under SAFE Circular 37 from June 1, 2015.

 

We have notified substantial beneficial owners of ordinary shares who we know are PRC residents of their obligations of applications, filings and amendments as required under SAFE Circular 37 and other related rules. Nevertheless, we may not be aware of the identities of all of our beneficial owners who are PRC residents. We do not have control over our beneficial owners and there can be no assurance that all of our PRC-resident beneficial owners will comply with SAFE Circular 37, its implementation rules and other applicable foreign exchange rules, and there is no assurance that the registration under SAFE Circular 37 and any amendment will be completed in a timely manner, or will be completed at all. The failure of our beneficial owners who are PRC residents to register or amend their foreign exchange registrations in a timely manner pursuant to SAFE Circular 37, its implementation rules and other applicable foreign exchange rules, or the failure of future beneficial owners of our company who are PRC residents to comply with these registration requirements may subject such beneficial owners or our PRC subsidiaries to fines and legal sanctions. Failure to register or comply with relevant requirements may also limit our ability to contribute additional capital to our PRC subsidiaries and limit our PRC subsidiaries’ ability to distribute dividends to our company, or we may be penalized by SAFE.

 

54



Table of Contents

 

Regulations Relating to Employee Stock Incentive Plan of Overseas Publicly-Listed Company

 

Pursuant to SAFE Circular 37, PRC residents who participate in share incentive plans in overseas non-publicly-listed companies may submit applications to SAFE or its local branches for the foreign exchange registration with respect to offshore special purpose companies. In addition, under the Notices on Issues concerning the Foreign Exchange Administration for Domestic Individuals Participating in Share Incentive Plans of Overseas Publicly-Listed Companies, or the Share Option Rules, issued by SAFE on February 15, 2012, PRC residents who are granted shares or share options by companies listed on overseas stock exchanges under share incentive plans are required to (i) register with SAFE or its local branches, (ii) retain a qualified PRC agent, which may be a PRC subsidiary of the overseas listed company or another qualified institution selected by the PRC subsidiary, to conduct the SAFE registration and other procedures with respect to the share incentive plans on behalf of the participants, and (iii) retain an overseas institution to handle matters in connection with their exercise of share options, purchase and sale of shares or interests and funds transfers. We are making efforts to comply with these requirements.

 

The State Administration of Taxation, or SAT, has issued certain circulars concerning employee share options or restricted shares. Under these circulars, our employees working in China who exercise share options or are granted restricted shares will be subject to PRC individual income tax. Our PRC subsidiaries have obligations to file documents related to employee share options or restricted shares with relevant tax authorities and to withhold individual income taxes of those employees who exercise their share options. If our employees fail to pay or we fail to withhold their income taxes according to relevant laws and regulations, we may face sanctions imposed by the tax authorities or other PRC governmental authorities.

 

Regulations Relating to Tax

 

Under the PRC Enterprise Income Tax Law, or the EIT Law, which became effective on January 1, 2008 and was recently amended on February 24, 2017, an enterprise established outside the PRC with “de facto management bodies” within the PRC is considered a “resident enterprise” for PRC enterprise income tax purposes and is generally subject to a uniform 25% enterprise income tax rate on its worldwide income. The Implementing Rules of the Enterprise Income Tax Law further define the term “de facto management body” as the management body that exercises substantial and overall management and control over the business, personnel, accounts and properties of an enterprise. In 2009, the SAT issued the Notice Regarding the Determination of Chinese-Controlled Offshore-Incorporated Enterprises as PRC Tax Resident Enterprises on the Basis of De Facto Management Bodies, or SAT Circular 82, which provides certain specific criteria for determining whether the “de facto management body” of a PRC-controlled enterprise that is incorporated offshore is located in China. Further to SAT Circular 82, in 2011, the SAT issued the Administrative Measures for Enterprise Income Tax of Chinese-Controlled Offshore Incorporated Resident Enterprises (Trial), or SAT Bulletin 45 to provide more guidance on the implementation of SAT Circular 82.

 

According to SAT Circular 82, an offshore incorporated enterprise controlled by a PRC enterprise or a PRC enterprise group will be considered a PRC resident enterprise by virtue of having its “de facto management body” in China and will be subject to PRC enterprise income tax on its worldwide income only if all of the following conditions are met: (i) the senior management and core management departments in charge of its daily operations function have their presence mainly in the PRC; (ii) its financial and human resources decisions are subject to determination or approval by persons or bodies in the PRC; (iii) its major assets, accounting books, company seals, and minutes and files of its board of directors and shareholders’ meetings are located or kept in the PRC; and (iv) more than half of the enterprise’s directors or senior management with voting rights habitually reside in the PRC.

 

Although SAT Circular 82 and SAT Bulletin 45 only apply to offshore-incorporated enterprises controlled by PRC enterprises or PRC enterprise groups and not those controlled by PRC individuals or foreigners, the determination criteria set forth therein may reflect the SAT’s general position on how the term “de facto management body” could be applied in determining the tax resident status of offshore enterprises, regardless of whether they are controlled by PRC enterprises, individuals or foreigners.

 

We do not believe that we meet all of the conditions under SAT Circular 82. We believe that BEST Inc. and our offshore subsidiaries should not be treated as a “resident enterprise” for PRC tax purposes if the criteria for “de facto management body” as set forth in SAT Circular 82 were deemed applicable to us. However, as the tax residency status of an enterprise is subject to determination by the PRC tax authorities and uncertainties remain with respect to the interpretation of the term “de facto management body” as applicable to our offshore entities, we may be treated as a resident enterprise for PRC tax purposes under the EIT Law, and we may therefore be subject to PRC income tax on our global income. We are actively monitoring the possibility of “resident enterprise” treatment for the applicable tax years and are evaluating appropriate organizational changes to avoid this treatment, to the extent possible.

 

In the event that BEST Inc. or any of our offshore subsidiaries is considered to be a PRC resident enterprise: BEST Inc. or our offshore subsidiaries, as the case may be, may be subject to the PRC enterprise income tax at the rate of 25% on our worldwide taxable income; dividend income that BEST Inc. or our offshore subsidiaries, as the case may be, received from our PRC subsidiaries may be exempt from the PRC withholding tax; and interest paid to our overseas shareholders or ADS holders who are non-PRC resident enterprises as well as gains realized by such shareholders or ADS holders from the transfer of our shares or ADSs may be regarded as PRC-sourced income and as a result be subject to PRC withholding tax at a rate of up to 10%, subject to any reduction or exemption set forth in relevant tax treaties, and similarly, dividends paid to our overseas shareholders or ADS holders who are non-PRC resident individuals, as well as gains realized by such shareholders or ADS holders from the transfer of our shares or ADSs, may be regarded as PRC-sourced income and as a result be subject to PRC withholding tax at a rate of 20%, subject to any reduction or exemption set forth in relevant tax treaties. See “Item 3. Key Information—D. Risk Factors—Risks Related to Doing Business in the People’s Republic of China—We may be treated as a resident enterprise for PRC tax purposes under the PRC Enterprise Income Tax Law, and we may therefore be subject to PRC income tax on our global income” and “Item 3. Key Information—D. Risk Factors—Risks Related to Doing Business in the People’s Republic of China—Dividends payable to our foreign investors and gains on the sale of our ADSs or Class A ordinary shares by our foreign investors may become subject to PRC tax.”

 

55



Table of Contents

 

On February 3, 2015, the SAT issued the Bulletin on Issues of Enterprise Income Tax on Indirect Transfers of Assets by Non-PRC Resident Enterprises, or Bulletin 7, which was recently amended on December 29, 2017. Pursuant to this Bulletin, an “indirect transfer” of assets, including equity interests in a PRC resident enterprise, by non-PRC resident enterprises may be recharacterized and treated as a direct transfer of PRC taxable assets, if such arrangement does not have a reasonable commercial purpose and was established for the purpose of avoiding payment of PRC enterprise income tax. As a result, gains derived from such indirect transfer may be subject to PRC enterprise income tax. According to Bulletin 7, “PRC taxable assets” include assets attributed to an establishment or place of business in China, immoveable properties located in China, and equity investments in PRC resident enterprises, in respect of which gains from their transfer by a direct holder, being a non-PRC resident enterprise, would be subject to PRC enterprise income taxes. When determining whether there is a “reasonable commercial purpose” of the transaction arrangement, features to be taken into consideration include: whether the main value of the equity interest of the relevant offshore enterprise derives directly or indirectly from PRC taxable assets; whether the assets of the relevant offshore enterprise mainly consists of direct or indirect investment in China or if its income mainly derives from China; whether the offshore enterprise and its subsidiaries directly or indirectly holding PRC taxable assets have real commercial nature which is evidenced by their actual function and risk exposure; the duration of existence of the business model and organizational structure; the foreign income tax liabilities arising from the indirect transfer of PRC taxable assets; the replicability of the transaction by direct transfer of PRC taxable assets; and the tax situation of such indirect transfer and applicable tax treaties or similar arrangements. In respect of an indirect offshore transfer of assets of a PRC establishment or place of business, the resulting gain is to be included with the enterprise income tax filing of the PRC establishment or place of business being transferred, and would consequently be subject to PRC enterprise income tax at a rate of 25%. Where the underlying transfer relates to the immoveable properties located in China or to equity investments in a PRC resident enterprise, which is not related to a PRC establishment or place of business of a non-resident enterprise, a PRC enterprise income tax of 10% would apply, subject to available preferential tax treatment under applicable tax treaties or similar arrangements, and the party who is obligated to make the transfer payments has the withholding obligation. Where the payor fails to withhold any or sufficient tax, the transferor shall declare and pay such tax to the tax authority by itself within the statutory time limit. Bulletin 7 does not apply to transactions of sale of shares by investors through a public stock exchange where such shares were acquired from a transaction through a public stock exchange. On October 17, 2017, SAT issued the Bulletin on Issues Concerning the Withholding of Non-resident Enterprise Income Tax at Source, or Bulletin 37, which, among others, repeals certain rules related to treatment of situations where a payor has failed to timely withhold tax as stipulated in Circular 7. In particular, Bulletin 37 provides that when a payor as the withholding agent fails to or is unable to perform its withholding duty, on the condition that the relevant non-PRC resident enterprise voluntarily makes payment before being ordered to do so in a timely manner or within a time limit prescribed by relevant tax authorities, the tax shall be deemed as having been timely paid. The Bulletin 37 further specifies and clarifies tax withholding methods applicable to income of non-PRC resident enterprises. There is uncertainty as to the application of Bulletin 7. Especially as Bulletin 7 is lately promulgated, it is not clear how it will be implemented. Bulletin 7 may be determined by the tax authorities to be applicable to our offshore restructuring transactions or sale of our ordinary shares or those of our offshore subsidiaries where non-resident enterprises, being the transferors, were involved.

 

Under the Circular on Comprehensively Promoting the Pilot Program of the Collection of Value-added Tax to Replace Business Tax, or Circular 36, which was promulgated by the Ministry of Finance and the SAT on March 23, 2016 and became effective on May 1, 2016, entities and individuals engaging in the sale of services, intangible assets or fixed assets within the territory of the PRC are required to pay value added tax, or VAT, instead of business tax. According to the Circular 36, our PRC subsidiaries and VIE are subject to VAT, at a rate of 6% to 17% (16% after May 1, 2018, pursuant to the Notice on Adjustment of VAT Rate promulgated by the Ministry of Finance and the SAT on April 4, 2018) on proceeds received from customers, and are entitled to a refund for VAT already paid or borne on the goods purchased by it and utilized in the production of goods or provisions of services that have generated the gross sales proceeds.

 

Regulations Relating to M&A Rules and Overseas Listing

 

The Regulations on Mergers and Acquisitions of Domestic Enterprises by Foreign Investors, or the M&A Rules, issued by six PRC governmental and regulatory agencies, including the MOFCOM and the CSRC, on August 8, 2006 and amended on June 22, 2009, require that an SPV formed for listing purposes and controlled directly or indirectly by PRC companies or individuals must obtain the approval of the CSRC in the event that the SPV acquires equity interests in the PRC companies in exchange for the shares of offshore companies.

 

The application of the M&A Rules remains unclear. Our PRC counsel, King & Wood Mallesons, has advised us that, under current PRC laws, rules and regulations and the M&A Rules, prior approval from the CSRC is not required under the M&A Rules for our initial public offering because (i) our PRC subsidiaries were incorporated as foreign-invested enterprises by means of foreign direct investments at the time of their incorporation, and (ii) we did not acquire any equity interests or assets of a PRC company owned by its controlling shareholders or beneficial owners who are PRC companies or individuals, as such terms are defined under the M&A Rules. However, as there has been no official interpretation or clarification of the M&A Rules, there is uncertainty as to how these rules will be implemented in practice. See “Item 3. Key Information—D. Risk Factors—Risks Related to Doing Business in the People’s Republic of China—Certain PRC regulations establish more complex procedures for acquisitions conducted by foreign investors that could make it more difficult for us to grow through acquisitions.”

 

56



Table of Contents

 

C.                                                   Organizational Structure

 

Our Corporate Structure

 

The following diagram illustrates our corporate structure as of the date of this annual report. It omits certain entities that are immaterial to our results of operations, business and financial condition. Unless otherwise indicated, equity interests depicted in this diagram are held as to 100%. The relationship between us and the VIE as illustrated in this diagram is governed by contractual arrangements and does not constitute equity ownership:

 

 


(1)             Two PRC individuals, Wei Chen and Lili He, who are relatives of Mr. Shao-Ning Johnny Chou, and Hangzhou Ali Venture Capital Co., Ltd., a PRC domestic company and consolidated entity of Alibaba, hold 36.285%, 36.285% and 27.43%, respectively, equity interest in the VIE.

(2)             Primarily involved in the provision of BEST Express services.

(3)             Primarily involved in the provision of BEST Cloud services.

(4)             Primarily involved in the provision of BEST Supply Chain Management, BEST Freight, and BEST UCargo services.

(5)             Primarily involved in the provision of BEST Store+ services.

(6)             Primarily involved in the provision of BEST Supply Chain Management services.

(7)             Shareholders’ Voting Rights Proxy Agreement; Exclusive Call Option Agreement.

(8)             Shareholders’ Voting Rights Proxy Agreement; Exclusive Call Option Agreement.

(9)             Shareholders’ Voting Rights Proxy Agreement; Exclusive Call Option Agreement.

(10)        Loan Agreements; Exclusive Call Option Agreement; Shareholders’ Voting Rights Proxy Agreement; Equity Pledge Agreement.

(11)        Exclusive Technical Services Agreement; Exclusive Call Option Agreement; Shareholders’ Voting Rights Proxy Agreement; Equity Pledge Agreement.

 

Variable Interest Entity Contractual Arrangements

 

Due to PRC legal restrictions on foreign ownership and investment in, among other areas, domestic mail delivery services as well as value-added telecommunication business, we, similar to all other entities with foreign-incorporated holding company structures operating in our industry in the PRC, provide the services that may be subject to such restrictions in the PRC through Hangzhou BEST Network Technologies Co., Ltd., our VIE. The VIE, which is incorporated in the PRC and 100% owned by PRC citizens and a PRC entity owned by PRC citizens, holds a courier service operation permit that allows it to provide domestic mail delivery services in addition to parcel delivery services and an ICP license that allows it to provide value-added telecommunication services, all of which may constitute part of our comprehensive service offerings. Two PRC individuals, Wei Chen and Lili He, who are relatives of Mr. Shao-Ning Johnny Chou and Hangzhou Ali Venture Capital Co., Ltd., a domestic PRC company and consolidated entity of Alibaba, hold 36.285%, 36.285% and 27.43%, respectively, equity interest in our VIE.

 

We generate the majority of our revenue through our VIE. We have entered into certain contractual arrangements, as described in more detail below, which collectively enable us to exercise effective control over the VIE and receive substantially all of the economic risks and benefits generated from its operation through Zhejiang BEST. As a result, we include the financial results of the VIE in our consolidated financial statements in accordance with U.S. GAAP as if it were our wholly-owned subsidiary. The following is a summary of the contractual arrangements that provide us with effective control of our VIE and that enable us to receive substantially all of the economic benefits from its operations.

 

57



Table of Contents

 

Contracts that give us effective control of the VIE

 

Loan Agreements

 

Zhejiang BEST entered into loan agreements with Wei Chen and Lili He in 2011 and with Hangzhou Ali Venture Capital Co., Ltd. in 2015, respectively. Pursuant to these loan agreements, Zhejiang BEST has granted an interest-free loan to each of the VIE equity holders, which may only be used for the purpose of a capital contribution to the VIE. Zhejiang BEST agreed not to ask the VIE equity holders to repay the loans unless the relevant VIE equity holder violates its undertakings provided in the loan agreements. The VIE equity holders undertook, among others, not to transfer any of its equity interests in the VIE to any third party. The loans are repayable by such VIE equity holders through a transfer of their equity interests in the VIE to Zhejiang BEST or its designated party, in proportion to the amount of the loans to be repaid. The loan agreements remain effective until the relevant loans are repaid in full or Zhejiang BEST relinquishes its rights under the relevant loan agreements.

 

Amended and Restated Exclusive Call Option Agreement

 

Pursuant to the amended and restated exclusive call option agreement among us, Zhejiang BEST, the VIE and its equity holders, dated June 21, 2017, the VIE equity holders have granted Zhejiang BEST and us, or a party designated by us or Zhejiang BEST, the exclusive and irrevocable call option rights to purchase part or all of their equity interests in the VIE at an exercise price equal to the minimum price as permitted by applicable Chinese laws. The VIE has further granted Zhejiang BEST and us, or a party designated by us or Zhejiang BEST, an exclusive call option to purchase part or all of its assets also at an exercise price equal to the minimum price as permitted by applicable PRC laws. At our sole discretion, we have the right to decide whether the option and other rights granted under the agreement will be exercised by us, Zhejiang BEST or a party designated by us. Each of the VIE equity holders may not, among other things, transfer any part of their equity interests to any party other than to us or Zhejiang BEST, or a party designated by us or Zhejiang BEST, pledge or create or permit any security interest or similar encumbrance to be created on all or any part of its equity interests, increase or decrease the registered capital of the VIE, terminate or cause to terminate any material contracts of the VIE, or cause the VIE to declare or distribute profits, bonuses or dividends. We are obligated, to the extent permitted by PRC laws, to provide financing support to the VIE in order to meet the cash flow requirements of its ordinary operations and to offset any loss from such operations. We and Zhejiang BEST are not entitled to request repayment if the VIE or its equity holders are unable to repay such financial support. The amended and restated exclusive call option agreement remains in effect until all the equity interests or assets that are the subject of the agreement are transferred to us or Zhejiang BEST, or a party designated by us or Zhejiang BEST, or if we or Zhejiang BEST unilaterally terminate the agreement with 30 days’ prior written notice. Unless otherwise provided by law, the VIE and its equity holders are not entitled to unilaterally terminate this agreement under any circumstances.

 

Amended and Restated Shareholders’ Voting Rights Proxy Agreement

 

Pursuant to the amended and restated shareholders’ voting rights proxy agreement among us, Zhejiang BEST, the VIE and its equity holders, dated June 21, 2017, each of the VIE equity holders has irrevocably authorized any person designated by Zhejiang BEST, with our consent, to exercise its rights as an equity holder of the VIE in a manner approved by us, including but not limited to the rights to attend and vote at equity holders’ meetings and appoint directors and senior management. The amended and restated proxy agreement remains effective until such time as the relevant VIE equity holder no longer holds any equity interest in the VIE.

 

Amended and Restated Equity Pledge Agreement

 

Pursuant to the amended and restated equity pledge agreement among Zhejiang BEST, the VIE and its equity holders, dated June 21, 2017, the relevant VIE equity holders have pledged all of their equity interests in the VIE as a continuing first priority security interest in favor of Zhejiang BEST to secure the outstanding amounts advanced under the relevant loan agreements described above and to secure the performance of obligations by the VIE and/or its equity holders under the other contractual arrangements. Zhejiang BEST is entitled to exercise its right to dispose of the VIE equity holders’ pledged interests in the equity of the VIE and has priority in receiving payment by the application of proceeds from the auction or sale of such pledged interests, in the event of any breach or default under the loan agreements or other contractual arrangements, if applicable. All of the equity pledges have been registered with the relevant office of the Administration for Industry and Commerce in China. The amended and restated equity pledge agreement will expire when all obligations under this amended and restated equity pledge agreement or under the aforementioned loan agreements, amended and restated exclusive call option agreement, amended and restated shareholders’ voting rights proxy agreement and amended and restated exclusive technical services agreement have been satisfied.

 

Contract that enables us to receive substantially all of the economic benefits from the VIE

 

Amended and Restated Exclusive Technical Services Agreement

 

On June 21, 2017, our VIE entered into an amended and restated exclusive technical services agreement with Zhejiang BEST, pursuant to which Zhejiang BEST provides exclusive technical services to the VIE. In exchange, the VIE pays a service fee to Zhejiang BEST that is based on a predetermined formula based on the financial performance of the VIE. During the term of this agreement, Zhejiang BEST is entitled to adjust the service fee at its sole discretion without the consent of the VIE. Zhejiang BEST will exclusively own any intellectual property arising from the performance of this agreement. This amended and restated exclusive technical services agreement has an initial contract term of 20 years and may be automatically renewed for another 20 years unless Zhejiang BEST notifies the VIE of its intent not to renew with at least three months’ prior notice. Zhejiang BEST is entitled to terminate the agreement unilaterally with 30 days’ prior written notice, while the VIE is not entitled to unilaterally terminate this agreement under any circumstances.

 

58



Table of Contents

 

We have been advised by our PRC legal counsel that there are substantial uncertainties regarding the interpretation and application of current and future PRC laws, rules and regulations. Accordingly, the PRC regulatory authorities may in the future take a view that is contrary to the opinion of our PRC legal counsel. We have been further advised by our PRC legal counsel that if the PRC government finds that the agreements that establish the structure for operating our domestic mail delivery services and Internet related value-added business do not comply with PRC government restrictions on foreign investment in the aforesaid business we engage in, we could be subject to severe penalties including being prohibited from continuing operations. See “Item 3. Key Information—D. Risk Factors—Risks Related to Our Corporate Structure.”

 

Subsidiaries of BEST Inc.

 

An exhibit containing a list of our significant subsidiaries has been filed with this annual report.

 

D.                                                   Property, Plants and Equipment

 

Please refer to “B. Business Overview—Properties” for a discussion of our property, plants and equipment.

 

ITEM 4A.                                                   UNRESOLVED STAFF COMMENTS

 

None.

 

ITEM 5.                                                   OPERATING AND FINANCIAL REVIEW AND PROSPECTS

 

Unless otherwise stated, the discussion and analysis of our financial condition and results of operation in this section apply to our financial information as prepared according to U.S. GAAP. You should read the following discussion and analysis of our financial condition and operating results in conjunction with our consolidated financial statements and the related notes included elsewhere in this annual report. The following discussion contains forward-looking statements based upon current expectations that involve risks and uncertainties. Our actual results and the timing of selected events may differ materially from those anticipated in these forward-looking statements as a result of various factors, including those set forth under “Item 3. Key Information—D. Risk Factors.”

 

A. Operating Results

 

Overview

 

Our Chairman and Chief Executive Officer, Mr. Shao-Ning Johnny Chou, founded BEST in 2007, in the belief that technology and business model innovation can disrupt and transform the inefficient logistics and supply chain industry in China. We are focused on maximizing long-term value propositions to businesses and consumers in our ecosystem through comprehensive integrated services and enhanced experiences driven by technology and service quality. Our multi-sided platform combines technology, integrated logistics and supply chain services, last-mile services and value-added services. We believe we are well positioned to transform the logistics and supply chain industry in China and capture growth opportunities in the New Retail era.

 

We have achieved superior revenue growth. Our total revenue increased by 68.3% from RMB5,256.3 million in 2015 to RMB8,844.1 million in 2016, and further increased by 126.0% to RMB19,989.6 million (US$3,072.3 million) in 2017. We had net losses of RMB1,059.4 million, RMB1,363.5 million and RMB1,228.1 million (US$188.7 million) in 2015, 2016 and 2017, respectively. Our gross margin has improved from negative 10.2% in 2015, to negative 6.0% in 2016, and further to 2.4% in 2017, respectively, as a result of operating leverage and improved operating efficiency.

 

Our Business Philosophy

 

Our brand name in Chinese, “” means hundreds of generations. Our business philosophy is to build and invest for the long-term. Since inception, we have focused on building a platform to meet evolving market demands with Smart Supply Chain solutions. We are committed to continuing investment in and enhancement of our platform, which we believe will generate long-term benefits.

 

Platform Infrastructure.  We have invested in and established our proprietary technology infrastructure, which is the backbone of the integrated solutions we offer, as well as our integrated supply chain service network, which has significant scale and density. With the platform infrastructure in place, we expect to continue to reap the benefits of our investments.

 

Comprehensive Solutions.  Leveraging our platform, we have successfully launched multiple services, which allow customers to enjoy comprehensive solutions from a single source. We believe this gives us a strong competitive advantage, especially over monoline service providers. Our platform also allows us to introduce additional innovative solutions and services, capture more cross-selling opportunities and generate strong network effects, driving further growth.

 

Operating Leverage.  Our business enjoys significant operating leverage, and as our business continues to expand, we expect to enjoy greater economies of scale. In addition, we will leverage our technology and synergies across our different services to increase operational efficiency.

 

Asset-Light Business Model.  Our business model allows us to scale quickly while optimizing our levels of capital investment and enables us to maintain effective control over our network and service quality that will cultivate customer stickiness. See also “Business—Our Competitive Strengths—Flexible asset-light business model for control and scale” and “Business—Asset-Light Business Model.”

 

59



Table of Contents

 

Guided by our business philosophy, we believe our platform will enable us to continue driving growth, increasing operating leverage and generating long-term value to our ecosystem participants and our shareholders.

 

Our Scale and Growth

 

We have achieved significant scale and growth in our business. The following table illustrates the growth in key operating metrics of our major service lines:

 

 

 

For the three months ended

 

 

 

Mar. 31,
2015

 

Jun. 30,
2015

 

Sep. 30,
2015

 

Dec. 31,
2015

 

Mar. 31,
2016

 

Jun. 30,
2016

 

Sep. 30,
2016

 

Dec. 31,
2016

 

Mar. 31,
2017

 

Jun. 30,
2017

 

Sep. 30,
2017

 

Dec. 31,
2017

 

BEST Supply Chain Management

 

 

 

 

 

 

 

 

 

 

 

 

 

 

 

 

 

 

 

 

 

 

 

 

 

Number of orders fulfilled by self-operated Cloud OFCs (in thousands)(1)

 

5,345

 

8,130

 

11,558

 

19,964

 

13,916

 

19,838

 

20,991

 

33,318

 

23,560

 

32,578

 

32,537

 

43,570

 

Number of orders fulfilled by franchised Cloud OFCs (in thousands)

 

966

 

1,363

 

2,201

 

4,296

 

4,280

 

6,617

 

7,980

 

13,725

 

8,872

 

11,840

 

10,514

 

17,007

 

BEST Express

 

 

 

 

 

 

 

 

 

 

 

 

 

 

 

 

 

 

 

 

 

 

 

 

 

Parcel volume (in thousands)(1)

 

212,449

 

324,425

 

345,983

 

519,244

 

375,163

 

508,379

 

524,800

 

757,179

 

571,601

 

917,103

 

1,010,512

 

1,270,168

 

BEST Freight

 

 

 

 

 

 

 

 

 

 

 

 

 

 

 

 

 

 

 

 

 

 

 

 

 

Freight volume (tonnage in thousands)(1)

 

206

 

330

 

428

 

543

 

466

 

676

 

825

 

1,015

 

790

 

1,095

 

1,194

 

1,237

 

BEST Store+

 

 

 

 

 

 

 

 

 

 

 

 

 

 

 

 

 

 

 

 

 

 

 

 

 

Number of store orders fulfilled

 

N/A

 

N/A

 

2,572

 

7,579

 

9,971

 

61,059

 

275,375

 

341,287

 

333,876

 

570,356

 

702,815

 

647,044

 

 


(1)       Includes services performed for external customers both directly and indirectly through our other segments. For discussion of our total segment revenue, which includes both external revenue and intersegment revenue, please see “—Segment Financial Information.”

 

Key Factors Affecting Our Results of Operations

 

We believe that our results of operations are directly affected by the following key factors.

 

Macroeconomic Trends and Consumption in China

 

Our results of operations and financial condition are affected by the general factors driving China’s economy, the retail industry, and logistics and supply chain market. These factors include levels of per capita disposable income, levels of consumer spending, rate of Internet and mobile penetration, and other general economic conditions in China that affect consumption and business activities in general. Our results of operations are also affected by seasonal patterns. For example, the fourth quarter has historically been our strongest quarter by volume, led by the Singles’ Day and December 12 promotion periods. As our customers reduce activity in connection with Chinese holidays, such as Chinese New Year, the first quarter historically has been a low volume quarter.

 

In particular, we anticipate additional growth from the trend toward a New Retail paradigm, which is the seamless integration of online and offline retail enabled by Smart Supply Chain. The emergence of New Retail and transformation of the logistics and supply chain industry affect the demand for our services and our business opportunities.

 

Competitive Landscape

 

We are able to provide comprehensive, integrated supply chain solutions leveraging our technology infrastructure and supply chain service network, which differentiates us from monoline service providers. Our ability to strengthen our market position as a leading comprehensive supply chain solution provider and offer innovative services in the New Retail era will continue to affect our results of operations.

 

Each of our service lines is also subject to trends specific to such services, including market demand and competitive landscape. Therefore, we also compete with companies providing similar services, especially with respect to more standard services such as express and freight services. This will affect the pricing of our services, our ability to acquire customers for such services and our results of operation.

 

Service Offerings

 

We provide a variety of services to meet the needs of our customers. We plan to continue leveraging technology and business model innovation to expand and enhance our service offerings.

 

Each of our service offerings may have different revenue sources, cost structures and customer bases and may face different market conditions. Therefore, the ability to adjust our service offerings to adapt to changing market conditions may impact our results of operations.

 

Our consolidated results of operations may also be affected by the timing of the launch of new service offerings. We may incur start-up costs in the early stages. A certain amount of time may be needed to ramp up operations. The timing and trend in revenue growth and profitability of new services may vary over time.

 

60



Table of Contents

 

Our ability to cross-sell various service offerings to existing and new customers will also affect our results of operations.

 

Operating Leverage and Efficiency

 

Our ability to control costs, increase operating efficiencies and scale our business effectively may affect our results of operations.

 

Costs to operate our businesses, including transportation, labor, lease and other costs are subject to factors such as fluctuations in fuel prices, increases in wage rates and leasing costs, among other things. These factors will affect our ability to control costs.

 

Our results of operations are also affected by our ability to (i) utilize latest technology to improve efficiencies across our business and data insights to drive optimization in our services, and (ii) take full advantage of our asset-light business model to expand our business operations in a cost-effective manner, leverage the resources and operating capabilities of our franchisee partners and transportation service providers, and dynamically adjust our network design and capacity.

 

The continued growth of our business and expansion of our market share will impact our ability to benefit from economies of scale, including optimization of our supply chain service network, reduction of unit costs and the strengthening of our bargaining power with suppliers and service providers.

 

Technology and Talent

 

We have made investments in developing our proprietary technology infrastructure. We believe the further enhancement of our technology infrastructure is important to our future performance. We expect to continue to make investments for development and implementation of new technologies. We will continue to hire, train and retain our talent to reinforce our culture of innovation. We have in the past granted and will in the future grant share-based awards to incentivize and retain talent. Costs for past granted share-based awards vesting upon the completion of this offering will be recognized at that time, and we will continue to recognize future share-based compensation expenses on an ongoing basis.

 

Strategic Acquisitions and Investments

 

We may selectively pursue acquisitions, investments, joint ventures and partnerships that we believe are strategic and complementary to our operations and technology. These acquisitions, investments, joint ventures and partnerships may affect our results of operations.

 

Critical Accounting Policies and Significant Judgments and Estimates

 

Our discussion and analysis of our financial condition and results of operations is based on our financial statements, which have been prepared in accordance with U.S. GAAP. The preparation of these financial statements requires us to make estimates and assumptions that affect the reported amounts of assets, liabilities and the disclosure of contingent assets and liabilities at the date of our financial statements and the reported amounts of revenue and expenses during the periods. We evaluate our estimates and judgments on an ongoing basis, including but not limited to, allowance for doubtful accounts, useful lives of long-lived assets, the purchase price allocation with respect to business combinations, impairment of long-lived assets and goodwill, realization of deferred tax assets, share based compensation and the fair value of financial instruments. We base our estimates on historical experience, known trends and events, contractual milestones and other various factors that are believed to be reasonable under the circumstances, the results of which form the basis for making judgments about the carrying values of assets and liabilities that are not readily apparent from other sources. Our actual results may differ from these estimates under different assumptions or conditions.

 

Revenue recognition

 

Revenue is recognized only when the price is fixed or determinable, persuasive evidence of an arrangement exists, the service is performed and collectability of the related fee is reasonably assured based on the guidance in ASC 605, Revenue Recognition. Non-refundable payments received before all of the relevant criteria for revenue recognition are satisfied are recorded as customer advances and deposits on the consolidated balance sheets.

 

Multiple contracts with the same customer are accounted for as separate arrangements if they are not contemplated together as one linked transaction, and have different business substance, and the occurrence of one arrangement is not dependent upon another. Historically, we have not entered into multiple contracts with the same counterparty that should be accounted for as a single combined arrangement.

 

Our business is subject to value added taxes, or VAT, and tax surcharges assessed by governmental authorities. Pursuant to ASC 605-45, Revenue Recognition—Principal Agent Considerations, we elected to present VAT and tax surcharges as a reduction of revenue on the consolidated statements of comprehensive loss.

 

Supply chain management

 

We provide order fulfillment services (through our self-operated OFCs) and transportation services to our online and offline enterprise customers. Order fulfillment service arrangements comprise of various service offerings that can be purchased at the option of our customers. Each of the service options are substantive and our customers cannot purchase each additional service at a significant and incremental discount. Therefore, we account for each service separately. We are the primary obligor and do not outsource any portion of the order fulfillment services to supply chain franchisee partners.

 

61



Table of Contents

 

Revenue for order fulfillment services is recognized upon completion of the services and revenue for transportation services is recognized upon delivery of shipments to end recipients.

 

Express

 

We provide express services that comprise of sorting, line-haul and feeder transportation services to our franchisee service stations, which are also our customers, when our franchisee service station customers drop off the parcels (under 15 kg) at our first hub or sortation center. Prior to 2017, we were not responsible for last-mile delivery of the parcels and our customers were separately engaging with, and directly liable to, the last-mile delivery service stations for their delivery service and related fees. The express fees we earned from our customers were based on the parcel’s weight and route to our last destination hub or sortation center. Therefore, we recognized revenue when the parcels were picked up from our last destination hub or sortation center by franchisee partners operating the last-mile delivery service stations for delivery to end recipients.

 

Starting in 2017, in order to enhance the parcel delivery experience and our control over service quality throughout our network, we revised our arrangements and service offerings with franchisee service stations to offer an integrated service that includes last-mile delivery service to end recipients in addition to the existing express services. As a result, we act as the principal that is directly responsible for all parcels sent through our network, from the point when the parcels are dropped off at our first hub or sortation center all the way through to the point when the parcels are delivered to end recipients. The fees we now earn from our franchisee partners are based on the parcel’s weight and route to the end recipient’s destination. Therefore, starting in 2017, we recognize revenue upon delivery of the parcels to end recipients.

 

A minor percentage of our express delivery services are performed by our self-operated service stations for direct customers, which are the senders of the parcels. We are directly responsible for the parcel from the point it is received from the senders all the way through the point when the parcels are delivered to end recipients. Direct customer revenues are recognized when the parcels are delivered to the end recipients by last-mile delivery service stations, including stations operated by us.

 

Freight

 

Similar to our express service offerings, we provide freight services that are comprised of sorting, line-haul and feeder transportation services mainly to franchisees, which are our customers. Prior to 2017, our customers directly engaged the last-mile delivery service stations that delivered the shipments to the end recipients. The freight fees we earned from our customers were based on the shipment’s weight and route to our last destination hub or sortation center. Therefore, we recognized revenue when the freight shipments were picked up from our last destination hub or sortation center for delivery to end recipients.

 

Starting in 2017, in order to enhance our freight service experience and our control over service quality throughout our network, we revised our contractual arrangements and service offerings with franchisee partners to offer an integrated service that includes last-mile delivery service to end recipients in addition to the existing freight services. As a result, we act as the principal that is directly responsible for all shipments sent through our network, from the point when customers drop off the shipments at our first hub or sortation center all the way through the point to when the shipments are delivered to end recipients. The freight fees we now earn from our customers are based on the shipment’s weight and route to the end recipient’s destination. Therefore, starting in 2017, we recognize revenue upon delivery of the shipments to end recipients.

 

Store+

 

We recognize revenue upon the delivery of consumer goods to our convenience store membership customers. Starting in May 2017, we also generate and recognize revenue upon the sales of merchandise to end consumers who make purchases in our self-operated convenience stores. We are the principal to the transaction for these services and bear inventory risk on the merchandise, therefore, we recognize revenue on a gross basis.

 

Other services

 

We mainly provide cross-border logistic coordination services and finance leasing services. For cross-border logistic coordination services, we recognize revenue upon completion of the services. Revenue from interest income on financing leases is recognized using the effective interest rate method. We are the principal to the transaction for these services and revenue from these transactions is recognized on a gross basis.

 

Accounting for Consideration Given by a Vendor to a Customer

 

We account for payments to franchisee service stations, who are also our customers in separate express delivery and freight delivery service transactions in accordance with ASC 605-50, Revenue Recognition: Customer Payments and Incentives. As we receive an identifiable benefit in return for the consideration (i.e. last mile delivery services) that is sufficiently separable and has a standalone estimate of fair value, the payments are recorded as cost of revenue.

 

62



Table of Contents

 

Share-based compensation

 

Awards granted to employees

 

We apply ASC 718, Compensation—Stock Compensation, or ASC 718, to account for our employee share-based payments. In accordance with ASC 718, we determined whether an award should be classified and accounted for as a liability award or equity award. All of our share-based awards to employees were classified as equity awards and are recognized in the consolidated financial statements based on their grant date fair values. For awards only with service conditions, we have elected to recognize compensation expense using the straight-line method for all awards granted with graded vesting based on service conditions provided that the amount of compensation cost recognized at any date is at least equal to the portion of the grant date value of the options that are vested at that date. For awards with performance and service conditions, we use the accelerated method for all awards granted with graded vesting based on performance conditions. We account for forfeitures as they occur.

 

With the assistance of an independent third party valuation firm, we determined the fair value of the stock options granted to employees. The binomial option pricing model was applied in determining the estimated fair value of the options granted to employees.

 

Given that the inability of the employees to exercise these options or receive any ordinary shares until the completion of the IPO constituted a performance condition that was not considered probable until the IPO completion date, we did not recognize any compensation expense until the IPO occurred. Upon the IPO completion date, we immediately recognized expenses associated with options that were vested as of the IPO completion date. In addition, we will also recognize the remaining compensation expenses over the remaining service requisite period using the accelerated method.

 

Awards granted to non-employees

 

We account for equity instruments issued to non-employees in accordance with ASC 505-50, Equity—Equity-based payments to non-employees. All transactions in which goods or services are received in exchange for equity instruments are accounted for based on the fair value of the consideration received or the fair value of the equity instrument issued, whichever is more reliably measurable. The measurement date of the fair value of the equity instrument issued is the date on which the counterparty’s performance is completed as there is no associated performance commitment. The expense is recognized in the same manner as if we had paid cash for the services provided by the non-employees.

 

Given that the inability of the non-employees to exercise these options or receive any ordinary shares until the completion of the IPO constituted a performance condition that was not considered probable until the IPO completion date, we did not recognize any compensation expense until the IPO occurred. Upon the IPO completion date, we immediately recognized expenses associated with options that were vested as of the IPO completion date. In addition, we will also recognize the remaining compensation expenses over the remaining service requisite period using the accelerated method.

 

Modification of awards

 

A change in any of the terms or conditions of the awards is accounted for as a modification of the award. Incremental compensation cost is measured as the excess, if any, of the fair value of the modified award over the fair value of the original award immediately before its terms are modified, measured based on the fair value of the awards and other pertinent factors at the modification date. For vested awards, we recognize incremental compensation cost in the period the modification occurs. For unvested awards, we recognize over the remaining requisite service period, the sum of the incremental compensation cost and the remaining unrecognized compensation cost for the original award on the modification date. If the fair value of the modified award is lower than the fair value of the original award immediately before modification, the minimum compensation cost we recognize is the cost of the original award.

 

Consolidation of a variable interest entity

 

Due to PRC legal restrictions on foreign ownership and investment in, among other areas, domestic mail delivery services as well as value-added telecommunication business, we provide the services that may be subject to such restrictions in the PRC through our VIE.

 

Despite the lack of technical majority ownership, our wholly owned subsidiary, Zhejiang BEST, has effective control of the VIE through a series of contractual arrangements, or the Contractual Agreements, and a parent-subsidiary relationship exists between Zhejiang BEST and the VIE. The equity interests of the VIE are legally held by Chinese individuals, or the nominee shareholders. Through the Contractual Agreements, the nominee shareholders of the VIE effectively assign all of their voting rights underlying their equity interests in the VIE to Zhejiang BEST. In addition, through the terms of the Contractual Agreements, Zhejiang BEST demonstrates its ability and intention to continue to exercise the ability to absorb substantially all of the profits and all of the expected losses of the VIE. As a result of the Contractual Agreements, we have the power to direct the activities of the VIE that most significantly impact its economic performance and, is entitled to substantially all of the economic benefits from the VIE through Zhejiang BEST. Therefore, we consolidate the VIE in accordance with SEC Regulation SX-3A-02 and Accounting Standards Codification, or ASC, topic 810-10, Consolidation: Overall.

 

In June 2017, the power and the rights pursuant to the Proxy Agreement were effectively reassigned from Zhejiang BEST to BEST Inc., resulting in BEST Inc. having the power to direct the activities of the VIE that most significantly impact the VIE’s economic performance. In addition, BEST Inc. is obligated to absorb the expected losses of the VIE through the financial support provided pursuant to the amended and restated Equity Option Agreement. Therefore, we determined BEST Inc. to be most closely associated with the VIE within the group of related parties, and BEST Inc. has replaced Zhejiang BEST as the primary beneficiary of the VIE since June 2017. As the VIE was subject to indirect control by us through Zhejiang BEST immediately before and direct control immediately after the Contractual Agreements were supplemented, we accounted for the change in primary beneficiary of the VIE as a common control transaction based on the carrying amount of the net assets transferred.

 

63



Table of Contents

 

For more information on consolidation of a variable interest entity, see Note 1 to our audited consolidated financial statements appearing elsewhere in this annual report.

 

Business Combinations

 

Business combinations are accounted for using the purchase method of accounting in accordance with ASC, topic 805, Business Combinations, or ASC 805. The purchase method of accounting requires that the consideration transferred to be allocated to the assets, including separately identifiable assets and liabilities we acquired, based on their estimated fair values. The consideration transferred in an acquisition is measured as the aggregate of the fair values at the date of exchange of the assets given, liabilities incurred, and equity instruments issued as well as the contingent consideration and all contractual contingencies as of the acquisition date. The costs directly attributable to the acquisition are expensed as incurred. Identifiable assets, liabilities and contingent liabilities acquired or assumed are measured separately at their fair value as of the acquisition date, irrespective of the extent of any non-controlling interests. The excess of (i) the total of cost of acquisition, fair value of the non-controlling interests and acquisition date fair value of any previously held equity interest in the acquiree over (ii) the fair value of the identifiable net assets of the acquiree, is recorded as goodwill. If the cost of acquisition is less than the fair value of the net assets of the subsidiary acquired, the difference is recognized directly in earnings.

 

The determination and allocation of fair values to the identifiable assets acquired, liabilities assumed and non-controlling interests is based on various assumptions and valuation methodologies requiring considerable judgment from management. The most significant variables in these valuations are discount rates, terminal values, the number of years on which to base the cash flow projections, as well as the assumptions and estimates used to determine the cash inflows and outflows. We determine discount rates to be used based on the risk inherent in the related activity’s current business model and industry comparisons. Terminal values are based on the expected life of assets, forecasted life cycle and forecasted cash flows over that period.

 

Goodwill

 

We assess goodwill for impairment in accordance with ASC 350-20, Intangibles—Goodwill and Other: Goodwill, or ASC 350-20, which requires that goodwill be tested for impairment at the reporting unit level at least annually and more frequently upon the occurrence of certain events, as defined by ASC 350-20.

 

We have determined that there are five reporting units (that also represent operating segments). Goodwill was allocated to two and four reporting units as of December 31, 2016 and 2017, respectively. We have the option to assess qualitative factors first to determine whether it is necessary to perform the two-step test in accordance with ASC 350-20. If we believe, as a result of the qualitative assessment, that it is more-likely-than-not that the fair value of the reporting unit is less than its carrying amount, the two-step quantitative impairment test described above is required. Otherwise, no further testing is required. In the qualitative assessment, we consider primary factors such as industry and market considerations, overall financial performance of the reporting unit, and other specific information related to the operations.

 

In performing the two-step quantitative impairment test, the first step compares the carrying amount of the reporting unit to the fair value of the reporting unit based on either quoted market prices of the ordinary shares or estimated fair value using a combination of the income approach and the market approach. If the fair value of the reporting unit exceeds the carrying value of the reporting unit, goodwill is not impaired and we are not required to perform further testing. If the carrying value of the reporting unit exceeds the fair value of the reporting unit, then we must perform the second step of the impairment test in order to determine the implied fair value of the reporting unit’s goodwill. The fair value of the reporting unit is allocated to its assets and liabilities in a manner similar to a purchase price allocation in order to determine the implied fair value of the reporting unit goodwill. If the carrying amount of the goodwill is greater than its implied fair value, the excess is recognized as an impairment loss in general and administrative expenses.

 

For the years ended December 31, 2016 and 2017, we performed a qualitative assessment for the express delivery and Freight delivery services reporting units based on the requirements of ASC 350-20. We evaluated all relevant factors, weighed all factors in their entirety and concluded that it was not more likely than not that the fair values of the express delivery and Freight delivery services reporting units were less than their respective carrying amounts. Therefore, further impairment testing on goodwill was unnecessary as of December 31, 2016 and 2017, respectively.

 

For the year ended December 31, 2017, we performed a quantitative assessment for all remaining reporting units other than express delivery and freight delivery services by estimating the fair value of the reporting units based on an income approach. The fair values of these remaining reporting units exceeded their respective carrying values and therefore, goodwill related to these reporting units was not impaired.

 

Impairment of long-lived assets other than goodwill

 

We evaluate our long-lived assets, including fixed assets and intangible assets with finite lives, for impairment whenever events or changes in circumstances, such as a significant adverse change to market conditions that will impact the future use of the assets, indicate that the carrying amount of an asset may not be fully recoverable. When these events occur, we evaluate the recoverability of long-lived assets by comparing the carrying amount of the assets to the future undiscounted cash flows expected to result from the use of the assets and their eventual disposition. If the sum of the expected undiscounted cash flows is less than the carrying amount of the assets, we recognize an impairment loss based on the excess of the carrying amount of the assets over their fair value. Impairment losses are included in general and administrative expenses.

 

64



Table of Contents

 

Modification of redeemable convertible preferred shares

 

We assess whether an amendment to the terms of our redeemable convertible preferred shares is an extinguishment or a modification using the fair value model. If the fair value of the redeemable convertible preferred shares immediately after the amendment changes by more than 10 percent from the fair value of the redeemable convertible preferred shares immediately before the amendment, the amendment is considered an extinguishment. An amendment that does not meet this criterion is a modification. When redeemable convertible preferred shares are extinguished, the difference between the fair value of the consideration transferred to the redeemable convertible preferred shareholders and the carrying amount of the redeemable convertible preferred shares (net of issuance costs) is treated as a deemed dividend to the redeemable convertible preferred shareholders. When redeemable convertible preferred shares are modified, the increase of the fair value immediately after the amendment is treated as a deemed dividend to the redeemable convertible preferred shareholders. Modifications that result in a decrease in the fair value of the redeemable convertible preferred shares are not recognized.

 

Significant Factors, Assumptions and Methodologies Used in Determining Fair Value

 

The fair value of each share option grant is estimated using the binomial option-pricing model. The model requires the input of highly subjective assumptions including the estimated expected share price volatility and, the share price upon which (i.e. the exercise multiple) the employees are likely to exercise share options. We historically have been a private company and lack information on our share price volatility. Therefore, we estimate our expected share price volatility based on the historical volatility of a group of similar companies, which are publicly-traded. When selecting these public companies on which we have based our expected share price volatility, we selected companies with characteristics similar to us, including the invested capital’s value, business model, risk profiles, position within the industry, and with historical share price information sufficient to meet the contractual life of our share-based awards. We will continue to apply this process until a sufficient amount of historical information regarding the volatility of our own share price becomes available. For the exercise multiple, as a private company, we were not able to develop an exercise pattern as reference, thus the exercise multiple is based on management’s estimation, which we believe is representative of the future exercise pattern of the options. The risk-free interest rates for the periods within the contractual life of the option are based on the U.S. Treasury yield curve in effect during the period the options were granted. Expected dividend yield is based on the fact that we have never paid, and do not expect to pay cash dividends in the foreseeable future.

 

The assumptions adopted to estimate the fair value of share options using the binomial option pricing model were as follows:

 

 

 

2015

 

2016

 

2017

 

Risk-free interest rate

 

2.13% - 2.27%

 

1.49% - 2.45%

 

2.32% - 2.41%

 

Expected volatility range

 

37.8% - 38.0%

 

37.5% - 37.8%

 

40.5% - 44.1%

 

Suboptimal exercise factor

 

2.20

 

2.20

 

2.20

 

Fair market value per share as at valuation date

 

US$2.51 - 3.78

 

US$5.17 - 5.53

 

US$5.08 - $11.24

 

 

These assumptions represented our best estimates, but the estimates involve inherent uncertainties and the application of our judgment. As a result, if factors change and we use significantly different assumptions or estimates when valuing our share options, our share-based compensation expense could be materially different.

 

Components of Results of Operations

 

Revenue

 

The following table sets forth our revenue from different service lines and as a percentage of our total revenue for the periods indicated:

 

 

 

For the year ended December 31,

 

 

 

2015

 

2016

 

2017

 

 

 

RMB

 

% of
Revenue

 

RMB

 

% of
Revenue

 

RMB

 

US$

 

% of
Revenue

 

 

 

(in thousands)

 

 

 

 

 

 

 

 

 

 

 

 

 

 

 

 

 

Revenue:

 

 

 

 

 

 

 

 

 

 

 

 

 

 

 

Supply chain management

 

828,431

 

15.8

%

1,241,356

 

14.0

%

1,600,952

 

246,062

 

8.0

%

Express

 

3,710,292

 

70.5

%

5,388,833

 

61.0

%

12,786,279

 

1,965,215

 

64.0

%

Freight

 

675,881

 

12.9

%

1,604,573

 

18.1

%

3,178,044

 

488,456

 

15.9

%

Store+

 

9,700

 

0.2

%

560,226

 

6.3

%

2,226,034

 

342,135

 

11.1

%

Others

 

32,023

 

0.6

%

49,149

 

0.6

%

198,253

 

30,471

 

1.0

%

Total revenue

 

5,256,327

 

100.0

%

8,844,137

 

100.0

%

19,989,562

 

3,072,339

 

100.0

%

 


Note: Revenue in the table above represents revenue from external customers.

 

Supply Chain Management

 

We generate supply chain management service revenue primarily from order fulfillment services and transportation services. Our order fulfillment service revenue is mainly generated from service fees paid by our customers for order fulfillment services offered through our self-operated Cloud OFCs. We also generate a small amount of order fulfillment service revenue from service system usage fee for each order processed through our network and other fees charged to franchisee partners operating Cloud OFCs.

 

65



Table of Contents

 

Order fulfillment service revenue of our self-operated Cloud OFCs is generated from various service fees charged on a volume basis in connection with various order fulfillment services, which include warehouse management, in-warehouse processing, order fulfillment, express delivery, freight and value-added services. Transportation from our self-operated Cloud OFCs is included in order fulfillment service revenue.

 

Transportation service revenue is generated from transportation of goods to and from locations designated by our customers, such as their factories, warehouses, distributors, stores, end-customers or consumers, including to our Cloud OFCs.

 

Our supply chain management service revenue is primarily driven by the number of orders fulfilled, the volume of the goods we process and the fees we negotiate with our customers. The fees we charge primarily depend on the scope of services they require, their size and scale, and the estimated amount of business volume.

 

Express

 

As most of the service stations in our express delivery network are operated by our franchisee partners, we derive the vast majority of our express service revenue from franchisee partners. We generate a small portion of our express service revenue from direct customers that use our express service.

 

Our express service revenue from franchisee partners is mainly generated from an integrated fee comprised of (i) a fixed-amount waybill fee for each parcel processed through our network, and (ii) a delivery service fee based on parcel weight, route and the scope of our services and responsibilities.

 

Prior to 2017, we were not responsible for last-mile delivery of the parcels unless we directly operated the destination service stations and, therefore, pick-up service stations were directly liable to destination service stations for their delivery service charges. Starting in 2017, in order to enhance the parcel delivery experience and our control over service quality throughout our network, we revised our arrangements with franchisee partners and the scope of our service. As a result, we became the principal that is directly responsible for last-mile delivery of all parcels processed through our network, and we are liable to senders for damage to or loss of parcels in connection with last-mile delivery. Therefore, in consideration of such expanded scope of services and increased responsibilities, we increased the fee that we charge to pick-up service stations. We provide the last-mile delivery service through either destination franchised service stations under our supervision or our self-operated service stations and are responsible for paying service fees to such destination franchised service stations for the provision of last-mile delivery services, which are recorded in our cost of revenue.

 

Our express service revenue also includes handling fees and service charges for certain value-added services, such as cash on delivery, or COD, facilitation. In addition, we generate revenue from sales to franchisee partners of ancillary items, such as BEST-branded packing materials.

 

Our express service revenue is primarily driven by our parcel volume and the fees we collect from our franchisee partners and direct customers for each parcel processed through our network. We determine and periodically evaluate and adjust our fee levels based on prevailing market conditions, our operating costs and service quality.

 

Freight

 

We have historically derived most of our freight service revenue from franchisee partners which operate all of the service stations in our freight network, with a small amount derived from our direct customers for whom we provide door-to-door freight services.

 

The components of our freight service revenue are similar to that of our express service revenue. See “—Components of Results of Operations—Revenue—Express” above. As with our express service revenue, starting in 2017, in order to enhance the freight delivery experience and our control over service quality throughout our network, we revised our arrangements with franchisee partners and the scope of our service. As a result, we became the principal that is directly responsible for last-mile delivery of all goods processed through our network, and we are liable to senders for damage to or loss of goods in connection with last-mile delivery. Therefore, in consideration of such expanded scope of services and increased responsibilities, we increased the fee that we charge to pick-up service stations. We provide the last-mile delivery service through destination franchised service stations under our supervision and are responsible for paying service fees to such destination franchised service stations for the provision of last-mile delivery services, which are recorded in our cost of revenue. We also generate freight service revenue from value-added services such as pre-shipment inspection, cargo insurance, COD facilitation, evidence of delivery, upstairs delivery and installation services.

 

Our freight service revenue is primarily driven by our freight volume and the fees we collect from our franchisee partners. We determine and periodically evaluate and adjust our fee levels based on prevailing market conditions, our operating costs and service quality.

 

Store+

 

We generate BEST Store+ revenue primarily from sales of merchandise to our membership stores. We acquired WOWO in May 2017, and since then, also generate revenue from sales of merchandise by our self-operated convenience stores to consumers.

 

66



Table of Contents

 

Our BEST Store+ revenue is primarily driven by the number of membership stores we serve and the volume of merchandise we sell to them through our B2B platform Dianjia.com. As most of the merchandise sold are standard consumer products, they are generally priced taking into account prevailing market rates and geographical locations of the stores.

 

Others

 

We also generate revenue from other business activities, including finance lease activities of BEST Capital as well as cross-border supply chain solutions and international transportation services of BEST Global. BEST Capital and BEST Global revenue is currently relatively small and will be driven by volume as their business expands. As we continue to expand these services and introduce new service lines, our revenue generated from other services may increase in the future.

 

Cost of Revenue

 

Our cost of revenue primarily consists of costs of transportation, labor, lease and materials; operating costs for hubs and sortation centers; depreciation and other costs. The following table presents our costs of revenue by service lines for the periods indicated:

 

 

 

For the year ended December 31,

 

 

 

2015

 

2016

 

2017

 

 

 

RMB

 

RMB

 

RMB

 

US$

 

 

 

(in thousands)

 

 

 

 

 

 

 

 

 

 

 

Cost of revenue

 

 

 

 

 

 

 

 

 

Supply chain management

 

795,099

 

1,183,245

 

1,502,570

 

230,941

 

Express

 

4,035,300

 

5,671,356

 

12,435,550

 

1,911,309

 

Freight

 

923,011

 

1,906,930

 

3,362,652

 

516,830

 

Store+

 

9,714

 

569,557

 

2,072,912

 

318,601

 

Others

 

27,584

 

45,479

 

130,327

 

20,031

 

Total cost of revenue

 

5,790,708

 

9,376,567

 

19,504,011

 

2,997,712

 

 

Supply Chain Management

 

Cost of revenue for our supply chain management services primarily consists of costs associated with our self-operated Cloud OFCs and transportation costs paid to transportation service providers. Costs associated with our self-operated Cloud OFCs primarily include labor costs, lease costs, equipment depreciation, costs of materials, such as for labeling and packing, utility and maintenance payments.

 

Some of these costs are relatively fixed in nature, such as lease and equipment costs. Other costs are more variable in nature, such as transportation, outsourced labor and materials costs. The launch of new self-operated Cloud OFCs or new projects will generally incur start-up costs in the early stages and requires time to ramp-up business volume. As operational scale increases over time, we will generally be able to reduce unit fixed costs.

 

Express

 

Cost of revenue for our express services mainly consists of (i) transportation costs paid to third-party service providers operating the routes in our network mainly connecting our hubs and sortation centers, (ii) labor costs for our hub and sortation center operations, including costs paid to outsourced workers, (iii) lease costs for our hubs and sortation centers and self-operated service stations, and (iv) starting from January 1, 2017, costs related to last-mile delivery services. Starting in 2017, in order to enhance the parcel delivery experience and our control over service quality throughout our network, we revised our arrangements with franchisee partners and the scope of our service to provide that we are directly responsible for last-mile delivery services. In 2017, we incurred cost of revenue of RMB4,973.4 million (US$764.4 million) that were attributable to fees for destination franchised service stations that we engaged for the provision of last-mile delivery service as part of our express delivery services. Other cost of revenue for express services includes costs for materials, depreciation of property and equipment, and utility and maintenance payments related to our operations.

 

Cost of revenue for our express services is comprised of fixed costs, such as lease costs, other facility costs and equipment costs, as well as variable costs, such as outsourced labor costs and materials used in our operations. As operational scale increases over time, we will generally be able to reduce unit fixed costs. Transportation costs are variable in nature but we are able to enjoy scale benefits by increasing capacity utilization of fleet for our core routes connecting our hubs and sortation centers and by employing larger vehicles to satisfy greater delivery volumes to drive lower unit transportation costs.

 

Freight

 

Cost of revenue for our freight services generally corresponds to the cost components of our express delivery services. In 2017, we incurred cost of revenue of RMB529.1 million (US$81.3 million) that were attributable to fees for destination franchised service stations that we engaged for the provision of last-mile delivery service as part of our freight services.

 

67



Table of Contents

 

Store+

 

Cost of revenue for our BEST Store+ services primarily includes procurement cost for merchandise that we sell to our membership stores through our B2B platform Dianjia.com and, following our acquisition of WOWO in May 2017, merchandise that we sell to consumers through our self-operated convenience stores. We normally procure such merchandise directly from brands or top-layer distributors.

 

Others

 

Cost of revenue for our other services corresponds to our direct costs incurred in the provision of those services.

 

Operating Expenses

 

Our operating expenses consist of selling expenses, general and administrative expenses, and research and development expenses, offset by other operating income prior to 2017. The following table sets forth a breakdown of our operating expenses for the periods indicated:

 

 

 

For the year ended December 31,

 

 

 

2015

 

2016

 

2017

 

 

 

RMB

 

RMB

 

RMB

 

US$

 

 

 

(in thousands)

 

 

 

 

 

 

 

 

 

 

 

Selling expenses

 

188,455

 

370,017

 

694,852

 

106,797

 

General and administrative expenses

 

380,864

 

521,237

 

928,188

 

142,660

 

Research and development expenses

 

46,177

 

80,326

 

139,009

 

21,365

 

Other operating income

 

(61,877

)

(104,047

)

 

 

Total operating expenses

 

553,619

 

867,533

 

1,762,049

 

270,822

 

 

Selling Expenses

 

Our selling expenses primarily consist of (i) salaries and benefit expenses for our network management personnel responsible for managing relationships with our franchisee partners and membership stores, our customer service personnel and other sales and marketing personnel, (ii) shipping and handling costs relating to the delivery of merchandise to our membership stores, and (iii) travel, marketing and advertising expenses. As our business grows, and in particular, as the BEST Store+ network expands, our selling expenses are expected to increase.

 

General and Administrative Expenses

 

Our general and administrative expenses consist primarily of salaries and benefit expenses for management and administrative personnel, depreciation and amortization expenses, office expenses, travel expenses, professional fees and impairment losses. We expect general and administrative expenses to increase as we continue to hire additional staff and increase office space in connection with business growth.

 

In addition, upon becoming a public company, we will incur significant legal, accounting and other expenses that we have not incurred thus far as a private company, including expenses associated with public company reporting requirements. We will also incur expenses in order to comply with the Sarbanes-Oxley Act of 2002 and the related rules and regulations implemented by the SEC and the New York Stock Exchange. Although we are unable to estimate these expenses with any degree of certainty, we expect that such compliance, together with the growth and expansion of our business, will cause our general and administrative expenses to increase in absolute terms.

 

Research and Development Expenses

 

Research and development expenses consist primarily of salaries and benefits for our research and development personnel and depreciation of property and equipment. We expect research and development expenses to increase in the future along with continued development of and investment in our technology infrastructure.

 

Other Operating Income

 

Other operating income in 2014, 2015 and 2016 mainly consisted of payments from franchised service stations in our express and freight networks in connection with last-mile delivery services to ensure service quality standards and preserve the value of our brand name. Starting in 2017, we revised our arrangements with franchisee partners and the scope of our service to provide that we are directly responsible for last-mile delivery of all parcels or freight sent through our network and we are liable for damage to or loss of parcels in connection with last-mile delivery. As a result, starting in 2017, our cost of revenue has reflected the quality of such last-mile delivery service and therefore we no longer generate any other operating income from franchised service stations based on their service quality.

 

68



Table of Contents

 

Share-Based Compensation

 

We account for share options granted to our employees, directors and consultants in accordance with Codification of Accounting Standards, or ASC 718, “Compensation—Stock Compensation” and ASC 505-50, “Equity, Equity-Based Payments to Non-Employees.” We are required to classify share options granted to our employees, directors and consultants as equity awards and recognize share-based compensation expense based on the fair value of such share options, with the share-based compensation expense recognized over the period in which the recipient is required to provide service in exchange for the equity award. Because the exercisability of the share options granted or the issuance of ordinary shares by us, was conditional upon completion of our initial public offering, share-based compensation expense relating to these share options granted by us were not recognized prior to the completion of our initial public offering on September 20, 2017.

 

See “—Critical Accounting Policies and Significant Judgments and Estimates—Share-based Compensation” in this section for a description of we account for the compensation expenses from share-based payment transactions. You may find additional information on our share incentive plans as well as our options granted as of the date of this annual report in the section entitled “Management—Share Incentive Plans.”

 

Results of Operations

 

The following table sets forth our consolidated statements of operations data for the years indicated. This information should be read together with our consolidated financial statements and related notes included elsewhere in this annual report. The operating results in any period are not necessarily indicative of the results you may expect for future periods.

 

 

 

For the year ended December 31,

 

 

 

2015

 

2016

 

2017

 

 

 

RMB

 

RMB

 

RMB

 

US$

 

 

 

(in thousands)

 

 

 

 

 

 

 

 

 

 

 

Revenue

 

 

 

 

 

 

 

 

 

Supply chain management

 

828,431

 

1,241,356

 

1,600,952

 

246,062

 

Express

 

3,710,292

 

5,388,833

 

12,786,279

 

1,965,215

 

Freight

 

675,881

 

1,604,573

 

3,178,044

 

488,456

 

Store+

 

9,700

 

560,226

 

2,226,034

 

342,135

 

Others

 

32,023

 

49,149

 

198,253

 

30,471

 

Total revenue

 

5,256,327

 

8,844,137

 

19,989,562

 

3,072,339

 

Cost of revenue

 

 

 

 

 

 

 

 

 

Supply chain management

 

(795,099

)

(1,183,245

)

(1,502,570

)

(230,941

)

Express

 

(4,035,300

)

(5,671,356

)

(12,435,550

)

(1,911,309

)

Freight

 

(923,011

)

(1,906,930

)

(3,362,652

)

(516,830

)

Store+

 

(9,714

)

(569,557

)

(2,072,912

)

(318,601

)

Others

 

(27,584

)

(45,479

)

(130,327

)

(20,031

)

Total cost of revenue

 

(5,790,708

)

(9,376,567

)

(19,504,011

)

(2,997,712

)

Gross (loss)/profit

 

(534,381

)

(532,430

)

485,551

 

74,627

 

Selling expenses

 

(188,455

)

(370,017

)

(694,852

)

(106,797

)

General and administrative expenses

 

(380,864

)

(521,237

)

(928,188

)

(142,660

)

Research and development expenses

 

(46,177

)

(80,326

)

(139,009

)

(21,365

)

Other operating income

 

61,877

 

104,047

 

 

 

Total operating expenses

 

(553,619

)

(867,533

)

(1,762,049

)

(270,822

)

Loss from operations

 

(1,088,000

)

(1,399,963

)

(1,276,498

)

(196,195

)

Interest income

 

3,727

 

24,386

 

75,056

 

11,536

 

Interest expense

 

(10,439

)

(21,379

)

(47,154

)

(7,247

)

Foreign exchange gain/(loss)

 

5,808

 

(1,864

)

(6,320

)

(971

)

Other income

 

31,247

 

44,409

 

56,035

 

8,612

 

Other expense

 

(1,774

)

(8,542

)

(18,507

)

(2,844

)

Loss before income tax and share of net (loss)/income of equity investees

 

(1,059,431

)

(1,362,953

)

(1,217,388

)

(187,109

)

Income tax expense

 

 

(570

)

(9,856

)

(1,515

)

Loss before share of net (loss)/income of equity investees

 

(1,059,431

)

(1,363,523

)

(1,227,244

)

(188,624

)

Share of net (loss)/income of equity investees

 

(12

)

43

 

(816

)

(125

)

Net loss

 

(1,059,443

)

(1,363,480

)

(1,228,060

)

(188,749

)

Net loss attributable to non-controlling interests

 

 

 

(167

)

(26

)

Net loss attributable to BEST Inc.

 

(1,059,443

)

(1,363,480

)

(1,227,893

)

(188,723

)

 

69



Table of Contents

 

Year Ended December 31, 2017 Compared to Year Ended December 31, 2016

 

Revenue

 

Our revenue increased by 126.0% to RMB19,989.6 million (US$3,072.3 million) from RMB8,844.1 million in 2016. The increase was primarily attributable to increases in revenue across the various service lines, as discussed below.

 

Supply Chain Management.  Our supply chain management service revenue increased by 29.0% to RMB1,601.0 million (US$246.1 million) in 2017 from RMB1,241.4 million in 2016. Such increase was primarily attributable to the addition of new customers and increasing business volume of existing customers.

 

Express.  Our express service revenue increased by 137.3% to RMB12,786.3 million (US$1,965.2 million) in 2017 from RMB5,388.8 million in 2016. This increase in revenue was primarily due to the expansion of our service scope to include last-mile delivery services starting in 2017 and a 74.1% increase in parcel volume, as a result of greater demand for express delivery services and increase in our market share. The average revenue per parcel in 2017 increased by 36.3% to RMB3.39 (US$0.52), compared to 2016, primarily due to our service scope expansion, partially offset by a decrease in average parcel weight. Average revenue per parcel excluding the impact of service scope expansion decreased to RMB2.07 from RMB2.49 in 2016.

 

Freight.  Our freight service revenue increased by 98.1% to RMB3,178.0 million (US$488.5 million) in 2017 from RMB1,604.6 million in 2016. This increase was the result of greater freight volume which increased by 44.7% and a 36.8% increase in average revenue per tonne, compared to 2016. The increase in average revenue per tonne was primarily due to upward price adjustments, a greater proportion of long-distance freight volumes in connection with the expansion of our freight network, and the expansion of our service scope to include last-mile delivery services starting in 2017.

 

Store+.  Our BEST Store+ service revenue increased by 297.3% to RMB2,226.0 million (US$342.1 million) in 2017 from RMB560.2 million in 2016, primarily due to an increase in the number of store orders fulfilled in connection with the rapid expansion of our BEST Store+ network as well as our acquisition of WOWO in May 2017. The number of store orders fulfilled increased by 249.5% compared to 2016.

 

Others.  Revenue from our other services increased by 303.4% to RMB198.3 million (US$30.5 million) in 2017 from RMB49.1 million in 2016, primarily due to increased revenue generated from BEST Capital, BEST Global and BEST UCargo.

 

Cost of Revenue

 

Our cost of revenue increased by 108.0% to RMB19,504.0 million (US$2,997.7 million) in 2017 from RMB9,376.6 million in 2016. The increase was primarily attributable to increases in cost of revenue across various service lines, as discussed below. Cost of revenue as a percentage of revenue decreased to 97.6% in 2017 from 106.0% in 2016.

 

Supply Chain Management.  Cost of revenue for our supply chain management services increased by 27.0% to RMB1,502.6 million (US$230.9 million) in 2017 from RMB1,183.2 million in 2016. This increase in cost of revenue was primarily due to the 50.2% increase in the number of orders fulfilled by our self-operated Cloud OFCs and the addition of new self-operated Cloud OFCs, which resulted in additional lease, transportation, and labor costs. The number of orders fulfilled by our self-operated Cloud OFCs increased to 132.2 million in 2017 from 88.1 million in 2016. The number of our self-operated Cloud OFCs increased to 99 as of December 31, 2017 from 93 as of December 31, 2016. Cost of revenue as a percentage of revenue from our supply chain management services decreased to 93.9% in 2017 from 95.3% in 2016, primarily due to volume increase and operational efficiency.

 

Express.  Cost of revenue for our express services increased by 119.3% to RMB12,435.6 million (US$1,911.3 million) in 2017 from RMB5,671.4 million in 2016. This increase in cost of revenue was primarily attributable to a 74.1% increase in parcel volume to 3,769.4 million in 2017 from 2,165.5 million in 2016, which resulted in higher transportation and labor costs, as well as the expansion of our service scope to include last-mile delivery services starting in 2017. Cost of revenue as a percentage of revenue from our express delivery services decreased to 97.3% in 2017 from 105.2% in 2016, primarily due to economies of scale resulting from the significant increase in parcel volume, network optimization, as well as increased operational efficiency resulting from proactive cost-control measures and continuous technology improvements and applications.

 

Freight.  Cost of revenue for our freight services increased by 76.3% to RMB3,362.7 million (US$516.8 million) in 2017 from RMB1,906.9 million in 2016. This increase in cost of revenue was primarily attributable to increased freight volume, which increased by 44.7% to 4.3 million tonnes in 2017 from 3.0 million tonnes in 2016, and to a lesser extent, the expansion of our service scope to include last-mile delivery services starting in 2017. Cost of revenue as a percentage of revenue from our freight services decreased to 105.8% in 2017 from 118.8% in 2016, primarily due to economies of scale resulting from the increase in freight volume, network optimization, as well as increased operational efficiency resulting from the proactive cost-control measures and continuous technology improvements and applications.

 

Store+.  Cost of revenue for our BEST Store+ services increased by 264.0% to RMB2,072.9 million (US$318.6 million) in 2017 from RMB569.6 million in 2016, primarily due to the significant increase in the amount of merchandise sold to membership stores, and the RMB275.6 million (US$42.4 million) in the cost of revenue attributable to WOWO following its acquisition in May 2017. Cost of revenue as a percentage of revenue from our BEST Store+ services decreased to 93.1% in fiscal year 2017 from 101.7% in 2016, primarily due to a reduction in average procurement cost driven by the significant increase in merchandise sales to membership stores, as well as direct sales to consumers following the acquisition of WOWO in May 2017.

 

70



Table of Contents

 

Others.  Cost of revenue for our other services increased by 186.6% to RMB130.3 million (US$20.0 million) in 2017 from RMB45.5 million in 2016 in connection with increased revenue generation from BEST Capital, BEST Global and BEST UCargo.

 

Operating Expenses

 

Operating expenses increased by 103.1% to RMB1,762.0 million (US$270.8 million) from RMB867.5 million in 2016. Operating expenses as a percentage of our total revenue decreased to 8.8% in 2017 from 9.8% in 2016, and would have further decreased to 7.4% when excluding the impact of share-based compensation expense. This decrease was mainly due to the faster growth in revenue and economies of scale.

 

Selling Expenses.  Selling expenses increased by 87.8% to RMB694.9 million (US$106.8 million) in 2017 from RMB370.0 million in 2016. This increase was primarily attributable to an increase in shipping and handling costs to RMB203.9 million (US$31.3 million) in 2017 from RMB74.0 million in 2016, relating to delivery of merchandise to our membership stores and staff costs in connection with the expansion of BEST Store+ network, the addition of retail store occupancy cost of RMB70.5 million (US$10.8 million) as a result of the acquisition of WOWO in May 2017 and the inclusion of share-based compensation expense of RMB14.2 million (US$2.2 million).

 

General and Administrative Expenses.  General and administrative expenses increased by 78.1% to RMB928.2 million (US$142.7 million) in 2017 from RMB521.2 million in 2016. This increase is primarily attributable to the inclusion of share-based compensation expense of RMB251.3 million (US$38.6 million) and increased staff costs in connection with the growth of our operations.

 

Research and Development Expenses.  Research and development expenses increased by 73.1% to RMB139.0 million (US$21.4 million) in 2017 from RMB80.3 million in 2016. This increase was primarily due to the inclusion of share-based compensation expense of RMB26.6 million (US$4.1 million) and increased research and development activities.

 

Other Operating Income.  Other operating income was nil in 2017 as compared with RMB104.0 million in 2016, due to the revised arrangements with franchisee partners and the scope of services provided by us. We are directly responsible for last-mile delivery of all parcels or freight sent through our network and are liable for damage to or loss of parcels in connection with last-mile delivery starting from 2017. As a result, we no longer generate any other operating income from franchised service based on their service quality and our cost of revenue has reflected the quality of such last-mile delivery service.

 

Interest Income

 

Our interest income increased to RMB75.1 million (US$11.5 million) in 2017 from RMB24.4 million in 2016, primarily due to a higher yield generated from our cash balance and increased cash balances due to receipt of the proceeds from our initial public offering in 2017.

 

Interest Expense

 

Our interest expenses increased to RMB47.2 million (US$7.2 million) in 2017 from RMB21.4 million in 2016, primarily as a result of an increase in our Renminbi-denominated bank borrowings to satisfy working capital requirements as we held a significant amount of bank deposits in foreign currencies outside China.

 

Foreign Exchange (Loss) Gain

 

We recorded a foreign exchange loss of RMB6.3 million (US$1.0 million) in 2017, compared to RMB1.9 million in 2016. This is primarily due to changes in exchange rates between Renminbi and U.S. dollars during the respective periods.

 

Other Income

 

Other income increased to RMB56.0 million (US$8.6 million) in 2017 from RMB44.4 million in 2016, primarily due to an increase in other miscellaneous fees.

 

Other Expense

 

Other expenses increased to RMB18.5 million (US$2.8 million) in 2017 from RMB8.5 million in 2016, primarily due to an increase in various miscellaneous expenses.

 

Income Tax Expense

 

Income tax expense increased to RMB9.9 million (US$1.5 million) in 2017 from RMB0.6 million in 2016, reflecting tax payable in 2017 by certain of our PRC subsidiaries which had taxable income during the period, primarily WOWO.

 

Net Loss

 

As a result of the foregoing, net loss decreased to RMB1,228.1 million (US$188.7 million) in 2017, compared to RMB1,363.5 million in 2016.

 

71



Table of Contents

 

Year Ended December 31, 2016 Compared to Year Ended December 31, 2015

 

Revenue

 

Our revenue increased by 68.3% to RMB8,844.1 million in 2016 from RMB5,256.3 million in 2015 due to increases in revenue across various service lines, as discussed below.

 

Supply Chain Management.  Our supply chain management service revenue increased by 49.8% to RMB1,241.4 million in 2016 from RMB828.4 million in 2015, primarily due to the increase in order fulfillment service revenue. Such increase was mainly attributable to the 95.7% increase in the number of orders fulfilled by our self-operated Cloud OFCs to 88.1 million in 2016 from 45.0 million in 2015. This was primarily due to the addition of new large customers and increased business volume of existing customers resulting from ramp-up of certain projects and our continued service enhancements. Average orders fulfilled per customer of our self-operated Cloud OFCs increased by 62.5% to 189.0 thousand in 2016 from 116.3 thousand in 2015.

 

Express.  Our express service revenue increased by 45.2% to RMB5,388.8 million in 2016 from RMB3,710.3 million in 2015. This increase in revenue was primarily due to the 54.4% increase in parcel volume to 2,165.5 million in 2016 from 1,402.1 million in 2015 resulting from greater demand for express delivery services, our improved services as well as the increase in our market share, partially offset by a 6.0% decrease in average revenue per parcel between the periods primarily as a result of a decrease in prevailing market prices.

 

Freight.  Our freight service revenue increased by 137.4% to RMB1,604.6 million in 2016 from RMB675.9 million in 2015. This increase in revenue was primarily the result of greater freight volume, which increased by 97.9% to 3.0 million tonnes in 2016 from 1.5 million tonnes in 2015, and a 20.0% increase in average revenue per tonne in 2016 from 2015. Such increase was due to a greater proportion of long-distance freight volumes in connection with the expansion of our freight network (the number of China’s provinces covered increased to 31 as of December 31, 2016 from 28 as of December 31, 2015, the percentage of China’s cities covered increased to 94% as of December 31, 2016 from 79% as of December 31, 2015) and upward adjustments of our service prices in various provinces and cities in 2016.

 

Store+.  Our BEST Store+ service revenue increased by 5,675.5% to RMB560.2 million in 2016 from RMB9.7 million in 2015, primarily due to an increase in merchandise sales, which was mainly attributable to the rapid expansion of our BEST Store+ network in 2016 as the number of membership stores increased to 247,631 as of December 31, 2016 from 3,556 as of December 31, 2015. The number of store orders fulfilled increased by 6,674.6% to 687.7 thousand in 2016 from 10.2 thousand in 2015. BEST Store+ was launched on a full-scale basis in March 2016 after its initial trial period which started in July 2015.

 

Others.  Revenue from our other services increased by 53.5% to RMB49.1 million in 2016 from RMB32.0 million in 2015, primarily due to increased revenue generated from our various other business activities.

 

Cost of Revenue

 

Our cost of revenue increased by 61.9% to RMB9,376.6 million in 2016 from RMB5,790.7 million in 2015 due to increases in cost of revenue across our various service lines, as discussed below. Cost of revenue as a percentage of revenue decreased to 106.0% in 2016 from 110.2% in 2015 with revenue growth exceeding that of our cost of revenue.

 

Supply Chain Management.  Cost of revenue for our supply chain management services increased by 48.8% to RMB1,183.2 million in 2016 from RMB795.1 million in 2015. This increase in cost of revenue was primarily due to the 95.7% increase in the number of orders fulfilled by our self-operated Cloud OFCs and the addition of new self-operated Cloud OFCs, which resulted in additional lease, transportation, and labor costs. The number of orders fulfilled by our self-operated Cloud OFCs increased to 88.1 million in 2016 from 45.0 million in 2015. The number of our self-operated Cloud OFCs increased to 93 as of December 31, 2016 from 52 as of December 31, 2015. Cost of revenue as a percentage of revenue from our supply chain management services decreased to 95.3% in 2016 from 96.0% in 2015, primarily due to our increased operational scale that reduced our unit fixed costs and the ramp-up of existing self-operated Cloud OFCs, partially offset by the opening of new self-operated Cloud OFCs in 2016 and related start-up costs.

 

Express.  Cost of revenue for our express services increased by 40.5% to RMB5,671.4 million in 2016 from RMB4,035.3 million in 2015. This increase in cost of revenue was primarily attributable to a 54.4% increase in parcel volume to 2,165.5 million in 2016 from 1,402.1 million in 2015, which resulted in higher transportation and labor costs. Cost of revenue as a percentage of revenue from our express delivery services decreased to 105.2% in 2016 from 108.8% in 2015, primarily due to economies of scale resulting from significant increase in our parcel volume, as well as increased operational efficiency resulting from our proactive cost-control measures and continuous technology improvements and applications.

 

Freight.  Cost of revenue for our freight services increased by 106.6% to RMB1,906.9 million in 2016 from RMB923.0 million in 2015. This increase in cost of revenue was primarily attributable to increased freight volume, which increased by 97.9% to 3.0 million tonnes in 2016 from 1.5 million tonnes in 2015, and the increase in the number of hubs and sortation centers to 180 as of December 31, 2016 from 140 as of December 31, 2015 leading to greater transportation, labor, lease and operating costs. Cost of revenue as a percentage of revenue from our freight services decreased to 118.8% in 2016 from 136.6% in 2015, primarily due to economies of scale resulting from significant increase in our freight volume, as well as increased operational efficiency resulting from our proactive cost-control measures and continuous technology improvements and applications.

 

72



Table of Contents

 

Store+.  Cost of revenue for our BEST Store+ services increased by 5,763.3% to RMB569.6 million in 2016 from RMB9.7 million in 2015, primarily due to significant increase in the amount of merchandise sold to membership stores as the number of store orders fulfilled grew by 6,674.6% to 687.7 thousand in 2016 from 10.2 thousand in 2015.

 

Others.  Cost of revenue for our other services increased by 64.9% to RMB45.5 million in 2016 from RMB27.6 million in 2015 in connection with increased revenue generation from BEST Capital, BEST Global and BEST UCargo.

 

Operating Expenses

 

Operating expenses increased by 56.7% to RMB867.5 million in 2016 from RMB553.6 million in 2015, mainly attributable to a 96.3% increase in selling expenses as well as a 36.9% increase in general and administrative expenses. Operating expenses as a percentage of our total revenue decreased to 9.8% in 2016 from 10.5% in 2015, primarily due to economies of scale.

 

Selling Expenses.  Selling expenses increased by 96.3% to RMB370.0 million in 2016 from RMB188.5 million in 2015. This increase was primarily attributable to an increase in shipping and handling costs to RMB74.0 million in 2016 from RMB1.1 million in 2015 relating to the delivery of merchandise to our membership stores and staff costs in connection with the expansion of our BEST Store+ network. Our selling expenses as a percentage of our total revenue increased to 4.2% in 2016 from 3.6% in 2015.

 

General and Administrative Expenses.  General and administrative expenses increased by 36.9% to RMB521.2 million in 2016 from RMB380.9 million in 2015, primarily attributable to increased staff costs in connection with the growth of our operations. General and administrative expenses as a percentage of our total revenue decreased to 5.9% in 2016 from 7.2% in 2015.

 

Research and Development Expenses.  Research and development expenses increased by 74.0% to RMB80.3 million in 2016 from RMB46.2 million in 2015. This increase was primarily a result of increased payroll and related personnel costs. Research and development expenses as a percentage of total revenue remained unchanged at 0.9% in 2016 and 2015.

 

Other Operating Income.  Other operating income increased by 68.2% to RMB104.0 million in 2016 from RMB61.9 million in 2015, due to an increase in payments from franchised service stations to ensure service quality standards and preserve the value of our brand name. Our other operating income as a percentage of total revenue was unchanged at 1.2% in 2016 and 2015.

 

Interest Income

 

Our interest income increased to RMB24.4 million in 2016 from RMB3.7 million in 2015, primarily attributable to a higher balance of bank deposits in 2016 as a result of the proceeds from our private placements in 2016.

 

Interest Expense

 

Our interest expenses increased to RMB21.4 million in 2016 from RMB10.4 million in 2015, primarily a result of an increase in our Renminbi-denominated bank borrowings to satisfy working capital requirements as we held a significant amount of bank deposits in foreign currencies outside China.

 

Foreign Exchange (Loss) Gain

 

We recorded a foreign exchange loss of RMB1.9 million in 2016 as compared to a gain of RMB5.8 million in 2015.

 

Other Income

 

Other income increased to RMB44.4 million in 2016 from RMB31.2 million in 2015, primarily due to an increase in government subsidies and other miscellaneous fees.

 

Other Expense

 

Other expenses increased to RMB8.5 million in 2016 from RMB1.8 million in 2015, primarily reflecting various miscellaneous expenses.

 

Income Tax Expense

 

Income tax expense was RMB0.6 million in 2016 and nil in 2015, reflecting tax payable in 2016 by one of our PRC subsidiaries which had taxable income during the period.

 

Net Loss

 

As a result of the foregoing, net loss increased to RMB1,363.5 million 2016 from RMB1,059.4 million in 2015.

 

73



Table of Contents

 

B.                                                   Liquidity and Capital Resources

 

Our primary sources of liquidity have been issuance of equity securities and redeemable convertible preferred shares, and short-term borrowings, which have historically been sufficient to meet our working capital and capital expenditure requirements. As of December 31, 2016 and 2017, we had cash and cash equivalents of RMB2,927.6 million and RMB1,240.4 million (US$190.7 million), respectively, and restricted cash (current portion) of RMB374.4 million and RMB1,652.7 million (US$254.0 million), respectively. As of December 31, 2016 and 2017, we had short-term bank loans of RMB458.0 million and RMB1,216.4 million (US$187.0 million), respectively, of which RMB118.0 million and RMB335.0 million (US$51.5 million) were cash-collateralized as of December 31, 2016 and 2017. The weighted average interest rate for the outstanding borrowings as of December 31, 2016 and 2017 was approximately 3.46% and 4.32%, respectively.

 

Based on our current level of operations and available cash, we believe our cash and cash equivalents, cash generated from our operations will provide sufficient liquidity to fund our current obligations, projected working capital requirements, debt service requirements and capital spending requirements for at least the next 12 months. However, we may require additional cash resources due to changing business conditions or other future developments, including any investments or acquisitions we may decide to selectively pursue. If our existing cash resources are insufficient to meet our requirements, we may seek to sell equity or equity-linked securities, debt securities or borrow from banks. We cannot assure you that financing will be available in the amounts we need or on terms acceptable to us, if at all. The sale of additional equity securities, including convertible debt securities, would result in additional dilution to our shareholders. The incurrence of indebtedness and issuance of debt securities would result in debt service obligations and could result in operating and financial covenants that restrict our operations and our ability to pay dividends to our shareholders.

 

As a holding company with no material operations of our own, we are a corporation separate and apart from our subsidiaries and our VIE and, therefore, must provide for our own liquidity. We conduct our operations in China primarily through our PRC subsidiaries and VIE. As a result, our ability to pay dividends and to finance any debt we may incur depends upon dividends paid by our subsidiaries. If our PRC subsidiaries or any newly formed PRC subsidiaries incur debt on their own behalf in the future, the instruments governing their debt may restrict their ability to pay dividends to us. In addition, our PRC subsidiaries are permitted to pay dividends to us only out of their respective retained earnings, if any, as determined in accordance with Chinese accounting standards and regulations. Under applicable PRC laws and regulations, our PRC subsidiaries are each required to set aside a portion of its after-tax profits each year to fund certain statutory reserves, and funds from such reserves may not be distributed to us as cash dividends except in the event of liquidation of such subsidiaries. These statutory limitations affect, and future covenant debt limitations might affect, our PRC subsidiaries’ ability to pay dividends to us. We currently believe that such limitations will not impact our ability to meet our ongoing short-term cash obligations although we cannot assure you that such limitations will not affect our ability in the future to meet our short-term cash obligations and to distribute dividends to our shareholders. See “Item 3. Key Information—D. Risk Factors—Risks Related to Doing Business in the People’s Republic of China—We rely to a significant extent on dividends and other distributions on equity paid by our principal operating subsidiaries to fund offshore cash and financing requirements. Any limitation on the ability of our operating subsidiaries to make payments to us could have a material and adverse impact on our ability to operate our business” and “—Statutory Reserves.”

 

The following table sets forth a summary of the movements of our cash and cash equivalents for the periods indicated:

 

 

 

For the year ended December 31,

 

 

 

2015

 

2016

 

2017

 

 

 

RMB

 

RMB

 

RMB

 

US$

 

 

 

(in thousands)

 

 

 

 

 

 

 

 

 

 

 

Net cash (used in)/generated from operating activities

 

(312,180

)

(788,794

)

117,036

 

17,988

 

Net cash used in investing activities

 

(557,305

)

(843,844

)

(4,205,923

)

(646,439

)

Net cash generated from financing activities

 

905,337

 

4,110,498

 

2,420,488

 

372,022

 

Effect of exchange rate changes on cash and cash equivalents

 

35,436

 

158,657

 

(18,751

)

(2,881

)

Net increase/(decrease) in cash and cash equivalents

 

71,288

 

2,636,517

 

(1,687,150

)

(259,310

)

Cash and cash equivalents at beginning of the year

 

219,776

 

291,064

 

2,927,581

 

449,961

 

Cash and cash equivalents at end of the year

 

291,064

 

2,927,581

 

1,240,431

 

190,651

 

 

Operating Activities

 

Net cash generated from operating activities was RMB117.0 million (US$18.0 million) in 2017, primarily due to a net loss of RMB1,228.1 million (US$188.7 million), adjusted for non-cash items including depreciation and amortization of RMB363.9 million (US$55.9 million), share-based compensation of RMB299.0 million (US$46.0 million) and allowance for doubtful accounts of RMB18.4 million (US$2.8 million). Additional major factors that caused operating cash inflow included: (i) increase in accounts and notes payable of RMB619.4 million (US$95.2 million) mainly because we incurred more transportation and operating costs to support business expansion and issued more notes payables; (ii) increase in accrued expenses and other liabilities of RMB573.6 million (US$88.2 million) primarily because of the increase in salary and welfare payables of RMB375.7 million (US$57.7 million) driven by the growth in employee headcount and wage rates, increase in accrued rental expenses and other operating expense accruals of RMB116.8 million (US$18.0 million) and increase in other payables for daily operations; and (iii) increase in customer advances and deposits of RMB233.4 million (US$35.9 million) consistent with the increase in franchisee partners and revenue growth. The above factors were partially offset by the following factors: (i) increase in prepayments and other current assets of RMB466.1 million (US$71.6 million) primarily due to the increase in VAT prepayments amounting to RMB240.0 million (US$36.9 million) consistent with underlying revenue growth, increase in prepayments to landlord for operating lease of RMB84.7 million (US$13.0 million), and increase in other operating prepayments in connection with business expansion; and (ii) increase in accounts and notes receivable of RMB268.3 million (US$41.2 million) that was related to an increase in revenue, specifically, revenue generated from supply chain management services.

 

74



Table of Contents

 

Net cash used in operating activities was RMB788.8 million in 2016, primarily due to a net loss of RMB1,363.5 million, adjusted for non-cash items including depreciation and amortization of RMB246.3 million, and allowance for doubtful accounts of RMB31.5 million. Additional major factors that caused operating cash outflow included: (i) increase in prepayments and other current assets of RMB317.5 million primarily due to the increase in VAT prepayments amounting to RMB147.8 million consistent with underlying revenue growth, increase in receivables from payment platforms that process payments from our customers of RMB71.0 million, and increase in other operating prepayments in connection with business expansion; (ii) increase in restricted cash of RMB165.4 million as we pledged more cash to issue more notes payables and pledged a deposit amounting to RMB66.6 million relating to a forward exchange rate contract; and (iii) increase in accounts and notes receivable of RMB111.0 million that was related to an increase in revenue, specifically, revenue generated from supply chain management services. The above factors were partially offset by the following factors: (i) increase in accounts and notes payable of RMB481.3 million mainly because we incurred more transportation and operating costs to support business expansion and issued more notes payables; (ii) increase in accrued expenses and other liabilities of RMB362.4 million primarily because of the increase in salary and welfare payables of RMB225.6 million driven by the growth in employee headcount and wage rates, increase in accrued rental expenses and other operating expense accruals of RMB57.4 million and increase in other payables for daily operations; and (iii) increase in customer advances and deposits of RMB166.7 million consistent with the increase in franchisee partners and revenue growth.

 

Net cash used in operating activities was RMB312.2 million in 2015, primarily due to a net loss of RMB1,059.4 million adjusted for non-cash items including depreciation and amortization of RMB147.3 million, allowance for doubtful accounts of RMB18.3 million, and impairment losses of RMB36.2 million. Additional major factors that caused operating cash outflow included: (i) increase in accounts and notes receivable of RMB143.9 million that was related to an increase in revenue generated from supply chain management services; (ii) increase in prepayments and other current assets of RMB151.5 million primarily due to an increase in VAT prepayments amounting to RMB50.3 million consistent with underlying revenue growth, increase in rental expense prepayments of RMB34.1 million as we rented more hubs, sortation centers and Cloud OFCs, increase in receivables from payment platforms of RMB8.9 million, and other operating prepayments increase in connection with business expansion; and (iii) increase in restricted cash of RMB22.0 million primarily due to security deposits paid in conjunction with the rental of hubs, sortation centers and Cloud OFCs. The above factors were partially offset by the following factors: (i) increase in accounts and notes payable of RMB441.6 million primarily because we incurred more transportation and operating costs to support business expansion; (ii) increase in customer advances and deposits of RMB273.3 million which was primarily related to the increase of express and freight franchisee partners; and (iii) increase in accrued expenses and other liabilities of RMB210.6 million, primarily because of the increase in salary and welfare payables of RMB169.0 million driven by the growth in employee headcount and wage rates.

 

Investing Activities

 

Net cash used in investing activities was RMB4,205.9 million (US$646.4 million) in 2017, which was primarily due to the following factors: (i) payments for purchase of property and equipment of RMB749.7 million (US$115.2 million), which was used in the expansion and optimization of our express service, freight service and supply chain service network; (ii) payments for purchase of leased equipment of RMB722.3 million (US$111.0 million), mainly trucks used for direct financing lease service provided by BEST Capital; (iii) payments for business acquisition of RMB314.0 million (US$48.3 million), mainly WOWO, and (iv) purchase of short-term investments of RMB5,058.4 million (US$777.5 million), mainly time deposit and financing products. The aforementioned factors were partially offset by the maturities of short-term investments of RMB2,678.7 million (US$411.7 million).

 

Net cash used in investing activities was RMB843.8 million in 2016, which was primarily due to payments for purchase of property and equipment used in the expansion of our supply chain service network.

 

Net cash used in investing activities was RMB557.3 million in 2015, which was primarily due to payments for purchase of property and equipment used in the expansion of our supply chain service network and business acquisitions from franchisee partners to optimize our network in key geographic areas.

 

Financing Activities

 

Net cash generated from financing activities was RMB2,420.5 million (US$372.0 million) in 2017, which was primarily due to proceeds from issuance of American depository shares, net of issuance cost, of RMB3,130.2 million (US$481.1 million) and proceeds from short-term bank loans of RMB1,901.9 million (US$292.3 million), partially offset by the repayment of short-term bank loans of RMB1,189.4 million (US$182.8 million) and increase in restricted cash of RMB1,310.4 million (US$201.4 million) pledged for short-term bank loans.

 

Net cash generated from financing activities was RMB4,110.5 million in 2016, which was primarily due to proceeds from issuance of redeemable convertible preferred shares, net of issuance cost, of RMB4,901.3 million, proceeds from short-term bank loans of RMB718.0 million, partially offset by repurchase of redeemable convertible preferred shares of RMB831.5 million and repayment of short-term bank loans of RMB598.0 million.

 

75



Table of Contents

 

Net cash generated from financing activities was RMB905.3 million in 2015, which was primarily due to proceeds from issuance of redeemable convertible preferred shares, net of issuance costs, of RMB811.4 million, proceeds from short-term bank loans of RMB538.0 million, partially offset by repayment of short-term bank loans of RMB320.0 million and increase in restricted cash of RMB124.5 million to secure certain short-term bank loans to us.

 

Segment Financial Information

 

The table below provides a summary of our operating segment results for the years ended December 31, 2015, 2016 and 2017, which have been derived from the notes to our consolidated financial statements included elsewhere in this annual report.

 

With the exception of the below, all segment information in this annual report is presented after inter-segment eliminations:

 

 

 

For the year ended December 31,

 

 

 

2015

 

2016

 

2017

 

 

 

RMB

 

RMB

 

RMB

 

US$

 

 

 

(in thousands)

 

 

 

 

 

 

 

 

 

 

 

Revenue:

 

 

 

 

 

 

 

 

 

Supply Chain Management

 

861,753

 

1,363,468

 

1,854,356

 

285,009

 

Express

 

3,758,956

 

5,412,729

 

12,850,067

 

1,975,019

 

Freight

 

680,746

 

1,609,391

 

3,178,850

 

488,580

 

Store+

 

9,700

 

560,226

 

2,226,034

 

342,135

 

Others

 

32,023

 

125,456

 

649,784

 

99,870

 

Inter-segment eliminations

 

(86,851

)

(227,133

)

(769,529

)

(118,274

)

Total revenue

 

5,256,327

 

8,844,137

 

19,989,562

 

3,072,339

 

Cost of revenue:

 

 

 

 

 

 

 

 

 

Supply Chain Management

 

823,356

 

1,297,227

 

1,746,999

 

268,509

 

Express

 

4,087,157

 

5,696,746

 

12,508,090

 

1,922,458

 

Freight

 

929,708

 

1,912,750

 

3,363,457

 

516,954

 

Store+

 

9,714

 

569,557

 

2,072,912

 

318,601

 

Others

 

27,583

 

122,239

 

573,581

 

88,158

 

Inter-segment eliminations

 

(86,810

)

(221,952

)

(761,028

)

(116,968

)

Total cost of revenue

 

5,790,708

 

9,376,567

 

19,504,011

 

2,997,712

 

Gross (loss)/income:

 

 

 

 

 

 

 

 

 

Supply Chain Management

 

38,397

 

66,241

 

107,357

 

16,500

 

Express

 

(328,201

)

(284,017

)

341,977

 

52,561

 

Freight

 

(248,962

)

(303,359

)

(184,607

)

(28,374

)

Store+

 

(14

)

(9,331

)

153,122

 

23,534

 

Others

 

4,440

 

3,217

 

76,203

 

11,712

 

Inter-segment eliminations

 

(41

)

(5,181

)

(8,501

)

(1,306

)

Total gross (loss)/income

 

(534,381

)

(532,430

)

485,551

 

74,627

 

 

The inter-segment eliminations for the periods indicated above mainly consisted of (i) segment revenue of the Express segment and Freight segment generated from services provided to the Supply Chain Management segment, (ii) segment revenue of Supply Chain Management segment generated from services provided to the Store+ segment and (iii) segment revenue of the other segment generated from services provided to our Supply Chain Management, Express and Freight segments, all of which were eliminated as intergroup transactions as a result of consolidation.

 

Year Ended December 31, 2017 Compared to Year Ended December 31, 2016

 

Revenue by Segment

 

Segment revenue of our Supply Chain Management segment, Express segment, Freight segment and Store+ segment increased from 2016 to 2017 primarily due to increase in segment revenue from external customers. For additional information regarding these trends, please see “—Results of Operations—Year Ended December 31, 2017 Compared to Year Ended December 31, 2016.” Others segment revenue increased from 2016 to 2017 primarily due to increases in segment revenue generated from services provided by BEST UCargo to our Supply Chain Management, Express and Freight segments and the segment revenue generated from financing lease service provided by BEST Capital to our ecosystem participants.

 

Cost of Revenue by Segment

 

Segment cost of revenue of our Supply Chain Management segment, Express segment, Freight segment and Store+ segment increased from 2016 to 2017 primarily due to the increase in lease, transportation and labor costs in relation to significant increase in volume, the expansion of the Company’s service scope to include last-mile delivery service as well as increase in the amount of merchandise sold by Store+ business. For additional information regarding these trends, please see “—Results of Operations—Year Ended December 31, 2017 Compared to Year Ended December 31, 2016.” Others segment cost of revenue increased from 2016 to 2017 primarily due to increases in segment cost of revenue attributable to services provided by BEST UCargo to our Supply Chain Management, Express and Freight segments.

 

76



Table of Contents

 

Year Ended December 31, 2016 Compared to Year Ended December 31, 2015

 

Revenue by Segment

 

Segment revenue of our Supply Chain Management segment, Express segment, Freight segment and Store+ segment increased from 2015 to 2016 primarily due to increases in segment revenue from external customers. For additional information regarding these trends, please see “—Results of Operations—Year Ended December 31, 2016 Compared to Year Ended December 31, 2015.” Others segment revenue increased from 2015 to 2016 primarily due to an increase in intersegment revenue.

 

Cost of Revenue by Segment

 

Segment cost of revenue of our Supply Chain Management segment, Express segment, Freight segment and Store+ segment increased from 2015 to 2016 primarily due to increases in segment cost of revenue relating to external customers. For additional information regarding these trends, please see “—Results of Operations—Year Ended December 31, 2016 Compared to Year Ended December 31, 2015.” Others segment cost of revenue increased from 2015 to 2016 primarily due to an increase in intersegment cost of revenue.

 

Statutory Reserves

 

Under applicable PRC laws and regulations, foreign-invested enterprises in China are required to provide for certain statutory reserves, namely a general reserve, an enterprise expansion fund and a staff welfare and bonus fund. Pursuant to such laws and regulations, we may pay dividends only out of our after-tax profits, if any, determined in accordance with Chinese accounting standards and regulations. Further, we are required to allocate at least 10% of our after-tax profits to fund the general reserve until such reserve has reached 50% of our registered capital. In addition, we may also set aside, at our or our Board’s discretion, a portion of our after-tax profits to fund the employee welfare and bonus fund. These reserves may only be used for specific purposes and are not distributable to us in the form of loans, advances, or cash dividends.

 

Because we have not generated any after-tax profits since commencement of our operations, we have not made any statutory reserves.

 

Recent Accounting Pronouncements

 

Please see Note 2 to our consolidated financial statements included elsewhere in this annual report.

 

C.                                                   Research and Development, Patents and Licenses, etc.

 

Technology and Service Offering Development

 

See “Item 4. Information on the Company—B. Business Overview—Our Technology Infrastructure” and “Item 4. Information on the Company—B. Business Overview—Our Service Offerings.”

 

Intellectual Property

 

See “Item 4. Information on the Company—B. Business Overview—Intellectual Property.”

 

D.                                                   Trend Information

 

Please refer to “—A. Results of Operations” for a discussion of the most recent trends in our services, sales and marketing by the end of 2017. In addition, please refer to discussions included in such Item for a discussion of known trends, uncertainties, demands, commitments or events that we believe are reasonably likely to have a material effect on our net sales and operating revenues, income from continuing operations, profitability, liquidity or capital resources, or that would cause reported financial information to be not necessarily indicative of our future operating results or financial condition.

 

E.                                                   Off-Balance Sheet Arrangements

 

We have not entered into any financial guarantees or other commitments to guarantee the payment obligations of any unconsolidated third parties. In addition, we have not entered into any derivative contracts that are indexed to our shares and classified as shareholders’ equity, or that are not reflected in our consolidated financial statements. Furthermore, we do not have any retained or contingent interest in assets transferred to an unconsolidated entity that serves as credit, liquidity or market risk support to such entity. Moreover, we do not have any variable interest in any unconsolidated entity that provides financing, liquidity, market risk or credit support to us or engages in leasing, hedging or product development services with us.

 

F.                                                   Tabular Disclosure of Contractual Obligations

 

The following table sets forth our contractual obligations and commercial commitments as of December 31, 2017:

 

 

 

Payment due by period

 

 

 

Total

 

Less than 1
Year

 

1 – 3 Years

 

3 – 5 Years

 

More than 5
Years

 

 

 

(in thousands of RMB)

 

Short-term borrowings

 

1,216,384

 

1,216,384

 

 

 

 

Capital lease obligations

 

9,055

 

7,227

 

1,828

 

 

 

Capital expenditure commitments

 

161,478

 

161,478

 

 

 

 

Operating lease commitments

 

5,113,090

 

971,666

 

1,473,481

 

1,127,755

 

1,540,188

 

Total

 

6,500,007

 

2,356,755

 

1,475,309

 

1,127,755

 

1,540,188

 

 

77



Table of Contents

 

G.                                                   Safe Harbor

 

This annual report contains forward-looking statements that involve risks and uncertainties, including statements based on our current expectations, assumptions, estimates and projections about us and our industry. These statements involve known and unknown risks, uncertainties and other factors that may cause our actual results, performance or achievements to be materially different from those expressed or implied by the forward-looking statements. In some cases, these forward-looking statements can be identified by words or phrases such as “may,” “will,” “expect,” “anticipate,” “aim,” “estimate,” “intend,” “plan,” “believe,” “potential,” “continue,” “is/are likely to” or other similar expressions. The forward-looking statements included in this annual report relate to, among others:

 

·                  our goals and growth strategies;

 

·                  our future business development, financial condition and results of operations;

 

·                  trends in the logistics and supply chain industry in China and globally;

 

·                  competition in our industry;

 

·                  fluctuations in general economic and business conditions in China and other regions where we operate;

 

·                  the regulatory environment in which we and companies integral to our ecosystem operate;

 

·                  our proposed use of proceeds from our initial public offering; and

 

·                  assumptions underlying or related to any of the foregoing.

 

This annual report also contains market data relating to the logistics and supply chain industry in China, including market position, market size, and growth rates of the markets in which we operate, that are based on industry publications and reports. Statistical data in these publications and reports also include projections based on a number of assumptions. The logistics and supply chain industry in China may not grow at the rates projected by market data, or at all. The failure of these markets to grow at the projected rates may have a material adverse effect on our business and the market price of our ADSs. If any one or more of the assumptions underlying the market data turns out to be incorrect, actual results may differ from the projections based on these assumptions. In addition, projections, assumptions and estimates of our future performance and the future performance of the industry in which we operate is necessarily subject to a high degree of uncertainty and risk due to a variety of factors, including those described in “Risk Factors” and elsewhere in this annual report. You should not place undue reliance on these forward-looking statements.

 

The forward-looking statements made in this annual report relate only to events or information as of the date on which the statements are made in this annual report. Except as required by law, we undertake no obligation to update any forward-looking statements to reflect events or circumstances after the date on which the statements are made or to reflect the occurrence of unanticipated events. You should read this annual report and the documents that we have referred to in this annual report and have filed as exhibits to this annual report, completely and with the understanding that our actual future results may be materially different from what we expect.

 

ITEM 6.                                                   DIRECTORS, SENIOR MANAGEMENT AND EMPLOYEES

 

A.                                                   Directors and Senior Management

 

The following table sets forth certain information relating to our current directors, executive officers and senior management:

 

Name

 

Age

 

Position/Title

Shao-Ning Johnny Chou

 

55

 

Chairman and chief executive officer

Lin Wan

 

42

 

Director

Jun Chen

 

44

 

Director

Mark Qiu

 

53

 

Director

George Chow

 

50

 

Director, chief strategy and investment officer

Quan Hao

 

59

 

Director

Wenbiao Li

 

51

 

Director

Lei Guo

 

42

 

Chief accounting officer, vice president of finance, general manager of capital service line

Mangli Zhang

 

61

 

Vice president, general manager of supply chain management service line

Shaohua Zhou

 

45

 

Vice president, general manager of express service line

 

78



Table of Contents

 

Name

 

Age

 

Position/Title

Tao Liu

 

41

 

Vice president, general manager of freight service line

Bo Liu

 

46

 

Vice president, general manager of store+ service line

Jian Zhou

 

40

 

Vice president, general manager of global service line

Yanbing Zhang

 

42

 

Vice president of engineering, general manager of cloud service line

Jimei Liu

 

46

 

Vice president of human resources and administration

 

Mr. Shao-Ning Johnny Chou is our founder, and has served as our chairman and chief executive officer since 2007. Prior to founding our company, he served as a global vice president and Greater China president of Google with responsibility for Google’s sales and marketing in Greater China from 2005 to 2006. From 1996 to 2005, Mr. Chou served as president of UTStarcom China with responsibility for China operations. From 1986 to 1996, Mr. Chou served as a director of wireless software and system development with AT&T Bell Laboratory. From 1978 to 1980, Mr. Chou studied computer science at Fudan University. Mr. Chou earned a bachelor’s degree in science, specializing in electrical engineering, from City College of New York, a master’s degree in science, specializing in engineering science, from Princeton University, and an MBA from Rutgers University. Mr. Chou was nominated by himself as a Founder Director under our amended and restated memorandum and articles of incorporation.

 

Mr. Lin Wan has been a director of our company since March 2018. Mr. Wan has been the president of Cainiao Network, where he oversees strategic planning and business operation, since January 2017. Before that, Mr. Wan had been a vice president of Cainiao Network since 2014. Prior to joining Cainiao Network, he served as director of global transportation strategy of Amazon. Mr. Wan currently serves as a board member of Global Standards 1 (GS1). He received a Ph.D. in operational research & industrial engineering from The University of Texas at Austin.

 

Mr. Jun Chen has been a director of our company since 2015. Mr. Jun Chen is currently a vice president of Alibaba Group Holding Limited. He is also a managing director of Alibaba strategic investment group and the investment head of Alibaba new retail fund. Mr. Chen has over 20 years of experience in strategy management and investment, strategic market development, and business and financial advisory services. He has been in charge of strategic investments by Alibaba Group in various types of companies, including high-growth private companies and public companies listed in the PRC and overseas. The portfolio companies he manages are in a wide spectrum of industries such as retail, logistics, travel, healthcare, sports, and software and solutions. Prior to joining Alibaba Group in 2011, Mr. Chen worked for SAP, a Fortune 500 high-tech software company from 1999 to 2011, taking roles including strategic adviser in the office of CEO and industry director. From 1995 to 1998, he worked as an auditor for Arthur Andersen Consulting Co. Ltd. Mr. Chen holds a bachelor’s degree in international finance and accounting from Shanghai University, and received an EMBA degree from INSEAD. Mr. Chen was nominated to our board of directors by Alibaba Investment Limited pursuant to the shareholders agreement. Mr. Chen was nominated by Alibaba and Cainiao Network as an Alibaba Director under our amended and restated memorandum and articles of incorporation.

 

Mr. Mark Qiu has been a director of our company since 2011. Mr. Qiu is the founder, and since May 2005, has served as the chief executive officer and managing director of China Renaissance Capital Investment Inc., a private equity investment management company. From 2001 to March 2005, Mr. Qiu served as a senior vice president (chief financial officer until year end of 2004) of CNOOC Limited, a company principally engaged in the exploration, development and production of oil and gas. From 1998 to 2000, Mr. Qiu was with Salomon Smith Barney, last as the head of its Asia oil and gas investment banking group. From 1993 to 1997, Mr. Qiu held various positions with Atlantic Richfield Corporation (ARCO), an integrated oil and gas company. From 1990 to 1993, Mr. Qiu served as a staff consultant with RHR International, a succession planning consulting firm. Mr. Qiu also serves as a director of certain other companies affiliated with China Renaissance Capital Investment Inc. Mr. Qiu received a bachelor’s degree in science, specializing in management psychology, from Hangzhou University in China, a Ph.D. and a Master of Science degree in decision science from the University of Texas at Arlington, and an MBA from the Sloan School of Management at the Massachusetts Institute of Technology. Mr. Qiu was nominated to our board of directors by affiliates of China Renaissance Capital Investment Inc. (referred to as the “CR Entities” under “Principal and Selling Shareholders”) pursuant to the shareholders agreement.

 

Mr. George Chow joined as our chief strategy and investment officer in 2017 and has served as our director since September 2017. Mr. Chow brings with him over 22 years of experience in investment banking, trading and risk management. From 2004 to 2017, he served as a managing director at Credit Suisse, having held several senior positions in securities and investment banking division, including most recently the Co-Head of Investment Banking and Capital Markets for Greater China. He also worked for UBS and Merrill Lynch. Mr. Chow received an MBA in finance from the Stern School of Business at New York University. He is Mr. Shao-Ning Johnny Chou’s brother. Mr. Chow was nominated by Mr. Shao-Ning Johnny Chou as a Founder Director under our amended and restated memorandum and articles of incorporation.

 

Ms. Quan Hao has served as our independent director since September 2017. Since 2015, Ms. Hao has served as an independent non-executive director of Legend Holdings Corporation. From 2001 to 2015, Ms. Hao has been a partner of KPMG China, and originally joined KPMG USA in 1993. From 1982 to 1989, Ms. Hao served as a lecturer at Renmin University of China. Ms. Hao received a bachelor’s degree in economics from Renmin University of China and an MBA degree from Temple University. Ms. Hao obtained her certified public accountant qualification in the PRC and California, USA.

 

Mr. Wenbiao Li has served as our independent director since September 2017. Mr. Li has served as a managing director of Walden International since 2008 and as a managing partner of Kaiwu Walden Capital, L.P. since 2013. From 2004 to 2007, Mr. Li served as a director of mobile engineering at Google. From 2000 to 2003, Mr. Li served as a vice president of engineering with Skire, Inc. From 1997 to 1999, Mr. Li served as a director of engineering at Internet Image, Inc. Mr. Li also serves as a director of Union Optech Co., Ltd. Mr. Li received a bachelor’s degree in computer engineering from Huazhong University of Science and Technology, a master’s degree in computer science from the University of San Francisco, and an EMBA degree from Golden Gate University.

 

79



Table of Contents

 

Ms. Lei Guo currently serves as our chief accounting officer, vice president of finance and general manager of our capital service line. Prior to joining us in 2011, Ms. Guo served as a senior manager in the finance department of Sky-mobi Limited from 2010 to 2011, as an accounting manager in the finance department of UTStarcom China from 2005 to 2010, and as a manager of auditing in the Shanghai office of KPMG from 1998 to 2005. Ms. Guo received a bachelor’s degree in accounting from Shanghai Jiaotong University.

 

Ms. Mangli Zhang currently serves as the vice president and general manager of our supply chain management service line, and served as our vice president of operations from 2007 to 2011. Prior to joining us in 2007, Ms. Zhang held various positions with UTStarcom China as manager of the contract execution department, director of business operations, and vice president of business operations in China from 1996 to 2007. From 1993 to 1996, Ms. Zhang served as a department manager of Zhejiang Province Economic and Construction Development Consulting Company. From 1982 to 1993, Ms. Zhang served as a product development engineer in the technology division, and served as vice president of the quality management division, of Hangzhou Wireless Equipment Factory. Ms. Zhang received a bachelor’s degree in wireless electronic engineering from Zhejiang University.

 

Mr. Shaohua Zhou currently serves as the vice president and general manager of our express service line. Prior to joining us in 2009, Mr. Zhou held various positions with UTStarcom China as regional project manager, global service solution business unit general manager of the western region and general manager of the Chongqing branch from 2002 to 2008. Mr. Zhou also previously worked with Motorola and China Mobile. Mr. Zhou received a bachelor’s degree in communication engineering from Beijing University of Posts and Telecommunications.

 

Mr. Tao Liu currently serves as the vice president and general manager of our freight service line. Before that, between 2009 and 2017, he had held various positions with our company as deputy general manager of our freight service line, general manager of our Shanghai branch, and general manager of our Shandong branch. Prior to joining us, Mr. Liu served as a deputy general manager at Shandong Zitong International Logistics Company from 2007 to 2009. From 2000 to 2004, Mr. Liu held various positions with Zhilian Logistics (a group company of China Kejian Co., Ltd.) as assistant to general manager, general manager of its Jinan branch, general manager of the Northern China region, and then general manager of Shandong Zhongtie Modern Logistics and Technology Co. Ltd., a joint venture established by Zhilian Logistics and China Railway Jinan Group. Mr. Liu received a bachelor’s degree in international business administration from Shandong University of Finance and Economics.

 

Mr. Bo Liu currently serves as the vice president and general manager of our store+ service line. Prior to joining us in 2007, Mr. Liu held various positions with UTStarcom China as Shandong branch general manager, national director of the technology marketing department and regional general manager from 2000 to 2007. From 1997 to 2000, Mr. Liu held various positions with Motorola as a manager of technology marketing, sales manager, and manager of the business operations department. Mr. Liu currently also serves as chairman of the board of Sichuan WOWO Supermarket Chain Management Ltd. Mr. Liu received a bachelor’s degree in industrial electric automation from China University of Mining and Technology.

 

Mr. Jian Zhou currently serves as the vice president and general manager of our global service line. Prior to joining us in 2008, Mr. Zhou served as the president and chief executive officer of Shanghai Ziimoo Communication Technology from 2006 to 2008. From 2005 to 2006, Mr. Zhou served as vice president and general manager of the fixed-mobile convergence business unit of Cellon (Shanghai) Communication Technology. From 2001 to 2005, Mr. Zhou held various positions with UTStarcom China, in the terminal business unit, as a research and development software engineer, project manager, senior manager, and director of research and development. Mr. Zhou received a bachelor’s degree in communication engineering and a master’s degree in information engineering from Huazhong University of Science and Technology.

 

Mr. Yanbing Zhang currently serves as our vice president of engineering and the general manager of our cloud service line. Prior to joining us, Mr. Zhang served as a senior project manager at the IT department of UTStarcom China from 2004 to 2007. From 2003 to 2004, Mr. Zhang served as a project manager at China TravelSky Holding Company. Mr. Zhang received a bachelor’s degree in computer science from the National University of Defense Technology and a master’s degree in computer science from the University of Karlsruhe (now known as the Karlsruhe Institute of Technology).

 

Ms. Jimei Liu currently serves as our vice president of human resources and administration. Prior to joining us, Ms. Liu served as the director of human resources at UTStarcom China from 2000 to 2007. From 1996 to 2000, Ms. Liu served as the training supervisor at Ting Hsin International Group. Ms. Liu received a bachelor’s degree in machinery design and manufacturing from Central South University and an executive master of business administration degree from the University of Texas at Arlington.

 

B.                                                   Compensation

 

For the year ended December 31, 2017, we paid an aggregate of approximately US$1.2 million in cash to our executive officers and directors. Our PRC subsidiaries and consolidated affiliated entities are required by law to make contributions equal to certain percentages of each employee’s salary for his or her pension insurance, medical insurance, housing fund, unemployment insurance and other statutory benefits. Other than the above-mentioned statutory contributions mandated by applicable PRC law, we have not set aside or accrued any amount to provide pension, retirement or other similar benefits to our executive officers and directors. No executive officer is entitled to any severance benefits upon termination of his or her employment with our company except as required under applicable PRC law.

 

80



Table of Contents

 

Share Incentive Plans

 

2008 Equity and Performance Incentive Plan

 

Our 2008 equity and performance incentive plan provides for the grant of options or restricted share units, which we refer to collectively as awards. Up to 20,934,684 ordinary shares upon exercise of awards may be granted under the 2008 equity and performance incentive plan. We believe that the 2008 equity and performance incentive plan will aid us in attracting, motivating and retaining employees, non-employee directors, officers and consultants through the granting of awards.

 

Administration

 

The 2008 equity and performance incentive plan is administered by our board of directors or our compensation committee or any person to whom the board shall delegate any of its authority under the plan. The plan administrator is authorized to interpret the plan and to determine the provisions of each award.

 

Change in Control

 

In the event of a change in control or another transaction having a similar effect, then the plan administrator may, in its sole discretion, adjust the number of ordinary shares subject to options then held by a participant in the plan as needed to prevent dilution or enlargement of the participant’s rights that otherwise would result from such event. The plan administrator may also, in its sole direction, provide in substitution for the participant’s rights such alternative consideration as it may determine to be equitable in the circumstances. A “change of control” under the 2008 equity and performance incentive plan is defined as (i) a sale of our company for cash consideration approved by our shareholders, (ii) our company is merged into or with another entity, resulting in our original shareholders, namely, Mr. Shao-Ning Johnny Chou, Mr. George Chow, Mr. Shaohan Joe Chou, Mr. David Hsiaoming Ting and The 2012 MKB Irrevocable Trust ceasing to own, collectively with their affiliates, the largest percentage of the outstanding securities of our company, (iii) the sale or transfer of all or substantially all of our assets to another entity, other than one of our subsidiaries, resulting in our original shareholders, namely, Mr. Shao-Ning Johnny Chou, Mr. George Chow, Mr. Shaohan Joe Chou, Mr. David Hsiaoming Ting and The 2012 MKB Irrevocable Trust ceasing to own, collectively with their affiliates, the largest percentage of the outstanding securities of our company, or (iv) our shareholders approve the liquidation or dissolution of our company.

 

Term

 

Unless terminated earlier, the 2008 equity and performance incentive plan will expire in June 2018. Awards made under the plan on or prior to the date of its termination will continue in effect subject to the terms of the plan and the award.

 

Vesting Schedule

 

In general, the plan administrator determines, or the award agreement specifies, the vesting schedule.

 

Amendment and Termination of Plan

 

Our board of directors may at any time amend, alter or discontinue the 2008 equity and performance incentive plan, subject to certain exceptions.

 

Granted Options

 

As of February 28, 2018, we had outstanding options with respect to 18,887,645 ordinary shares that have been granted to our directors, officers, employees and consultants, or the option holders, under the 2008 equity and performance incentive plan.

 

The table below summarizes, as of February 28, 2018, the options we had granted to our directors and executive officers under the 2008 equity and performance incentive plan:

 

Name

 

Number of
shares
underlying
options
granted

 

Exercise
price
(US$ per
share)

 

Grant date

 

Expiration date

George Chow

 

*

 

0.75

 

June 30, 2017

 

June 30, 2032

Lei Guo

 

*

 

0.75

 

Various dates from June 30, 2011 to September 30, 2017

 

Various dates from June 30, 2026 to September 30, 2032

Mangli Zhang

 

*

 

0.75

 

Various dates from June 30, 2008 to September 30, 2017

 

Various dates from June 30, 2018 to September 30, 2032

Shaohua Zhou

 

*

 

0.50 or 0.75

 

Various dates from December 31, 2009 to September 30, 2017

 

Various dates from December 31, 2024 to September 30, 2032

Tao Liu

 

*

 

0.50 or 0.75

 

Various dates from June 30, 2009 to Sep 30, 2017

 

Various dates from June 30, 2024 to Sep 30, 2032

Bo Liu

 

*

 

0.75

 

Various dates from June 30, 2008 to September 30, 2017

 

Various dates from June 30, 2027 to September 30, 2032

Jian Zhou

 

*

 

0.50 or 0.75

 

Various dates from December 31, 2008 to September 30, 2017

 

Various dates from December 31, 2023 to September 30, 2032

Yanbing Zhang

 

*

 

0.01, 0.50 or 0.75

 

Various dates from June 30, 2008 to September 30, 2017

 

Various dates from June 30, 2023 to September 30, 2032

Jimei Liu

 

*

 

0.01 or 0.75

 

Various dates from June 30, 2008 to September 30, 2017

 

Various dates from June 30, 2023 to September 30, 2032

 


*                 Less than 1% of our total ordinary shares outstanding on an as-converted basis.

 

81



Table of Contents

 

All of our option grant agreements under the 2008 equity and performance incentive plan provide that the options may not be exercised before the first date on which the ADSs are publicly traded on the New York Stock Exchange, or the listing date. In July 2017, we granted a conditional, one-time waiver of this restriction for certain option holders, and pursuant to this waiver, vested options with respect to an aggregate of 12,599,520 ordinary shares were exercised by their holders in July 2017. These option holders have paid the exercise price to us in full.

 

2017 Equity Incentive Plan

 

In September 2017, we adopted our 2017 equity incentive plan, pursuant to which equity-based awards may be granted to eligible participants. The purpose of the 2017 equity incentive plan is to attract and retain the services of key personnel and to provide means for directors, officers, employees, consultants and advisors to acquire and maintain an interest in us, which interest may be measured by reference to the value of Class A ordinary shares.

 

The 2017 equity incentive plan provides for an aggregate amount of no more than 10,000,000 Class A ordinary shares to be issued pursuant to equity-based awards granted under the plan. In addition, the number of Class A ordinary shares available for issuance under the 2017 equity incentive plan will automatically be increased by a maximum of 2% of our total outstanding shares at the end of preceding calendar year on January 1, 2019 and on every January 1 thereafter for eight years, provided that the aggregate amount of shares which may be subject to awards granted under the plan does not exceed 10% of our total outstanding shares at the end of the preceding calendar year. No more than 10,000,000 Class A ordinary shares may be issued upon the exercise of incentive stock options. Generally, if any award (or portion thereof) under the 2017 equity incentive plan terminates, expires, lapses or is cancelled for any reason without being vested or exercised, as applicable, the Class A ordinary shares subject to such award will again be available for future grant.

 

Granted Options and Restricted Share Units

 

As of February 28, 2018, we had outstanding options with respect to 40,000 ordinary shares and restricted share units with respect to 176,500 ordinary shares that have been granted to our directors, officers, employees and consultants under the 2017 equity incentive plan.

 

The table below summarizes, as of February 28, 2018, the share-based awards we had granted to our directors and executive officers under the 2017 equity incentive plan, which were all restricted share units:

 

Name

 

Number of
restricted
share units
granted

 

Grant date

 

Expiration date

Mark Qiu

 

*

 

February 1, 2018

 

February 1, 2028

Quan Hao

 

*

 

February 1, 2018

 

February 1, 2028

Wenbiao Li

 

*

 

February 1, 2018

 

February 1, 2028

 


*                 Less than 1% of our total ordinary shares outstanding on an as-converted basis.

 

Administration

 

The 2017 equity incentive plan will be administered by our board of directors, our compensation committee, or any other committee of board of directors or any member(s) of the board of directors or officer(s) who have been delegated any authority pursuant to the 2017 equity incentive plan. The plan administrator is authorized to interpret the plan and to determine the provisions of each award including the number of shares covered, the type of award, the exercise price, if applicable, and the vesting schedule. In addition, the plan administrator may (i) select the recipients of awards, (ii) prescribe the forms of award agreements and amend any award agreement (subject to certain limitations), (iii) allow a participant to satisfy minimum tax withholding obligations by withholding shares to be issued pursuant to an award and (iv) to make other decisions and determinations as provided in the 2017 equity incentive plan.

 

82



Table of Contents

 

Change in Control

 

In the event of a change in control, the plan administrator may, in its sole discretion, (i) adjust the number and kind of shares and prices subject to awards then held by a participant in the 2017 equity incentive plan in connection with the assumption, conversion or replacement of any award (as the plan administrator determines to be reasonable, equitable and appropriate) (ii) accelerate the vesting, in whole or in part, of any award, or (iii) purchase any award for an amount of cash or shares (in accordance with the terms of the 2017 equity incentive plan). In the event a successor or surviving company refuses to assume, convert or replace an award, then the outstanding awards shall fully vest. A “change of control” under the 2017 equity incentive plan is defined as (i) an amalgamation, arrangement, merger, consolidation or scheme of arrangement in which our company is not the surviving entity, except for a transaction the principal purpose of which is to change the jurisdiction in which our company is incorporated or which following such transaction the holders of our company’s voting shares immediately prior to such transaction own more than fifty percent (50%) of the voting shares of the surviving entity; (ii) the sale, transfer or other disposition of all or substantially all of the assets of our company (other than to one of our subsidiaries); (iii) the completion of a voluntary or insolvent liquidation or dissolution of our company; (iv) any takeover, reverse takeover, scheme of arrangement, or series of related transactions culminating in a reverse takeover or scheme of arrangement (including, but not limited to, a tender offer followed by a takeover or reverse takeover) in which our company survives but (A) the shares of our company outstanding immediately prior to such transaction are converted or exchanged by virtue of the transaction into other property, whether in the form of shares, securities, cash or otherwise, or (B) the shares carrying more than 50% of the total combined voting power of our company’s then issued and outstanding shares are transferred to a person or persons different from those who held such shares immediately prior to such transaction culminating in such takeover, reverse takeover or scheme of arrangement, or (C) our company issues new voting shares in connection with any such transaction such that holders of the our company’s voting shares immediately prior to the transaction no longer hold more than 50% of the voting shares of our company after the transaction; or (v) the acquisition in a single or series of related transactions by any person or related group of persons (other than employees of our company or any of its affiliates or entities established for the benefit of the employees of our company or any of its affiliates) of (A) control of our board of directors or the ability to appoint a majority of the members of our board of directors, or (B) beneficial ownership (within the meaning of Rule 13d-3 under the Exchange Act) of shares carrying more than 50% of the total combined voting power of the our company’s then issued and outstanding shares.

 

Term

 

Unless terminated earlier, the 2017 equity incentive plan will expire ten years from the date the 2017 equity incentive plan becomes effective. Awards made under the 2017 equity incentive plan on or prior to the date of its termination will continue in effect subject to the terms of the 2017 equity incentive plan and the applicable award agreement.

 

Vesting Schedule

 

In general, the plan administrator determines the vesting schedule of each award as evidenced by an award agreement. The plan administrator may accelerate the vesting of any award.

 

Amendment and Termination of Plan

 

Our board of directors, in its sole discretion, may at any time amend, alter or discontinue the 2017 equity incentive plan, subject to certain exceptions.

 

C.                                                   Board Practices

 

Board of Directors

 

Pursuant to our ninth amended and restated articles of association currently in effect, our board of directors consists of seven directors, including (i) Mr. Shao-Ning Johnny Chou and Mr. George Chow, or the Founder Directors, who were nominated by our founder, Mr. Shao-Ning Johnny Chou; (ii) Mr. Lin Wan and Mr. Jun Chen, or collectively, the Alibaba Directors, who were nominated by Alibaba (including Cainiao Network); and (iii) Ms. Quan Hao, Mr. Mark Qiu and Mr. Wenbiao Li, who are independent directors. As long as Mr. Shao-Ning Johnny Chou is a director, he will serve as the chairman of the board.

 

Unless otherwise determined by our shareholders in a general meeting, our board will consist of not less than three directors.

 

There is no requirement for our directors to own any shares in our company in order for them to qualify as a director.

 

Committees of the Board of Directors

 

Our board of directors has established an audit committee, a compensation committee, and a corporate governance and nominating committee. As a foreign private issuer, we are permitted to follow home country corporate governance practices under the Corporate Governance Rules of the New York Stock Exchange.

 

Audit Committee

 

Our audit committee consists of Ms. Quan Hao, Mr. Mark Qiu and Mr. Wenbiao Li. Ms. Quan Hao is the chairman of our audit committee. Each of Ms. Quan Hao and Mr. Mark Qiu satisfies the criteria of an audit committee financial expert as set forth under the applicable rules of the SEC. Each of Ms. Quan Hao, Mr. Mark Qiu and Mr. Wenbiao Li satisfies the requirements for an “independent director” within the meaning of Section 303A of the Corporate Governance Rules of the New York Stock Exchange, or the NYSE, and meets the criteria for independence set forth in Rule 10A-3 of the U.S. Securities Exchange Act of 1934, as amended, or the Exchange Act. Our audit committee consists solely of independent directors.

 

83



Table of Contents

 

The audit committee oversees our accounting and financial reporting processes and the audits of our financial statements. Our audit committee is responsible for, among other things:

 

·                  selecting, and evaluating the qualifications, performance and independence of, the independent auditor;

 

·                  pre-approving or, as permitted, approving auditing and non-auditing services permitted to be performed by the independent auditor;

 

·                  considering the adequacy of our internal accounting controls and audit procedures;

 

·                  reviewing with the independent auditor any audit problems or difficulties and management’s response;

 

·                  reviewing and approving related party transactions between us and our directors, senior management and other persons specified in Item 7B of Form 20-F;

 

·                  reviewing and discussing the quarterly financial statements and annual audited financial statements with management and the independent auditor;

 

·                  establishing procedures for the receipt, retention and treatment of complaints received from our employees regarding accounting, internal accounting controls or auditing matters and the confidential, anonymous submission by our employees of concerns regarding questionable accounting or auditing matters;

 

·                  meeting separately, periodically, with management, internal auditors and the independent auditor; and

 

·                  reporting regularly to the full board of directors.

 

Compensation Committee

 

Our compensation committee consists of Mr. Mark Qiu, Mr. Lin Wan and Mr. George Chow. Mr. Mark Qiu is the chairman of our compensation committee. Mr. Mark Qiu satisfies the requirements for an “independent director” within the meaning of Section 303A of the NYSE Corporate Governance Rules.

 

Our compensation committee is responsible for, among other things:

 

·                  reviewing, evaluating and, if necessary, revising our overall compensation policies;

 

·                  reviewing and evaluating the performance of our directors and executive officers and determining the compensation of our directors and executive officers;

 

·                  reviewing and approving our executive officers’ employment agreements with us;

 

·                  determining performance targets for our executive officers with respect to our annual bonus plan and share incentive plans;

 

·                  administering our share incentive plans in accordance with the terms thereof; and

 

·                  carrying out such other matters that are specifically delegated to the compensation committee by our board of directors from time to time.

 

Corporate Governance and Nominating Committee

 

Our corporate governance and nominating committee consists of Mr. Shao-Ning Johnny Chou, Mr. Lin Wan and Mr. Wenbiao Li. Mr. Shao-Ning Johnny Chou is the chairman of our corporate governance and nominating committee. Mr. Wenbiao Li satisfies the requirements for an “independent director” within the meaning of Section 303A of the NYSE Corporate Governance Rules.

 

Our corporate governance and nominating committee is responsible for, among other things:

 

·                  selecting the board nominees for election by the shareholders or appointment by the board;

 

·                  periodically reviewing with the board the current composition of the board with regards to characteristics such as independence, knowledge, skills, experience and diversity;

 

·                  making recommendations on the frequency and structure of board meetings and monitoring the functioning of the committees of the board; and

 

·                  advising the board periodically with regards to significant developments in corporate governance law and practices as well as our compliance with applicable laws and regulations, and making recommendations to the board on corporate governance matters.

 

84



Table of Contents

 

Duties of Directors

 

Under Cayman Islands law, all of our directors owe fiduciary duties to our company, including a duty of loyalty, a duty to act honestly and a duty to act in good faith and in a manner they believe to be in our best interests. Our directors must also exercise their powers only for a proper purpose. Our directors also have a duty to exercise the skill they actually possess and such care and diligence that a reasonably prudent person would exercise in comparable circumstances. In fulfilling their duty of care to us, our directors must ensure compliance with our memorandum and articles of association, as amended and restated from time to time. Our company has the right to seek damages if a duty owed by any of our directors is breached. In limited exceptional circumstances, a shareholder may have the right to seek damages in our name if a duty owed by our directors is breached.

 

A director who is in any way, whether directly or indirectly, interested in a contract or proposed contract with our company is required to declare the nature of his interest at a meeting of our directors. Subject to the rules of the New York Stock Exchange and disqualification by the chairman of the relevant board meeting, a director may vote in respect of any contract, proposed contract, or arrangement notwithstanding that he may be interested therein, and if he does so his vote shall be counted and he may be counted in the quorum at any meeting of our directors at which any such contract or proposed contract or arrangement is considered. Our directors may exercise all the powers of our company to borrow money, and to mortgage or charge its undertaking, property and uncalled capital, and issue debentures, debenture stock or other securities whenever money is borrowed or as security for any debt, liability or obligation of the company or of any third party.

 

Terms of Directors and Officers

 

Mr. Shao-Ning Johnny Chou may remove any Founder Director from office by written notice to us; Alibaba may remove any Alibaba Director from office by written notice to us; and our shareholders may remove any of our directors from office by a special resolution. In addition, a director will cease to be a director if he or she becomes bankrupt or makes any arrangement or composition with his or her creditors, dies or is found to be or becomes of unsound mind, resigns, or is absent from meetings of the board for three consecutive meetings without special leave of absence from the board and the board resolves that his or her office be vacated.

 

If a Founder Director ceases to be a director for any reason, Mr. Shao-Ning Johnny Chou will have the right to appoint another Founder Director as long as Mr. Shao-Ning Johnny Chou and his affiliates hold any of our shares. If an Alibaba Director ceases to be a director for any reason, Alibaba will have the right to appoint another Alibaba Director as long as Alibaba (including Cainiao Network) and their affiliates hold any of our shares. If the aggregate number of shares held by Alibaba (including Cainiao Network) and their affiliates represent less than 10% of our total outstanding shares, Alibaba will not be able to exercise such appointment right if there is one remaining Alibaba Director on our board, and Alibaba may be required to remove one Alibaba Director if there are two Alibaba Directors on our board.

 

By special resolution, our shareholders may appoint any person to be a director, either to fill a vacancy resulting from the removal of a director by special resolution or as an addition to the existing board. Our board may, by the affirmative vote of a simple majority of the remaining directors present and voting at a board meeting, appoint any person as a director in order to fill a vacancy other than as a result of the removal of a director by our shareholders, Mr. Shao-Ning Johnny Chou or Alibaba.

 

D.                                                   Employees

 

See “Item 4. Information on the Company—B. Business Overview—Employees.”

 

E.                                                   Share Ownership

 

The following table sets forth information with respect to the beneficial ownership, within the meaning of Rule 13d-3 under the Exchange Act, of our ordinary shares, as of February 28, 2018 by:

 

·                  each of our directors and executive officers;

 

·                  our directors and executive officers as a group; and

 

·                  each person known to us to own beneficially 5.0% or more of our ordinary shares.

 

Beneficial ownership is determined in accordance with the rules of the SEC and includes voting or investment power with respect to the securities. In computing the number of shares beneficially owned by a person and the percentage ownership of that person, we have included shares that the person has the right to acquire within 60 days, including through the exercise of any option or other right or the conversion of any other security.

 

The calculations of percentage ownership and voting power in the table below are based on (i) 232,648,452 Class A ordinary shares, (excluding 16,000,000 Class A ordinary shares issued and reserved for future issuances of ADSs upon exercise or vesting of awards granted under our share incentive plans), (ii) 94,075,249 Class B ordinary shares, and (iii) 47,790,698 Class C ordinary shares, that were issued and outstanding as of February 28, 2018.

 

85



Table of Contents

 

 

 

Ordinary Shares Beneficially Owned

 

% of

 

 

 

Class A

 

Class B

 

Class C

 

Voting

 

 

 

Number

 

Percentage

 

Number

 

Percentage

 

Number

 

Percentage

 

Power****

 

 

 

 

 

 

 

 

 

 

 

 

 

 

 

 

 

Shao-Ning Johnny Chou

 

 

 

 

 

47,790,698

 

100.0

 

46.6

 

Lin Wan

 

 

 

 

 

 

 

 

Jun Chen

 

 

 

 

 

 

 

 

Mark Qiu

 

*

 

*

 

 

 

 

 

 

George Chow

 

6,107,907

 

2.7

 

 

 

 

 

**

 

Quan Hao

 

*

 

*

 

 

 

 

 

**

 

Wenbiao Li

 

*

 

*

 

 

 

 

 

**

 

Lei Guo

 

*

 

*

 

 

 

 

 

**

 

Mangli Zhang

 

*

 

*

 

 

 

 

 

**

 

Shaohua Zhou

 

*

 

*

 

 

 

 

 

**

 

Tao Liu

 

*

 

*

 

 

 

 

 

**

 

Bo Liu

 

*

 

*

 

 

 

 

 

**

 

Jian Zhou

 

*

 

*

 

 

 

 

 

**

 

Yanbing Zhang

 

*

 

*

 

 

 

 

 

**

 

Jimei Liu

 

*

 

*

 

 

 

 

 

**

 

Directors and Executive officers as a Group

 

10,737,603

 

4.5

 

 

 

47,790,698

 

100.0

 

46.8

 

 

 

 

 

 

 

 

 

 

 

 

 

 

 

 

 

Alibaba Group Holding Limited(1) 

 

10,000,000

 

4.3

 

94,075,249

 

100.0

 

 

 

46.2

 

Shao-Ning Johnny Chou

 

 

 

 

 

47,790,698

 

100.0

 

46.6

 

CR Entities(2) 

 

33,548,304

 

14.4

 

 

 

 

 

1.1

 

IDG-Accel China Capital(3) 

 

20,200,522

 

8.7

 

 

 

 

 

**

 

 


*                  Beneficially owns less than 1% of our total ordinary shares outstanding on an as-converted basis.

 

**            Holds less than 1% of voting power of our total ordinary shares outstanding.

 

***      The business address for our directors and executive officers is 2nd Floor, Block A, Huaxing Modern Industry Park, No. 18 Tangmiao Road, Xihu District, Hangzhou, Zhejiang Province 310013, People’s Republic of China.

 

**** For each person and group included in this column, percentage of voting power is calculated by dividing the voting power beneficially owned by such person or group by the voting power of all of our Class A, Class B and Class C ordinary shares as a single class. In respect of matters requiring a shareholder vote, each Class A ordinary share is entitled to one vote, each Class B ordinary share is entitled to 15 votes, and each Class C ordinary share is entitled to 30 votes. Each Class B ordinary share or Class C ordinary share is convertible into one Class A ordinary share at any time by the holder thereof. Class A ordinary shares are not convertible into Class B ordinary shares or Class C ordinary shares, Class B ordinary shares are not convertible to Class C ordinary shares, and Class C ordinary shares are not convertible into Class B ordinary shares under any circumstances.

 

(1)          The number of ordinary shares beneficially owned was reported in a Schedule 13D filed by Alibaba Group Holding Limited, Alibaba Investment Limited and other reporting persons on October 19, 2017, and consists of (i) 10,000,000 Class A ordinary shares represented by ADSs and 75,831,692 Class B ordinary shares that are held by Alibaba Investment Limited, a limited liability company established in the British Virgin Islands, and (ii) 18,243,557 Class B ordinary shares held by Cainiao Smart Logistics Investment Limited, a limited liability company established in the British Virgin Islands. Alibaba Group Holding Limited is a public company listed on the New York Stock Exchange. Alibaba Investment Limited is wholly owned by Alibaba Group Holding Limited. Cainiao Smart Logistics Investment Limited is wholly owned by Cainiao Smart Logistics Network Limited, a company incorporated under the laws of the Cayman Islands. Alibaba Group Holding Limited owned an approximately 51% equity interest in Cainiao Smart Logistics Network Limited as of November 29, 2017, as disclosed in a prospectus supplement filed with the SEC by Alibaba Group Holding Limited on November 30, 2017. Beneficial ownership of the Class B ordinary shares held by Cainiao Smart Logistics Investment Limited is attributed to Alibaba Group Holding Limited as a result of its ownership of the 51% equity interest in Cainiao Smart Logistics Network Limited. The registered address of Alibaba Group Holding Limited is the offices of Trident Trust Company (Cayman) Limited, Fourth Floor, One Capital Place, P.O. Box 847, George Town, Grand Cayman, Cayman Islands.

 

(2)          The number of ordinary shares beneficially owned was reported in a Schedule 13G filed by the CR Entities and other reporting persons on February 15, 2018. As of March 16, 2018, the number of ordinary shares beneficially owned consists of (i) 25,778,872 Class A ordinary shares held by Florence Star Worldwide Limited, and (ii) 7,769,432 Class A ordinary shares held by Brackenhill Tower Limited. Florence Star Worldwide Limited and Brackenhill Tower Limited are collectively referred to as the CR Entities. Each of Florence Star Worldwide Limited and Brackenhill Tower Limited is a limited liability company established in the British Virgin Islands, and each of them has its registered address at Trident Chambers, P.O. Box 146, Road Town, Tortola, British Virgin Islands. The CR Entities are special purpose vehicles of both China Harvest Fund II, L.P. and China Harvest Co-Investors II, L.P., or the China Harvest Funds. The general partner of the China Harvest Funds is China Renaissance Capital Investment II, L.P. The general partner of China Renaissance Capital Investment II, L.P. is China Renaissance Capital II GP. The voting powers and investment powers of the CR Entities are exercised in accordance with the direction of the board of directors of China Renaissance Capital II GP. Mark Qiu is a member of such board of directors and disclaims beneficial ownership in the aforesaid shares except to the extent of his pecuniary interest therein through his partnership interest in the China Harvest Funds.

 

(3)          The number of ordinary shares beneficially owned was reported in a Schedule 13G filed by IDG-Accel China Capital and other reporting persons on February 12, 2018, and consists of (i) 19,337,960 Class A ordinary shares held by IDG-Accel China Capital II L.P., a limited partnership established in the Cayman Islands, and (ii) 862,562 Class A ordinary shares held by IDG-Accel China Capital II Investors L.P., a limited partnership established in the Cayman Islands. The ultimate general partner of IDG-Accel China Capital II L.P. and IDG-Accel China Capital II Investors L.P. is IDG-Accel China Capital GP II Associates Ltd., of which Chi Sing Ho and Quan Zhou are shareholders and the two directors. IDG-Accel China Capital II L.P. and IDG-Accel China Capital II Investors L.P. are collectively referred to as IDG-Accel China Capital. The address of each of IDG-Accel China Capital II L.P. and IDG-Accel China Capital II Investors L.P. is c/o IDG Capital Management (HK) Limited, Unit 5505, The Center, 99 Queen’s Road Central, Hong Kong.

 

To our knowledge, as of February 28, 2018, 67,695,449 Class A ordinary shares or 29.1% of our outstanding Class A ordinary shares were held by eight record holders in the United States, including our ADS depositary bank, which held 51,750,000 Class A ordinary shares or 22.2% of our outstanding Class A ordinary shares (excluding 16,000,000 Class A ordinary shares issued and reserved for future issuances of ADSs upon exercise or vesting of awards granted under our share incentive plans). Because many of these shares are held by brokers or other nominees, we cannot ascertain the exact number of beneficial shareholders with addresses in the United States. As of February 28, 2018, 47,790,698 Class C ordinary shares representing all of our outstanding Class C ordinary shares were held by one record holder in the United States, namely, Shao-Ning Johnny Chou, our founder, chairman and chief executive officer.

 

86



Table of Contents

 

We are not aware of any arrangement that may, at a subsequent date, result in a change of control of our company.

 

ITEM 7.                                                   MAJOR SHAREHOLDERS AND RELATED PARTY TRANSACTIONS

 

A.                                                   Major Shareholders

 

See “Item 6. Directors, Senior Management and Employees—E. Share Ownership”

 

B.                                                   Related Party Transactions

 

Contractual Arrangements with our Variable Interest Entity and its Shareholders

 

See “Item 4. Information on the Company—C. Organizational Structure—Variable Interest Entity Contractual Arrangements.”

 

Shareholders Agreement

 

On April 5, 2016, we, our subsidiaries, the VIE, and all of our then existing shareholders entered into the shareholders agreement, as amended on September 6, 2017, which replaced and superseded our previous shareholders agreements. The shareholders agreement addresses certain matters in relation to shareholder rights, corporate governance arrangements and other related obligations. Except for the VIE shareholder and director nomination right of Alibaba Investment Limited, or AIL, our non-compete undertaking to AIL and certain registration rights, all other rights and obligations of us and the shareholders under the shareholders agreement terminated upon completion of our initial public offering.

 

Other Transactions with Certain Directors and Affiliates

 

See “Item 6. Directors, Senior Management and Employees—B. Compensation.”

 

Share Incentive Plans

 

See “Item 6. Directors, Senior Management and Employees—B. Compensation—Share Incentive Plans.”

 

Other Transactions with Related Parties

 

We provided supply chain management and express delivery services to Cainiao Network, and the related service fees amounted to RMB61.6 million, RMB271.4 million and RMB490.0 million (US$75.3 million) for the years ended December 31, 2015, 2016 and 2017, respectively. As of December 31, 2016 and 2017, we had balances of RMB83.3 million and RMB164.9 million (US$25.3 million), respectively, due from Cainiao Network, which represent service fees payable to us.

 

Cainiao Network leased warehouses to us resulting in rental expense of RMB8.7 million (US$1.3 million) for the year ended December 31, 2017. As of December 31, 2017, we had a balance of RMB12.0 million (US$1.8 million) due to Cainiao Network, which represent rental expenses payable by us.

 

Cainiao Network also paid on our behalf certain operating costs of RMB19.9 million (US$3.1 million) for the year ended December 31, 2017.

 

Mr. Shao-Ning Johnny Chou was guarantor of loans to us with balances of RMB90.0 million, RMB40.0 million and nil as of December 31, 2015, 2016 and 2017, respectively.

 

C.                                                   Interests of Experts and Counsel

 

Not applicable.

 

ITEM 8.                                                   FINANCIAL INFORMATION

 

A.                                                   Consolidated Statements and Other Financial Information

 

Please refer to Item 18 for a list of our annual consolidated financial statements filed as part of this annual report on Form 20-F.

 

Legal Proceedings

 

See “Item 4. Information on the Company—B. Business Overview—Legal Proceedings.”

 

Dividend Policy and Distributions

 

Since our inception, we have not declared or paid any dividends on our shares. We do not have any present plan to pay any dividends on our ordinary shares or ADSs in the foreseeable future. We intend to retain most, if not all, of our available funds and any future earnings to operate and expand our business.

 

87



Table of Contents

 

Any future determination to pay dividends will be made at the discretion of our board of directors, subject to certain requirements of Cayman Islands law. Under Cayman Islands law, a Cayman Islands company may pay a dividend out of either profit or share premium account, provided that in no circumstances may a dividend be paid if this would result in the company being unable to pay its debts as they fall due in the ordinary course of business. Even if our directors decide to pay dividends, the form, frequency and amount of dividends will be based on a number of factors, including our future operations and earnings, capital requirements and surplus, general financial condition, contractual restrictions and other factors that the board of directors may deem relevant. If we pay any dividends on our ordinary shares, we will pay those dividends which are payable in respect of the underlying Class A ordinary shares represented by our ADSs to the depositary, as the registered holder of such Class A ordinary shares, and the depositary then will pay such amounts to our ADS holders in proportion to the underlying Class A ordinary shares represented by the ADSs held by such ADS holders, subject to the terms of the deposit agreement, including the fees and expenses payable thereunder. Cash dividends on our Class A ordinary shares, if any, will be paid in U.S. dollars.

 

We are a holding company incorporated in the Cayman Islands. In order for us to distribute any dividends to our shareholders and ADS holders, we rely on dividends distributed by our subsidiaries in China and other jurisdictions. Distributions from our subsidiaries to us may be subject to various local taxes, such as withholding tax. In addition, regulations in China currently permit payment of dividends of a Chinese company only out of accumulated distributable after-tax profits as determined in accordance with its articles of association and the accounting standards and regulations in China.

 

B.                                                   Significant Changes

 

We have not experienced any significant changes since the date of our audited consolidated financial statements included in this annual report.

 

ITEM 9.                                                   THE OFFER AND LISTING

 

A.                                                   Offer and Listing Details

 

Our ADSs, each representing one of our Class A ordinary shares, have been listed on the New York Stock Exchange since September 20, 2017 under the symbol “BSTI.” The table below shows, for the periods indicated, the high and low market prices on the New York Stock Exchange for our ADSs.

 

 

 

Market Price for Each ADS

 

 

 

High

 

Low

 

 

 

US$

 

US$

 

Annual highs and lows

 

 

 

 

 

2017

 

13.25

 

8.72

 

Quarterly highs and lows

 

 

 

 

 

Third quarter 2017 (from September 20, 2017)

 

13.25

 

10.31

 

Fourth quarter 2017

 

12.38

 

8.72

 

First quarter 2018

 

11.18

 

8.08

 

Second quarter 2018 (through April 11, 2018)

 

10.50

 

9.94

 

Monthly highs and lows

 

 

 

 

 

October 2017

 

12.38

 

10.50

 

November 2017

 

12.04

 

9.77

 

December 2017

 

9.95

 

8.72

 

January 2018

 

9.70

 

8.65

 

February 2018

 

9.94

 

8.08

 

March 2018

 

11.18

 

9.50

 

April 2018 (through April 11, 2018)

 

10.50

 

9.94

 

 

B.                                                   Plan of Distribution

 

Not applicable.

 

C.                                                   Markets

 

Our ADSs, each representing one of our Class A ordinary shares, have been trading on the New York Stock Exchange since September 20, 2017 under the symbol “BSTI.”

 

D.                                                   Selling Shareholders

 

Not applicable.

 

E.                                                   Dilution

 

Not applicable.

 

F.                                                   Expenses of the Issue

 

Not applicable.

 

88



Table of Contents

 

ITEM 10.                                                   ADDITIONAL INFORMATION

 

A.                                                   Share Capital

 

Not applicable.

 

B.                                                   Memorandum and Articles of Association

 

We incorporate by reference into this annual report the description of our ninth amended and restated memorandum and articles of association contained in our Form F-1 registration statement (File No. 333-218959), as amended, initially filed with the Securities and Exchange Commission on June 26, 2017. Our shareholders adopted our ninth amended and restated memorandum and articles of association on September 6, 2017.

 

C.                                                   Material Contracts

 

In the past three fiscal years, we have not entered into any material contracts other than in the ordinary course of business or other than those described elsewhere in this annual report.

 

D.                                                   Exchange Controls

 

See “Item 4. Information on the Company—B. Business Overview—Regulatory Matters—Regulations Relating to Foreign Exchange .”

 

E.                                                   Taxation

 

Cayman Islands Taxation

 

The Cayman Islands currently levies no taxes on individuals or corporations based upon profits, income, gains or appreciation and there is no taxation in the nature of inheritance tax or estate duty. There are no other taxes likely to be material to us levied by the Government of the Cayman Islands except for stamp duties which may be applicable on instruments executed in, or after execution brought within, the jurisdiction of the Cayman Islands. The Cayman Islands is not party to any double tax treaties which are applicable to any payments made to or by our company. There are no exchange control regulations or currency restrictions in the Cayman Islands.

 

Payments of dividends and capital in respect of our ordinary shares and ADSs will not be subject to taxation in the Cayman Islands and no withholding will be required on the payment of dividends or capital to any holder of our ordinary shares or ADSs, nor will gains derived from the disposal of our ordinary shares or ADSs be subject to Cayman Islands income or corporation tax. No stamp duty is payable in respect of the issue of our ordinary shares or on an instrument of transfer in respect of our ordinary shares.

 

Pursuant to Section 6 of the Tax Concessions Law (1999 Revision) of the Cayman Islands, we have obtained an undertaking from the Governor-in-Council:

 

(1) that no law which is enacted in the Cayman Islands imposing any tax to be levied on profits or income or gains or appreciation shall apply to us or our operations; and

 

(2) that the aforesaid tax or any tax in the nature of estate duty or inheritance tax shall not be payable on our shares, debentures or other obligations.

 

The undertaking for us is for a period of twenty years from March 18, 2008.

 

People’s Republic of China Taxation

 

In March 2007, the National People’s Congress of China enacted the Enterprise Income Tax Law, which became effective on January 1, 2008 and was recently amended on February 24, 2017. The Enterprise Income Tax Law provides that enterprises organized under the laws of jurisdictions outside China with their “de facto management bodies” located within China may be considered China resident enterprises and therefore subject to Chinese enterprise income tax at the rate of 25% on their worldwide income. The Implementing Rules of the Enterprise Income Tax Law further defines the term “de facto management body” as the management body that exercises substantial and overall management and control over the business, personnel, accounts and properties of an enterprise. In April 2009, the State Administration of Taxation issued a circular, known as SAT Circular 82, which provides certain specific criteria for determining whether the “de facto management body” of a PRC-controlled enterprise that is incorporated offshore is located in China. Further to SAT Circular 82, in 2011, the State Administration of Taxation issued the Administrative Measures for Enterprise Income Tax of Chinese-Controlled Offshore Incorporated Resident Enterprises (Trial), or SAT Bulletin 45, to provide more guidance on the implementation of SAT Circular 82.

 

According to SAT Circular 82, an offshore incorporated enterprise controlled by a PRC enterprise or a PRC enterprise group will be considered a PRC tax resident by virtue of having its “de facto management body” in China and will be subject to PRC enterprise income tax on its worldwide income only if all of the following conditions are met: (i) the senior management and core management departments in charge of its daily operations function have their presence mainly in the PRC; (ii) its financial and human resources decisions are subject to determination or approval by persons or bodies in the PRC; (iii) its major assets, accounting books, company seals, and minutes and files of its board of directors and shareholders’ meetings are located or kept in the PRC; and (iv) more than half of the enterprise’s directors or senior management with voting rights habitually reside in the PRC.

 

89



Table of Contents

 

Although SAT Circular 82 and SAT Bulletin 45 only apply to offshore enterprises controlled by PRC enterprises or PRC enterprise groups, not those controlled by PRC individuals or foreigners, the determination criteria set forth therein may reflect the State Administration of Taxation’s general position on how the “de facto management body” test could be applied in determining the tax resident status of offshore enterprises, regardless of whether they are controlled by PRC enterprises, individuals or foreigners.

 

Although a substantial majority of the members of our management team are located in the PRC, we believe that BEST Inc. is not a PRC resident enterprise for PRC tax purposes. BEST Inc. is not controlled by a PRC enterprise or PRC enterprise group and we do not believe that BEST Inc. meets all of the conditions above. BEST Inc. is a company incorporated outside the PRC. As a holding company, its key assets are its ownership interests in its subsidiaries, which are located outside the PRC. However, the tax resident status of an enterprise is subject to determination by the PRC tax authorities and uncertainties remain with respect to the interpretation of the term “de facto management body.”

 

If the PRC tax authorities determine that BEST Inc. is a PRC resident enterprise for enterprise income tax purposes, we may be required to withhold a 10% withholding tax from dividends we pay to our shareholders that are non-resident enterprises, including the holders of our ADSs. In addition, non-resident enterprise shareholders (including our ADS holders) may be subject to a 10% PRC tax on gains realized on the sale or other disposition of ADSs or ordinary shares, if such income is treated as sourced from within the PRC. Furthermore, if we are deemed a PRC resident enterprise, dividends payable to our non-PRC individual shareholders (including our ADS holders) and any gain realized on the transfer of ADSs or ordinary shares by such shareholders may be subject to PRC tax at a rate of 20% unless a reduced rate is available under an applicable tax treaty. It is also unclear whether non-PRC shareholders of BEST Inc. would be able to claim the benefits of any tax treaties between their country of tax residence and the PRC in the event that BEST Inc. is treated as a PRC resident enterprise.

 

Material U.S. Federal Income Tax Considerations

 

The following summary describes the material U.S. federal income tax consequences of the purchase, ownership and disposition of our ADSs and ordinary shares as of the date hereof. This summary is only applicable to ADSs and ordinary shares held as capital assets by a U.S. Holder (as defined below).

 

As used herein, the term “U.S. Holder” means a beneficial owner of our ADSs or ordinary shares that is for U.S. federal income tax purposes:

 

·                  an individual citizen or resident of the U.S.;

 

·                  a corporation (or other entity treated as a corporation for U.S. federal income tax purposes) created or organized in or under the laws of the U.S., any state thereof or the District of Columbia;

 

·                  an estate the income of which is subject to U.S. federal income taxation regardless of its source; or

 

·                  a trust if it (i) is subject to the primary supervision of a court within the U.S. and one or more U.S. persons have the authority to control all substantial decisions of the trust or (ii) has a valid election in effect under applicable U.S. Treasury regulations to be treated as a U.S. person.

 

The discussion below is based upon the provisions of the Internal Revenue Code of 1986, as amended, or the Code, and regulations, rulings and judicial decisions thereunder as of the date hereof, and such authorities may be replaced, revoked or modified so as to result in U.S. federal income tax consequences different from those discussed below. In addition, this summary is based, in part, upon representations made by the depositary to us and assumes that the deposit agreement, and all other related agreements, will be performed in accordance with their terms.

 

This summary does not represent a detailed description of the U.S. federal income tax consequences applicable to you if you are subject to special treatment under the U.S. federal income tax laws, including if you are:

 

·                  a U.S. expatriate or certain former citizens or long-term residents of the U.S.;

 

·                  a broker or dealer in securities or currencies;

 

·                  a financial institution;

 

·                  a regulated investment company;

 

·                  a real estate investment trust;

 

90



Table of Contents

 

·                  an insurance company;

 

·                  a tax-exempt organization or governmental organization;

 

·                  a person holding our ADSs or ordinary shares as part of a hedging, integrated or conversion transaction, a constructive sale or a straddle;

 

·                  a trader in securities that has elected the mark-to-market method of accounting for your securities;

 

·                  a person liable for alternative minimum tax;

 

·                  a person who acquired the ADSs or ordinary shares pursuant to the exercise of any employee share option or otherwise as compensation;

 

·                  a person who owns or is deemed to own 10% or more of our voting stock;

 

·                  a partnership or other pass-through entity for U.S. federal income tax purposes;

 

·                  a person required to accelerate the recognition of any item of gross income with respect to our ADSs or ordinary shares as a result of such income being recognized on an applicable financial statement; or

 

·                  a person whose “functional currency” is not the U.S. dollar.

 

If a partnership (or other entity treated as a partnership for U.S. federal income tax purposes) holds our ADSs or ordinary shares, the tax treatment of a partner will generally depend upon the status of the partner and the activities of the partnership. If you are a partner of a partnership holding our ADSs or ordinary shares, you should consult your tax advisors.

 

This summary does not contain a detailed description of all the U.S. federal income tax consequences to you in light of your particular circumstances and does not address the Medicare tax on net investment income or the effects of any state, local or non-U.S. tax laws. If you are considering the purchase, ownership or disposition of our ADSs or ordinary shares, you should consult your own tax advisors concerning the U.S. federal income tax consequences to you in light of your particular situation as well as any consequences arising under the laws of any other taxing jurisdiction.

 

ADSs

 

If you hold ADSs, for U.S. federal income tax purposes, you generally will be treated as the owner of the underlying ordinary shares that are represented by such ADSs. Accordingly, deposits or withdrawals of ordinary shares for ADSs will not be subject to U.S. federal income tax.

 

Taxation of Dividends

 

Subject to the discussion under “—Passive Foreign Investment Company” below, the gross amount of any distributions on the ADSs or ordinary shares (including any amounts withheld to reflect Chinese withholding taxes) will be taxable as dividends, to the extent paid out of our current or accumulated earnings and profits, as determined under U.S. federal income tax principles. To the extent that the amount of any distribution exceeds our current and accumulated earnings and profits, as determined under U.S. federal income tax principles, the distribution ordinarily would be treated, first, as a tax-free return of capital, causing a reduction in the adjusted basis of the ADSs or ordinary shares (thereby increasing the amount of gain, or decreasing the amount of loss, to be recognized by you on a subsequent disposition of the ADSs or ordinary shares), and, second, the balance in excess of adjusted basis generally would be taxed as capital gain recognized on a sale or exchange. However, we do not expect to determine our earnings and profits in accordance with U.S. federal income tax principles. Therefore, you should expect that distributions will generally be reported to the Internal Revenue Service, or IRS, and taxed to you as dividends (as discussed above), even if they might ordinarily be treated as a tax-free return of capital or as capital gain.

 

Any dividends that you receive (including withheld taxes) will be includable in your gross income as ordinary income on the day actually or constructively received by you, in the case of the ordinary shares, or by the depositary, in the case of ADSs. Such dividends will not be eligible for the dividends received deduction allowed to corporations under the Code.

 

With respect to non-corporate U.S. Holders, certain dividends received from a qualified foreign corporation may be subject to reduced rates of taxation. A foreign corporation is treated as a qualified foreign corporation with respect to dividends received from that corporation on ordinary shares (or ADSs backed by such shares) that are readily tradable on an established securities market in the U.S. U.S. Treasury Department guidance indicates that our ADSs (which are listed on the New York Stock Exchange), but not our common shares, are readily tradable on an established securities market in the U.S. Thus, subject to the discussion under “—Passive Foreign Investment Company” below, we believe that dividends we pay on our ADSs will meet the conditions required for the reduced tax rate. Since we do not expect that our ordinary shares will be listed on an established securities market, we do not believe that dividends that we pay on our ordinary shares that are not represented by ADSs will meet the conditions required for these reduced tax rates. There also can be no assurance that our ADSs will continue to be readily tradable on an established securities market in later years. Consequently, there can be no assurance that dividends paid on our ADSs will continue to be afforded the reduced tax rates. A qualified foreign corporation also includes a foreign corporation that is eligible for the benefits of certain income tax treaties with the U.S. In the event that we are deemed to be a China resident enterprise under the Chinese tax law (see “—People’s Republic of China Taxation” above), we may be eligible for the benefits of the income tax treaty between the U.S. and China, or the Treaty. In that case, dividends we pay on our ordinary shares would be eligible for the reduced rates of taxation whether or not the shares are readily tradable on an established securities market in the U.S., and whether or not the shares are represented by ADSs. Non-corporate U.S. Holders that do not meet a minimum holding period requirement during which they are not protected from the risk of loss or that elect to treat the dividend income as “investment income” pursuant to Section 163(d)(4) of the Code will not be eligible for the reduced rates of taxation regardless of our status as a qualified foreign corporation. In addition, the rate reduction will not apply to dividends if the recipient of a dividend is obligated to make related payments with respect to positions in substantially similar or related property. This disallowance applies even if the minimum holding period has been met. You should consult your own tax advisors regarding the application of these rules given your particular circumstances.

 

91



Table of Contents

 

Non-corporate U.S. Holders will not be eligible for reduced rates of taxation on any dividends received from us if we are a passive foreign investment company, or PFIC, in the taxable year in which such dividends are paid or in the preceding taxable year (see “—Passive Foreign Investment Company” below).

 

In the event that we are deemed to be a Chinese resident enterprise under the Chinese tax law, you may be subject to Chinese withholding taxes on dividends paid to you with respect to the ADSs or ordinary shares. See “—People’s Republic of China Taxation.” In that case, subject to certain conditions and limitations (including a minimum holding period requirement), Chinese withholding taxes on dividends may be treated as foreign taxes eligible for credit against your U.S. federal income tax liability. For purposes of calculating the foreign tax credit, dividends paid on the ADSs or ordinary shares will be treated as foreign-source income and will generally constitute passive category income. The rules governing the foreign tax credit are complex. You are urged to consult your tax advisor regarding the availability of the foreign tax credit under your particular circumstances.

 

Passive Foreign Investment Company

 

Based on the past and projected composition of our income and assets, and the valuation of our assets, including goodwill, we do not believe we were a PFIC for our taxable year ended December 31, 2017 or in future taxable years, although there can be no assurance in this regard, since the determination of our PFIC status cannot be made until the end of a taxable year and depends significantly on the composition of our assets and income throughout the year.

 

In general, we will be a PFIC for any taxable year in which:

 

·                  at least 75% of our gross income is passive income, or

 

·                  at least 50% of the value (based on a quarterly average) of our assets is attributable to assets that produce or are held for the production of passive income.

 

For this purpose, passive income generally includes dividends, interest, royalties and rents (other than royalties and rents derived in the active conduct of a trade or business and not derived from a related person), as well as gains from the sale of assets (such as stock) that produce passive income, foreign currency gains, and certain other categories of income. If we own at least 25% (by value) of the stock of another corporation, we will be treated, for purposes of determining whether we are a PFIC, as owning our proportionate share of the other corporation’s assets and receiving our proportionate share of the other corporation’s income. However, it is not entirely clear how the contractual arrangements between us and our VIE will be treated for purposes of the PFIC rules. For U.S. federal income tax purposes, we consider ourselves to own the stock of our VIE. If it is determined, contrary to our view, that we do not own the stock of our VIE for U.S. federal income tax purposes (for instance, because the relevant Chinese authorities do not respect these arrangements), that would alter the composition of our income and assets for purposes of testing our PFIC status, and may cause us to be treated as a PFIC.

 

The determination of whether we are a PFIC is made annually. Accordingly, it is possible that we may become a PFIC in the current or any future taxable year due to changes in our asset or income composition. Because we have valued our goodwill based on the market value of our ADSs, a decrease in the price of our ADSs may also result in our becoming a PFIC. If we are a PFIC for any taxable year during which you hold our ADSs or common shares, you will be subject to special tax rules discussed below.

 

If we are a PFIC for any taxable year during which you hold our ADSs or ordinary shares and you do not make a timely mark-to-market election, as described below, you will be subject to special tax rules with respect to any “excess distribution” received and any gain realized from a sale or other disposition, including a pledge, of ADSs or ordinary shares. Distributions received in a taxable year that are greater than 125% of the average annual distributions received during the shorter of the three preceding taxable years or your holding period for the ADSs or ordinary shares will be treated as excess distributions. Under these special tax rules:

 

·                  the excess distribution or gain will be allocated ratably over your holding period for the ADSs or ordinary shares,

 

·                  the amount allocated to the current taxable year, and any taxable year prior to the first taxable year in which we were a PFIC, will be treated as ordinary income, and

 

·                  the amount allocated to each other year will be subject to tax at the highest tax rate in effect for that year and the interest charge generally applicable to underpayments of tax will be imposed on the resulting tax attributable to each such year.

 

92



Table of Contents

 

The tax liability for amounts allocated to taxable years prior to the year of disposition or excess distribution cannot be offset by any net operating losses for such years, and gains (but not losses) realized on the sale or other disposition of the ADSs or ordinary shares cannot be treated as capital, even if you hold the ADSs or ordinary shares as capital assets.

 

Although the determination of whether we are a PFIC is made annually, if we are a PFIC for any taxable year in which you hold our ADSs or ordinary shares, you will generally be subject to the special tax rules described above for that year and for each subsequent year in which you hold the ADSs or ordinary shares (even if we do not qualify as a PFIC in any subsequent years). However, if we cease to be a PFIC, you can avoid the continuing impact of the PFIC rules by making a special election to recognize gain as if your ADSs or ordinary shares had been sold on the last day of the last taxable year during which we were a PFIC. You are urged to consult your own tax advisor about this election.

 

In certain circumstances, in lieu of being subject to the special tax rules discussed above, you may make a mark-to-market election with respect to your ADSs or ordinary shares provided such ADSs or ordinary shares are treated as “marketable stock.” The ADSs or ordinary shares generally will be treated as marketable stock if the ADSs or ordinary shares are “regularly traded” on a “qualified exchange or other market” (within the meaning of the applicable Treasury regulations). Under current law, the mark-to-market election may be available to holders of ADSs because the ADSs are listed on the New York Stock Exchange, which constitutes a qualified exchange, although there can be no assurance that the ADSs will be “regularly traded” for purposes of the mark-to-market election. It should also be noted that only the ADSs and not the ordinary shares are listed on the New York Stock Exchange. Consequently, if you are a holder of ordinary shares that are not represented by ADSs, you generally will not be eligible to make a mark-to-market election.

 

If you make an effective mark-to-market election, for each taxable year that we are a PFIC, you will include as ordinary income the excess of the fair market value of your ADSs or ordinary shares at the end of the year over your adjusted basis in the ADSs or ordinary shares. You will be entitled to deduct as an ordinary loss in each such year the excess of your adjusted basis in the ADSs or ordinary shares over their fair market value at the end of the year, but only to the extent of the net amount previously included in income as a result of the mark-to-market election. If you make an effective mark-to-market election, any gain you recognize upon the sale or other disposition of your ADSs or ordinary shares in a year that we are a PFIC will be treated as ordinary income and any loss will be treated as ordinary loss, but only to the extent of the net amount previously included in income as a result of the mark-to-market election. If you make a mark-to-market election, any distributions we make would generally be subject to the rules discussed above under “—Taxation of Dividends” except the lower rate applicable to qualified dividend income would not apply.

 

Your adjusted basis in the ADSs or ordinary shares will be increased by the amount of any income inclusion and decreased by the amount of any deductions under the mark-to-market rules. If you make a mark-to-market election it will be effective for the taxable year for which the election is made and all subsequent taxable years unless the ADSs or ordinary shares are no longer regularly traded on a qualified exchange or other market, or the IRS consents to the revocation of the election. Because a mark-to-market election cannot be made for equity interests in any lower-tier PFICs that we own, you may continue to be subject to the PFIC rules with respect to your indirect interest in any investments held by us that are treated as an equity interest in a PFIC for U.S. federal income tax purposes. You are urged to consult your tax advisor about the availability of the mark-to-market election, and whether making the election would be advisable in your particular circumstances.

 

A different election, known as the “qualified electing fund” or “QEF” election under Section 1295 of the Code is generally available to holders of PFIC stock, but requires that the corporation provide the holders with a “PFIC Annual Information Statement” containing certain information necessary for the election, including the holder’s pro rata share of the corporation’s earnings and profits and net capital gains for each taxable year, computed according to U.S. federal income tax principles. We do not intend, however, to determine our earnings and profits or net capital gain under U.S. federal income tax principles, nor do we intend to provide U.S. Holders with a PFIC Annual Information Statement. Therefore, you should not expect to be eligible to make this election.

 

If we are a PFIC for any taxable year during which you hold our ADSs or ordinary shares and any of our non-U.S. subsidiaries is also a PFIC, you will be treated as owning a proportionate amount (by value) of the shares of the lower-tier PFIC for purposes of the application of these rules. You are urged to consult your tax advisors about the application of the PFIC rules to any of our subsidiaries.

 

You will generally be required to file IRS Form 8621 if you hold our ADSs or ordinary shares in any year in which we are classified as a PFIC. You are urged to consult your tax advisors concerning the U.S. federal income tax consequences of holding ADSs or ordinary shares if we are considered a PFIC in any taxable year.

 

Taxation of Capital Gains

 

For U.S. federal income tax purposes, you will recognize taxable gain or loss on any sale or exchange of ADSs or ordinary shares in an amount equal to the difference between the amount realized for the ADSs or ordinary shares and your adjusted basis in the ADSs or ordinary shares. Subject to the discussion under “—Passive Foreign Investment Company” above, such gain or loss will generally be capital gain or loss and will generally be long-term capital gain or loss if you have held the ADSs or ordinary shares for more than one year. Long-term capital gains of non-corporate U.S. Holders (including individuals) are eligible for reduced rates of taxation. The deductibility of capital losses is subject to limitations. Any gain or loss recognized by you will generally be treated as U.S. source gain or loss for foreign tax credit limitation purposes. However, if we are treated as a Chinese resident enterprise for Chinese tax purposes and Chinese tax is imposed on any gain, and if you are eligible for the benefits of the Treaty, you may elect to treat such gain as China source gain. If you are not eligible for the benefits of the Treaty or you fail to make the election to treat any gain as China source, then you may not be able to use the foreign tax credit arising from any Chinese tax imposed on the disposition of our ADSs or ordinary shares unless such credit can be applied (subject to applicable limitations) against U.S. federal income tax due on other income derived from foreign sources in the same income category (generally, the passive category). You are urged to consult your tax advisors regarding the tax consequences if any Chinese tax is imposed on gain on a disposition of our ordinary shares or ADSs, including the availability of the foreign tax credit and the election to treat any gain as China source, under your particular circumstances.

 

93



Table of Contents

 

Information Reporting and Backup Withholding

 

In general, information reporting will apply to dividends in respect of our ADSs or ordinary shares and the proceeds from the sale, exchange or other disposition of our ADSs or ordinary shares that are paid to you within the U.S. (and in certain cases, outside the U.S.), unless you are an exempt recipient such as a corporation. A backup withholding tax may apply to such payments if you fail to provide a taxpayer identification number or certification of exempt status or fail to report in full dividend and interest income. U.S. Holders that are required to establish their exempt status generally must provide such certification on U.S. Internal Revenue Service Form W-9. U.S. Holders should consult their tax advisors regarding the application of the U.S. information reporting and backup withholding rules.

 

Backup withholding is not an additional tax and any amounts withheld under the backup withholding rules will be allowed as a refund or a credit against your U.S. federal income tax liability provided the required information is furnished to the IRS in a timely manner.

 

F.                                                   Dividends and Paying Agents

 

Not applicable.

 

G.                                                   Statement by Experts

 

Not applicable.

 

H.                                                   Documents on Display

 

We have filed this annual report on Form 20-F, including exhibits, with the SEC. As allowed by the SEC, in Item 19 of this annual report, we incorporate by reference certain information we filed with the SEC. This means that we can disclose important information to you by referring you to another document filed separately with the SEC. The information incorporated by reference is considered to be part of this annual report.

 

You may read and copy this annual report, including the exhibits incorporated by reference in this annual report, at the SEC’s Public Reference Room at 100 F Street, N.E., Washington, D.C. 20549 and at the SEC’s regional offices in New York, New York, and Chicago, Illinois. You can also request copies of this annual report, including the exhibits incorporated by reference in this annual report, upon payment of a duplicating fee, by writing to the SEC’s Public Reference Room for information.

 

The SEC also maintains a website that contains reports, proxy statements and other information about issuers, such as us, who file electronically with the SEC. The address of that website is http://www.sec.gov. The information on that website is not a part of this annual report.

 

I.                                                   Subsidiary Information

 

Not applicable.

 

ITEM 11.                                                   QUANTITATIVE AND QUALITATIVE DISCLOSURES ABOUT MARKET RISK

 

Interest Rate Risk

 

Our exposure to interest rate risk primarily relates to interest expenses incurred in respect of bank borrowings, capital lease obligations and interest income generated by excess cash, which is mostly held in interest-bearing bank deposits. We have not significantly used derivative financial instruments in our investment portfolio. Interest earning instruments and interest-bearing obligations carry a degree of interest rate risk. We have not been exposed to, nor do we anticipate being exposed to, material risks due to changes in market interest rates. However, our future interest income and interest expenses may fluctuate due to changes in market interest rates.

 

Foreign Exchange Risk

 

All of our revenue and substantially all of our expenses are denominated in Renminbi. We do not believe that we currently have any significant direct foreign exchange risk and have not used any derivative financial instruments to hedge exposure to such risk. Although in general our exposure to foreign exchange risks should be limited, the value of your investment in our ADSs will be affected by the exchange rate between the U.S. dollar and the Renminbi because the value of our business is effectively denominated in Renminbi, while our ADSs will be traded in U.S. dollars.

 

The conversion of Renminbi into foreign currencies, including U.S. dollars, is based on rates set by the PBOC. The Chinese government allowed the Renminbi to appreciate by more than 20% against the U.S. dollar between July 2005 and July 2008. Between July 2008 and June 2010, the exchange rate between the Renminbi and the U.S. dollar had been stable and traded within a narrow band. Since June 2010, the Chinese government has allowed the Renminbi to appreciate slowly against the U.S. dollar, though there have been periods when the Renminbi has depreciated against the U.S. dollar. In particular, on August 11, 2015, the PBOC allowed the Renminbi to depreciate by approximately 2% against the U.S. dollar. It is difficult to predict how long the current situation may last and when and how the relationship between the Renminbi and the U.S. dollar may change again.

 

94



Table of Contents

 

We have historically incurred short-term borrowings in Renminbi to fund our working capital requirements in the PRC while holding significant U.S. dollar balances. To the extent that we need to convert U.S. dollars into Renminbi for our operations, appreciation of the Renminbi against the U.S. dollar would have an adverse effect on the Renminbi amount we receive from the conversion. Conversely, if we decide to convert Renminbi into U.S. dollars for the purpose of making payments for dividends on our ordinary shares or ADSs or for other business purposes, appreciation of the U.S. dollar against the Renminbi would have a negative effect on the U.S. dollar amounts available to us.

 

Inflation

 

Since our inception, inflation in China has not materially affected our results of operations. According to the National Bureau of Statistics of China, the year-over-year percent changes in the consumer price index for December 2014, December 2015 and December 2016 were increases of 1.5%, 1.6% and 2.0%, respectively. Although we have not been materially affected by inflation in the past, we may be affected if China experiences higher rates of inflation in the future.

 

Commodity Price Risk

 

Our exposure to commodity price risk primarily relates to the fuel price in connection with our transportation network. The price and availability of fuel are subject to fluctuations due to changes in the level of global oil production, seasonality, weather, global politics and other factors. Historically, fluctuations in the price of fuel, especially gasoline, have been the commodity with the greatest impact on our results of operations. Despite the recent decline in fuel prices, there is a risk that fuel prices could rise in future periods. In the event of significant fuel price rise, our transportation expenses may rise and our gross income may decrease if we are unable to adopt any effective cost control-measures or pass on the incremental costs to our customers in the form of service surcharges.

 

We are also exposed to a lesser degree to the price of paper used in packing of the parcels and other goods we ship and the price of electricity that powers our technology and that is used in our facilities.

 

ITEM 12.                                                   DESCRIPTION OF SECURITIES OTHER THAN EQUITY SECURITIES

 

A.                                                   Debt Securities

 

Not applicable.

 

B.                                                   Warrants and Rights

 

Not applicable.

 

C.                                                   Other Securities

 

Not applicable.

 

D.                                                   American Depositary Shares

 

In September 2017, we appointed Citibank, N.A., or Citibank, as the depositary bank for our ADR program. We entered into a deposit agreement with Citibank, as depositary, and all holders from time to time of our ADRs on September 22, 2017.

 

Fees and Charges

 

As an ADS holder, you will be required to pay the following fees under the terms of the deposit agreement:

 

Service

 

Fees

·                  Issuance of ADSs (e.g.,  an issuance of ADS upon a deposit of Class A ordinary shares, upon a change in the ADS(s)-to-Class A ordinary share(s) ratio, or for any other reason), excluding ADS issuances as a result of distributions of Class A ordinary shares

 

Up to U.S. 5¢ per ADS issued

 

 

 

·                  Cancellation of ADSs (e.g., a cancellation of ADSs for delivery of deposited property, upon a change in the ADS(s)-to-Class A ordinary share(s) ratio, or for any other reason)

 

Up to U.S. 5¢ per ADS cancelled

 

 

 

·                  Distribution of cash dividends or other cash distributions (e.g., upon a sale of rights and other entitlements)

 

Up to U.S. 5¢ per ADS held

 

95



Table of Contents

 

Service

 

Fees

·                  Distribution of ADSs pursuant to (i) stock dividends or other free stock distributions, or (ii) exercise of rights to purchase additional ADSs

 

Up to U.S. 5¢ per ADS held

 

 

 

·                  Distribution of securities other than ADSs or rights to purchase additional ADSs (e.g., upon a spin-off)

 

Up to U.S. 5¢ per ADS held

 

 

 

·                  ADS Services

 

Up to U.S. 5¢ per ADS held on the applicable record date(s) established by the depositary bank

 

As an ADS holder you will also be responsible to pay certain charges such as:

 

·                  taxes (including applicable interest and penalties) and other governmental charges;

 

·                  the registration fees as may from time to time be in effect for the registration of Class A ordinary shares on the share register and applicable to transfers of Class A ordinary shares to or from the name of the custodian, the depositary bank or any nominees upon the making of deposits and withdrawals, respectively;

 

·                  certain cable, telex and facsimile transmission and delivery expenses;

 

·                  the expenses and charges incurred by the depositary bank in the conversion of foreign currency;

 

·                  the fees and expenses incurred by the depositary bank in connection with compliance with exchange control regulations and other regulatory requirements applicable to Class A ordinary shares, ADSs and ADRs; and

 

·                  the fees and expenses incurred by the depositary bank, the custodian, or any nominee in connection with the servicing or delivery of deposited property.

 

ADS fees and charges payable upon (i) the issuance of ADSs, and (ii) the cancellation of ADSs are charged to the person to whom the ADSs are issued (in the case of ADS issuances) and to the person whose ADSs are cancelled (in the case of ADS cancellations). In the case of ADSs issued by the depositary bank into DTC, the ADS issuance and cancellation fees and charges may be deducted from distributions made through DTC, and may be charged to the DTC participant(s) receiving the ADSs being issued or the DTC participant(s) holding the ADSs being cancelled, as the case may be, on behalf of the beneficial owner(s) and will be charged by the DTC participant(s) to the account of the applicable beneficial owner(s) in accordance with the procedures and practices of the DTC participants as in effect at the time. ADS fees and charges in respect of distributions and the ADS service fee are charged to the holders as of the applicable ADS record date. In the case of distributions of cash, the amount of the applicable ADS fees and charges is deducted from the funds being distributed. In the case of (i) distributions other than cash and (ii) the ADS service fee, holders as of the ADS record date will be invoiced for the amount of the ADS fees and charges and such ADS fees and charges may be deducted from distributions made to holders of ADSs. For ADSs held through DTC, the ADS fees and charges for distributions other than cash and the ADS service fee may be deducted from distributions made through DTC, and may be charged to the DTC participants in accordance with the procedures and practices prescribed by DTC and the DTC participants in turn charge the amount of such ADS fees and charges to the beneficial owners for whom they hold ADSs.

 

In the event of refusal to pay the depositary bank fees, the depositary bank may, under the terms of the deposit agreement, refuse the requested service until payment is received or may set off the amount of the depositary bank fees from any distribution to be made to the ADS holder. Certain of the depositary fees and charges (such as the ADS services fee) may become payable shortly after the closing of the ADS offering. Note that the fees and charges you may be required to pay may vary over time and may be changed by us and by the depositary bank. You will receive prior notice of such changes. The depositary bank may reimburse us for certain expenses incurred by us in respect of the ADR program, by making available a portion of the ADS fees charged in respect of the ADR program or otherwise, upon such terms and conditions as we and the depositary bank agree from time to time.

 

Payments by Depositary

 

In 2017, we received total payments of approximately US$10.5 million from Citibank, the depositary bank for our ADR program for reimbursement of investor relations expenses and other program related expenses, after deduction of applicable U.S. taxes.

 

PART II

 

ITEM  13.                                                   DEFAULTS, DIVIDEND ARREARAGES AND DELINQUENCIES

 

None.

 

96



Table of Contents

 

ITEM  14.                                                   MATERIAL MODIFICATIONS TO THE RIGHTS OF SECURITY HOLDERS AND USE OF PROCEEDS

 

A.                                                   Modifications of Rights

 

See “Item 10. Additional Information—B. Memorandum and Articles of Association” for a description of the rights of securities holders, which remain unchanged.

 

E.                                                   Use of Proceeds

 

The following “Use of Proceeds” information relates to the registration statement on Form F-1, as amended (File No. 333-218959) in relation to our initial public offering, which was declared effective by the SEC on September 19, 2017. In September 2017, we completed our initial public offering in which we issued and sold an aggregate of 49,750,000 ADSs, representing 49,750,000 Class A ordinary shares, resulting in net proceeds to us of approximately US$472.2 million. Citigroup Global Markets Inc., Credit Suisse Securities (USA) LLC, Goldman Sachs (Asia) L.L.C., J.P. Morgan Securities LLC and Deutsche Bank Securities Inc. were the representatives of the underwriters for our initial public offering.

 

For the period from September 19, 2017, the date that the F-1 Registration Statement was declared effective by the SEC, to December 31, 2017, we used approximately US$94.0 million of the net proceeds from our initial public offering to expand and optimize our express, freight and supply chain service network as well as to purchase vehicles for the direct financial leasing service we provided to our ecosystem participants. We still intend to use the remainder of the proceeds from our initial public offering, as disclosed in our registration statements on Form F-1, for (i) continued investments in our technology infrastructure and development of additional services and solutions, (ii) further expansion of our integrated logistics and supply chain service network and BEST Store+ network, and (iii) general corporate purposes, including the acquisition of, or investment in, technologies, solutions or businesses that complement our existing business, although we have no present commitments or agreements to enter into any acquisitions or investments.

 

ITEM 15.                                                   CONTROLS AND PROCEDURES

 

Disclosure Controls and Procedures

 

We maintain disclosure controls and procedures designed to provide reasonable assurance that information required to be disclosed in reports filed under the Exchange Act is recorded, processed, summarized and reported within the specified time periods and accumulated and communicated to our management, including our principal executive officer and principal accounting officer, as appropriate, to allow timely decisions regarding required disclosure.

 

Our management, under the supervision and with the participation of our principal executive officer and our principal accounting officer, evaluated the effectiveness of our disclosure controls and procedures, as defined in Rules 13a-15(e) or 15d-15(e) promulgated under the Exchange Act, as of December 31, 2017. Based on that evaluation, our principal executive officer and principal accounting officer have concluded that our disclosure controls and procedures are effective in ensuring that material information required to be disclosed in this annual report is recorded, processed, summarized and reported to them for assessment, and required disclosure is made within the time period specified in the rules and forms of the Commission.

 

Management’s Annual Report on Internal Control over Financial Reporting

 

This annual report does not include a report of management’s assessment regarding internal control over financial reporting or an attestation report of our registered public accounting firm due to a transition period established by rules of the Securities and Exchange Commission for newly listed companies.

 

Changes in Internal Control over Financial Reporting

 

In connection with the audit of our financial statements as of December 31, 2015 and 2016 and for each of the three years in the period ended December 31, 2016, we identified one material weakness. A material weakness is a deficiency, or combination of deficiencies, in internal control over financial reporting such that there is a reasonable possibility that a material misstatement of our financial statements will not be prevented or detected on a timely basis. The material weakness related to our company’s insufficient number of financial reporting personnel with an appropriate level of knowledge, experience and training in U.S. GAAP and SEC rules and regulations commensurate with our reporting requirements.

 

We have implemented a number of measures to address this material weakness. We have hired additional qualified financial and accounting staff with U.S. GAAP and SEC reporting experience to strengthen our financial reporting capability, and have improved our monthly closing process, related financial reporting and disclosure procedures. We have also established an internal audit department to enhance internal controls and have engaged an independent advisory firm to assist us in assessing the design and effectiveness of our execution of internal controls in accordance with the compliance requirements under the Sarbanes-Oxley Act of 2002 and in improving our overall internal controls.

 

As of December 31, 2017, based on an assessment performed by our management on the performance of the remediation measures described above, we determined that the material weakness previously identified in our internal control over financial reporting had been remediated.

 

We and our independent registered public accounting firm were not required to perform an evaluation of our internal control over financial reporting as of December 31, 2017. Accordingly, we cannot assure you that we have identified all, or that we will not in the future have additional, material weaknesses. Material weaknesses may still exist when we report on the effectiveness of our internal control over financial reporting as required by reporting requirements under Section 404 of the Sarbanes-Oxley Act after the completion of this offering.

 

97



Table of Contents

 

Other than as described above, there were no changes in our internal controls over financial reporting that occurred during the period covered by this annual report that have materially affected, or are reasonably likely to materially affect, our internal control over financial reporting.

 

ITEM 16A.                                                   AUDIT COMMITTEE FINANCIAL EXPERT

 

Our Board of Directors has determined that each of Ms. Quan Hao and Mr. Mark Qiu, who is an independent director, qualifies as an audit committee financial expert as defined in Item 16A of the instruction to Form 20-F.

 

ITEM 16B.                                                   CODE OF ETHICS

 

We have adopted a code of business conduct and ethics which applies to our directors, employees, advisors and officers, including our Chief Executive Officer and Chief Accounting Officer. No changes have been made to the code of business conduct and ethics since its adoption and no waivers have been granted therefrom to our directors or employees. We have filed our code of business conduct as an exhibit to our F-1 registration statement (File No. 333-218959), as amended, initially filed with the Securities and Exchange Commission on June 26, 2017, and a copy is available to any shareholder upon request. This code of business conduct and ethics is also available on our website at ir.best-inc.com.

 

ITEM 16C.                                                   PRINCIPAL ACCOUNTANT FEES AND SERVICES

 

The following table sets forth the aggregate fees by categories specified below in connection with certain professional services rendered by Ernst & Young Hua Ming LLP, for the years indicated.

 

 

 

For the Years Ended
December 31,

 

 

 

2016

 

2017

 

 

 

(In thousands of US dollars)

 

Audit Fees

 

346

 

1,540

 

All Other Fees

 

518

 

 

Total

 

864

 

1,540

 

 


(1)         “Audit Fees” represents the aggregate fees billed for each of the fiscal years listed for professional services rendered by our principal auditors for the audit of our annual financial statements and assistance with and review of documents filed with the SEC and other statutory and regulatory filings.

(2)         “All Other Fees” represents the aggregate fees billed in each of the fiscal years listed for services rendered by our principal auditors associated with certain due diligence projects in 2016.

 

Pre-Approval Policies and Procedures

 

Our audit committee is responsible for the oversight of our independent accountants’ work. The policy of our audit committee is to pre-approve all audit and non-audit services provided by Ernst & Young Hua Ming LLP, including audit services and other services, as described above, other than those for de minimis services which are approved by the audit committee prior to the completion of the audit.

 

ITEM 16D.                                                   EXEMPTIONS FROM THE LISTING STANDARDS FOR AUDIT COMMITTEES

 

None.

 

ITEM 16E.                                                   PURCHASES OF EQUITY SECURITIES BY THE ISSUER AND AFFILIATED PURCHASERS

 

None.

 

ITEM 16F.                                                   CHANGE IN REGISTRANT’S CERTIFYING ACCOUNTANT

 

Not applicable.

 

ITEM 16G.                                                   CORPORATE GOVERNANCE

 

We are a “foreign private issuer” (as such term is defined in Rule 3b-4 under the Exchange Act), and our ADSs, each representing one Class A ordinary share, are listed on the New York Stock Exchange. Under Section 303A of the New York Stock Exchange Listed Company Manual, New York Stock Exchange listed companies that are foreign private issuers are permitted to follow home country practice in lieu of the corporate governance provisions specified by the New York Stock Exchange with limited exceptions. The following summarizes some significant ways in which our corporate governance practices differ from those followed by domestic companies under the listing standards of the New York Stock Exchange.

 

·                  In respect of independent directors on our board of directors: As our home country practice does not require a majority of our board of directors to be independent, only three of our seven directors are independent.

 

·                  In respect of the oversight of our executive officer compensation and director nominations matters: As our home country practice does not require independent director oversight of executive officer compensation and director nomination matters, our compensation and corporate governance and nominating committees are not comprised solely of independent directors.

 

98



Table of Contents

 

ITEM 16H.                                                MINE SAFETY DISCLOSURE

 

Not applicable.

 

PART III

 

ITEM 17.                                                   FINANCIAL STATEMENTS

 

The Registrant has elected to provide the financial statements and related information specified in Item 18.

 

ITEM 18.                                                   FINANCIAL STATEMENTS

 

The consolidated financial statements of BEST Inc. are included at the end of this annual report.

 

99



Table of Contents

 

ITEM 19.                                                   EXHIBITS

 

Exhibit
Number

 

Description of Exhibits

 

 

 

1.1

 

Ninth Amended and Restated Memorandum and Articles of Association of the Registrant (incorporated by reference to Exhibit 3.2 to our Registration Statement on Form F-1 (File No. 333-218959), initially filed with the Securities and Exchange Commission on June 26, 2017).

 

 

 

2.1

 

Registrant’s Form of American Depositary Receipt evidencing American Depositary Shares (incorporated by reference to Exhibit (a) to our Registration Statement on Form F-6 (File No. 333-220361) filed with the Securities and Exchange Commission on September 6, 2017 with respect to American depositary shares representing our Class A ordinary shares).

 

 

 

2.2

 

Registrant’s Specimen of Ordinary Share Certificate (incorporated by reference Exhibit 4.1 to our Registration Statement on Form F-1 (File No. 333-218959), initially filed with the Securities and Exchange Commission on June 26, 2017).

 

 

 

2.3

 

Form of Deposit Agreement between the Registrant and Citibank, N.A., as depositary (incorporated by reference to Exhibit (a) to our Registration Statement on Form F-6 (File No. 333-220361) filed with the Securities and Exchange Commission on September 6, 2017 with respect to American depositary shares representing our Class A ordinary shares).

 

 

 

4.1

 

Seventh Amended and Restated Shareholders Agreement among the Registrant, its then shareholders, subsidiaries and variable interest entity, dated April 5, 2016 (incorporated by reference to Exhibit 4.4 to our Registration Statement on Form F-1 (File No. 333-218959), initially filed with the Securities and Exchange Commission on June 26, 2017).

 

 

 

4.2

 

Amendment No. 1 to Seventh Shareholders Agreement, as adopted by shareholder resolutions on September 6, 2017 (incorporated by reference to Exhibit 4.5 to our Registration Statement on Form F-1 (File No. 333-218959), initially filed with the Securities and Exchange Commission on June 26, 2017).

 

 

 

4.3

 

Loan Agreement between Zhejiang BEST Technology Co., Ltd., Wei Chen and Lili He, dated October 12, 2011 (English Translation) (incorporated by reference to Exhibit 10.1 to our Registration Statement on Form F-1 (File No. 333-218959), initially filed with the Securities and Exchange Commission on June 26, 2017).

 

 

 

4.4

 

Loan Agreement between Zhejiang BEST Technology Co., Ltd. and Hangzhou Ali Venture Capital Co., Ltd., dated February 15, 2015 (English Translation) (incorporated by reference to Exhibit 10.2 to our Registration Statement on Form F-1 (File No. 333-218959), initially filed with the Securities and Exchange Commission on June 26, 2017).

 

 

 

4.5

 

Amended and Restated Exclusive Technical Services Agreement between Hangzhou BEST Network Technologies Co., Ltd. and Zhejiang BEST Technology Co., Ltd., dated June 21, 2017 (English Translation) (incorporated by reference to Exhibit 10.3 to our Registration Statement on Form F-1 (File No. 333-218959), initially filed with the Securities and Exchange Commission on June 26, 2017).

 

 

 

4.6

 

Amended and Restated Equity Pledge Agreement concerning Hangzhou BEST Network Technologies Co., Ltd., among Wei Chen, Lili He, Hangzhou Ali Venture Capital Co., Ltd., Zhejiang BEST Technology Co., Ltd. and Hangzhou BEST Network Technologies Co., Ltd., dated June 21, 2017 (English Translation) (incorporated by reference to Exhibit 10.4 to our Registration Statement on Form F-1 (File No. 333-218959), initially filed with the Securities and Exchange Commission on June 26, 2017).

 

 

 

4.7

 

Amended and Restated Shareholders’ Voting Rights Proxy Agreement concerning Hangzhou BEST Network Technologies Co., Ltd., among Wei Chen, Lili He, Hangzhou Ali Venture Capital Co., Ltd., BEST Logistics Technologies Limited, Zhejiang BEST Technology Co., Ltd. and Hangzhou BEST Network Technologies Co., Ltd., dated June 21, 2017 (English Translation) (incorporated by reference to Exhibit 10.5 to our Registration Statement on Form F-1 (File No. 333-218959), initially filed with the Securities and Exchange Commission on June 26, 2017).

 

 

 

4.8

 

Amended and Restated Exclusive Call Option Agreement concerning Hangzhou BEST Network Technologies Co., Ltd., among Wei Chen, Lili He, Hangzhou Ali Venture Capital Co., Ltd., BEST Logistics Technologies Limited, Zhejiang BEST Technology Co., Ltd. and Hangzhou BEST Network Technologies Co., Ltd., dated June 21, 2017 (English Translation) (incorporated by reference to Exhibit 10.6 to our Registration Statement on Form F-1 (File No. 333-218959), initially filed with the Securities and Exchange Commission on June 26, 2017).

 

 

 

4.9

 

BEST Logistics Technologies Limited Series G Preferred Share Purchase Agreement, among the Registrant, its then shareholders, subsidiaries and variable interest entity and certain investors named therein, dated January 18, 2016 (incorporated by reference to Exhibit 10.7 to our Registration Statement on Form F-1 (File No. 333-218959), initially filed with the Securities and Exchange Commission on June 26, 2017).

 

 

 

4.10

 

BEST Logistics Technologies Limited Series G-2 Preferred Share Purchase Agreement, among the Registrant, its then shareholders, subsidiaries and variable interest entity and certain investors named therein, dated April 5, 2016 (incorporated by reference to Exhibit 10.8 to our Registration Statement on Form F-1 (File No. 333-218959), initially filed with the Securities and Exchange Commission on June 26, 2017).

 

100



Table of Contents

 

Exhibit
Number

 

Description of Exhibits

4.11

 

Share Repurchase Agreement, among the Registrant and certain selling shareholders named therein, dated April 5, 2016 (incorporated by reference to Exhibit 10.9 to our Registration Statement on Form F-1 (File No. 333-218959), initially filed with the Securities and Exchange Commission on June 26, 2017).

 

 

 

4.12

 

Form of Indemnification Agreement between the Registrant and its directors and executive officers (incorporated by reference to Exhibit 10.10 to our Registration Statement on Form F-1 (File No. 333-218959), initially filed with the Securities and Exchange Commission on June 26, 2017).

 

 

 

4.13

 

Form of Employment Agreement between the Registrant and its executive officers who are not PRC citizens (incorporated by reference to Exhibit 10.11 to our Registration Statement on Form F-1 (File No. 333-218959), initially filed with the Securities and Exchange Commission on June 26, 2017).

 

 

 

4.14

 

Form of Employment Agreement between the Registrant and its executive officers who are PRC citizens (English Translation) (incorporated by reference to Exhibit 10.12 to our Registration Statement on Form F-1 (File No. 333-218959), initially filed with the Securities and Exchange Commission on June 26, 2017).

 

 

 

4.15

 

Form of Letter of Commitment and Non-Compete between the Registrant and its executive officers who are PRC citizens (incorporated by reference to Exhibit 10.13 to our Registration Statement on Form F-1 (File No. 333-218959), initially filed with the Securities and Exchange Commission on June 26, 2017).

 

 

 

4.16

 

BEST Logistics Technologies Limited 2008 Equity and Performance Incentive Plan (incorporated by reference to Exhibit 10.14 to our Registration Statement on Form F-1 (File No. 333-218959), initially filed with the Securities and Exchange Commission on June 26, 2017).

 

 

 

4.17

 

BEST Inc. 2017 Equity Incentive Plan (incorporated by reference to Exhibit 10.15 to our Registration Statement on Form F-1 (File No. 333-218959), initially filed with the Securities and Exchange Commission on June 26, 2017).

 

 

 

*8.1

 

List of Subsidiaries

 

 

 

11.1

 

Code of Business Conduct of the Registrant (incorporated by reference to Exhibit 99.1 to our Registration Statement on Form F-1 (File No. 333-218959), initially filed with the Securities and Exchange Commission on June 26, 2017).

 

 

 

*12.1

 

Certification of our Principal Executive Officer pursuant to Section 302 of the Sarbanes-Oxley Act of 2002

 

 

 

*12.2

 

Certification of our Principal Financial Officer pursuant to Section 302 of the Sarbanes-Oxley Act of 2002

 

 

 

**13.1

 

Certification of our Principal Executive Officer pursuant to 18 U.S.C. Section 1350 as adopted pursuant to Section 906 of the Sarbanes-Oxley Act of 2002

 

 

 

**13.2

 

Certification of our Principal Financial Officer pursuant to 18 U.S.C Section 1350 as adopted pursuant to Section 906 of the Sarbanes-Oxley Act of 2002

 

 

 

*15.1

 

Consent of Independent Registered Public Accounting Firm

 

 

 

*15.2

 

Consent of King and Wood Mallesons

 

 

 

*101.INS

 

XBRL Instance Document.

 

 

 

*101.SCH

 

XBRL Taxonomy Extension Schema Document.

 

 

 

*101.CAL

 

XBRL Taxonomy Extension Calculation Linkbase Document.

 

 

 

*101.DEF

 

XBRL Taxonomy Extension Definition Linkbase Document.

 

 

 

*101.LAB

 

XBRL Taxonomy Extension Labels Linkbase Document.

 

 

 

*101.PRE

 

XBRL Taxonomy Extension Presentation Linkbase Document.

 


*                               Filed herewith

 

**                        Furnished herewith

 

101



Table of Contents

 

SIGNATURES

 

The registrant hereby certifies that it meets all of the requirements for filing on Form 20-F and that it has duly caused and authorized the undersigned to sign this annual report on its behalf.

 

 

BEST Inc.

 

 

 

 

 

 

 

By:

/s/ Shao-Ning Johnny Chou

 

 

Name:

Shao-Ning Johnny Chou

 

 

Title:

Chairman and Chief Executive Officer

 

 

 

Date:  April 12, 2018

 

 

 

102




Table of Contents

 

REPORT OF INDEPENDENT REGISTERED PUBLIC ACCOUNTING FIRM

 

To the Shareholders and Board of Directors of BEST Inc.

 

Opinion on the Financial Statements

 

We have audited the accompanying consolidated balance sheets of BEST Inc. (the “Company”) as of December 31, 2017 and 2016, the related consolidated statements of comprehensive loss, cash flows and changes in shareholders’ equity/(deficit) for each of the three years in the period ended December 31, 2017, and the related notes (collectively referred to as the “consolidated financial statements”). In our opinion, the consolidated financial statements present fairly, in all material respects, the consolidated financial position of the Company at December 31, 2017 and 2016, and the consolidated results of its operations and its cash flows for each of the three years in the period ended December 31, 2017, in conformity with U.S. generally accepted accounting principles.

 

Basis for Opinion

 

These financial statements are the responsibility of the Company’s management. Our responsibility is to express an opinion on these financial statements based on our audits. We are a public accounting firm registered with the Public Company Accounting Oversight Board (United States) (“PCAOB”) and are required to be independent with respect to the Company in accordance with the U.S. federal securities laws and the applicable rules and regulations of the Securities and Exchange Commission and the PCAOB.

 

We conducted our audits in accordance with the standards of the PCAOB. Those standards require that we plan and perform the audit to obtain reasonable assurance about whether the financial statements are free of material misstatement, whether due to error or fraud. The Company is not required to have, nor were we engaged to perform, an audit of its internal control over financial reporting. As part of our audits we are required to obtain an understanding of internal control over financial reporting but not for the purpose of expressing an opinion on the effectiveness of the Company’s internal control over financial reporting. Accordingly, we express no such opinion.

 

Our audits included performing procedures to assess the risks of material misstatement of the financial statements, whether due to error or fraud, and performing procedures that respond to those risks. Such procedures included examining, on a test basis, evidence regarding the amounts and disclosures in the financial statements. Our audits also included evaluating the accounting principles used and significant estimates made by management, as well as evaluating the overall presentation of the financial statements. We believe that our audits provide a reasonable basis for our opinion.

 

 /s/ Ernst & Young Hua Ming LLP

 

 

 

We have served as the Company’s auditor since 2016.

Shanghai, the People’s Republic of China

April 12, 2018

 

F-2



Table of Contents

 

BEST INC.

 

CONSOLIDATED BALANCE SHEETS

AS OF DECEMBER 31, 2016 AND 2017

(Amounts in thousands of Renminbi (“RMB”) and U.S. dollars (“US$”),

except for number of shares and per share data)

 

 

 

 

 

As at December 31

 

 

 

Notes

 

2016

 

2017

 

2017

 

 

 

 

 

RMB

 

RMB

 

US$

 

ASSETS

 

 

 

 

 

 

 

 

 

Current assets:

 

 

 

 

 

 

 

 

 

Cash and cash equivalents

 

 

 

2,927,581

 

1,240,431

 

190,651

 

Restricted cash

 

 

 

374,363

 

1,652,653

 

254,008

 

Derivative

 

22

 

3,149

 

 

 

Accounts and notes receivables, net of allowance of RMB6,708 and RMB5,794 (US$891) as of December 31, 2016 and 2017, respectively

 

5

 

432,654

 

734,252

 

112,852

 

Inventories

 

 

 

82,083

 

156,974

 

24,126

 

Prepayments and other current assets

 

6

 

770,643

 

1,459,755

 

224,360

 

Short-term investments

 

 

 

62,000

 

2,353,663

 

361,751

 

Lease rental receivables

 

9

 

23,292

 

193,703

 

29,772

 

Amounts due from related parties

 

20

 

83,302

 

164,894

 

25,344

 

Total current assets

 

 

 

4,759,067

 

7,956,325

 

1,222,864

 

Non-current assets:

 

 

 

 

 

 

 

 

 

Property and equipment, net

 

7

 

947,505

 

1,307,470

 

200,954

 

Intangible assets, net

 

8

 

13,516

 

158,556

 

24,370

 

Long-term investments

 

10

 

24,081

 

37,167

 

5,712

 

Goodwill

 

11

 

247,203

 

448,584

 

68,946

 

Non-current deposits

 

 

 

50,947

 

69,125

 

10,624

 

Other non-current assets

 

 

 

87,395

 

62,314

 

9,577

 

Lease rental receivables

 

9

 

87,551

 

749,243

 

115,157

 

Restricted cash

 

 

 

78,588

 

89,745

 

13,794

 

Total non-current assets

 

 

 

1,536,786

 

2,922,204

 

449,134

 

Total assets

 

 

 

6,295,853

 

10,878,529

 

1,671,998

 

LIABILITIES, MEZZANINE EQUITY AND SHAREHOLDERS’ (DEFICIT)/EQUITY

 

 

 

 

 

 

 

 

 

Current liabilities (including current liabilities of the consolidated VIE without recourse to the primary beneficiary of RMB2,369,082 and RMB3,810,970 (US$585,735) as of December 31, 2016 and 2017, respectively):

 

 

 

 

 

 

 

 

 

Short-term bank loans

 

12

 

458,000

 

1,216,384

 

186,955

 

Accounts and notes payable

 

 

 

1,575,793

 

2,388,393

 

367,089

 

Income tax payable

 

15

 

467

 

629

 

97

 

Customer advances and deposits

 

 

 

676,319

 

910,383

 

139,923

 

Accrued expenses and other liabilities

 

13

 

1,225,611

 

1,841,273

 

282,996

 

Capital lease obligation

 

 

 

13,215

 

7,227

 

1,111

 

Amounts due to related parties

 

20

 

891

 

12,902

 

1,983

 

Total current liabilities

 

 

 

3,950,296

 

6,377,191

 

980,154

 

 

The accompanying notes are an integral part of the consolidated financial statements.

 

F-3



Table of Contents

 

BEST INC.

 

CONSOLIDATED BALANCE SHEETS

AS OF DECEMBER 31, 2016 AND 2017 (CONTINUED)

(Amounts in thousands of Renminbi (“RMB”) and U.S. dollars (“US$”),

except for number of shares and per share data)

 

 

 

 

 

As at December 31

 

 

 

Notes

 

2016

 

2017

 

2017

 

 

 

 

 

RMB

 

RMB

 

US$

 

Non-current liabilities (including non-current liabilities of the consolidated VIE without recourse to the primary beneficiary of RMB7,535 and RMB99,594 (US$15,308) as of December 31, 2016 and 2017, respectively):

 

 

 

 

 

 

 

 

 

Capital lease obligation

 

 

 

7,535

 

1,828

 

281

 

Deferred tax liabilities

 

15

 

 

31,688

 

4,870

 

Other non-current liabilities

 

 

 

3,917

 

75,327

 

11,578

 

Total non-current liabilities

 

 

 

11,452

 

108,843

 

16,729

 

Total liabilities

 

 

 

3,961,748

 

6,486,034

 

996,883

 

Commitments and contingencies

 

23

 

 

 

 

 

 

 

Mezzanine equity:

 

 

 

 

 

 

 

 

 

Series A redeemable convertible preferred shares (par value of US$0.01 and US$ nil per share as of December 31, 2016 and 2017; 30,000,000 and nil shares authorized, issued and outstanding as of December 31, 2016 and 2017, respectively)

 

14

 

1,510,352

 

 

 

Series B redeemable convertible preferred shares (par value of US$0.01 and US$ nil per share as of December 31, 2016 and 2017; 20,000,000 and nil shares authorized as of December 31, 2016 and 2017, 10,343,535 and nil shares issued and outstanding as of December 31, 2016 and 2017, respectively)

 

14

 

521,648

 

 

 

Series C redeemable convertible preferred shares (par value of US$0.01 and US$ nil per share as of December 31, 2016 and 2017; 16,173,914 and nil shares authorized as of December 31, 2016 and 2017, 12,981,287 and nil shares issued and outstanding as of December 31, 2016 and 2017, respectively)

 

14

 

652,194

 

 

 

Series D redeemable convertible preferred shares (par value of US$0.01 and US$ nil per share as of December 31, 2016 and 2017; 29,896,623 and nil shares authorized as of December 31, 2016 and 2017, 28,820,219 and nil shares issued and outstanding as of December 31, 2016 and 2017, respectively)

 

14

 

1,445,547

 

 

 

Series E redeemable convertible preferred shares (par value of US$0.01 and US$ nil per share as of December 31, 2016 and 2017; 42,731,874 and nil shares authorized as of December 31, 2016 and 2017, 41,177,988 and nil shares issued and outstanding as of December 31, 2016 and 2017, respectively)

 

14

 

2,040,782

 

 

 

Series F redeemable convertible preferred shares (par value of US$0.01 and US$ nil per share as of December 31, 2016 and 2017; 56,680,441 and nil shares authorized, issued and outstanding as of December 31, 2016 and 2017, respectively)

 

14

 

2,806,393

 

 

 

Series G-1 redeemable convertible preferred shares (par value of US$0.01 and US$ nil per share as of December 31, 2016 and 2017; 15,479,382 and nil shares authorized, issued and outstanding as of December 31, 2016 and 2017, respectively)

 

14

 

1,280,749

 

 

 

Series G-2 redeemable convertible preferred shares (par value of US$0.01 and US$ nil per share as of December 31, 2016 and 2017; 68,551,547 and nil shares authorized, issued and outstanding as of December 31, 2016 and 2017, respectively)

 

14

 

5,584,545

 

 

 

Total mezzanine equity

 

 

 

15,842,210

 

 

 

 

The accompanying notes are an integral part of the consolidated financial statements.

 

F-4



Table of Contents

 

BEST INC.

 

CONSOLIDATED BALANCE SHEETS

AS OF DECEMBER 31, 2016 AND 2017 (CONTINUED)

(Amounts in thousands of Renminbi (“RMB”) and U.S. dollars (“US$”),

except for number of shares and per share data)

 

 

 

 

 

As at December 31

 

 

 

Notes

 

2016

 

2017

 

2017

 

 

 

 

 

RMB

 

RMB

 

US$

 

Shareholders’ (deficit)/equity:

 

 

 

 

 

 

 

 

 

Ordinary shares (par value of US$0.01 and US$ nil per share as of December 31, 2016 and 2017; 420,486,219 shares authorized as of December 31, 2016 and 2017; 60,000,000 and nil shares issued and outstanding as of December 31, 2016 and 2017, respectively)

 

19

 

4,116

 

 

 

Class A ordinary shares (par value of US$ nil and US$0.01 per share as of December 31, 2016 and 2017; nil and 1,858,134,053 shares authorized as of December 31, 2016 and 2017; nil and 232,648,452 shares issued and outstanding as of December 31, 2016 and 2017, respectively)

 

19

 

 

15,330

 

2,356

 

Class B ordinary shares (par value of US$ nil and US$0.01 per share as of December 31, 2016 and 2017; nil and 94,075,249 shares authorized, issued and outstanding as of December 31, 2016 and 2017, respectively)

 

19

 

 

6,178

 

950

 

Class C ordinary shares (par value of US$ nil and US$0.01 per share as of December 31, 2016 and 2017; nil and 47,790,698 shares authorized, issued and outstanding as of December 31, 2016 and 2017, respectively)

 

19

 

 

3,278

 

504

 

Additional paid in capital

 

 

 

 

19,240,912

 

2,957,274

 

Accumulated deficit

 

 

 

(13,658,321

)

(14,886,214

)

(2,287,969

)

Accumulated other comprehensive income

 

25

 

146,100

 

12,333

 

1,896

 

BEST Inc. shareholders’ (deficit)/equity

 

 

 

(13,508,105

)

4,391,817

 

675,011

 

Non-controlling interests

 

 

 

 

678

 

104

 

Total shareholders’ (deficit)/equity

 

 

 

(13,508,105

)

4,392,495

 

675,115

 

Total liabilities, mezzanine equity and shareholders’ (deficit)/equity

 

 

 

6,295,853

 

10,878,529

 

1,671,998

 

 

The accompanying notes are an integral part of the consolidated financial statements.

 

F-5



Table of Contents

 

BEST INC.

 

CONSOLIDATED STATEMENTS OF COMPREHENSIVE LOSS

FOR THE YEARS ENDED DECEMBER 31, 2015, 2016 AND 2017

(Amounts in thousands of Renminbi (“RMB”) and U.S. dollars (“US$”),

except for number of shares and per share data)

 

 

 

 

 

For the Years ended December 31,

 

 

 

Notes

 

2015

 

2016

 

2017

 

2017

 

 

 

 

 

RMB

 

RMB

 

RMB

 

US$

 

Revenue from third parties

 

 

 

 

 

 

 

 

 

 

 

Supply chain management

 

 

 

767,866

 

1,014,034

 

1,229,498

 

188,971

 

Express delivery

 

 

 

3,709,238

 

5,344,733

 

12,667,734

 

1,946,995

 

Freight delivery

 

 

 

675,881

 

1,604,573

 

3,178,044

 

488,456

 

Store+

 

 

 

9,700

 

560,226

 

2,226,034

 

342,135

 

Others

 

 

 

32,023

 

49,149

 

198,253

 

30,471

 

 

 

 

 

5,194,708

 

8,572,715

 

19,499,563

 

2,997,028

 

Revenue from related party

 

 

 

 

 

 

 

 

 

 

 

Supply chain management

 

20

 

60,565

 

227,322

 

371,454

 

57,091

 

Express delivery

 

20

 

1,054

 

44,100

 

118,545

 

18,220

 

 

 

 

 

61,619

 

271,422

 

489,999

 

75,311

 

Total revenue

 

 

 

5,256,327

 

8,844,137

 

19,989,562

 

3,072,339

 

 

 

 

 

 

 

 

 

 

 

 

 

Cost of revenue

 

 

 

 

 

 

 

 

 

 

 

Supply chain management

 

 

 

(795,099

)

(1,183,245

)

(1,502,570

)

(230,941

)

Express delivery

 

 

 

(4,035,300

)

(5,671,356

)

(12,435,550

)

(1,911,309

)

Freight delivery

 

 

 

(923,011

)

(1,906,930

)

(3,362,652

)

(516,830

)

Store+

 

 

 

(9,714

)

(569,557

)

(2,072,912

)

(318,601

)

Others

 

 

 

(27,584

)

(45,479

)

(130,327

)

(20,031

)

Total cost of revenue

 

 

 

(5,790,708

)

(9,376,567

)

(19,504,011

)

(2,997,712

)

 

 

 

 

 

 

 

 

 

 

 

 

Gross (loss)/profit

 

 

 

(534,381

)

(532,430

)

485,551

 

74,627

 

Selling expenses

 

 

 

(188,455

)

(370,017

)

(694,852

)

(106,797

)

General and administrative expenses

 

 

 

(380,864

)

(521,237

)

(928,188

)

(142,660

)

Research and development expenses

 

 

 

(46,177

)

(80,326

)

(139,009

)

(21,365

)

Other operating income

 

 

 

61,877

 

104,047

 

 

 

Total operating expenses

 

 

 

(553,619

)

(867,533

)

(1,762,049

)

(270,822

)

 

 

 

 

 

 

 

 

 

 

 

 

Loss from operations

 

 

 

(1,088,000

)

(1,399,963

)

(1,276,498

)

(196,195

)

Interest income

 

 

 

3,727

 

24,386

 

75,056

 

11,536

 

Interest expense

 

 

 

(10,439

)

(21,379

)

(47,154

)

(7,247

)

Foreign exchange gain (loss)

 

 

 

5,808

 

(1,864

)

(6,320

)

(971

)

Other income

 

 

 

31,247

 

44,409

 

56,035

 

8,612

 

Other expense

 

 

 

(1,774

)

(8,542

)

(18,507

)

(2,844

)

Loss before income tax and share of net (loss) income of equity investees

 

 

 

(1,059,431

)

(1,362,953

)

(1,217,388

)

(187,109

)

Income tax expense

 

15

 

 

(570

)

(9,856

)

(1,515

)

Loss before share of net (loss) income of equity investees

 

 

 

(1,059,431

)

(1,363,523

)

(1,227,244

)

(188,624

)

Share of net (loss) income of equity investees

 

 

 

(12

)

43

 

(816

)

(125

)

Net loss

 

 

 

(1,059,443

)

(1,363,480

)

(1,228,060

)

(188,749

)

 

F-6



Table of Contents

 

BEST INC.

 

CONSOLIDATED STATEMENTS OF COMPREHENSIVE LOSS

FOR THE YEARS ENDED DECEMBER 31, 2015, 2016 AND 2017 (CONTINUED)

(Amounts in thousands of Renminbi (“RMB”) and U.S. dollars (“US$”),

except for number of shares and per share data)

 

 

 

 

 

For the Years ended December 31,

 

 

 

Notes

 

2015

 

2016

 

2017

 

2017

 

 

 

 

 

RMB

 

RMB

 

RMB

 

US$

 

Net loss attributable to non-controlling interests

 

 

 

 

 

(167

)

(26

)

Net loss attributable to BEST Inc.

 

 

 

(1,059,443

)

(1,363,480

)

(1,227,893

)

(188,723

)

Accretion to redemption value of redeemable convertible preferred Shares

 

 

 

(3,996,288

)

(3,661,975

)

 

 

Deemed dividend-Repurchase of redeemable convertible preferred shares

 

 

 

 

(160,891

)

 

 

Deemed dividend-Modification of redeemable convertible preferred shares

 

 

 

 

(423,979

)

 

 

Deemed dividend-Extinguishment loss of Series D redeemable convertible preferred shares

 

 

 

(296,677

)

 

 

 

Net loss attributable to ordinary shareholders

 

17

 

(5,352,408

)

(5,610,325

)

(1,227,893

)

(188,723

)

Net loss per ordinary share:

 

 

 

 

 

 

 

 

 

 

 

Basic

 

17

 

(89.21

)

(93.51

)

(8.28

)

(1.27

)

Diluted

 

17

 

(89.21

)

(93.51

)

(8.28

)

(1.27

)

Shares used in net loss per share computation:

 

 

 

 

 

 

 

 

 

 

 

Ordinary shares:

 

 

 

 

 

 

 

 

 

 

 

Basic

 

17

 

60,000,000

 

60,000,000

 

 

 

 

Diluted

 

17

 

60,000,000

 

60,000,000

 

 

 

 

Class A ordinary shares:

 

 

 

 

 

 

 

 

 

 

 

Basic

 

17

 

 

 

73,900,022

 

 

 

Diluted

 

17

 

 

 

148,237,982

 

 

 

Class B ordinary shares:

 

 

 

 

 

 

 

 

 

 

 

Basic

 

17

 

 

 

26,547,262

 

 

 

Diluted

 

17

 

 

 

26,547,262

 

 

 

Class C ordinary shares:

 

 

 

 

 

 

 

 

 

 

 

Basic

 

17

 

 

 

47,790,698

 

 

 

Diluted

 

17

 

 

 

47,790,698

 

 

 

Other comprehensive income (loss), net of tax of nil

 

 

 

 

 

 

 

 

 

 

 

Foreign currency translation adjustments

 

 

 

26,182

 

129,305

 

(133,767

)

(20,560

)

Comprehensive loss

 

 

 

(1,033,261

)

(1,234,175

)

(1,361,827

)

(209,309

)

Comprehensive loss attributable to non-controlling interests

 

 

 

 

 

(167

)

(26

)

Comprehensive loss attributable to BEST Inc.

 

 

 

(1,033,261

)

(1,234,175

)

(1,361,660

)

(209,283

)

Accretion to redemption value of redeemable convertible preferred shares

 

 

 

(3,996,288

)

(3,661,975

)

 

 

Deemed dividend-Repurchase of redeemable convertible preferred shares

 

 

 

 

(160,891

)

 

 

Deemed dividend-Modification of redeemable convertible preferred shares

 

 

 

 

(423,979

)

 

 

Deemed dividend-Extinguishment loss of Series D redeemable convertible preferred shares

 

 

 

(296,677

)

 

 

 

Comprehensive loss attributable to ordinary shareholders

 

 

 

(5,326,226

)

(5,481,020

)

(1,361,660

)

(209,283

)

 

The accompanying notes are an integral part of the consolidated financial statements.

 

F-7



Table of Contents

 

BEST INC.

 

CONSOLIDATED STATEMENTS OF CASH FLOWS

FOR THE YEARS ENDED DECEMBER 31, 2015, 2016 AND 2017

(Amounts in thousands of Renminbi (“RMB”) and U.S. dollars (“US$”)

 

 

 

 

 

For the Years ended December 31,

 

 

 

Notes

 

2015

 

2016

 

2017

 

2017

 

 

 

 

 

RMB

 

RMB

 

RMB

 

US$

 

CASH FLOWS FROM OPERATING ACTIVITIES

 

 

 

 

 

 

 

 

 

 

 

Net loss

 

 

 

(1,059,443

)

(1,363,480

)

(1,228,060

)

(188,749

)

Adjustments to reconcile net loss to net cash used in operating activities:

 

 

 

 

 

 

 

 

 

 

 

Share of net loss (income) of equity investees

 

 

 

12

 

(43

)

816

 

125

 

Deferred income tax

 

 

 

 

 

(1,680

)

(258

)

Depreciation and amortization

 

 

 

147,283

 

246,311

 

363,909

 

55,932

 

Share-based compensation

 

18

 

 

 

298,963

 

45,950

 

Allowance for doubtful accounts and inventory provision

 

 

 

18,303

 

31,522

 

18,394

 

2,827

 

(Gain) loss on disposal of property and equipment

 

 

 

(84

)

2,314

 

(3,065

)

(471

)

Impairment losses

 

 

 

36,178

 

 

 

 

Foreign exchange (gain) loss

 

 

 

(5,808

)

1,864

 

6,320

 

971

 

Changes in operating assets and liabilities:

 

 

 

 

 

 

 

 

 

 

 

Restricted cash

 

 

 

(22,041

)

(165,431

)

91,434

 

14,053

 

Accounts and notes receivables

 

 

 

(143,898

)

(110,972

)

(268,272

)

(41,233

)

Prepayment and other current assets

 

 

 

(151,543

)

(317,474

)

(466,118

)

(71,641

)

Inventories

 

 

 

(17,502

)

(48,880

)

(21,324

)

(3,277

)

Customer advances and deposits

 

 

 

273,319

 

166,718

 

233,394

 

35,872

 

Accounts and notes payables

 

 

 

441,576

 

481,348

 

619,421

 

95,203

 

Accrued expenses and other liabilities

 

 

 

210,601

 

362,434

 

573,637

 

88,166

 

Amounts due from related parties

 

 

 

(28,813

)

(54,489

)

(81,592

)

(12,540

)

Other non-current assets

 

 

 

 

(1,065

)

(27,037

)

(4,156

)

Other non-current liabilities

 

 

 

 

1

 

13,901

 

2,137

 

Amounts due to related parties

 

 

 

(7

)

883

 

12,011

 

1,846

 

Non-current deposits

 

 

 

(10,313

)

(20,822

)

(18,178

)

(2,794

)

Income tax payable

 

 

 

 

467

 

162

 

25

 

Net cash (used in)/ generated from operating activities

 

 

 

(312,180

)

(788,794

)

117,036

 

17,988

 

 

F-8



Table of Contents

 

BEST INC.

 

CONSOLIDATED STATEMENTS OF CASH FLOWS

FOR THE YEARS ENDED DECEMBER 31, 2015, 2016 AND 2017 (CONTINUED)

(Amounts in thousands of Renminbi (“RMB”) and U.S. dollars (“US$”)

 

 

 

 

 

For the Years ended December 31,

 

 

 

 

 

2015

 

2016

 

2017

 

2017

 

 

 

Notes

 

RMB

 

RMB

 

RMB

 

US$

 

CASH FLOWS FROM INVESTING ACTIVITIES

 

 

 

 

 

 

 

 

 

 

 

Purchase of property and equipment

 

 

 

(398,149

)

(628,478

)

(749,734

)

(115,232

)

Purchase of leased equipment

 

 

 

(19,847

)

(108,186

)

(722,257

)

(111,009

)

Repayment of financing leases—principal portion

 

 

 

11,679

 

5,509

 

97,727

 

15,020

 

Disposal of property and equipment and intangible assets

 

 

 

3,161

 

11,513

 

45,156

 

6,942

 

Cash paid for business acquisitions (net of cash acquired of RMB7,148, nil and RMB2,737 for the years ended December 31, 2015, 2016 and 2017)

 

4

 

(135,794

)

(39,517

)

(313,958

)

(48,254

)

Acquisition of intangible assets

 

 

 

(8,055

)

(8,935

)

(26,830

)

(4,124

)

Change in restricted cash

 

 

 

 

 

(100,000

)

(15,370

)

Acquisition of long-term investments

 

 

 

(10,300

)

(13,750

)

(13,902

)

(2,137

)

Proceeds from maturities of short-term investments

 

 

 

 

1,458,918

 

2,678,724

 

411,712

 

Purchase of short-term investments

 

 

 

 

(1,520,918

)

(5,058,426

)

(777,466

)

Other investing activities, net

 

 

 

 

 

(42,423

)

(6,521

)

Net cash used in investing activities

 

 

 

(557,305

)

(843,844

)

(4,205,923

)

(646,439

)

 

F-9



Table of Contents

 

BEST INC.

 

CONSOLIDATED STATEMENTS OF CASH FLOWS

FOR THE YEARS ENDED DECEMBER 31, 2015, 2016 AND 2017 (CONTINUED)

(Amounts in thousands of Renminbi (“RMB”) and U.S. dollars (“US$”)

 

 

 

 

 

For the Years ended December 31,

 

 

 

 

 

2015

 

2016

 

2017

 

2017

 

 

 

Notes

 

RMB

 

RMB

 

RMB

 

US$

 

CASH FLOWS FROM FINANCING ACTIVITIES

 

 

 

 

 

 

 

 

 

 

 

Proceeds from short-term bank loans

 

 

 

538,000

 

718,000

 

1,901,884

 

292,314

 

Repayment of short-term bank loans

 

 

 

(320,000

)

(598,000

)

(1,189,417

)

(182,809

)

Change in restricted cash

 

 

 

(124,500

)

(97,118

)

(1,310,371

)

(201,400

)

Capital lease payments

 

 

 

(3,883

)

(4,446

)

(13,523

)

(2,078

)

Proceeds from initial public offering, net of issuance costs

 

 

 

 

 

3,130,197

 

481,102

 

Proceeds from the exercise of share options

 

 

 

 

 

48

 

7

 

Proceeds from capital lease

 

 

 

4,346

 

22,310

 

 

 

Proceeds from redeemable convertible preferred shares, net of issuance costs

 

 

 

811,374

 

4,901,287

 

 

 

Repurchase of redeemable convertible preferred shares

 

 

 

 

(831,535

)

(98,330

)

(15,114

)

Net cash generated from financing activities

 

 

 

905,337

 

4,110,498

 

2,420,488

 

372,022

 

 

 

 

 

 

 

 

 

 

 

 

 

Exchange rate effect on cash and cash equivalents

 

 

 

35,436

 

158,657

 

(18,751

)

(2,881

)

Net increase/(decrease) in cash and cash equivalents

 

 

 

71,288

 

2,636,517

 

(1,687,150

)

(259,310

)

Cash and cash equivalents at beginning of year

 

 

 

219,776

 

291,064

 

2,927,581

 

449,961

 

Cash and cash equivalents at end of year

 

 

 

291,064

 

2,927,581

 

1,240,431

 

190,651

 

 

F-10



Table of Contents

 

BEST INC.

 

CONSOLIDATED STATEMENTS OF CASH FLOWS

FOR THE YEARS ENDED DECEMBER 31, 2015, 2016 AND 2017 (CONTINUED)

(Amounts in thousands of Renminbi (“RMB”) and U.S. dollars (“US$”)

 

 

 

 

 

For the Years ended December 31,

 

 

 

 

 

2015

 

2016

 

2017

 

2017

 

 

 

Notes

 

RMB

 

RMB

 

RMB

 

US$

 

Supplemental disclosures of cash flow information:

 

 

 

 

 

 

 

 

 

 

 

Income taxes paid

 

 

 

 

103

 

368

 

57

 

Interest expense paid

 

 

 

11,967

 

22,012

 

46,531

 

7,152

 

Supplemental disclosures of non-cash information:

 

 

 

 

 

 

 

 

 

 

 

Purchase of property and equipment included in accrued expenses and other liabilities

 

 

 

96,381

 

115,286

 

121,735

 

18,710

 

Proceeds from disposal of property and equipment included in prepayment and other current assets

 

 

 

 

 

18,351

 

2,821

 

Acquisition of property and equipment through capital lease

 

 

 

2,886

 

20,750

 

9,055

 

1,392

 

Purchase consideration for business acquisitions included in accrued expenses and other liabilities

 

 

 

43,471

 

11,368

 

26,497

 

4,073

 

Deferred IPO costs included in accrued expenses and other liabilities

 

 

 

 

 

9,836

 

1,512

 

Repurchase of redeemable convertible preferred shares included in accrued expenses and other liabilities

 

 

 

 

97,118

 

 

 

 

The accompanying notes are an integral part of the consolidated financial statements.

 

F-11



Table of Contents

 

BEST INC.

 

CONSOLIDATED STATEMENTS OF CHANGES IN SHAREHOLDERS’ (DEFICIT)/EQUITY

FOR THE YEARS ENDED DECEMBER 31, 2015, 2016 AND 2017

(Amounts in thousands of Renminbi (“RMB”) and U.S. dollars (“US$”), except for number of shares)

 

 

 

Ordinary Shares

 

 

 

 

 

 

 

 

 

 

 

 

 

Additional

 

Accumulated
other

 

 

 

Total

 

 

 

Number of
shares

 

Amount

 

paid-in
capital

 

comprehensive
(loss)/income

 

Accumulated
deficit

 

shareholders’
(deficit)/equity

 

 

 

 

 

RMB

 

RMB

 

RMB

 

RMB

 

RMB

 

Balance as of January 1, 2015

 

60,000,000

 

4,116

 

 

(9,387

)

(2,695,588

)

(2,700,859

)

Net loss for the year

 

 

 

 

 

(1,059,443

)

(1,059,443

)

Other comprehensive income

 

 

 

 

26,182

 

 

26,182

 

Deemed dividend— Extinguishment loss of Series D redeemable convertible preferred shares

 

 

 

 

 

(296,677

)

(296,677

)

Accretion to redemption value of redeemable convertible preferred shares

 

 

 

 

 

(3,996,288

)

(3,996,288

)

Balance as of December 31, 2015

 

60,000,000

 

4,116

 

 

16,795

 

(8,047,996

)

(8,027,085

)

Net loss for the year

 

 

 

 

 

(1,363,480

)

(1,363,480

)

Other comprehensive income

 

 

 

 

129,305

 

 

129,305

 

Deemed dividend— Repurchase of Series B,C,D,E redeemable convertible preferred shares

 

 

 

 

 

(160,891

)

(160,891

)

Deemed dividend—Modification of redeemable convertible preferred shares

 

 

 

 

 

(423,979

)

(423,979

)

Accretion to redemption value of redeemable convertible preferred shares

 

 

 

 

 

(3,661,975

)

(3,661,975

)

Balance as of December 31, 2016

 

60,000,000

 

4,116

 

 

146,100

 

(13,658,321

)

(13,508,105

)

 

The accompanying notes are an integral part of the consolidated financial statements.

 

F-12



Table of Contents

 

BEST INC.

 

CONSOLIDATED STATEMENTS OF CHANGES IN SHAREHOLDERS’ (DEFICIT)/EQUITY

FOR THE YEARS ENDED DECEMBER 31, 2015, 2016 AND 2017 (CONTINUED)

(Amounts in thousands of Renminbi (“RMB”) and U.S. dollars (“US$”), except for number of shares)

 

 

 

Ordinary Shares (Note 
19)

 

 

 

 

 

 

 

 

 

 

 

 

 

 

 

Additional

 

Accumulated
other

 

 

 

Non-

 

Total

 

 

 

Number of
shares

 

Amount

 

paid-in
capital

 

comprehensive
(loss)/income

 

Accumulated
deficit

 

controlling
 interests

 

shareholders’
(deficit)/equity

 

 

 

 

 

RMB

 

RMB

 

RMB

 

RMB

 

RMB

 

RMB

 

Balance as of December 31, 2016

 

60,000,000

 

4,116

 

 

146,100

 

(13,658,321

)

 

(13,508,105

)

Net loss for the year

 

 

 

 

 

(1,227,893

)

(167

)

(1,228,060

)

Other comprehensive loss

 

 

 

 

(133,767

)

 

 

(133,767

)

Share-based compensation

 

 

 

298,963

 

 

 

 

298,963

 

Acquisition of subsidiaries (Note 4)

 

 

 

 

 

 

91,623

 

91,623

 

Acquisition of non-controlling interests (Note 4)

 

 

 

 

 

 

(90,778

)

(90,778

)

Issuance of Class A ordinary shares in connection with initial public offering (Note 19)

 

49,750,000

 

3,283

 

3,117,078

 

 

 

 

3,120,361

 

Exercise of share options (Note 19)

 

730,000

 

48

 

 

 

 

 

48

 

Conversion of redeemable convertible preferred shares (Note 19)

 

264,034,399

 

17,339

 

15,824,871

 

 

 

 

15,842,210

 

Balance as of December 31, 2017 in RMB

 

374,514,399

 

24,786

 

19,240,912

 

12,333

 

(14,886,214

)

678

 

4,392,495

 

Balance as of December 31, 2017 in US$

 

374,514,399

 

3,810

 

2,957,274

 

1,896

 

(2,287,969

)

104

 

675,115

 

 

The accompanying notes are an integral part of the consolidated financial statements.

 

F-13



Table of Contents

 

BEST INC.

 

NOTES TO THE CONSOLIDATED FINANCIAL STATEMENTS

FOR THE YEARS ENDED DECEMBER 31, 2015, 2016 AND 2017

(Amounts in thousands of Renminbi (“RMB”) and US dollars (“US$”)

except for number of shares and per share data)

 

1.  ORGANIZATION AND BASIS OF PRESENTATION

 

The Company is a limited liability company incorporated in the Cayman Islands on March 3, 2008.

 

The Company does not conduct any substantive operations on its own but instead conducts its primary business operations through its subsidiaries and variable interest entity (the “VIE”), which is located in the People’s Republic of China (the “PRC”). The accompanying consolidated financial statements include the financial statements of the Company, its subsidiaries and VIE. The Company, its subsidiaries and VIE are hereinafter collectively referred to as the “Group”.

 

The Group is principally engaged in the business of providing express delivery services, freight delivery services, supply chain management services, store+ services and other value-added services. The Group’s principal geographic market is in the PRC. On June 22, 2017, the Company revised its name from Best Logistics Technologies Limited to BEST Inc. effective immediately.

 

On September 20, 2017, the Company completed its initial public offering (“IPO”) on the New York Stock Exchange (Note 19).

 

Details of the Company’s principal subsidiaries and VIE as of December 31, 2017 are as follows:

 

Name of Company

 

Place and date of incorporation/ registration and
business

 

Percentage of
equity interest
attributable
to the Company

 

Principal activities

Subsidiaries:

 

 

 

 

 

 

Eight Hundred Logistics Technologies Corporation
(“BEST BVI”)

 

BVI/
May 22, 2007

 

100

%

Investment holding

BEST Logistics Technologies Limited
(“BEST HK”)

 

HK/
May 29, 2007

 

100

%

Investment holding

BEST Logistics Technologies (China) Co., Ltd. (“BEST China”)

 

PRC/
April 23, 2008

 

100

%

Freight delivery and Supply chain management services

BEST Store Network (Hangzhou) Co., Ltd.
(“BEST Store”)

 

PRC/
May16, 2013

 

100

%

Store+ services

Zhejiang BEST Technology Co., Ltd.
(“BEST Technology”)

 

PRC/
July 26, 2007

 

100

%

Logistics technical services

Xinyuan Financial Leasing (Zhejiang) Co., Ltd.
(formerly known as BEST Finance Lease
(Zhejiang) Co., Ltd.)(“BEST Finance”)*

 

PRC/
January 15, 2015

 

100

%

Financial services

BEST Logistics Technologies (Ningbo Free Trade Zone) Co., Ltd.
(“BEST Ningbo”)

 

PRC/
May 22, 2015

 

100

%

Supply chain management services

 

 

 

 

 

 

 

VIE

 

 

 

 

 

 

Hangzhou BEST Network Technologies Co., Ltd.
(“BEST Network”)

 

PRC
August 22, 2007

 

Nil

 

Express delivery services

VIE’s subsidiary:

 

 

 

 

 

 

Sichuan Wowo Supermarket Chain Co.,Ltd.
(“Wowo”)

 

PRC
April 12, 2005

 

Nil

 

Convenience Store operations

 


* In December 2017, BEST Finance Lease (Zhejiang) Co., Ltd. has been renamed Xinyuan Financial Leasing (Zhejiang) Co., Ltd.

 

F-14



Table of Contents

 

BEST INC.

 

NOTES TO THE CONSOLIDATED FINANCIAL STATEMENTS

FOR THE YEARS ENDED DECEMBER 31, 2015, 2016 AND 2017 (CONTINUED)

(Amounts in thousands of Renminbi (“RMB”) and US dollars (“US$”)

except for number of shares and per share data)

 

1.  ORGANIZATION AND BASIS OF PRESENTATION (CONTINUED)

 

To comply with PRC laws and regulations which prohibit foreign control of companies that engage in domestic mail delivery services, the Group operates its express delivery services in the PRC through its VIE. Despite the lack of technical majority ownership, BEST Technology has effective control of the VIE through a series of contractual arrangements (the “Contractual Agreements”) and a parent-subsidiary relationship exists between BEST Technology and the VIE. The equity interests of the VIE are legally held by PRC individuals (the “nominee shareholders”). Through the Contractual Agreements, the nominee shareholders of the VIE effectively assign all of their voting rights underlying their equity interests in the VIE to BEST Technology. In addition, through the terms of the Contractual Agreements, BEST Technology demonstrates its ability and intention to continue to exercise the ability to absorb substantially all of the profits and all of the expected losses of the VIE. As a result of the Contractual Agreements, the Company has the power to direct the activities of the VIE that most significantly impact its economic performance and, is entitled to substantially all of the economic benefits from the VIE through BEST Technology. Therefore, the Company consolidates the VIE in accordance with SEC Regulation SX-3A-02 and Accounting Standards Codification (“ASC”) 810-10, Consolidation: Overall.

 

The following is a summary of the Contractual Agreements.

 

Loan Agreements

 

BEST Technology has granted interest-free loans with an aggregate amount of RMB13,780 to the nominee shareholders of the VIE for the purpose of providing funds necessary for the capital injection of the VIE. The loans are only repayable by the nominee shareholders through a transfer of his or her equity interests in the VIE to BEST Technology or its designated party unless the nominee shareholders are in breach of the agreement, in which BEST Technology can request immediate repayment of the loans. The loan agreements are effective until full repayment of the loans or BEST Technology agrees to waive the loan.

 

Exclusive Technical Support and Service Agreement

 

Pursuant to the Exclusive Technical Support and Service Agreement between BEST Technology and the VIE, BEST Technology has the exclusive right to provide services to the VIE related to the VIE’s business, including but not limited to the management, development and maintenance of software, databases and websites, training and recruitment of employees and other services required by the VIE. In return, the VIE agrees to pay a service fee that is based on a predetermined formula based on the financial performance of the VIE. The Exclusive Technical Support and Service Agreement is valid for 20 years and will be automatically renewed on an annual basis unless both parties agree to terminate the agreement.

 

Exclusive Option Agreement

 

Under the Exclusive Option Agreement among BEST Technology, the VIE and nominee shareholders of the VIE, BEST Technology has (i) an exclusive option to purchase, when and to the extent permitted under PRC laws, all or part of the equity interests in the VIE or all or part of the assets held by the VIE and (ii) an exclusive right to cause the nominee shareholders to transfer their equity interest in the VIE to BEST Technology or any designated third party. BEST Technology has the sole discretion to decide when to exercise the option, whether in part or full. The exercise price of the option to purchase all or part of the equity interests in the VIE or assets held by the VIE will be the minimum amount of consideration permitted under the then-applicable PRC laws. Any proceeds received by the nominee shareholders from the exercise of the option exceeding the loan amount, distribution of profits or dividends, shall be remitted to BEST Technology, to the extent permitted under PRC laws. The Exclusive Option Agreement will remain in effect until all the equity interests or the assets held by the VIE are transferred to BEST Technology or its designated party. BEST Technology may terminate the Exclusive Option Agreement at their sole discretion, whereas under no circumstances may the VIE or its nominee shareholders terminate this agreement.

 

F-15



Table of Contents

 

BEST INC.

 

NOTES TO THE CONSOLIDATED FINANCIAL STATEMENTS

FOR THE YEARS ENDED DECEMBER 31, 2015, 2016 AND 2017 (CONTINUED)

(Amounts in thousands of Renminbi (“RMB”) and US dollars (“US$”)

except for number of shares and per share data)

 

1.  ORGANIZATION AND BASIS OF PRESENTATION (CONTINUED)

 

Proxy Agreement

 

Pursuant to the Proxy Agreement between BEST Technology, the VIE and its nominee shareholders, each of the VIE’s shareholders agreed to entrust all the rights to exercise their voting power to the person designated by BEST Technology. The nominee shareholders irrevocably authorize the person designated by BEST Technology as its attorney-in-fact (“AIF”) to exercise on such nominee shareholder’s behalf any and all rights that such shareholder has in respect of its equity interests in the VIE. BEST Technology has the right to replace the authorized AIF at any time upon written notice but not consent from the other parties. The Proxy Agreement has a term of 20 years and is subject to automatic renewal on an annual basis unless it is terminated by BEST Technology at its sole discretion. The nominee shareholders may not terminate the Proxy Agreement or revoke the appointment of the AIF without BEST Technology’s prior written consent.

 

Equity Pledge Agreement

 

Under the Equity Pledge Agreement among BEST Technology, the VIE and its nominee shareholders; the nominee shareholders of the VIE have pledged all of their equity interests in the VIE in favor of BEST Technology to secure the VIE and their obligations under the various contractual agreements, including the Exclusive Technical Support and Service Agreement, Loan Agreements and Exclusive Option Agreement described above. The nominee shareholders further undertake that they will remit any distributions as a result in connection with such shareholder’s equity interests in the VIE to BEST Technology, to the extent permitted by PRC laws. If the VIE or any of their respective nominee shareholders breach any of their respective contractual obligations under the above agreements, BEST Technology, as pledgee, will be entitled to certain rights, including the right to sell, transfer or dispose the pledged equity interest. The nominee shareholders of the VIE agree not to create any encumbrance on or otherwise transfer or dispose of their respective equity interest in the VIE, without the prior consent of BEST Technology. The Equity Pledge Agreement will be valid until the VIE and their respective shareholders fulfill all contractual obligations under the above agreements.

 

Through the design of the Contractual Agreements, the nominee shareholders of the VIE effectively assigned their full voting rights to BEST Technology, which gives BEST Technology the power to direct the activities that most significantly impact the VIE’s economic performance. In addition, BEST Technology is entitled to substantially all of the economic benefits from the VIE. As a result of these Contractual Agreements, BEST Technology is determined to be the primary beneficiary of the VIE.

 

In June 2017, the Contractual Agreements were supplemented by the following terms:

 

a)                                     Exclusive Technical Support and Service Agreement

 

·                  BEST Technology has the right to unilaterally adjust the service fee;

 

·                  The agreement is valid for 20 years and will be automatically renewed on an annual basis unless terminated by BEST Technology at its sole discretion, whereas under no circumstances may the VIE terminate this agreement.

 

F-16



Table of Contents

 

BEST INC.

 

NOTES TO THE CONSOLIDATED FINANCIAL STATEMENTS

FOR THE YEARS ENDED DECEMBER 31, 2015, 2016 AND 2017 (CONTINUED)

(Amounts in thousands of Renminbi (“RMB”) and US dollars (“US$”)

except for number of shares and per share data)

 

1.              ORGANIZATION AND BASIS OF PRESENTATION (CONTINUED)

 

b)                                     Exclusive Option Agreement

 

·                  To ensure that the cash flow requirements of the VIE’s daily operations are met and/or to set off any losses that may be incurred, the Company is obliged, only to the extent permissible under PRC laws, to provide financial support to the VIE, whether or not the VIE actually incurs any such operational loss. The Company will not request repayment if the VIE or its nominee shareholders are unable to do so;

 

·                  Without the Company’s prior consent, the VIE and its nominee shareholders shall not enter into any material agreements outside of the ordinary course of business;

 

·                  The Company, at its sole discretion, has the right to decide whether the option and other rights granted under the agreement will be exercised by the Company, BEST Technology or its designated party.

 

c)                                      Proxy Agreement

 

·                  The Proxy Agreement is valid as long as the nominee shareholders remain shareholders of the VIE;

 

·                  The appointment of any individuals to exercise the powers and rights assigned pursuant to the Proxy Agreement requires the approval of the Company. All the activities in relation to such powers and rights assigned are directed and approved by the Company.

 

As a result, the power and the rights pursuant to the Proxy Agreement have since been effectively reassigned to the Company which has the power to direct the activities of the VIE that most significantly impact the VIE’s economic performance. The Company is also obligated to absorb the expected losses of the VIE through the financial support as described above. The Company and BEST Technology, as a group of related parties, have held all of the variable interests of the VIE. The Company has been determined to be most closely associated with the VIE within the group of related parties and has replaced BEST Technology as the primary beneficiary of the VIE since June 2017. As the VIE was subject to indirect control by the Company through BEST Technology immediately before and direct control immediately after the Contractual Agreements were supplemented, the change of the primary beneficiary of the VIE was accounted for as a common control transaction based on the carrying amount of the net assets transferred.

 

In the opinion of the Company’s PRC legal counsel, (i) the ownership structure relating to the VIE complies with current PRC laws and regulations; and (ii) the Company and BEST Technology’s contractual arrangements with the VIE and its nominee shareholders are valid, binding and enforceable on all parties to these arrangements and do not violate current PRC laws or regulations.

 

The carrying amounts of the assets, liabilities and the results of operations of the VIE included in the Company’s consolidated balance sheets and statements of comprehensive loss are as follows:

 

F-17



Table of Contents

 

BEST INC.

 

NOTES TO THE CONSOLIDATED FINANCIAL STATEMENTS

FOR THE YEARS ENDED DECEMBER 31, 2015, 2016 AND 2017 (CONTINUED)

(Amounts in thousands of Renminbi (“RMB”) and US dollars (“US$”)

except for number of shares and per share data)

 

1.  ORGANIZATION AND BASIS OF PRESENTATION (CONTINUED)

 

 

 

As at December 31

 

 

 

2016

 

2017

 

2017

 

 

 

RMB

 

RMB

 

US$

 

ASSETS

 

 

 

 

 

 

 

Current assets:

 

 

 

 

 

 

 

Cash and cash equivalents

 

229,700

 

117,664

 

18,085

 

Restricted cash

 

85,502

 

23,559

 

3,621

 

Accounts receivable, net

 

89,322

 

206,593

 

31,753

 

Inventories

 

29,254

 

76,595

 

11,776

 

Short-term investments

 

22,000

 

167,638

 

25,765

 

Prepayments and other current assets

 

455,884

 

845,197

 

129,904

 

Amounts due from related parties

 

42,361

 

94,412

 

14,510

 

Total current assets

 

954,023

 

1,531,658

 

235,414

 

Non-current assets:

 

 

 

 

 

 

 

Property and equipment, net

 

614,702

 

794,382

 

122,094

 

Intangible assets, net

 

 

119,364

 

18,346

 

Goodwill

 

241,623

 

410,271

 

63,057

 

Other non-current assets

 

78,633

 

47,173

 

7,250

 

Total non-current assets

 

934,958

 

1,371,190

 

210,747

 

Total assets

 

1,888,981

 

2,902,848

 

446,161

 

LIABILITIES

 

 

 

 

 

 

 

Current liabilities:

 

 

 

 

 

 

 

Short-term bank loans

 

298,000

 

565,000

 

86,839

 

Accounts and notes payable

 

941,467

 

1,425,018

 

219,021

 

Customer advances and deposits

 

500,957

 

723,508

 

111,201

 

Accrued expenses and other liabilities

 

615,443

 

1,090,217

 

167,563

 

Capital lease obligation

 

13,215

 

7,227

 

1,111

 

Amounts due to related parties

 

1,726,088

 

1,401,016

 

215,333

 

Total current liabilities

 

4,095,170

 

5,211,986

 

801,068

 

Capital lease obligation

 

7,535

 

 

 

Deferred tax liabilities

 

 

28,945

 

4,449

 

Other non-current liabilities

 

 

70,649

 

10,859

 

Total non-current liabilities

 

7,535

 

99,594

 

15,308

 

Total liabilities

 

4,102,705

 

5,311,580

 

816,376

 

 

The revenue-producing assets that are held by the VIE comprise mainly of machinery and electronic equipment, express delivery software and domain name. The VIE contributed an aggregate of 71%, 61% and 66% of the Group’s consolidated revenue for the years ended December 31, 2015, 2016 and 2017, respectively, after elimination of inter-company transactions. As of December 31, 2017, there was no pledge or collateralization of the VIE’s assets that can only be used to settled obligations of the VIE.

 

Other than the amounts due to related parties (which are eliminated upon consolidation) all remaining liabilities of the VIE are without recourse to the primary beneficiary. The Company did not provide or intend to provide financial or other supports not previously contractually required to the VIE during the years presented.

 

F-18



Table of Contents

 

BEST INC.

 

NOTES TO THE CONSOLIDATED FINANCIAL STATEMENTS

FOR THE YEARS ENDED DECEMBER 31, 2015, 2016 AND 2017 (CONTINUED)

(Amounts in thousands of Renminbi (“RMB”) and US dollars (“US$”)

except for number of shares and per share data)

 

1.  ORGANIZATION AND BASIS OF PRESENTATION (CONTINUED)

 

 

 

For the years ended December 31,

 

 

 

2015

 

2016

 

2017

 

2017

 

 

 

RMB

 

RMB

 

RMB

 

US$

 

Total revenue

 

3,761,855

 

5,422,100

 

13,251,443

 

2,036,709

 

Net loss

 

(558,773

)

(627,302

)

(221,601

)

(34,060

)

Net cash (used in)/generated from operating activities

 

(178,511

)

(381,642

)

277,518

 

42,654

 

Net cash used in investing activities

 

(288,204

)

(441,555

)

(656,571

)

(100,914

)

Net cash generated from financing activities

 

473,877

 

960,576

 

267,017

 

41,040

 

 

2.  SUMMARY OF SIGNIFICANT ACCOUNTING POLICIES

 

Basis of presentation

 

The accompanying consolidated financial statements have been prepared in accordance with United States generally accepted accounting principles (“U.S. GAAP”).

 

Principles of Consolidation

 

The consolidated financial statements of the Group include the financial statements of the Company, its subsidiaries and VIE for which the Company is the primary beneficiary. All significant intercompany balances and transactions between the Company, its subsidiaries and VIE have been eliminated on consolidation.

 

Use of estimates

 

The preparation of consolidated financial statements in conformity with U.S. GAAP requires management to make estimates and assumptions that affect the reported amounts of assets and liabilities, disclosures of contingent assets and liabilities at the balance sheet dates and the reported amounts of revenue and expenses during the reporting periods. Significant estimates and assumptions reflected in the Group’s financial statements include, but are not limited to, allowance for doubtful accounts, useful lives of long-lived assets, the purchase price allocation with respect to business combinations, impairment of long-lived assets and goodwill, realization of deferred tax assets and share-based compensation. Management bases the estimates on historical experience and various other assumptions that are believed to be reasonable, the results of which form the basis for making judgments about the carrying values of assets and liabilities. Actual results could materially differ from those estimates.

 

F-19



Table of Contents

 

BEST INC.

 

NOTES TO THE CONSOLIDATED FINANCIAL STATEMENTS

FOR THE YEARS ENDED DECEMBER 31, 2015, 2016 AND 2017 (CONTINUED)

(Amounts in thousands of Renminbi (“RMB”) and US dollars (“US$”)

except for number of shares and per share data)

 

2.  SUMMARY OF SIGNIFICANT ACCOUNTING POLICIES (CONTINUED)

 

Convenience translation

 

Amounts in U.S. dollars are presented for the convenience of the reader and are translated at the noon buying rate of RMB6.5063 per US$1.00 on December 31, 2017 in the City of New York for cable transfers of RMB as certified for customs purposes by the Federal Reserve Bank of New York. No representation is made that the RMB amounts could have been, or could be, converted into US$ at such rate.

 

Foreign currency

 

The functional currency of the Company’s subsidiaries located outside PRC is the United States Dollars (“US$”). The Company’s subsidiaries and VIE located in the PRC determined their functional currency to be Renminbi (the “RMB”). The Company uses the RMB as its reporting currency.

 

Each entity in the Group maintains its financial records in its own functional currency. Transactions denominated in foreign currencies are measured at the exchange rates prevailing on the transaction dates. Monetary assets and liabilities denominated in foreign currencies are remeasured at the exchange rates prevailing at the balance sheet date. Non-monetary items that are measured in terms of historical cost in foreign currency are remeasured using the exchange rates at the dates of the initial transactions. Exchange gains and losses are included in the consolidated statements of comprehensive loss.

 

The Company uses the average exchange rate for the year and the exchange rate at the balance sheet date to translate the operating results and financial position, respectively. Translation differences are recorded in accumulated other comprehensive income, a component of shareholders’ (deficit)/equity.

 

Cash and cash equivalents

 

Cash and cash equivalents consist of cash on hand and demand deposits or other highly liquid investments placed with banks or other financial institutions which are unrestricted as to withdrawal and use and have original maturities of less than three months.

 

Restricted cash

 

The Group’s restricted cash mainly represents (a) security deposits held in designated bank accounts for issuance of notes payable and lines of credit; and (b) security deposits as required by the Group’s sortation centers and warehouses.

 

Short-term investments

 

The Group’s short-term investments comprise primarily of cash deposits at fixed or floating rates based on daily bank deposit rates with maturities ranging from three months to one year.

 

F-20



Table of Contents

 

BEST INC.

 

NOTES TO THE CONSOLIDATED FINANCIAL STATEMENTS

FOR THE YEARS ENDED DECEMBER 31, 2015, 2016 AND 2017 (CONTINUED)

(Amounts in thousands of Renminbi (“RMB”) and US dollars (“US$”)

except for number of shares and per share data)

 

2.  SUMMARY OF SIGNIFICANT ACCOUNTING POLICIES (CONTINUED)

 

Accounts receivable and notes receivable, and allowance for doubtful accounts

 

Accounts and notes receivable are carried at net realizable value. An allowance for doubtful accounts is recorded when collection of the full amount is no longer probable. In evaluating the collectability of receivable balances, the Group considers specific evidence including the aging of the receivable, the customer’s payment history, its current credit-worthiness and current economic trends. Accounts and notes receivable are written off after all collection efforts have ceased.

 

Property and equipment, net

 

Property and equipment are stated at cost and are depreciated using the straight-line method over the estimated useful lives of the assets, as follows:

 

Category

 

Estimated Useful Life

Machinery and electronic equipment

 

3 - 5 years

Motor vehicles

 

3 years

Leasehold improvements

 

Lesser of useful life or lease term

 

Repair and maintenance costs are charged to expense as incurred, whereas the cost of renewals and betterments that extend the useful lives of property and equipment are capitalized as additions to the related assets. Retirements, sales and disposals of assets are recorded by removing the cost and accumulated depreciation from the asset and accumulated depreciation accounts with any resulting gain or loss reflected in the consolidated statements of comprehensive loss.

 

Direct costs that are related to the construction of property and equipment, and incurred in connection with bringing the assets to their intended use are capitalized as construction in progress. Construction in progress is transferred to specific property and equipment, and the depreciation of these assets commences when the assets are ready for their intended use. As of December 31, 2016 and 2017, the balances of construction in progress were RMB63,351 and RMB223,535 (US$ 34,357), which were related to the construction of warehouses, hubs and sortation centers and related equipments.

 

Business Combinations

 

The Group accounts for its business combinations using the purchase method of accounting in accordance with ASC 805, Business Combinations (“ASC 805”). The purchase method of accounting requires that the consideration transferred to be allocated to the assets, including separately identifiable assets and liabilities the Group acquired, based on their estimated fair values. The consideration transferred in an acquisition is measured as the aggregate of the fair values at the date of exchange of the assets given, liabilities incurred, and equity instruments issued as well as the contingent considerations and all contractual contingencies as of the acquisition date. The costs directly attributable to the acquisition are expensed as incurred. Identifiable assets, liabilities and contingent liabilities acquired or assumed are measured separately at their fair value as of the acquisition date, irrespective of the extent of any non-controlling interests. The excess of (i) the total of cost of acquisition, fair value of the non-controlling interests and acquisition date fair value of any previously held equity interest in the acquiree over (ii) the fair value of the identifiable net assets of the acquiree, is recorded as goodwill. If the cost of acquisition is less than the fair value of the net assets of the subsidiary acquired, the difference is recognized directly in earnings.

 

F-21



Table of Contents

 

BEST INC.

 

NOTES TO THE CONSOLIDATED FINANCIAL STATEMENTS

FOR THE YEARS ENDED DECEMBER 31, 2015, 2016 AND 2017 (CONTINUED)

(Amounts in thousands of Renminbi (“RMB”) and US dollars (“US$”)

except for number of shares and per share data)

 

2.  SUMMARY OF SIGNIFICANT ACCOUNTING POLICIES (CONTINUED)

 

Business Combinations (continued)

 

The determination and allocation of fair values to the identifiable assets acquired, liabilities assumed and non-controlling interests is based on various assumptions and valuation methodologies requiring considerable judgment from management. The most significant variables in these valuations are discount rates, terminal values, the number of years on which to base the cash flow projections, as well as the assumptions and estimates used to determine the cash inflows and outflows. The Group determines discount rates to be used based on the risk inherent in the related activity’s current business model and industry comparisons. Terminal values are based on the expected life of assets, forecasted life cycle and forecasted cash flows over that period.

 

Goodwill

 

The Group assesses goodwill for impairment in accordance with ASC 350-20, Intangibles—Goodwill and Other: Goodwill (“ASC 350-20”), which requires that goodwill be tested for impairment at the reporting unit level at least annually and more frequently upon the occurrence of certain events, as defined by ASC 350-20.

 

The Group has determined it has five reporting units (that also represent operating segments). Goodwill was allocated to two and four reporting units as of December 31, 2016 and 2017, respectively (Note 11). The Group has the option to assess qualitative factors first to determine whether it is necessary to perform the two-step test in accordance with ASC 350-20. If the Group believes, as a result of the qualitative assessment, that it is more-likely-than-not that the fair value of the reporting unit is less than its carrying amount, the two-step quantitative impairment test described above is required. Otherwise, no further testing is required. In the qualitative assessment, the Group considers primary factors such as industry and market considerations, overall financial performance of the reporting unit, and other specific information related to the operations.

 

In performing the two-step quantitative impairment test, the first step compares the carrying amount of the reporting unit to the fair value of the reporting unit based on either quoted market prices of the ordinary shares or estimated fair value using a combination of the income approach and the market approach. If the fair value of the reporting unit exceeds the carrying value of the reporting unit, goodwill is not impaired and the Group is not required to perform further testing. If the carrying value of the reporting unit exceeds the fair value of the reporting unit, then the Group must perform the second step of the impairment test in order to determine the implied fair value of the reporting unit’s goodwill. The fair value of the reporting unit is allocated to its assets and liabilities in a manner similar to a purchase price allocation in order to determine the implied fair value of the reporting unit goodwill. If the carrying amount of the goodwill is greater than its implied fair value, the excess is recognized as an impairment loss in general and administrative expenses.

 

F-22



Table of Contents

 

BEST INC.

 

NOTES TO THE CONSOLIDATED FINANCIAL STATEMENTS

FOR THE YEARS ENDED DECEMBER 31, 2015, 2016 AND 2017 (CONTINUED)

(Amounts in thousands of Renminbi (“RMB”) and US dollars (“US$”)

except for number of shares and per share data)

 

2.  SUMMARY OF SIGNIFICANT ACCOUNTING POLICIES (CONTINUED)

 

Intangible assets

 

Intangible assets with finite lives are carried at cost less accumulated amortization. All intangible assets with finite lives are amortized using the straight-line method over the estimated economic lives.

 

Intangible assets have estimated economic lives from the date of purchase as follows:

 

Category

 

Estimated Useful Life

 

Customer relationships

 

3-5 years

 

Software

 

3-8 years

 

Domain name

 

10 years

 

Brand name

 

20 years

 

Others

 

2~3 years

 

 

Impairment of long-lived assets other than goodwill

 

The Group evaluates its long-lived assets, including fixed assets and intangible assets with finite lives, for impairment whenever events or changes in circumstances, such as a significant adverse change to market conditions that will impact the future use of the assets, indicate that the carrying amount of an asset may not be fully recoverable. When these events occur, the Group evaluates the recoverability of long-lived assets by comparing the carrying amount of the assets to the future undiscounted cash flows expected to result from the use of the assets and their eventual disposition. If the sum of the expected undiscounted cash flows is less than the carrying amount of the assets, the Group recognizes an impairment loss based on the excess of the carrying amount of the assets over their fair value. Impairment losses were included in general and administrative expense.

 

Fair value of financial instruments

 

Financial instruments include cash and cash equivalents, accounts and notes receivables, certain other current assets, short-term investments, derivative, due from related parties, financing lease receivables, accounts and notes payable, short-term bank loans, amounts due to related parties, certain other current liabilities, and redeemable convertible preferred shares. The redeemable convertible preferred shares were initially recorded at issuance price net of issuance costs. The Group recognizes changes in the redemption value immediately as they occur and adjusts the carrying value of the redeemable convertible preferred shares to equal the redemption value at the end of each reporting period. The derivative was recorded at fair value as determined on the issuance date and subsequently adjusted to its fair value at each reporting date. The carrying values of the financing lease receivables approximate their fair values, as the receivables bear interest at rates determined based on the prevailing market interest rates. The carrying values of the remaining financial instruments approximate their fair values due to their short-term maturities.

 

F-23



Table of Contents

 

BEST INC.

 

NOTES TO THE CONSOLIDATED FINANCIAL STATEMENTS

FOR THE YEARS ENDED DECEMBER 31, 2015, 2016 AND 2017 (CONTINUED)

(Amounts in thousands of Renminbi (“RMB”) and US dollars (“US$”)

except for number of shares and per share data)

 

2.  SUMMARY OF SIGNIFICANT ACCOUNTING POLICIES (CONTINUED)

 

Derivatives

 

ASC 815, Derivatives and Hedging, requires all contracts which meet the definition of a derivative to be recognized in the consolidated balance sheets as either assets or liabilities and recorded at fair value. Changes in the fair value of derivative financial instruments are either recognized periodically in income (loss) or in shareholders’ deficit as a component of other comprehensive income (loss) depending on the use of the derivative and whether it qualifies for hedge accounting. Changes in fair values of derivatives not qualified as hedges are reported in the consolidated statements of comprehensive loss. The estimated fair values of derivative instruments are determined at discrete points in time based on the relevant market information. These estimates are calculated with reference to the market rates using industry standard valuation techniques.

 

Modification of redeemable convertible preferred shares

 

The Group assesses whether an amendment to the terms of its redeemable convertible preferred shares is an extinguishment or a modification using the fair value model. If the fair value of the redeemable convertible preferred shares immediately after the amendment changes by more than 10 percent from the fair value of the redeemable convertible preferred shares immediately before the amendment, the amendment is considered an extinguishment. An amendment that does not meet this criterion is a modification. When redeemable convertible preferred shares are extinguished, the difference between the fair value of the consideration transferred to the redeemable convertible preferred shareholders and the carrying amount of the redeemable convertible preferred shares (net of issuance costs) is treated as a deemed dividend to the redeemable convertible preferred shareholders. When redeemable convertible preferred shares are modified, the increase of the fair value immediately after the amendment is treated as a deemed dividend to the redeemable convertible preferred shareholders. Modifications that result in a decrease in the fair value of the redeemable convertible preferred shares are not recognized.

 

Inventories

 

Inventories are comprised of finished goods. The Group’s finished goods consists of (i) materials used in performing express delivery services, freight delivery services and supply chain management services such as waybills and low value consumables such as handheld terminals, packing materials and uniforms emblazoned with the logo “BEST” (“accessories”); and (ii) fast-moving consumer goods such as beverage and drinks, snacks and daily necessities to be sold on the Group’s Store+ online business-to-business platform and retail store(“consumer goods”). Inventories are stated at the lower of cost and net realizable value. Net realizable value is the estimated selling price in the ordinary course of business, less applicable variable selling expenses. Cost of accessories is accounted for using the weighted average cost method. Cost of purchased consumer goods are accounted for using the first-in first-out method for Store+ online business and the weighted average cost method for Wowo, respectively. Adjustments are recorded to write down the cost of inventory to the estimated market value due to the slow-moving merchandise and damaged goods. Write-downs are recorded in cost of revenue in the consolidated statements of comprehensive loss.

 

F-24



Table of Contents

 

BEST INC.

 

NOTES TO THE CONSOLIDATED FINANCIAL STATEMENTS

FOR THE YEARS ENDED DECEMBER 31, 2015, 2016 AND 2017 (CONTINUED)

(Amounts in thousands of Renminbi (“RMB”) and US dollars (“US$”)

except for number of shares and per share data)

 

2.  SUMMARY OF SIGNIFICANT ACCOUNTING POLICIES (CONTINUED)

 

Revenue recognition

 

Revenue is recognized only when the price is fixed or determinable, persuasive evidence of an arrangement exists, the service is performed and collectability of the related fee is reasonably assured based on the guidance in ASC 605, Revenue Recognition. Non-refundable payments received before all of the relevant criteria for revenue recognition are satisfied are recorded as customer advances and deposits in the consolidated balance sheets.

 

Multiple contracts with the same customer are accounted for as separate arrangements if they are not contemplated together as one linked transaction, have different business substance, and the occurrence of one arrangement is not dependent upon another. Historically, the Group has not entered into multiple contracts with the same counterparty that should be accounted for as a single combined arrangement.

 

The Group’s business is subject to value added taxes (“VAT”) and tax surcharges assessed by governmental authorities. Pursuant to ASC 605-45, Revenue Recognition—Principal Agent Considerations, the Group elected to present VAT and tax surcharges as a reduction of revenue.

 

Supply chain management services

 

The Group provides order fulfillment services (through its self-operated order fulfillment centers) and transportation services to its offline and online enterprise customers. Order fulfillment service arrangements comprise of various service offerings that can be purchased at the option of the customer. Each of the service options are substantive and the enterprise customers cannot purchase each additional service at a significant and incremental discount. Therefore, each service is accounted for separately. The Group is the primary obligor and does not outsource any portion of the order fulfillment services to supply chain franchisee partners.

 

Revenue for order fulfillment services is recognized upon completion of the services, and revenue for transportation services is recognized upon delivery of shipments to end recipients.

 

A small percentage of revenue is also earned from supply chain franchisee partners that can access the Group’s supply chain network. These franchisee partners pay an initial non-refundable fee for a comprehensive operating manual and orientation training, as well as an agreed upon system usage fee for each order processed through the Group’s supply chain network. The initial non-refundable fees and system usage fees were insignificant for all periods presented.

 

F-25



Table of Contents

 

BEST INC.

 

NOTES TO THE CONSOLIDATED FINANCIAL STATEMENTS

FOR THE YEARS ENDED DECEMBER 31, 2015, 2016 AND 2017 (CONTINUED)

(Amounts in thousands of Renminbi (“RMB”) and US dollars (“US$”)

except for number of shares and per share data)

 

2.  SUMMARY OF SIGNIFICANT ACCOUNTING POLICIES (CONTINUED)

 

Revenue recognition (continued)

 

Express delivery services

 

The Group provides express services that comprise of sorting, line-haul and feeder transportation services to its franchisee service stations, which are also the Group’s customers, when parcels (under 15 kg) are dropped off by the Group’s franchisee service station customers at the Group’s first hub or sortation center.

 

Prior to 2017, the Group was not responsible for last-mile delivery of the parcels and therefore, the Group’s customers were separately engaging with, and directly liable to, the last-mile delivery service stations for their delivery service and related fees. The fees the Group earned from its customers were based on the parcel’s weight and route to the Group’s last destination hub or sortation center. Therefore, the Group recognized revenue when the parcels were picked up from the Group’s last destination hub or sortation center by franchisees operating the last-mile delivery service stations for delivery to end recipients.

 

Starting in 2017, in order to enhance the Group’s parcel delivery experience and the Group’s control over service quality throughout its network, the Group revised its contractual arrangements and service offerings with its franchisee service stations to offer an integrated service that includes last-mile delivery service to end recipients in addition to the existing express services. The revised contractual arrangements result in the Group acting as the principal that is directly responsible for all parcels sent through its network, from the point when customers drop off the parcels at the Group’s first hub or sortation center all the way through to the point when the parcels are delivered to end recipients. The fees the Group now earns from its customers are based on the parcel’s weight and route to the end recipient’s destination. Therefore, starting in 2017, the Group recognizes revenue upon delivery of the parcels to end recipients.

 

A minor percentage of the Group’s express delivery services are performed by its self-operated service stations for direct customers (“direct customer express delivery services”), which are the senders of the parcels. The Group is directly responsible for the parcel from the point it is received from the senders all the way through the point when the parcels are delivered to end recipients. Direct customer revenues are recognized when the parcels are delivered to the end recipients by last-mile delivery service stations, including stations operated by the Group.

 

Express delivery services revenue also includes initial non-refundable franchise fees that are recognized when substantially all services or conditions relating to the initial franchise fee have been performed and the Group has fulfilled all its commitments and obligations, which is when the franchisee commences its operations as an express delivery service station. There are no continuing franchise fees in the Group’s arrangements. The initial non-refundable franchise fees are negotiated under a separate agreement and represent a very small percentage of revenue for all periods presented.

 

F-26



Table of Contents

 

BEST INC.

 

NOTES TO THE CONSOLIDATED FINANCIAL STATEMENTS

FOR THE YEARS ENDED DECEMBER 31, 2015, 2016 AND 2017 (CONTINUED)

(Amounts in thousands of Renminbi (“RMB”) and US dollars (“US$”)

except for number of shares and per share data)

 

2.  SUMMARY OF SIGNIFICANT ACCOUNTING POLICIES (CONTINUED)

 

Revenue recognition (continued)

 

Freight delivery services

 

Similar to express delivery services, the Group provides freight services that comprise of sorting, line-haul and feeder transportation services mainly to its franchisees, which are also the Group’s customers. Prior to 2017, the Group’s customers directly engaged the last-mile delivery service stations that deliver the shipments to the end recipients. The freight fees the Group earned from its customers were based on the shipment’s weight and route to the Group’s last destination hub or sortation center. Therefore, the Group recognized revenue when the freight shipments were picked up from the Group’s last destination hub or sortation center for delivery to end recipients.

 

Starting in 2017, in order to enhance the Group’s freight delivery experience and the Group’s control over service quality throughout its network, the Group revised its contractual arrangements and service offerings with its franchisee service stations to offer an integrated service that includes last-mile delivery service to end recipients in addition to the existing freight services. The revised contractual arrangements result in the Group acting as the principal that is directly responsible for all shipments sent through its network, from the point when customers drop off the shipments at the Group’s first hub or sortation center all the way through to the point when the shipments are delivered to end recipients. The fees the Group now earns from its customers are based on the shipment’s weight and route to the end recipient’s destination. Therefore, starting in 2017, the Group recognizes revenue upon delivery of the shipments to end recipients.

 

Freight delivery services revenue also includes initial non-refundable franchise fees that are recognized when substantially all services or conditions relating to the initial franchise fee have been performed and the Group has fulfilled all its commitments and obligations, which is when the franchisee commences its operations as a freight delivery service station. There are no continuing franchise fees in the Group’s arrangements. The initial non-refundable franchise fees are negotiated under a separate agreement and represent a very small percentage of revenue for all periods presented.

 

Store+ services

 

The Group recognizes revenue upon the delivery of the consumer goods to its convenience store membership customers. Starting in May 2017, the Company also generates and recognizes revenue upon the sales of merchandise to end consumers by the Group’s self-operated convenience stores. The Group is the principal to the transaction for these services and revenue from these transactions is recognized on a gross basis.

 

Other services

 

The Group mainly provides cross-border logistic coordination services and finance leasing services. For cross-border logistic coordination services, the Group recognizes revenue upon completion of the services. Revenue from interest income on financing leases is recognized using the effective interest rate method. The Group is the principal to the transaction for these services and revenue from these transactions is recognized on a gross basis.

 

F-27



Table of Contents

 

BEST INC.

 

NOTES TO THE CONSOLIDATED FINANCIAL STATEMENTS

FOR THE YEARS ENDED DECEMBER 31, 2015, 2016 AND 2017 (CONTINUED)

(Amounts in thousands of Renminbi (“RMB”) and US dollars (“US$”)

except for number of shares and per share data)

 

2.  SUMMARY OF SIGNIFICANT ACCOUNTING POLICIES (CONTINUED)

 

Revenue recognition (continued)

 

Accounting for Consideration Given by a Vendor to a Customer

 

The Group accounts for payments to franchisee service stations, which are also the Group’s customers in separate express delivery and freight delivery service transactions in accordance with ASC 605 50, Revenue Recognition: Customer Payments and Incentives (“ASC 605 50”). As the Group receives an identifiable benefit in return for the consideration (i.e. last mile delivery services) that is sufficiently separable and has a standalone estimate of fair value, the payments are recorded as cost of revenues. There are no other customer incentives or payments across all service lines.

 

Cost of revenue

 

Cost of revenue consists primarily of transportation costs including last-mile delivery service fees, cost of express and freight delivery accessories, operating costs for the delivery platforms, hubs and sortation centers, operating costs for the supply chain management network, purchased consumer goods, salaries and benefits of related personnel, depreciation, rental costs, and other related operating costs. Starting in 2017, the enhancement of the Group’s parcel and shipment delivery experience to include last-mile delivery services resulted in fees incurred to franchisees operating the last-mile delivery service stations of RMB nil and RMB5,502,555 (US$ 845,727) for the year ended December 31, 2016 and 2017, respectively.

 

Selling expenses

 

Advertising costs are expensed when incurred and are included in selling expenses in the consolidated statements of comprehensive loss. For the years ended December 31, 2015, 2016 and 2017, the advertising expenses were approximately RMB6,957, RMB15,089 and RMB15,401 (US$2,367), respectively.

 

Selling expenses include shipping and handling costs incurred for the Store+ services segment comprising of costs for operating and staffing the Group’s warehouses, packaging, and outbound shipping to customers. Shipping and handling costs amounted to RMB1,130, RMB74,022 and RMB203,916 (US$31,341) for the years ended December 31, 2015, 2016 and 2017, respectively.

 

Selling expenses also include retail store occupancy costs such as rent, depreciation, amortization and overhead expenses incurred for Wowo, which is included in the Store+ services segment. Retail store occupancy costs amounted to nil and RMB70,450 (US$10,828) respectively.

 

Government subsidies

 

Government subsidies primarily consist of financial subsidies received from local governments for operating a business in their jurisdictions and compliance with specific policies promoted by the local governments. There are no defined rules and regulations to govern the criteria necessary for companies to receive such benefits, and the amount of financial subsidy is determined at the discretion of the relevant government authorities. For the government subsidies with non-operating nature and with no further conditions to be met, the amounts are recorded as non-operating income in “Other income” when received. The government subsidies with certain operating conditions are recorded as liabilities when received and will be recorded as operating income when the conditions are met.

 

F-28



Table of Contents

 

BEST INC.

 

NOTES TO THE CONSOLIDATED FINANCIAL STATEMENTS

FOR THE YEARS ENDED DECEMBER 31, 2015, 2016 AND 2017 (CONTINUED)

(Amounts in thousands of Renminbi (“RMB”) and US dollars (“US$”)

except for number of shares and per share data)

 

2.  SUMMARY OF SIGNIFICANT ACCOUNTING POLICIES (CONTINUED)

 

Leases

 

Lessee

 

Leases are classified at the inception date as either a capital lease or an operating lease. A lease is a capital lease if any of the following conditions exists: a) ownership is transferred to the lessee by the end of the lease term, b) there is a bargain purchase option, c) the lease term is at least 75% of the property’s estimated remaining economic life or d) the present value of the minimum lease payments at the beginning of the lease term is 90% or more of the fair value of the leased property to the lessor at the inception date. A capital lease is accounted for as if there was an acquisition of an asset and an incurrence of an obligation at the inception of the lease.

 

All other leases are accounted for as operating leases wherein rental payments are expensed on a straight-line basis over their respective lease term. The Group leases certain office, warehouses and hub and sortation center facilities, and equipment under non-cancelable operating leases. Certain lease agreements contain rent holidays. Rent holidays are considered in determining the straight-line rent expense to be recorded over the lease term.

 

Lessor

 

The Group provides financing leases of multiple types of motor vehicles and logistic equipment, primarily to transportation service providers that meet the Group’s credit assessment requirements. The financing leases range from two to ten years, do not contain contingent rental income clauses, and are fully collateralized by assets the Group can repossess in the event of default. Initial direct costs were insignificant for all periods presented. Revenue from interest income on financing leases is recognized using the effective interest rate method. For the years ended December 31, 2015, 2016, and 2017, interest income amounted to RMB1,326, RMB3,592 and RMB62,174 (US$9,556), respectively, which is included in the Others revenue line item in the accompanying consolidated statements of comprehensive loss. As of December 31, 2016 and 2017, all financing lease receivables were within their payment terms.

 

Research and Development Expenses

 

Research and development expenses primarily consist of salaries and benefits for research and development personnel and depreciation of property and equipment. The Group expenses research and development costs as they are incurred.

 

Comprehensive loss

 

Comprehensive loss is defined as the changes in equity of the Group during a period from transactions and other events and circumstances excluding transactions resulting from investments by owners and distributions to owners. Among other disclosures, ASC 220, Comprehensive Income, requires that all items that are required to be recognized under current accounting standards as components of comprehensive loss be reported in a financial statement that is displayed with the same prominence as other financial statements. For each of the periods presented, the Group’s comprehensive loss includes net loss and foreign currency translation adjustments, and is presented in the consolidated statements of comprehensive loss.

 

F-29



Table of Contents

 

BEST INC.

 

NOTES TO THE CONSOLIDATED FINANCIAL STATEMENTS

FOR THE YEARS ENDED DECEMBER 31, 2015, 2016 AND 2017 (CONTINUED)

(Amounts in thousands of Renminbi (“RMB”) and US dollars (“US$”)

except for number of shares and per share data)

 

2.  SUMMARY OF SIGNIFICANT ACCOUNTING POLICIES (CONTINUED)

 

Income taxes

 

The Group follows the liability method of accounting for income taxes in accordance with ASC 740, Income Taxes (“ASC 740”). Under this method, deferred tax assets and liabilities are determined based on the difference between the financial reporting and tax bases of assets and liabilities using enacted tax rates that will be in effect in the period in which the differences are expected to reverse. The Group records a valuation allowance to offset deferred tax assets if based on the weight of available evidence, it is more-likely-than-not that some portion, or all, of the deferred tax assets will not be realized. The effect on deferred taxes of a change in tax rate is recognized in tax expense in the period that includes the enactment date of the change in tax rate.

 

The Group accounted for uncertainties in income taxes in accordance with ASC 740. Interest and penalties arising from underpayment of income taxes shall be computed in accordance with the related PRC tax law. The amount of interest expense is computed by applying the applicable statutory rate of interest to the difference between the tax position recognized and the amount previously taken or expected to be taken in a tax return. Interest and penalties recognized in accordance with ASC 740 are classified in the consolidated statements of comprehensive loss as income tax expense.

 

In accordance with the provisions of ASC 740, the Group recognizes in its consolidated financial statements the impact of a tax position if a tax return position or future tax position is “more likely than not” to prevail based on the facts and technical merits of the position. Tax positions that meet the “more likely than not” recognition threshold are measured at the largest amount of tax benefit that has a greater than fifty percent likelihood of being realized upon settlement. The Group’s estimated liability for unrecognized tax benefits which is included in the “other non-current liabilities” line item in the accompanying consolidated financial statements is periodically assessed for adequacy and may be affected by changing interpretations of laws, rulings by tax authorities, changes and/or developments with respect to tax audits, and expiration of the statute of limitations. The actual benefits ultimately realized may differ from the Group’s estimates. As each audit is concluded, adjustments, if any, are recorded in the Group’s consolidated financial statements. Additionally, in future periods, changes in facts, circumstances, and new information may require the Group to adjust the recognition and measurement estimates with regard to individual tax positions. Changes in recognition and measurement estimates are recognized in the period in which the changes occur.

 

F-30



Table of Contents

 

BEST INC.

 

NOTES TO THE CONSOLIDATED FINANCIAL STATEMENTS

FOR THE YEARS ENDED DECEMBER 31, 2015, 2016 AND 2017 (CONTINUED)

(Amounts in thousands of Renminbi (“RMB”) and US dollars (“US$”)

except for number of shares and per share data)

 

2.  SUMMARY OF SIGNIFICANT ACCOUNTING POLICIES (CONTINUED)

 

Share-based compensation

 

Awards granted to employees

 

The Group applies ASC 718, Compensation—Stock Compensation (“ASC 718”), to account for its employee share-based payments. In accordance with ASC 718, the Group determines whether an award should be classified and accounted for as a liability award or equity award. All the Group’s share-based awards to employees were classified as equity awards and are recognized in the consolidated financial statements based on their grant date fair values. For awards only with service conditions, the Group has elected to recognize compensation expense using the straight-line method for awards granted with graded vesting provided that the amount of compensation cost recognized at any date is at least equal to the portion of the grant date value of the options that are vested at that date. For awards with performance and service conditions, the Group uses the accelerated method for awards granted with graded vesting. The Group accounts for forfeitures as they occur.

 

The Group, with the assistance of an independent third party valuation firm, determined the fair value of the stock options granted to employees. The binomial option pricing model was applied in determining the estimated fair value of the options granted to employees.

 

Awards granted to non-employees

 

The Group has accounted for equity instruments issued to non-employees in accordance with the provisions ASC 505-50, Equity-based payments to non-employees. All transactions in which goods or services are received in exchange for equity instruments are accounted for based on the fair value of the consideration received or the fair value of the equity instrument issued, whichever is more reliably measurable. The measurement date of the fair value of the equity instrument issued is the date on which the counterparty’s performance is completed as there is no associated performance commitment. The expense is recognized in the same manner as if the Group had paid cash for the services provided by the non-employees.

 

F-31



Table of Contents

 

BEST INC.

 

NOTES TO THE CONSOLIDATED FINANCIAL STATEMENTS

FOR THE YEARS ENDED DECEMBER 31, 2015, 2016 AND 2017 (CONTINUED)

(Amounts in thousands of Renminbi (“RMB”) and US dollars (“US$”)

except for number of shares and per share data)

 

2.  SUMMARY OF SIGNIFICANT ACCOUNTING POLICIES (CONTINUED)

 

Share-based compensation (continued)

 

Modification of awards

 

A change in any of the terms or conditions of the awards is accounted for as a modification of the award. Incremental compensation cost is measured as the excess, if any, of the fair value of the modified award over the fair value of the original award immediately before its terms are modified, measured based on the fair value of the awards and other pertinent factors at the modification date. For vested awards, the Group recognizes incremental compensation cost in the period the modification occurs. For unvested awards, the Group recognizes over the remaining requisite service period, the sum of the incremental compensation cost and the remaining unrecognized compensation cost for the original award on the modification date. If the fair value of the modified award is lower than the fair value of the original award immediately before modification, the minimum compensation cost the Group recognizes is the cost of the original award.

 

Long-term investments

 

The Group’s long-term investments consist of cost and equity method investments. In accordance with ASC 325-20, Investments-Other: Cost Method Investments (“ASC 325-20”), for investments in an investee over which the Group does not have significant influence and which do not have readily determinable fair value, the Group carries the investment at cost and only adjusts for other-than-temporary declines in fair value and distributions of earnings that exceed the Group’s share of earnings since its investment. Management regularly evaluates the impairment of the cost method investments based on performance and financial position of the investee as well as other evidence of market value. Such evaluation includes, but is not limited to, reviewing the investee’s cash position, recent financing, projected and historical financial performance, cash flow forecasts and financing needs. An impairment loss is recognized in earnings equal to the excess of the investment’s cost over its fair value at the balance sheet date of the reporting period for which the assessment is made. The fair value would then become the new cost basis of investment. Cost method accounting is also applied to investments that are not considered as “in-substance” common stock investments, and do not have readily determinable fair values.

 

Investments in entities in which the Group can exercise significant influence and holds an investment in voting common stock or in-substance common stock (or both) of the investee but does not own a majority equity interest or control are accounted for using the equity method of accounting in accordance with ASC 323, Investments-Equity Method and Joint Ventures (“ASC 323”). Under the equity method, the Group initially records its investments at cost. The Group subsequently adjusts the carrying amount of the investments to recognize the Group’s proportionate share of each equity investee’s net (loss) income into earnings after the date of investments. The Group evaluates the equity method investments for impairment under ASC 323. An impairment loss on the equity method investments is recognized in earnings when the decline in value is determined to be other-than-temporary.

 

F-32



Table of Contents

 

BEST INC.

 

NOTES TO THE CONSOLIDATED FINANCIAL STATEMENTS

FOR THE YEARS ENDED DECEMBER 31, 2015, 2016 AND 2017 (CONTINUED)

(Amounts in thousands of Renminbi (“RMB”) and US dollars (“US$”)

except for number of shares and per share data)

 

2.  SUMMARY OF SIGNIFICANT ACCOUNTING POLICIES (CONTINUED)

 

Loss per share

 

In accordance with ASC 260, Earnings Per Share (“ASC 260”), basic loss per share is computed by dividing net loss attributable to ordinary shareholders by the weighted average number of unrestricted ordinary shares outstanding during the year using the two-class method. Under the two-class method, net loss is allocated between ordinary shares and other participating securities based on their participating rights. The Group’s redeemable convertible preferred shares (Note 14) and Class A, Class B and Class C ordinary shares (Note 19) are participating securities. Diluted loss per share is calculated by dividing net loss attributable to ordinary shareholders as adjusted for the effect of dilutive ordinary equivalent shares, if any, by the weighted average number of ordinary and dilutive ordinary equivalent shares outstanding during the period. Ordinary equivalent shares consist of the ordinary shares issuable upon the conversion of the Group’s redeemable convertible preferred shares using the if-converted method, and ordinary shares issuable upon the exercise of the share options and vesting of restricted share units, using the treasury stock method. Ordinary share equivalents are excluded from the computation of diluted per share if their effects would be anti-dilutive.

 

For the years ended December 31, 2015 and 2016, the computation of basic loss per share using the two-class method is not applicable as the Group is in a net loss position and the redeemable convertible preferred shares or participating securities do not have contractual rights and obligations to share in the losses of the Group. For the year ended December 31, 2017, the two-class method is applicable because the Company has three classes of ordinary shares outstanding, Class A, Class B and Class C ordinary shares, respectively. The participating rights (liquidation and dividend rights) of the holders of the Company’s Class A, Class B and Class C ordinary shares are identical, except with respect to voting and conversion (Note 19). As a result, and in accordance with ASC 260, the undistributed loss for each year is allocated based on the contractual participation rights of the Class A, Class B and Class C ordinary shares, respectively. As the liquidation and dividend rights are identical, the undistributed loss is allocated on a proportionate basis.

 

Deferred IPO costs

 

Direct costs incurred by the Company attributable to its IPO of American Depository shares (“ADSs”) in the U.S. were deferred and recorded in prepayments and other current assets, and subsequently was charged against the gross proceeds received from such offering on September 20, 2017.

 

Segment reporting

 

In accordance with ASC 280, Segment Reporting, operating segments are defined as components of an enterprise about which separate financial information is available that is evaluated regularly by the chief operating decision maker (“CODM”), or decision making group, in deciding how to allocate resources and in assessing performance. The Group’s CODM is the Chief Executive Officer and each of its major service lines is a discrete operating and reportable segment.

 

Comparative information

 

Certain of the prior year comparative figures have been reclassified to conform to the current year’s presentation.

 

F-33



Table of Contents

 

BEST INC.

 

NOTES TO THE CONSOLIDATED FINANCIAL STATEMENTS

FOR THE YEARS ENDED DECEMBER 31, 2015, 2016 AND 2017 (CONTINUED)

(Amounts in thousands of Renminbi (“RMB”) and US dollars (“US$”)

except for number of shares and per share data)

 

2.              SUMMARY OF SIGNIFICANT ACCOUNTING POLICIES (CONTINUED)

 

Recent accounting pronouncements

 

In August 2015, the Financial Accounting Standards Board (“FASB”) issued Accounting Standards Update (“ASU”) 2015-14, Revenue from Contracts with Customers-Deferral of the effective date (“ASU 2015-14”). The amendments in ASU 2015-14 defer the effective date of ASU 2014-09, Revenue from Contracts with Customers, (“ASU 2014-09”), issued in May 2014. According to the amendments in ASU 2015-14, the new revenue guidance ASU 2014-09 is effective for annual reporting periods beginning after December 15, 2017, including interim reporting periods within that reporting period. Earlier application is permitted only as of annual reporting periods beginning after December 15, 2016, including interim reporting periods within that reporting period. In March 2016, the FASB issued ASU 2016-08, Revenue from Contracts with Customers—Principal versus Agent Considerations (“ASU 2016-08”), which clarifies the implementation guidance on principal versus agent considerations. In April 2016, the FASB issued ASU 2016-10, Revenue from Contracts with Customers—Identifying Performance Obligations and Licensing (“ASU 2016-10”), which clarify guidance related to identifying performance obligations and licensing implementation guidance contained in ASU 2014-09. In May 2016, the FASB issued ASU 2016-12, Revenue from Contracts with Customers—Narrow-Scope Improvements and Practical Expedients (“ASU 2016-12”), which addresses narrow-scope improvements to the guidance on collectability, non-cash consideration, and completed contracts at transition and provides practical expedients for contract modifications at transition and an accounting policy election related to the presentation of sales taxes and other similar taxes collected from customers. The effective date for the amendment in ASU 2016-08, ASU 2016-10 and ASU 2016-12 are the same as the effective date of ASU 2014-09. All guidance is collectively referred to as “ASC 606”. The Group will adopt ASC 606 under the modified retrospective approach, effective January 1, 2018. The cumulative effect of initially applying ASC 606 will be recognized on the day of initial application and prior periods will not be retrospectively adjusted.

 

Based on management’s assessment, the two main areas impacted by ASC 606 are as follows:

 

·              Express delivery services, freight delivery services, transportation services provided as part of supply chain management services and cross-border logistic coordination services revenue will be recognized over time (as the parcel/freight is being transported) because the customer simultaneous receives and consumes the benefits provided by the Group’s performance as it performs. Therefore, revenue will be recognized on an accelerated basis as control is being transferred to the customer over time rather than upon delivery under the current revenue standard. Due to the short transit periods, the Group does not expect this change to have a material impact on its consolidated financial statements.

 

·              Initial non-refundable franchise fees will be recognized over the franchise period as opposed to when the franchisee commences its operations due to franchisees’ rights to access the Group’s logos and brand names which are considered symbolic intellectual properties. As franchise fees do not represent a significant proportion of the Group’s consolidated revenues, the Group does not expect this change to have a material impact on its consolidated financial statements.

 

The Group is also in the process of implementing the appropriate changes to its business processes, systems and controls to support recognition and disclosures under ASC 606.

 

In January 2016, the FASB issued ASU 2016-01, “Financial Instruments-Overall (Subtopic 825-10): Recognition and Measurement of Financial Assets and Financial Liabilities”, which amends various aspects of the recognition, measurement, presentation, and disclosure for financial instruments. This amendment requires all equity investments to be measured at fair value, with changes in the fair value recognized through net income (other than those accounted for under equity method of accounting or those that result in consolidation of the investee). The ASU is effective for fiscal years beginning after December 15, 2017, including interim periods within those fiscal years. Early adoption is permitted only for certain provisions. The most significant impact on the consolidated financial statements of the Group relates to the recognition and measurement of equity investments at fair value in its consolidated statements of comprehensive loss. The Group has elected to use the measurement alternative defined as cost, less impairments, adjusted by observable price changes and will apply the new standard beginning January 1, 2018.

 

In February 2016, the FASB issued ASU 2016-02, Leases (Topic 842) (“ASU 2016-02”). ASU 2016-02 modifies existing guidance for off-balance sheet treatment of a lessees’ operating leases by requiring lessees to recognize lease assets and lease liabilities. Under ASU 2016-02, lessor accounting is largely unchanged. ASU 2016-02 is effective for fiscal years beginning after December 15, 2018, including interim periods within those fiscal years. Early adoption is permitted. The Group is evaluating this guidance and the impact to the Group, as both lessor and lessee, on the consolidated financial statements.

 

F-34



Table of Contents

 

BEST INC.

 

NOTES TO THE CONSOLIDATED FINANCIAL STATEMENTS

FOR THE YEARS ENDED DECEMBER 31, 2015, 2016 AND 2017 (CONTINUED)

(Amounts in thousands of Renminbi (“RMB”) and US dollars (“US$”)

except for number of shares and per share data)

 

2.  SUMMARY OF SIGNIFICANT ACCOUNTING POLICIES (CONTINUED)

 

Recent accounting pronouncements (continued)

 

In August 2016, the FASB issued ASU 2016-15, Statement of Cash Flows (Topic 230), Classification of Certain Cash Receipts and Cash Payments (“ASU 2016-15”). ASU 2016-15 reduces the existing diversity in practice in financial reporting across all industries by clarifying certain existing principles in ASC 230, Statement of Cash Flows, (“ASC 230”) including providing additional guidance on how and what an entity should consider in determining the classification of certain cash flows. In addition, in November 2016, the FASB issued ASU 2016-18, Statement of Cash Flows (Topic 230), Restricted Cash (“ASU 2016-18”). ASU 2016-18 clarifies certain existing principles in ASC 230, including providing additional guidance related to transfers between cash and restricted cash and how entities present, in their statement of cash flows, the cash receipts and cash payments that directly affect the restricted cash accounts. These ASUs will be effective for the Group’s fiscal year beginning January 1, 2018 and subsequent interim periods. Early adoption is permitted. The adoption of ASU 2016-15 and ASU 2016-18 will modify the Group’s current disclosures and classifications within the consolidated statement of cash flows but they are not expected to have a material effect on the Group’s consolidated financial statements.

 

In October 2016, the FASB issued ASU 2016-16, Income Taxes (Topic 740): Intra-Entity Transfers of Assets Other Than Inventory. Under the new standard, the selling (transferring) entity is required to recognize a current tax expense or benefit upon transfer of the asset. Similarly, the purchasing (receiving) entity is required to recognize a deferred tax asset or liability, as well as the related deferred tax benefit or expense, upon purchase or receipt of the asset. This pronouncement is effective for reporting periods beginning after December 15, 2017, with early adoption permitted. The Group does not believe this standard will have a material impact on the consolidated financial statements.

 

In January 2017, the FASB issued ASU 2017-01, Business Combinations (Topic 805): Clarifying Definition of a Business (“ASU 2017-01”). ASU 2017-01 clarifies the framework for determining whether an integrated set of assets and activities meets the definition of a business. The revised framework establishes a screen for determining whether an integrated set of assets and activities is a business and narrows the definition of a business, which is expected to result in fewer transactions being accounted for as business combinations. Acquisitions of integrated sets of assets and activities that do not meet the definition of a business are accounted for as asset acquisitions. This update is effective for fiscal years, and for interim periods within those fiscal years, beginning after December 15, 2017, with early adoption permitted for transactions that have not been reported in previously issued (or available to be issued) financial statements. The Group does not believe this standard will have a material impact on the consolidated financial statements.

 

In January 2017, the FASB issued ASU 2017-04, Simplifying the Test for Goodwill Impairment (“ASU 2017-04”), which simplifies the accounting for goodwill impairment by eliminating Step two from the goodwill impairment test. If the carrying amount of a reporting unit exceeds its fair value, an impairment loss shall be recognized in an amount equal to that excess, versus determining an implied fair value in Step two to measure the impairment loss. The guidance is effective for annual and interim impairment tests performed in periods beginning after December 15, 2019. Early adoption is permitted for all entities for annual and interim goodwill impairment testing dates on or after January 1, 2017. The guidance should be applied on a prospective basis. The Group does not believe this standard will have a material impact on the consolidated financial statements.

 

F-35



Table of Contents

 

BEST INC.

 

NOTES TO THE CONSOLIDATED FINANCIAL STATEMENTS

FOR THE YEARS ENDED DECEMBER 31, 2015, 2016 AND 2017 (CONTINUED)

(Amounts in thousands of Renminbi (“RMB”) and US dollars (“US$”)

except for number of shares and per share data)

 

2.  SUMMARY OF SIGNIFICANT ACCOUNTING POLICIES (CONTINUED)

 

Recent accounting pronouncements (continued)

 

In February 2017, the FASB issued ASU 2017-05, Other Income-Gains and Losses from the Derecognition of Nonfinancial Assets (“ASU 2017-05”). ASU 2017-05 defines an in-substance nonfinancial asset and clarifies guidance related to partial sales of nonfinancial assets. This standard is effective for fiscal years, and for interim periods within those fiscal years, beginning after December 15, 2017, with early adoption permitted. The Group does not believe this standard will have a material impact on the consolidated financial statements.

 

In May 2017, the FASB issued ASU 2017-09, Compensation—Stock Compensation (Topic 718): Scope of Modification Accounting that provides clarification on accounting for modifications in share-based payment awards. This guidance is effective for annual periods, including interim periods within those annual periods, beginning after December 15, 2017. Early adoption is permitted. The adoption of this guidance is not expected to have an impact on the Group’s consolidated financial statements or related disclosures unless there are modifications to the Group’s share-based payment awards.

 

3.  CONCENTRATION OF RISKS

 

Concentration of credit risk

 

Assets that potentially subject the Group to significant concentration of credit risk primarily consist of cash and cash equivalents, restricted cash, accounts receivable and financing lease receivables. As of December 31, 2016 and 2017, RMB728,573 and RMB2,964,731 (US$455,671), respectively, of the Group’s cash and cash equivalents and restricted cash were primarily deposited in financial institutions located in the PRC, which management believes are of high credit quality.

 

Accounts receivable are typically unsecured and derived from revenue earned from customers mainly in the PRC, which are exposed to credit risk. The risk is mitigated by credit evaluations the Group performs on its customers and its ongoing monitoring process of outstanding balances. The Group maintains reserves for estimated credit losses, which have generally been within its expectations.

 

The Group is exposed to default risk on its financing lease receivables amounting to RMB110,843 and RMB 942,946 (US$ 144,929) as of December 31, 2016 and 2017. The Group regularly reviews the creditworthiness and financing lease receivables are fully collateralized by assets the Group can repossess in the event of default. The Group assesses the allowance for credit losses related to financing lease receivables on a quarterly basis, either on an individual or collective basis. As of December 31, 2017, no allowance for credit losses was recorded.

 

The Group is able to take as collateral certain operating assets which it is able to monitor and repossess for rapid utilization and/or monetization in the event of a default. In addition, as most of the parties to which the Group provides financial services are the Group’s ecosystem participants, the Group has substantial knowledge about their business and operations and can monitor their financial position and their usage of collateralized assets.

 

F-36



Table of Contents

 

BEST INC.

 

NOTES TO THE CONSOLIDATED FINANCIAL STATEMENTS

FOR THE YEARS ENDED DECEMBER 31, 2015, 2016 AND 2017 (CONTINUED)

(Amounts in thousands of Renminbi (“RMB”) and US dollars (“US$”)

except for number of shares and per share data)

 

3.  CONCENTRATION OF RISKS (CONTINUED)

 

Interest rate risk

 

The Group is exposed to interest rate risk related to some of its outstanding short-term bank loans (Note 12). The interest rate of these outstanding short-term bank loans were mainly based on the one year People’s Bank of China benchmark interest rate and a pre-determined margin. A hypothetical 1% increase or decrease in annual interest rates would increase or decrease interest expense by approximately RMB700 (US$108) per year based on the Group’s short-term bank loan balance at December 31, 2017.

 

Business, customer, political, social and economic risks

 

The Group participates in a dynamic logistics and supply chain management industry and believes that changes in any of the following areas could have a material adverse effect on the Group’s future financial position, results of operations or cash flows: changes in the overall demand for services; competitive pressures due to new entrants; advances and new trends in new technologies and industry standards; changes in certain strategic relationships or customer relationships; regulatory considerations; and risks associated with the Group’s ability to attract and retain employees necessary to support its growth. The Group’s operations could be also adversely affected by significant political, economic and social uncertainties in the PRC.

 

Domestic mail delivery service-related businesses are subject to significant restrictions under current PRC laws and regulations. Specifically, foreign investors are not allowed to own more than a 50% equity interest in any mail delivery service business. Currently, the Group conducts its operations in China through contractual arrangements entered between the Company, its PRC subsidiaries and VIE. The relevant regulatory authorities may find the current contractual arrangements and businesses to be in violation of any existing or future PRC laws or regulations. If so, the relevant regulatory authorities would have broad discretion in dealing with such violations. In addition, if the current ownership structure of the Company and its contractual arrangements with the VIE are found to be in violation of any existing or future PRC laws and regulations, the Company may be required to restructure its ownership structure and operations in the PRC to comply with the changing and new PRC laws and regulations. The Company may not be able to operate or control the VIE, which may result in deconsolidation of the VIE.

 

No single customer or supplier accounted for more than 10% of revenues or cost of revenues for the years ended December 31, 2015, 2016 and 2017.

 

Currency convertibility risk

 

The Group primarily transacts all of its business in RMB, which is not freely convertible into foreign currencies. On January 1, 1994, the PRC government abolished the dual rate system and introduced a single rate of exchange as quoted daily by the People’s Bank of China (the “PBOC”). However, the unification of the exchange rates does not imply that the RMB may be readily convertible into United States dollars or other foreign currencies. All foreign exchange transactions continue to take place either through the PBOC or other banks authorized to buy and sell foreign currencies at the exchange rates quoted by the PBOC. Approval of foreign currency payments by the PBOC or other institutions requires submitting a payment application form together with suppliers’ invoices, shipping documents and signed contracts.

 

F-37



Table of Contents

 

BEST INC.

 

NOTES TO THE CONSOLIDATED FINANCIAL STATEMENTS

FOR THE YEARS ENDED DECEMBER 31, 2015, 2016 AND 2017 (CONTINUED)

(Amounts in thousands of Renminbi (“RMB”) and US dollars (“US$”)

except for number of shares and per share data)

 

3.  CONCENTRATION OF RISKS (CONTINUED)

 

Foreign currency exchange rate risk

 

From July 21, 2005, the RMB is permitted to fluctuate within a narrow and managed band against a basket of certain foreign currencies. For RMB against U.S. dollar, there was depreciation of approximately 5.8% and 6.4% in the year ended December 31, 2015 and 2016, respectively and appreciation 5.8% in the year end December 31, 2017. It is difficult to predict how market forces or PRC or U.S. government policy may impact the exchange rate between the RMB and the U.S. dollar in the future.

 

To the extent that the Company needs to convert U.S. dollar into RMB for capital expenditures and working capital and other business purposes, appreciation of RMB against U.S. dollar would have an adverse effect on the RMB amount the Company would receive from the conversion. Conversely, if the Company decides to convert RMB into U.S. dollar for the purpose of making payments for dividends on ordinary shares, strategic acquisitions or investments or other business purposes, appreciation of U.S. dollar against RMB would have a negative effect on the U.S. dollar amount available to the Company. In addition, a significant depreciation of the RMB against the U.S. dollar may significantly reduce the U.S. dollar equivalent of the Company’s earnings or losses.

 

4.  BUSINESS COMBINATIONS

 

Acquisition of franchisee service stations

 

In order to consolidate and optimize the Group’s delivery capacity in certain geographic areas in the PRC, the Group acquired 6 franchisee service stations in 2016. There were no acquisitions in 2017. The Group accounted for these acquisitions as business combinations. Total consideration for the 2016 acquisitions amounted to RMB7,639, none of which were attributable to any pre-existing relationships with the acquired franchisee service stations. The fair value of the assets acquired were insignificant. Therefore, the total consideration was allocated to goodwill, which represents the expected synergies from consolidating the franchisee service stations into the Group’s delivery network. Goodwill associated with these acquisitions are not tax deductible.

 

Cash consideration of RMB11,368 was not paid as of December 31, 2016, and has been recorded in accrued expenses and other liabilities (Note 13). The amounts disclosed in the accompanying consolidated statements of cash flows include balances related to acquisitions that occurred in prior periods. The actual results of operations after the acquisition date and pro-forma results of operations for these acquisitions have not been presented because the effects of those acquisitions were insignificant.

 

F-38



Table of Contents

 

BEST INC.

 

NOTES TO THE CONSOLIDATED FINANCIAL STATEMENTS

FOR THE YEARS ENDED DECEMBER 31, 2015, 2016 AND 2017 (CONTINUED)

(Amounts in thousands of Renminbi (“RMB”) and US dollars (“US$”)

except for number of shares and per share data)

 

4.  BUSINESS COMBINATIONS (CONTINUED)

 

Acquisition of Wowo

 

On May 4, 2017, the Group acquired a 62.5% and 79.17% equity interest in Wowo and Chengdu Yidanshi Food Co. Ltd (“YDS”), respectively. The acquisitions were accounted for as a single business combination as they are considered linked transactions given the acquisition agreements were entered into at or around the same time with the same counterparties. Wowo operates convenience stores that are supported by certain services provided by YDS, which is not considered a principal part of the business. The Group acquired Wowo in order to accumulate first-hand experience and know-how in convenience store operation for a total cash consideration RMB208,377(US$32,027).

 

Goodwill recognized represents the expected synergies from integrating the Wowo and YDS operations with the existing Store+ services and is not tax deductible. The purchase price allocation for the acquisitions was based on a valuation determined by the Group with the assistance of an independent third party valuation firm. The following table summarizes the fair values of the assets acquired and liabilities assumed at the date of acquisition.

 

 

 

RMB

 

USD

 

Consideration:

 

 

 

 

 

Cash

 

208,377

 

32,027

 

Less:

 

 

 

 

 

Cash

 

2,737

 

421

 

Inventories

 

53,003

 

8,146

 

Other current assets

 

162,220

 

24,933

 

Brand name

 

116,600

 

17,921

 

Other non-current assets

 

28,419

 

4,368

 

Short-term bank loans

 

(3,500

)

(538

)

Other current liabilities

 

(152,882

)

(23,498

)

Other non-current liabilities

 

(57,509

)

(8,839

)

Deferred tax liabilities

 

(30,264

)

(4,651

)

Non controlling interests

 

(91,623

)

(14,082

)

Goodwill

 

181,176

 

27,846

 

 

The non-controlling interests on acquisition date was measured by applying the equity percentage held by minority shareholders and a discount for lack of control premium to the fair value of the acquired business of Wowo and YDS, which was determined using an income approach. The significant inputs were revenue growth rates, gross margin rates, gross margin ratios, weighted-average cost of capital, and terminal growth rates. Identifiable intangible assets acquired include Wowo’s brand name, which was valued using a relief from royalty approach and has an estimated remaining useful life of approximately 20 years.

 

On August 14, 2017, the Group acquired the remaining non-controlling interest of Wowo resulting in the Group becoming the sole shareholder of Wowo for a total cash consideration of RMB90,778 (US$13,952), which represented the carrying amount of the non-controlling interest on the acquisition date. The acquisition of the non-controlling interest by the Group was accounted for as an equity transaction. The non-controlling interests balance as at December 31, 2017 of RMB678 (US$104) is attributable to the the minority shareholders of YDS.

 

F-39



Table of Contents

 

BEST INC.

 

NOTES TO THE CONSOLIDATED FINANCIAL STATEMENTS

FOR THE YEARS ENDED DECEMBER 31, 2015, 2016 AND 2017 (CONTINUED)

(Amounts in thousands of Renminbi (“RMB”) and US dollars (“US$”)

except for number of shares and per share data)

 

4.  BUSINESS COMBINATIONS (CONTINUED)

 

Acquisition of Wowo (continued)

 

The information of pro forma revenue and net loss for the year ended December 31, 2016 is not available and the cost to develop it would be excessive. The unaudited pro forma information for the year ended December 31, 2017 set forth below gives effect to the acquisition as if it had occurred at the beginning of the period. The pro forma results have been calculated after applying the Company’s accounting policies and including adjustments primarily related to the amortization of acquired intangible assets, and income tax effects, as applicable. The pro forma information does not include any impact of transaction synergies and is presented for informational purposes only and is not necessarily indicative of the results of operations that actually would have been occurred had the acquisition been consummated as of that time or that may result in the future:

 

 

 

Year ended December 31, 2017

 

 

 

Pro forma
(unaudited)

 

As
reported

 

As
reported

 

 

 

RMB

 

RMB

 

US$

 

Revenue

 

20,167,825

 

19,989,562

 

3,072,339

 

Net loss

 

(1,228,161

)

(1,228,060

)

(188,749

)

 

Acquisition of Total Reliance LLC (“TR”)

 

On October 12, 2017, the Group acquired a 100% equity interest in TR in order to expand its cross-border logistic coordination services operation for a total cash consideration of RMB32,669 (US$5,021). The acquisition was accounted for as a business combination. Goodwill recognized represents the expected synergies from integrating the TR operations with its existing global logistic coordination services operation and is not tax deductible. The purchase price allocation for the acquisition is based on a valuation determined by the Group.

 

Identifiable intangible assets acquired include TR’s customer relationships of RMB10,402 (US$1,599) and the goodwill associated with the acquisition of RMB20,205 (US$3,105) (Note 11), which is not tax deductible. The selling shareholders of TR are also entitled to contingent payments of up to US$5,000 if: (i) certain financial performance targets are met in fiscal years 2018 and 2019; and (ii) the original TR founders remain employees of the Group for the same periods.  Nil compensation expense was recognized for the year ended December 31, 2017.

 

The actual results of operation after the acquisition date and pro-forma results of operations for this acquisition have not been presented because the effects of this acquisition were insignificant.

 

F-40



Table of Contents

 

BEST INC.

 

NOTES TO THE CONSOLIDATED FINANCIAL STATEMENTS

FOR THE YEARS ENDED DECEMBER 31, 2015, 2016 AND 2017 (CONTINUED)

(Amounts in thousands of Renminbi (“RMB”) and US dollars (“US$”)

except for number of shares and per share data)

 

5.  ACCOUNTS AND NOTES RECEIVABLE, NET

 

Accounts and notes receivable, net, consists of the following:

 

 

 

As at December 31

 

 

 

2016

 

2017

 

2017

 

 

 

RMB

 

RMB

 

US$

 

Accounts receivable

 

437,016

 

737,946

 

113,420

 

Notes receivable

 

2,346

 

2,100

 

323

 

Allowance for doubtful accounts

 

(6,708

)

(5,794

)

(891

)

Accounts and notes receivable, net

 

432,654

 

734,252

 

112,852

 

 

The movements in the allowance for doubtful accounts were as follows:

 

 

 

As at December 31

 

 

 

2015

 

2016

 

2017

 

2017

 

 

 

RMB

 

RMB

 

RMB

 

US$

 

Balance at beginning of the year

 

(11,555

)

(7,956

)

(6,708

)

(1,031

)

Additions

 

(16,782

)

(14,851

)

(18,958

)

(2,914

)

Write-offs

 

20,381

 

16,099

 

19,872

 

3,054

 

Balance at end of the year

 

(7,956

)

(6,708

)

(5,794

)

(891

)

 

6.  PREPAYMENTS AND OTHER CURRENT ASSETS

 

As of December 31, 2016 and 2017, VAT prepayments amounting to RMB282,109 and RMB522,129 (USD80,250), respectively, are included in prepayments and other current assets.

 

F-41



Table of Contents

 

BEST INC.

 

NOTES TO THE CONSOLIDATED FINANCIAL STATEMENTS

FOR THE YEARS ENDED DECEMBER 31, 2015, 2016 AND 2017 (CONTINUED)

(Amounts in thousands of Renminbi (“RMB”) and US dollars (“US$”)

except for number of shares and per share data)

 

7.  PROPERTY AND EQUIPMENT, NET

 

 

 

As at December 31

 

 

 

2016

 

2017

 

2017

 

 

 

RMB

 

RMB

 

US$

 

Machinery and electronic equipment

 

958,951

 

1,343,230

 

206,451

 

Leasehold improvements

 

397,119

 

542,862

 

83,436

 

Motor vehicles

 

14,484

 

8,256

 

1,269

 

Construction in progress

 

63,351

 

223,535

 

34,357

 

 

 

1,433,905

 

2,117,883

 

325,513

 

Less: accumulated depreciation

 

(486,400

)

(810,413

)

(124,559

)

 

 

947,505

 

1,307,470

 

200,954

 

 

The Group acquired certain machinery and electronic equipment for its own operations by entering into capital leases. The gross amount and the accumulated depreciation of these machinery and electronic equipment were RMB48,910 and RMB25,560, respectively, as of December 31, 2016 and RMB 29,167 (US$4,483) and RMB12,930 (US$1,987), respectively, as of December 31, 2017. Future minimum lease payments of RMB9,055 (US$1,392) are payable in the amounts of RMB7,227 (US$1,111), RMB1,828 (US$281), RMBnil (US$nil), RMBnil (US$nil) and RMBnil (US$nil) in 2018, 2019, 2020, 2021 and 2022, respectively.

 

Depreciation expense of the property and equipment, including assets under capital leases, was RMB145,694, RMB243,190 and RMB347,567 (US$53,420) for the years ended 2015, 2016 and 2017, respectively.

 

8.  INTANGIBLE ASSETS, NET

 

 

 

As at December 31

 

 

 

2016

 

2017

 

2017

 

 

 

RMB

 

RMB

 

US$

 

Customer relationships

 

8,300

 

18,702

 

2,874

 

Brand name

 

 

116,600

 

17,921

 

Software

 

20,611

 

50,222

 

7,719

 

Domain name

 

1,329

 

1,329

 

204

 

Others

 

400

 

6,130

 

942

 

Less: accumulated amortization

 

(8,871

)

(26,174

)

(4,022

)

Impairment losses

 

(8,253

)

(8,253

)

(1,268

)

 

 

13,516

 

158,556

 

24,370

 

 

Amortization expense of intangible assets was RMB1,589, RMB3,121 and RMB16,342 (US$2,512) for the years ended December 31, 2015, 2016 and 2017, respectively. Estimated amortization expense relating to the existing intangible assets with finite lives for each of the next five years is as follows:

 

 

 

RMB

 

2018

 

26,123

 

2019

 

22,546

 

2020

 

13,285

 

2021

 

6,495

 

2022

 

6,232

 

 

 

74,681

 

 

F-42



Table of Contents

 

BEST INC.

 

NOTES TO THE CONSOLIDATED FINANCIAL STATEMENTS

FOR THE YEARS ENDED DECEMBER 31, 2015, 2016 AND 2017 (CONTINUED)

(Amounts in thousands of Renminbi (“RMB”) and US dollars (“US$”)

except for number of shares and per share data)

 

8.  INTANGIBLE ASSETS, NET (CONTINUED)

 

There was a full impairment of the customer relationships and other intangible assets acquired amounting to RMB8,253 recognized in general and administrative expense during the year ended December 31, 2015. No impairment losses were recognized for the years ended December 31, 2016 and 2017, respectively.

 

9.  LEASE RENTAL RECEIVABLES

 

 

 

As at December 31

 

 

 

2016

 

2017

 

2017

 

 

 

RMB

 

RMB

 

US$

 

Current assets:

 

 

 

 

 

 

 

Direct financing leases

 

21,334

 

189,739

 

29,162

 

Sales-type leases

 

1,958

 

3,964

 

610

 

 

 

23,292

 

193,703

 

29,772

 

Non-current assets:

 

 

 

 

 

 

 

Direct financing leases

 

87,551

 

746,806

 

114,782

 

Sales-type leases

 

 

2,437

 

375

 

 

 

87,551

 

749,243

 

115,157

 

 

 

110,843

 

942,946

 

144,929

 

 

The net investment in financing leases consisted of:

 

 

 

As at December 31

 

 

 

2016

 

2017

 

2017

 

 

 

RMB

 

RMB

 

US$

 

Total minimum lease payments receivable

 

129,005

 

1,096,260

 

168,493

 

Less: Executory costs

 

 

 

 

Minimum lease payments receivable

 

129,005

 

1,096,260

 

168,493

 

Less: Allowance for uncollectibles

 

 

 

 

Net minimum lease payments receivable

 

129,005

 

1,096,260

 

168,493

 

Unguaranteed residuals

 

 

 

 

Less: Unearned income

 

(18,162

)

(153,314

)

(23,564

)

Net investment in financing leases

 

110,843

 

942,946

 

144,929

 

Current portion

 

23,292

 

193,703

 

29,772

 

Non-current portion

 

87,551

 

749,243

 

115,157

 

 

As of December 31, 2016 and 2017, all lease receivables were within their payment terms and there were no impaired receivables. Accordingly, risk of default with respect to these receivables is remote.

 

F-43



Table of Contents

 

BEST INC.

 

NOTES TO THE CONSOLIDATED FINANCIAL STATEMENTS

FOR THE YEARS ENDED DECEMBER 31, 2015, 2016 AND 2017 (CONTINUED)

(Amounts in thousands of Renminbi (“RMB”) and US dollars (“US$”)

except for number of shares and per share data)

 

9.  LEASE RENTAL RECEIVABLES (CONTINUED)

 

Future minimum lease payments to be received for each of the five succeeding fiscal years as of the December 31, 2017 were as follows:

 

 

 

RMB

 

2018

 

258,610

 

2019

 

253,862

 

2020

 

232,148

 

2021

 

200,918

 

2022

 

105,984

 

Thereafter

 

44,738

 

 

 

1,096,260

 

 

10.  LONG-TERM INVESTMENTS

 

Cost method investments

 

As of December 31, 2016 and 2017, the carrying values of the Group’s cost method investments were RMB23,750 and RMB30,000 (US$4,611), respectively. Investments were accounted for under the cost method if the Group had no significant influence over the investee or if the underlying shares the Group invested in were not considered in-substance ordinary shares and had no readily determinable fair value. There were no impairment indicators for the cost method investments and no impairment losses were recognized for the years ended December 31, 2015, 2016 and 2017, respectively.

 

Equity method investment

 

On May 26, 2015, the Group completed the investment in Hangzhou Dezhi Logistic Co., Ltd, (“Dezhi”) through the subscription of newly issued ordinary shares representing 30% equity interest in Dezhi. Total consideration for the investment in Dezhi was RMB300 in cash. The Group accounts for the investment in Dezhi as an equity method investment in accordance with ASC 323 due to its significant influence over the entity. On January 22, 2017, the Group completed the investment in Hangzhou Jinye Technology Co., Ltd, (“Jinye”) through the subscription of newly issued ordinary shares representing 13.73% equity interest in Jinye. Total consideration for the investment in Jinye was RMB7,652 in cash. The Group accounts for the investment in Jinye as an equity method investment in accordance with ASC 323 due to its significant influence over the entity, as the Group has one board seat out of five in Jinye.

 

The carrying amount of the investment in Dezhi was RMB331 as of December 31, 2016. The carrying amount of the investments in Dezhi and Jinye was RMB409 (US$63) and RMB6,758 (US$1,038), respectively, as of December 31, 2017. There were no impairment indicators for the equity method investments and no impairment losses were recognized for the years ended December 31, 2015, 2016 and 2017, respectively. Selected financial information of the equity method investees have not been presented as the effects were not material.

 

F-44



Table of Contents

 

BEST INC.

 

NOTES TO THE CONSOLIDATED FINANCIAL STATEMENTS

FOR THE YEARS ENDED DECEMBER 31, 2015, 2016 AND 2017 (CONTINUED)

(Amounts in thousands of Renminbi (“RMB”) and US dollars (“US$”)

except for number of shares and per share data)

 

11.  GOODWILL

 

 

 

 

 

Reporting units/operating segment

 

 

 

Express
delivery

 

Freight
delivery

 

Store+

 

Others

 

Total

 

Balance as of January 1, 2016

 

233,984

 

5,580

 

 

 

239,564

 

Goodwill acquired

 

7,639

 

 

 

 

7,639

 

Balance as of December 31, 2016

 

241,623

 

5,580

 

 

 

247,203

 

Goodwill acquired

 

 

 

181,176

 

20,205

 

201,381

 

Balance as of December 31, 2017

 

241,623

 

5,580

 

181,176

 

20,205

 

448,584

 

Balance as of December 31, 2017 (US$)

 

37,137

 

858

 

27,846

 

3,105

 

68,946

 

 

For the years ended December 31, 2016 and 2017, the Group performed a qualitative assessment for the Express delivery and Freight delivery services reporting units based on the requirements of ASC 350-20. The Group evaluated all relevant factors, weighed all factors in their entirety and concluded that it was not more-likely-than-not that the fair values of the Express delivery and Freight delivery services reporting units were less than their respective carrying amounts. Therefore, further impairment testing on goodwill was unnecessary as of December 31, 2016 and 2017, respectively.

 

For the year ended December 31, 2017, the Group performed a quantitative assessment for the remaining reporting units by estimating the fair value of the reporting units based on an income approach. The fair values of the remaining reporting units exceeded their respective carrying values and therefore, goodwill related to these reporting units was not impaired.

 

There was an  impairment of goodwill amounting to RMB27,925 recognized in general and administrative expense during the year ended December 31, 2015. No impairment losses were recognized for the years ended December 31, 2016 and 2017.

 

12.  SHORT-TERM BANK LOANS

 

 

 

As at December 31

 

 

 

2016

 

2017

 

2017

 

 

 

RMB

 

RMB

 

US$

 

Short-term bank loans guaranteed by subsidiaries within the Group

 

300,000

 

580,000

 

89,144

 

Short-term bank loans guaranteed by a senior executive (Note 20)

 

40,000

 

 

 

Short-term bank loans pledged by deposit

 

118,000

 

636,384

 

97,811

 

 

 

458,000

 

1,216,384

 

186,955

 

 

Short-term bank loans consisted of several bank loans primarily denominated in RMB. The weighted average interest rate for the outstanding borrowings as of December 31, 2016 and 2017, was approximately 3.46% and 4.32%, respectively.

 

F-45



Table of Contents

 

BEST INC.

 

NOTES TO THE CONSOLIDATED FINANCIAL STATEMENTS

FOR THE YEARS ENDED DECEMBER 31, 2015, 2016 AND 2017 (CONTINUED)

(Amounts in thousands of Renminbi (“RMB”) and US dollars (“US$”)

except for number of shares and per share data)

 

13.  ACCRUED EXPENSES AND OTHER LIABILITIES

 

Accrued expenses and other liabilities consist of the following:

 

 

 

As at December 31

 

 

 

2016

 

2017

 

2017

 

 

 

RMB

 

RMB

 

US$

 

Salary and welfare payable

 

658,190

 

1,033,889

 

158,906

 

Accrual for purchase of property and equipment

 

115,286

 

121,735

 

18,710

 

Accrued expenses

 

141,361

 

271,156

 

41,676

 

Payable for business acquisitions (Note 4)

 

11,368

 

26,497

 

4,073

 

Payable for repurchases of preferred shares (Note 20)

 

97,118

 

 

 

Others

 

202,288

 

387,996

 

59,631

 

 

 

1,225,611

 

1,841,273

 

282,996

 

 

Payable for business acquisitions mainly represents the amount to be paid to the original shareholders at the end of the escrow periods or considerations to be paid for other acquisitions based on their respective payment schedules.

 

14.  REDEEMABLE CONVERTIBLE PREFERRED SHARES

 

On June 18, 2008, the Company issued 30,000,000 Series A redeemable convertible preferred shares (“preferred shares”) to Alibaba Investment Limited (“Alibaba”) and Champ City International Limited (“Champ”) at US$0.50 per share for a total cash consideration of US$15,000.

 

On March 31, 2010, the Company issued 20,000,000 Series B preferred shares to CDH Hercules Limited (“CDH”), Pacven Walden Ventures VI, L.P., Pacven Walden Ventures Parallel VI, L.P. and Pacven Walden Ventures Parallel VI-KT, L.P. (collectively known as “Pacven”) at US$0.75 per share for a total cash consideration of US$15,000.

 

On February 1, 2011, the Company issued 20,869,565 Series C preferred shares to Denlux Logistics Invest Inc. (“Denlux”), Hong Kong Jiashi Int’l Group Limited (“Jiashi”), Orchid Development Holdings Limited (“Orchid”), Hina Group Fund, L.P. (“Hina”), Alibaba, Pacven at US$0.96 per share for a total cash consideration of US$20,000.

 

On October 25, 2011, the Company issued 54,896,623 Series D preferred shares to Florence Star Worldwide Limited (“Florence”) and Pacven at US$1.39 per share for a total cash consideration of US$76,500.

 

On January 15, 2014, the Company issued 42,731,874 Series E preferred shares to IDG-Accel China Capital II L.P., IDG-Accel China Capital II Investors L.P. (collectively known as “IDG-Accel”), Broad Street Principal Investments, L.L.C. (“Broad Street”), Alibaba, CDH, Brackenhill Tower Limited (“Brackenhill”) and Hina at US$3.22 per share for a total cash consideration of US$137,500.

 

On January 15, 2015, the Company issued 31,680,441 Series F preferred shares to Alibaba, at US$4.18 per share for a total cash consideration of US$132,521.

 

On February 2, 2016, the Company issued 15,479,382 Series G-1 preferred shares to Shanghai Guangshi Investments Center (Limited Partnership) (“Shanghai Guangshi”) and 37,924,485 Series G-2 preferred shares to Cainiao Smart Logistics Investment Limited (“Cainiao Smart”), CBLC Investment Limited (“CBLC”), Liyue Jinshi Investment L.P. (“Liyue Jinshi”), China Development Bank International Investment Limited (“CDBII”) and Super Premium Investment Limited (“Super Premium”) at US$9.04 per share for a total cash consideration of US$483,000.

 

F-46



Table of Contents

 

BEST INC.

 

NOTES TO THE CONSOLIDATED FINANCIAL STATEMENTS

FOR THE YEARS ENDED DECEMBER 31, 2015, 2016 AND 2017 (CONTINUED)

(Amounts in thousands of Renminbi (“RMB”) and US dollars (“US$”)

except for number of shares and per share data)

 

14.  REDEEMABLE CONVERTIBLE PREFERRED SHARES (CONTINUED)

 

On April 29, 2016, the Company issued an additional 30,627,062 Series G-2 preferred shares to Cainiao Smart, Liyue Jinshi, CBLC, International Finance Corporation (“International Finance”), Sunshui Hopeson Capital Limited (“Sunshui Hopeson”), CCAP Best Logistics Holdings Limited (“CCAP Best”), SBCVC Victory Company Limited (“SBCVC”), NingBo Meishan Bonded Port YuePu Investment Partnership (Limited Partnership) (“YuePu Investment”), Hongkun (KY) International Limited (“Hongkun (KY)”) and China Huarong International Holdings Limited (“China Huarong”) at US$9.04 per share for a total cash consideration of US$277,000. Series G-1 preferred shares and G-2 preferred shares are collectively known as “Series G preferred shares”.

 

There were no new issuances of Preferred Shares subsequent to the Series G-2 Preferred Shares issuance on April 29, 2016.

 

The key terms of the Series A, Series B, Series C, Series D, Series E, Series F, Series G-1 and Series G-2 preferred shares (collectively the ‘‘Preferred Shares’’) are summarized below.

 

Dividends

 

Each holder of the Preferred Shares is entitled to receive pari passu and on a pro rata basis, prior and in preference to ordinary shareholders, non-cumulative dividends at such rate to be determined by the Company’s Board of Directors as and if declared at their sole discretion (the “Preferential Dividends”). The dividend rate of Preferred Shares shall be no less than such rate of any equity securities to which the Preferred Shares rank prior, with respect to dividends and upon any liquidation event, including ordinary shares (collectively referred to as “Junior Securities”).

 

After payment of the Preferential Dividends to the preferred shareholders, each shareholder of the Company shall be entitled to receive dividends payable in cash out of any remaining funds that are legally available therefor, on parity with each other (on an as-converted basis), when, as and if declared at the sole discretion of the Board of Directors.

 

So long as any Preferential Dividends shall have been declared but remain unpaid with respect to any Preferred Share, the Company shall not declare, pay or set apart for payment, any dividend on any Junior Securities or make any payment on account of, or set apart for payment, money for a sinking or other similar fund for, the purchase, redemption or other retirement of, any Junior Securities or any warrants, rights, calls or options exercisable or exchangeable for or convertible into any Junior Securities, or make any distribution in respect thereof, either directly or indirectly, and whether in cash, obligations or shares of the Company or other property.

 

For all periods presented, no dividends were declared by the Company’s Board of Directors on the Preferred Shares.

 

Voting Rights

 

Each preferred shareholder is entitled to the number of votes equal to the number of ordinary shares into which such holder’s preferred shares could be converted. Unless otherwise disclosed elsewhere, preferred shareholders shall vote together with ordinary shareholders, and not as a separate class or series, on all matters put before the shareholders.

 

F-47



Table of Contents

 

BEST INC.

 

NOTES TO THE CONSOLIDATED FINANCIAL STATEMENTS

FOR THE YEARS ENDED DECEMBER 31, 2015, 2016 AND 2017 (CONTINUED)

(Amounts in thousands of Renminbi (“RMB”) and US dollars (“US$”)

except for number of shares and per share data)

 

14.  REDEEMABLE CONVERTIBLE PREFERRED SHARES (CONTINUED)

 

Liquidation Preference

 

In the event of liquidation, dissolution or winding up of the Company or any deemed liquidation event as defined in the preferred shares agreements, the assets of the Company available for distribution shall be made as follows:

 

·                  The holders of Series G preferred shares are entitled to receive an amount equal to the original issuance price plus all declared but unpaid dividends and distributions, in preference to all other classes or series of Preferred Shares and the ordinary shareholders of the Company;

 

·                  After the payment to the holders of Series G preferred shares, the holders of Series F preferred shares are entitled to receive an amount equal to the original issuance price plus all declared but unpaid dividends and distributions, in preference to any distribution to the holders of the Series E, Series D, Series C, Series B and Series A preferred shares and the ordinary shareholders of the Company;

 

·                  After the payment to the holders of Series F preferred shares, the holders of Series E preferred shares are entitled to receive an amount equal to the original issuance price plus all declared but unpaid dividends and distributions, in preference to any distribution to the holders of the Series D, Series C, Series B and Series A preferred shares and the ordinary shareholders of the Company;

 

·                  After the payment to the holders of Series E preferred shares, the holders of Series D preferred shares are entitled to receive an amount equal to the original issuance price plus all declared but unpaid dividends and distributions, in preference to any distribution to the holders of the Series C, Series B and Series A preferred shares and the ordinary shareholders of the Company;

 

·                  After the payment to the holders of Series D preferred shares, the holders of Series C preferred shares are entitled to receive an amount equal to the original issuance price plus all declared but unpaid dividends and distributions, in preference to any distribution to the holders of the Series B and Series A preferred shares and the ordinary shareholders of the Company;

 

·                  After the payment to the holders of Series C preferred shares, the holders of Series B preferred shares are entitled to receive an amount equal to the original issuance price plus all declared but unpaid dividends and distributions, in preference to any distribution to the holders of the Series A preferred shares and the ordinary shareholders of the Company;

 

·                  After the payment to the holders of Series B preferred shares, the holders of Series A preferred shares are entitled to receive an amount equal to the original issuance price plus all declared but unpaid dividends and distributions, in preference to any distribution to the ordinary shareholders of the Company;

 

If, upon any such liquidation, the assets of the Company are insufficient to make payment of the liquidation preference related to any series of preferred shares, the remaining assets and funds of the Company available for distribution shall be distributed ratably amongst the holders of that series of preferred shares in proportion to the full amounts to which they would otherwise be entitled to.

 

After payment has been made to the holders of the Preferred Shares in accordance with the above, the remaining assets of the Company available for distribution to shareholders shall be distributed ratably among the holders of ordinary shares and Preferred Shares based on the number of ordinary shares into which such Preferred Shares are convertible.

 

F-48



Table of Contents

 

BEST INC.

 

NOTES TO THE CONSOLIDATED FINANCIAL STATEMENTS

FOR THE YEARS ENDED DECEMBER 31, 2015, 2016 AND 2017 (CONTINUED)

(Amounts in thousands of Renminbi (“RMB”) and US dollars (“US$”)

except for number of shares and per share data)

 

14.  REDEEMABLE CONVERTIBLE PREFERRED SHARES (CONTINUED)

 

Conversion rights

 

Each holder of the Preferred Shares has the right, at each holder’s sole discretion, to convert at any time and from time to time, all or any portion of the Preferred Shares into ordinary shares. The initial conversion ratio shall be on a one for one basis, subject to certain general anti-dilution adjustments.

 

The Preferred Shares are automatically converted into ordinary shares upon the earlier of (1) closing of a Qualified IPO, based on the applicable then-effective conversion price (a Qualified IPO means an initial public offering on a qualified exchange with (i) gross proceeds to the Company of at least US$300,000 and (ii) a pre-money IPO market valuation of at least US$4,000,000); or (2) election in writing by the holders of at least a majority of the then outstanding Series A preferred shares, the holders of at least a majority of the then outstanding Series B preferred shares, the holders of at least a majority of the then outstanding Series C preferred shares, the holders of at least a majority of the then outstanding Series D preferred shares, the holders of at least sixty-six and two-thirds percent (662/3%) of the then outstanding Series E preferred shares, the holders of at least a majority of the then outstanding Series F preferred shares and the holders of at least sixty-six and two-thirds percent (662/3%) of the then outstanding Series G preferred shares.

 

The initial conversion price and conversion ratio is the stated issuance price of each series of Preferred Shares and on a one-for-one basis, respectively. The above conversion prices are subject to adjustments in the event that the Company issues additional ordinary shares or additional deemed ordinary shares through options or convertible instruments for a consideration per share received by the Company less than the original respective conversion prices, as the case may be, in effect on the date of and immediately prior to such issue. In such event, the respective conversion price is reduced, concurrently with such issue, to a price as adjusted according to an agreed-upon formula. The above conversion prices are also subject to adjustments on a proportional basis upon other dilution events.

 

Registration Rights

 

The Preferred Shares also contain registration rights which: (1) allow the holders of the Preferred Shares to demand the Company to file a registration statement covering the offer and sale of the ordinary shares issuable or issued upon conversion of the Preferred Shares at any time or from time to time after the earlier of (i) the third anniversary after the closing of the Series G-2 preferred shares and (ii) six months following the closing of an initial public offering, including a Qualified IPO; (2) require the Company to offer preferred shareholders an opportunity to include in a registration if the Company proposes to file a registration statement for a public offering of other securities; and (3) allow the preferred shareholders to request the Company to file a registration on Form F-3 when the Company is eligible to use Form F-3. The Company is required to use its best efforts to effect the registration if requested by the preferred shareholders, but there is no requirement to pay any monetary or non-monetary consideration for non-performance. The registration rights shall terminate on the earlier of (i) the date that is five years from the date of closing of a Qualified IPO and (ii) with respect to any security holder, the date on which such holder may sell all of its registrable securities under Rule 144 of the Securities Act in any 90 day period.

 

F-49



Table of Contents

 

BEST INC.

 

NOTES TO THE CONSOLIDATED FINANCIAL STATEMENTS

FOR THE YEARS ENDED DECEMBER 31, 2015, 2016 AND 2017 (CONTINUED)

(Amounts in thousands of Renminbi (“RMB”) and US dollars (“US$”)

except for number of shares and per share data)

 

14.  REDEEMABLE CONVERTIBLE PREFERRED SHARES (CONTINUED)

 

Redemption

 

The Preferred Shares are subject to redemption if:

 

·                  a Qualified IPO has not occurred on or prior to December 31, 2018;

 

·                  (a) the VIE contractual agreements are determined or otherwise deemed to be void, illegal, unenforceable or unlawful by the relevant governmental authority under applicable PRC laws, (b) the shareholders approve a transfer of the business, assets and permits of or equity interests in BEST Network, in whole or in part, to BEST China, BEST Technology, BEST Hangzhou, BEST Dongguan, BEST Ningbo, BEST Finance and/or BEST Supply Chain or an alternative restructuring of the Group and (c) the Group fails to complete, within six months after such shareholder approval, such transfer or such alternative restructuring due to any reason; or any nominee shareholder of BEST Network commits any material breach of any VIE agreement and such material breach is not cured or such shareholder is not replaced within 60 days after notice by an Investor to the Company; then (i) the holders of at least a majority of the then outstanding Series G-2 preferred shares may require the Company to redeem all or a portion of the then outstanding Series G-2 preferred shares, (ii) the holders of at least sixty-six and two-thirds percent (662/3%) of the then outstanding Series G-1 preferred shares may require the Company to redeem all or a portion of the then outstanding Series G-1 preferred shares, (iii) the holders of at least a majority of the then outstanding Series F preferred shares may require the Company to redeem all or a portion of the then outstanding Series F preferred shares; (iv) the holders of at least sixty-six and two-thirds percent (662/3%) of the then outstanding Series E preferred shares may require the Company to redeem all or a portion of the then outstanding Series E preferred shares; (v) the holders of at least a majority of the then outstanding Series D preferred shares may require the Company to redeem all of the then outstanding Series D preferred shares; (vi) the holders of at least a majority of the then outstanding Series C preferred shares may require the Company to redeem all of the then outstanding Series C preferred shares; (vii) the holders of at least a majority of the then outstanding Series B preferred shares may require the Company to redeem all of the then outstanding Series B preferred shares; and (viii) the holders of at least a majority of the then outstanding Series A preferred shares may require the Company to redeem all of the then outstanding Series A preferred shares.

 

Upon issuance of the Series G-1 preferred shares, the redemption price was as follows:

 

(i)                                     in the event that a redemption is triggered by a failure of the Company to undertake a Qualified IPO on or prior to December 31, 2018, (A) the redemption price for each preferred share (other than any Series G preferred shares) shall be equal to (i) US$1,900,000 divided by (ii) the total number of the then issued and outstanding equity securities (assuming the exercise, conversion and exchange of any ordinary shares equivalents then outstanding); (B) the redemption price for each Series G preferred share shall be equal to: original issuance price × (112%)N,

 

(ii)                                  in the event that a redemption is triggered by an event other than a failure of the Company to undertake a Qualified IPO on or prior to December 31, 2018, the redemption price shall be equal to: original issuance price × (108%)N.

 

N = a fraction, the numerator of which is the number of calendar days between the date the holder of the preferred share acquired the preferred share and the date on which such preferred share is redeemed and the denominator of which is 365.

 

F-50



Table of Contents

 

BEST INC.

 

NOTES TO THE CONSOLIDATED FINANCIAL STATEMENTS

FOR THE YEARS ENDED DECEMBER 31, 2015, 2016 AND 2017 (CONTINUED)

(Amounts in thousands of Renminbi (“RMB”) and US dollars (“US$”)

except for number of shares and per share data)

 

14.  REDEEMABLE CONVERTIBLE PREFERRED SHARES (CONTINUED)

 

Modification of preferred shares

 

Upon the issuance of the Series F and G preferred shares, the redemption term of any previously issued series of preferred shares were modified to be the same as the redemption term  of the most recent series of preferred shares issued.

 

The Company assessed whether there was a change in fair value of each modified series of preferred shares exceeding 10% immediately after the change in terms compared to the fair value of the preferred shares immediately before the amendment at each modification date. A change in fair value exceeding 10% would result in extinguishment accounting, while a change in fair value not exceeding 10% would be considered non-substantive and subject to modification accounting. With the assistance of an independent third party valuation firm, the Company determined that the change in fair value did not exceed 10% for each series of preferred shares (except for the Series D preferred shares that were re-designated as Series F preferred shares discussed under ‘‘Extinguishment of Series D preferred shares’’), and the change in redemption value was therefore accounted for as a modification. The Company accounts for modifications that result in an increase to the fair value of the modified preferred shares as a deemed dividend reconciling net loss to net loss attributable to ordinary shareholders as there is a transfer of value from the ordinary shareholders to the preferred shareholders. Deemed dividends related to modification accounting of RMBnil and RMB423,979 were recorded as an increase to the net loss attributable to ordinary shareholders for the years ended December 31, 2015 and 2016, respectively. Modifications that result in a decrease in the fair value of the modified preferred shares were not recognized.

 

Extinguishment of Series D preferred shares

 

On the issuance date of the Series F preferred shares, a Series D preferred shareholder transferred 25,000,000 Series D preferred shares to another preferred shareholder and the Series D preferred shares were re-designated as Series F preferred shares. With the assistance of an independent third party valuation firm, the Company determined that the change in fair value of the Series D preferred shares immediately before the amendment and the fair value of the Series F preferred shares upon issuance exceeded 10% and was therefore accounted for as an extinguishment. As a result, the Company derecognized the original Series D preferred shares and recognized the new Series F preferred shares issuance based on its fair value as of January 15, 2015. The difference between the fair value of the new Series F preferred shares issuance and the carrying value of the original Series D preferred shares was RMB296,677. This amount were recognized as a deemed dividend to a preferred shareholder and was recorded as an increase to the net loss attributable to ordinary shareholders in the statement of comprehensive loss. The Company reassessed that there was no BCF upon the extinguishment because the fair value per ordinary share at the extinguishment date was less than the most favorable conversion price.

 

Repurchase of preferred shares

 

On April 5, 2016, the Company repurchased 9,656,465 of Series B, 3,192,627 of Series C, 1,076,404 of Series D and 1,553,886 of Series E preferred shares from two Series B preferred shareholders, two Series C preferred shareholders, one Series D preferred shareholder and one Series E preferred shareholder, respectively, for total cash consideration of US$140,000 paid to the preferred shareholders, for which U$126,000 was paid to the preferred shareholders and the remaining US$14,000 (equivalent to RMB 97,118) was reported as “Restricted cash” and “Accrued expenses and other liabilities” in the consolidated balance sheet as of December 31, 2016 and was paid to the preferred shareholders during the year ended December 31, 2017 (Note 13). The Company accounted for the difference between the fair value of the consideration paid for the repurchase preferred shares and the carrying value of the preferred shares as a deemed dividend to the preferred shareholders, and was recorded as an increase to the net loss attributable to ordinary shareholders in the statement of comprehensive loss.

 

F-51



Table of Contents

 

BEST INC.

 

NOTES TO THE CONSOLIDATED FINANCIAL STATEMENTS

FOR THE YEARS ENDED DECEMBER 31, 2015, 2016 AND 2017 (CONTINUED)

(Amounts in thousands of Renminbi (“RMB”) and US dollars (“US$”)

except for number of shares and per share data)

 

14.  REDEEMABLE CONVERTIBLE PREFERRED SHARES (CONTINUED)

 

Accounting for Preferred Shares

 

The Preferred Shares have been classified as mezzanine equity as they may be redeemed at the option of the holders on or after an agreed upon date outside the sole control of the Company. The holders of the Preferred Shares have the ability to convert the instrument into the Company’s ordinary shares. The Company early adopted ASU 2014-16, Derivatives and Hedging (Topic 815): Determining Whether the Host Contract in a Hybrid Financial Instrument Issued in the Form of a Share Is More Akin to Debt or to Equity, for all periods presented. ASU 2014-16 requires the use of the whole instrument approach to determine whether the nature of the host contract in a hybrid instrument is more akin to debt or to equity. The Company evaluated the embedded conversion option in the Preferred Shares to determine if there were any embedded derivatives requiring bifurcation and to determine if there were any beneficial conversion features. The conversion option of the Preferred Shares does not qualify for bifurcation accounting because the conversion option is clearly and closely related to the host instrument and the underlying ordinary shares are not publicly traded nor readily convertible into cash. The contingent redemption options and registration rights of the Preferred Shares did not qualify for bifurcation accounting because the underlying ordinary shares were neither publicly traded nor readily convertible into cash. There were no other embedded derivatives that are required to be bifurcated.

 

Beneficial conversion features (“BCF”) exist when the conversion price of the preferred shares is lower than the fair value of the ordinary shares at the commitment date, which is the issuance date in the Company’s case. When a BCF exists as of the commitment date, its intrinsic value is bifurcated from the carrying value of the Preferred Shares as a contribution to additional paid-in capital. On the commitment dates of both the Series G-1 and Series G-2 preferred shares, the most favorable conversion price used to measure the beneficial conversion feature was US$9.04, respectively. No beneficial conversion feature was recognized for the Series G-1 and Series G-2 preferred shares as the fair value per ordinary share at the commitment date was US$5.14 and US$5.24, respectively, which was less than the most favorable conversion price. The Company determined the fair value of ordinary shares with the assistance of an independent third party valuation firm. The contingent conversion price adjustment is accounted for as a contingent BCF. In accordance with ASC paragraph 470-20-35-1, changes to the conversion terms that would be triggered by future events not controlled by the issuer should be accounted as contingent conversions, and the intrinsic value of such conversion options would not be recognized until and unless a triggering event occurred.

 

The Company chose to recognize changes in the redemption value immediately as they occur and adjusted the carrying value of the Preferred Shares to equal the redemption value at the end of each reporting period. An accretion charge of RMB3,996,288, and RMB3,661,975 for the years ended December 31, 2015 and 2016, respectively.

 

The Preferred Shares were converted to ordinary shares immediately upon the completion of the Company’s IPO on September 20, 2017 (Note 19).

 

F-52



Table of Contents

 

BEST INC.

 

NOTES TO THE CONSOLIDATED FINANCIAL STATEMENTS (Continued)

FOR THE YEARS ENDED DECEMBER 31, 2015, 2016 AND 2017 (CONTINUED)

(Amounts in thousands of Renminbi (“RMB”) and US dollars (“US$”)

except for number of shares and per share data)

 

14.  REDEEMABLE CONVERTIBLE PREFERRED SHARES (CONTINUED)

 

The movement in the carrying value of the Preferred Shares is as follows:

 

Mezzanine equity

 

Series A

 

Series B

 

Series C

 

Series D

 

Series E

 

Series F

 

Series G-1

 

Series G-2

 

Total

 

 

 

RMB

 

RMB

 

RMB

 

RMB

 

RMB

 

RMB

 

RMB

 

RMB

 

RMB

 

Balance as of January 1, 2016

 

1,178,474

 

788,414

 

633,598

 

1,167,967

 

1,641,916

 

2,175,181

 

 

 

7,585,550

 

Issuance of Series G-1 preferred shares

 

 

 

 

 

 

 

917,294

 

 

917,294

 

Less: Series G-1 preferred shares issuance costs

 

 

 

 

 

 

 

(11,640

)

 

(11,640

)

Issuance of Series G-2 preferred shares

 

 

 

 

 

 

 

 

4,043,402

 

4,043,402

 

Less: Series G-2 preferred shares issuance costs

 

 

 

 

 

 

 

 

(47,769

)

(47,769

)

Modification of preferred shares

 

163,982

 

95,644

 

66,583

 

97,770

 

 

 

 

 

423,979

 

Repurchase of Series B, C, D, E preferred shares

 

 

(457,452

)

(150,456

)

(50,611

)

(72,062

)

 

 

 

(730,581

)

Accretion to redemption value of Preferred Shares

 

167,896

 

95,042

 

102,469

 

230,421

 

470,928

 

631,212

 

375,095

 

1,588,912

 

3,661,975

 

Balance as of December 31, 2016

 

1,510,352

 

521,648

 

652,194

 

1,445,547

 

2,040,782

 

2,806,393

 

1,280,749

 

5,584,545

 

15,842,210

 

 

 

 

 

 

 

 

 

 

 

 

 

 

 

 

 

 

 

 

 

Conversion of Preferred Shares to ordinary shares (Note 19)

 

(1,510,352

)

(521,648

)

(652,194

)

(1,445,547

)

(2,040,782

)

(2,806,393

)

(1,280,749

)

(5,584,545

)

(15,842,210

)

Balance as of December 31, 2017

 

 

 

 

 

 

 

 

 

 

Balance as of December 31, 2017 (US$)

 

 

 

 

 

 

 

 

 

 

 

F-53



Table of Contents

 

BEST INC.

 

NOTES TO THE CONSOLIDATED FINANCIAL STATEMENTS

FOR THE YEARS ENDED DECEMBER 31, 2015, 2016 AND 2017 (CONTINUED)

(Amounts in thousands of Renminbi (“RMB”) and US dollars (“US$”)

except for number of shares and per share data)

 

15.  TAXATION

 

Enterprise income tax

 

Cayman Islands

 

Under the current laws of the Cayman Islands, the Company is not subject to tax on income or capital gains. In addition, upon payments of dividends by the Company to its shareholders, no withholding tax is imposed.

 

British Virgin Islands

 

Under the current laws of the British Virgin Islands, BEST BVI is not subject to tax on income or capital gains. In addition, upon payments of dividends by BEST BVI to their shareholders, no withholding tax is imposed.

 

Hong Kong

 

The subsidiary incorporated in Hong Kong is subject to income tax at the rate of 16.5% on the estimated assessable profits arising in Hong Kong. For the years ended December 31, 2015, 2016 and 2017, the Group did not make any provisions for Hong Kong profit tax as there were no assessable profits derived from or earned in Hong Kong for any of the periods presented. Under the Hong Kong tax law, BEST HK is exempted from income tax on its foreign-derived income and there is no withholding taxes in Hong Kong on remittance of dividends.

 

China

 

The current enterprise income tax law (“EIT Law”) applies a uniform 25% EIT rate to both foreign invested enterprises and domestic enterprises.

 

The EIT Law treats enterprises established outside of the PRC with “effective management and control” located in the PRC as PRC resident enterprises for tax purposes. The term “effective management and control” is generally defined as exercising management and control over the business, personnel, accounting, properties, etc. of an enterprise. The Company is located in jurisdictions outside of the PRC, if considered a PRC resident enterprise for tax purposes, would be subject to the PRC enterprise income tax at the rate of 25% on their worldwide income commencing on January 1, 2008. As of December 31, 2017, the Company has not accrued for PRC tax on such basis as the Group’s non-PRC entities had zero assessable profits in the PRC for the period after January 1, 2008. The Group will continue to monitor the tax status with regards to the PRC tax resident enterprise regulation of its non-PRC entities.

 

Pursuant to relevant laws and regulations in the PRC and with approval from tax authorities in charge, one of the Group’s subsidiaries, BEST Technology, qualified as a High and New Technology Enterprise, and is entitled to the preferential tax rate of 15% for three years from 2016 to 2018.

 

F-54



Table of Contents

 

BEST INC.

 

NOTES TO THE CONSOLIDATED FINANCIAL STATEMENTS

FOR THE YEARS ENDED DECEMBER 31, 2015, 2016 AND 2017 (CONTINUED)

(Amounts in thousands of Renminbi (“RMB”) and US dollars (“US$”)

except for number of shares and per share data)

 

15.  TAXATION (CONTINUED)

 

Withholding tax on undistributed dividends

 

The EIT law also imposes a withholding income tax of 10% on dividends distributed by a foreign invested enterprise (“FIE”) to its immediate holding company outside of China, if such immediate holding company is considered as a non-resident enterprise without any establishment or place within China or if the received dividends have no connection with the establishment or place of such immediate holding company within China, unless such immediate holding company’s jurisdiction of incorporation has a tax treaty with China that provides for a different withholding arrangement. According to the arrangement between Mainland China and Hong Kong Special Administrative Region on the Avoidance of Double Taxation and Prevention of Fiscal Evasion in August 2006, dividends paid by an FIE in China to its immediate holding company in Hong Kong will be subject to withholding tax at a rate of no more than 5% (if the foreign investor owns directly at least 25% of the shares of the FIE). The Company did not record any dividend withholding tax, as it has no retained earnings for any of the periods presented. Substantially all of the Company’s loss before income tax and share of net (loss) income of equity investees was derived from the PRC for all periods presented.

 

 

 

For the year ended December 31,

 

 

 

2015

 

2016

 

2017

 

2017

 

 

 

RMB

 

RMB

 

RMB

 

US$

 

PRC

 

(1,058,804

)

(1,353,896

)

(1,229,979

)

(189,045

)

Non-PRC

 

(627

)

(9,057

)

12,591

 

1,936

 

 

 

(1,059,431

)

(1,362,953

)

(1,217,388

)

(187,109

)

 

The current and deferred components of income tax expense appearing in the consolidated statements of comprehensive loss are as follows:

 

 

 

For the year ended December 31,

 

 

 

2015

 

2016

 

2017

 

2017

 

 

 

RMB

 

RMB

 

RMB

 

US$

 

Current income tax

 

 

(570

)

(11,536

)

(1,773

)

Deferred income tax

 

 

 

1,680

 

258

 

 

 

 

(570

)

(9,856

)

(1,515

)

 

F-55



Table of Contents

 

BEST INC.

 

NOTES TO THE CONSOLIDATED FINANCIAL STATEMENTS

FOR THE YEARS ENDED DECEMBER 31, 2015, 2016 AND 2017 (CONTINUED)

(Amounts in thousands of Renminbi (“RMB”) and US dollars (“US$”)

except for number of shares and per share data)

 

15.  TAXATION (CONTINUED)

 

A reconciliation of the differences between the PRC statutory tax rate and the Group’s effective tax rate for enterprise income tax is as follows:

 

 

 

For the year ended December 31,

 

 

 

2015

 

2016

 

2017

 

2017

 

 

 

RMB

 

RMB

 

RMB

 

US$

 

Loss before income taxes and share of net (loss) income of equity investees

 

(1,059,431

)

(1,362,953

)

(1,217,388

)

(187,109

)

Income tax computed at the statutory tax rate of 25%

 

264,858

 

340,738

 

304,346

 

46,779

 

Non-deductible expenses

 

(10,268

)

(19,102

)

(113,139

)

(17,389

)

Effect of different tax rates in different jurisdictions and preferential tax rate

 

(349

)

(69

)

(4,220

)

(649

)

Tax incentive in relation to deduction limits of certain expenses

 

1,175

 

3,139

 

9,441

 

1,451

 

Non-taxable income

 

332

 

3,333

 

13,985

 

2,149

 

Over-accrued EIT for previous years

 

 

 

(154

)

(24

)

Deferred tax

 

 

 

(19,362

)

(2,977

)

Unutilized expired tax loss

 

(7,058

)

(11,099

)

(31,373

)

(4,822

)

Change in valuation allowance

 

(248,690

)

(317,510

)

(169,380

)

(26,033

)

 

 

 

(570

)

(9,856

)

(1,515

)

 

F-56



Table of Contents

 

BEST INC.

 

NOTES TO THE CONSOLIDATED FINANCIAL STATEMENTS

FOR THE YEARS ENDED DECEMBER 31, 2015, 2016 AND 2017 (CONTINUED)

(Amounts in thousands of Renminbi (“RMB”) and US dollars (“US$”)

except for number of shares and per share data)

 

15.  TAXATION (CONTINUED)

 

Deferred tax

 

 

 

As at December 31

 

 

 

2016

 

2017

 

2017

 

 

 

RMB

 

RMB

 

US$

 

Deferred tax assets, non-current

 

 

 

 

 

 

 

Accrued expenses

 

126,852

 

181,914

 

27,960

 

Customer advances and deposits

 

32,199

 

41,367

 

6,358

 

Allowance for doubtful accounts and inventory provision

 

7,839

 

11,298

 

1,736

 

Depreciation and amortization expense

 

47,107

 

39,892

 

6,131

 

Net operating losses carrying forward

 

681,588

 

806,782

 

124,000

 

Total deferred tax assets

 

895,585

 

1,081,253

 

166,185

 

Valuation allowance*

 

(895,585

)

(1,081,253

)

(166,185

)

Total deferred tax assets net of valuation allowance

 

 

 

 

 


*                                         The Group recorded a full valuation allowance against deferred tax assets of those subsidiaries and VIE that are in a cumulative loss as of December 31, 2016 and 2017. In making such determination, the Group evaluates a variety of factors including the Group’s operating history, accumulated deficit, existence of taxable temporary differences and reversal periods.

 

 

 

As at December 31

 

 

 

2016

 

2017

 

2017

 

 

 

RMB

 

RMB

 

US$

 

Deferred tax liabilities

 

 

 

 

 

 

 

Long-lived assets arising from acquisition

 

 

31,688

 

4,870

 

 

As of December 31, 2017, the Company has net operating losses of approximately RMB3,650,326 (US$561,045) primarily from its subsidiaries and VIE in the PRC, which can be carried forward after certain reconciliation per tax regulation to offset future net profit for income tax purposes. The net operating loss carry forwards as of December 31, 2017 will expire in years 2018 to 2022 if not utilized.

 

Unrecognized tax benefits

 

As of December 31, 2016 and 2017, the Company recorded an unrecognized tax benefit of RMB44,353 and RMB106,376 (US$16,350), respectively, of which RMBnil and RMBnil (US$nil), respectively, are presented on a net basis against the deferred tax assets related to tax loss carry forwards on the consolidated balance sheets. This primarily represents the estimated income tax expense the Group would pay should its income tax returns have been prepared in accordance with the current PRC tax laws and regulations. It is possible that the amount of uncertain tax position will change in the next twelve months, however, an estimate of the range of the possible outcomes cannot be made at this time. As of December 31, 2016 and 2017, unrecognized tax benefits of RMB3,446 and RMB463 (US$71), respectively, if ultimately recognized, will impact the effective tax rate. A roll-forward of unrecognized tax benefits is as follows:

 

 

 

As at December 31

 

 

 

2016

 

2017

 

2017

 

 

 

RMB

 

RMB

 

US$

 

Beginning balance

 

27,193

 

44,353

 

6,817

 

Additions based on tax positions related to current year

 

22,977

 

72,332

 

11,117

 

Decreases based on tax positions related to prior years

 

(5,817

)

(10,309

)

(1,584

)

Ending balance

 

44,353

 

106,376

 

16,350

 

 

F-57



Table of Contents

 

BEST INC.

 

NOTES TO THE CONSOLIDATED FINANCIAL STATEMENTS

FOR THE YEARS ENDED DECEMBER 31, 2015, 2016 AND 2017 (CONTINUED)

(Amounts in thousands of Renminbi (“RMB”) and US dollars (“US$”)

except for number of shares and per share data)

 

15.  TAXATION (CONTINUED)

 

Unrecognized tax benefits (Continued)

 

During the years ended December 31, 2015, 2016 and 2017, the Company recorded insignificant late payment interest expense, and nil penalties, respectively, as part of income tax expense.

 

In general, the PRC tax authority has up to five years to conduct examinations of the Company’s tax filings. Accordingly, the PRC subsidiaries’ and VIE’s tax years 2012 through 2016 remain open to examination by the taxing jurisdictions.

 

16.  RESTRICTED NET ASSETS

 

The Company’s ability to pay dividends is primarily dependent on the Company receiving distributions of funds from its subsidiaries. Relevant PRC statutory laws and regulations permit payments of dividends by the Group’s PRC subsidiaries only out of its retained earnings, if any, as determined in accordance with PRC accounting standards and regulations. The results of operations reflected in the financial statements prepared in accordance with U.S. GAAP differ from those reflected in the statutory financial statements of the Company’s PRC subsidiaries.

 

In accordance with the Regulations on Enterprises with Foreign Investment of China and its Articles of Association, the Company’s PRC subsidiaries, being a foreign-invested enterprise established in the PRC, are required to provide certain statutory reserves, namely the general reserve fund, enterprise expansion fund and staff welfare and bonus fund, all of which are appropriated from net profit as reported in its PRC statutory accounts. The Company’s PRC subsidiaries are required to allocate at least 10% of its annual after-tax profit to the general reserve fund until such fund has reached 50% of its registered capital based on the enterprise’s PRC statutory accounts. Appropriations to the enterprise expansion fund and staff welfare and bonus fund are at the discretion of the Board of Directors of the PRC subsidiaries. These reserves can only be used for specific purposes and are not transferable to the Company in the form of loans, advances, or cash dividends.

 

In accordance with the PRC Company Laws, the Company’s PRC subsidiaries and VIE must make appropriations from their annual after-tax profits as reported in their PRC statutory accounts to non-distributable reserve funds, namely statutory surplus fund, statutory public welfare fund and discretionary surplus fund. The VIE is required to allocate at least 10% of their after-tax profits to the statutory surplus fund until such fund has reached 50% of their respective registered capital. Appropriation to discretionary surplus is made at the discretion of the Board of Directors of the VIE. These reserves can only be used for specific purposes and are not transferable to the Company in the form of loans, advances, or cash dividends. No appropriations were made to statutory reserves during all periods presented due to losses in the Company’s PRC subsidiaries and VIE.

 

Under PRC laws and regulations, there are restrictions on the Company’s PRC subsidiaries and VIE with respect to transferring certain of their net assets to the Company either in the form of dividends, loans, or advances. Amounts restricted include paid-in capital of the Company’s PRC subsidiaries and the VIE, totaling approximately RMB3,013,103 (US$463,105) as of December 31, 2017; therefore in accordance with Rules 504 and 4.08(e)(3) of Regulation S-X, the condensed parent company only financial statements as of December 31, 2016 and 2017 and for each of the three years in the period ended December 31, 2017 are disclosed in Note 26.

 

Furthermore, cash transfers from the Company’s PRC subsidiaries to its subsidiaries outside of China are subject to PRC government control of currency conversion. Shortages in the availability of foreign currency may restrict the ability of the PRC subsidiaries and consolidated VIE to remit sufficient foreign currency to pay dividends or other payments to the Company, or otherwise satisfy their foreign currency denominated obligations.

 

F-58



Table of Contents

 

BEST INC.

 

NOTES TO THE CONSOLIDATED FINANCIAL STATEMENTS

FOR THE YEARS ENDED DECEMBER 31, 2015, 2016 AND 2017 (CONTINUED)

(Amounts in thousands of Renminbi (“RMB”) and US dollars (“US$”)

except for number of shares and per share data)

 

17.  LOSS PER SHARE

 

Basic and diluted loss per share for each of the years presented are calculated as follows:

 

 

 

For the year ended December 31,

 

 

 

2015

 

2016

 

2017

 

2017

 

2017

 

2017

 

2017

 

2017

 

 

 

Ordinary
shares

 

Ordinary
shares

 

Class A

 

Class A

 

Class B

 

Class B

 

Class C

 

Class C

 

 

 

RMB

 

RMB

 

RMB

 

US$

 

RMB

 

US$

 

RMB

 

US$

 

Basic loss per share:

 

 

 

 

 

 

 

 

 

 

 

 

 

 

 

 

 

Numerator:

 

 

 

 

 

 

 

 

 

 

 

 

 

 

 

 

 

Net loss attributable to BEST Inc.

 

(1,059,443

)

(1,363,480

)

(612,133

)

(94,082

)

(219,898

)

(33,798

)

(395,862

)

(60,843

)

Accretion to redemption value of redeemable convertible preferred shares

 

(3,996,288

)

(3,661,975

)

 

 

 

 

 

 

Deemed dividend-Repurchase of redeemable convertible preferred shares

 

 

(160,891

)

 

 

 

 

 

 

Deemed dividend-Modification of redeemable convertible preferred shares

 

 

(423,979

)

 

 

 

 

 

 

Deemed dividend-Extinguishment loss of Series D redeemable convertible preferred shares

 

(296,677

)

 

 

 

 

 

 

 

Net loss attributable to ordinary shareholders—basic

 

(5,352,408

)

(5,610,325

)

(612,133

)

(94,082

)

(219,898

)

(33,798

)

(395,862

)

(60,843

)

Denominator:

 

 

 

 

 

 

 

 

 

 

 

 

 

 

 

 

 

Weighted average number of ordinary shares outstanding—basic

 

60,000,000

 

60,000,000

 

73,900,022

 

73,900,022

 

26,547,262

 

26,547,262

 

47,790,698

 

47,790,698

 

Basic loss per share

 

(89.21

)

(93.51

)

(8.28

)

(1.27

)

(8.28

)

(1.27

)

(8.28

)

(1.27

)

 

 

 

For the year ended December 31,

 

 

 

2015

 

2016

 

2017

 

2017

 

2017

 

2017

 

2017

 

2017

 

 

 

Ordinary
shares

 

Ordinary
shares

 

Class A

 

Class A

 

Class B

 

Class B

 

Class C

 

Class C

 

 

 

RMB

 

RMB

 

RMB

 

US$

 

RMB

 

US$

 

RMB

 

US$

 

Diluted loss per share:

 

 

 

 

 

 

 

 

 

 

 

 

 

 

 

 

 

Numerator:

 

 

 

 

 

 

 

 

 

 

 

 

 

 

 

 

 

Net loss attributable to ordinary shareholders—basic

 

(5,352,408

)

(5,610,325

)

(612,133

)

(94,082

)

(219,898

)

(33,798

)

(395,862

)

(60,843

)

Reallocation of net loss attributable to ordinary shareholders as a result of conversion of Class C and Class B to Class A ordinary shares (Note 19)

 

 

 

(615,760

)

(94,641

)

 

 

 

 

Net loss attributable to ordinary shareholders—diluted

 

(5,352,408

)

(5,610,325

)

(1,227,893

)

(188,723

)

(219,898

)

(33,798

)

(395,862

)

(60,843

)

Denominator:

 

 

 

 

 

 

 

 

 

 

 

 

 

 

 

 

 

Weighted average number of ordinary shares outstanding—basic

 

60,000,000

 

60,000,000

 

73,900,022

 

73,900,022

 

26,547,262

 

26,547,262

 

47,790,698

 

47,790,698

 

Conversion of Class C and Class B to Class A ordinary shares (Note 19)

 

 

 

74,337,960

 

74,337,960

 

 

 

 

 

Weighted average number of ordinary shares outstanding - diluted

 

60,000,000

 

60,000,000

 

148,237,982

 

148,237,982

 

26,547,262

 

26,547,262

 

47,790,698

 

47,790,698

 

Diluted loss per share

 

(89.21

)

(93.51

)

(8.28

)

(1.27

)

(8.28

)

(1.27

)

(8.28

)

(1.27

)

 

For the years ended December 31, 2015 and 2016, the computation of basic loss per share using the two-class method is not applicable as the Company is in a net loss position and the Preferred Shares do not have contractual rights and obligations to share in the losses of the Company. For the year ended December 31, 2017, the two-class method is applicable because the Company has three classes of ordinary shares outstanding, Class A, Class B and Class C ordinary shares, respectively (Note 19). The effects of all outstanding Preferred Shares, share options and restricted share units were excluded from the computation of diluted loss per share for the years ended December 31, 2015, 2016 and 2017 as their effects would be anti-dilutive.

 

F-59



Table of Contents

 

BEST INC.

 

NOTES TO THE CONSOLIDATED FINANCIAL STATEMENTS

FOR THE YEARS ENDED DECEMBER 31, 2015, 2016 AND 2017 (CONTINUED)

(Amounts in thousands of Renminbi (“RMB”) and US dollars (“US$”)

except for number of shares and per share data)

 

18.  SHARE-BASED PAYMENTS

 

2008 Stock Incentive Plan (the “2008 Plan”)

 

On June 4, 2008, the shareholders and Board of Directors of the Company approved the 2008 Plan, which is administrated by the Board of Directors and has a term of 10 years from the date of adoption. Under the 2008 Plan, the Company reserved 10,000,000 ordinary shares of the Company to its eligible employees, directors and officers of the Group and consultants. The purpose of the 2008 Plan is to attract and retain key employees, directors, officers and consultants of outstanding ability and to motivate them to exert their best efforts on behalf of the Group by providing incentives through granting awards. On October 25, 2011 and January 15, 2015, the shareholders and Board of Directors of the Company approved a resolution to increase the share option pool under the 2008 Plan to 16,239,033 and 20,934,684 ordinary shares, respectively.

 

The options granted under the 2008 Plan have a contractual term of 15 years and will become vested (but not exercisable) either (i) immediately upon grant; or (ii) with respect to 25% of the options on the first anniversary of the vesting period, and thereafter in thirty-six equal monthly installments of 2.09% each on the last day of every month that has elapsed following the first anniversary of the vesting period until the options are 100% vested.

 

The grantee can exercise vested options after the commencement date of exercise and before the earlier of: 1) its contractual term (i.e. 15 years after its grant date); or 2) 90 days after the grantee terminates their employment if the vested option has not been exercised. The commencement date of exercise is upon the Company’s IPO.

 

In July 2017, 12,599,520 vested options were exercised pursuant to a conditional one-time waiver of the “exercisable upon the Company’s IPO” condition by the Group (the “early exercise”). The early exercise was not considered substantive for accounting purposes in accordance with ASC 718-10-55-31.

 

2017 Stock Incentive Plan

 

In September 2017, the Company’s shareholders and Board of Directors approved the 2017 Equity Incentive Plan (the “2017 Plan”). The 2017 Plan provides for an aggregate amount of no more than 10,000,000 Class A ordinary shares to be issued. In addition, the number of Class A ordinary shares available to be issued under the 2017 Plan will automatically be increased by a maximum of 2% of the Company’s total outstanding shares at the end of preceding calendar year on January 1, 2019 and on every January 1 thereafter for eight years, provided that the aggregate amount of shares which may be subject to awards granted under the 2017 Plan does not exceed 10% of the Company’s total outstanding shares at the end of the preceding calendar year.

 

The options granted under the 2017 Plan have a contractual term no more than 10 years and will become vested with respect to 25% of the options on the first anniversary of the vesting period, and thereafter in thirty six equal monthly installments of 2.09% each on the last day of every month that has elapsed following the first anniversary of the vesting period until the options are 100% vested.

 

The grantee can exercise vested options after the commencement date of exercise and before the earlier of: 1) its contractual term (i.e. 10 years after its grant date); or 2) 90 days after the grantee terminates their employment if the vested option has not been exercised.

 

The restricted Class A ordinary shares (“Restricted Shares”) granted under the 2017 Plan have the same terms as the share options except that Restricted Shares do not require exercise and will become vested with respect to 25% of the options on the first, second, third and fourth anniversary of the vesting period until the Restricted Shares are 100% vested.

 

F-60



Table of Contents

 

BEST INC.

 

NOTES TO THE CONSOLIDATED FINANCIAL STATEMENTS

FOR THE YEARS ENDED DECEMBER 31, 2015, 2016 AND 2017 (CONTINUED)

(Amounts in thousands of Renminbi (“RMB”) and US dollars (“US$”)

except for number of shares and per share data)

 

18.  SHARE-BASED PAYMENTS (CONTINUED)

 

Options granted to employees

 

The options granted to employees are accounted for as equity awards and measured at their grant date fair values. Given that the inability of the grantees to exercise these options until the completion of the IPO constitutes a performance condition that is not considered probable until the IPO completion date, the Company did not recognize any compensation expense until the IPO occurred. Upon the IPO completion date, the Company immediately recognized expenses associated with options that were vested as of the IPO completion date amounting to RMB6,017 (US$925), RMB13,172 (US$2,024), RMB237,232 (US$36,462), and RMB24,268 (US$3,730) included in cost of revenues, selling expense, general and administrative expenses and research and development expenses, respectively. In addition, the Company also will recognize the remaining compensation expenses over the remaining service requisite period using the accelerated method.

 

A summary of the employee share option activity under the 2008 Plan is stated below:

 

 

 

Number of
options

 

Weighted-
average
exercise price

 

Weighted-
average
grant-date
fair value

 

Weighted-
average
remaining
contractual
term

 

Aggregate
intrinsic
Value

 

 

 

 

 

US$

 

US$

 

Years

 

US$

 

Outstanding, December 31, 2016

 

15,247,712

 

0.66

 

1.40

 

10.72

 

18,901

 

Granted

 

3,229,940

 

0.75

 

8.63

 

 

 

 

 

Exercised

 

(730,000

)

0.01

 

0.11

 

 

 

 

 

Forfeited

 

(332,152

)

0.75

 

4.91

 

 

 

 

 

Outstanding, December 31, 2017

 

17,415,500

 

0.70

 

2.73

 

11.07

 

144,235

 

Vested and expected to vest at December 31, 2017

 

17,415,500

 

0.70

 

2.73

 

11.07

 

144,235

 

Exercisable at December 31, 2017

 

12,547,575

 

0.68

 

1.06

 

9.91

 

104,172

 

 

The aggregate intrinsic value in the table above represents the difference between the closing share price on the last trading day in 2017 and the option’s respective exercise price. Total intrinsic value of options exercised for the years ended December 31, 2016 and 2017 was RMBnil and RMB51,771 (US$7,957) respectively.

 

The total weighted average grant-date fair value of the equity awards granted during the years ended December 31, 2015, 2016 and 2017 were US$2.35, US$5.22 and US$ 8.63 per option respectively. The total fair value of the equity awards vested during the years ended December 31, 2015, 2016 and 2017 were RMBnil, RMBnil and RMB87,812 (US$13,497), respectively.

 

As of December 31, 2017, the unrecognized compensation cost related to 4,867,925 unvested share options expected to vest was RMB136,976 (US$21,053). This unrecognized compensation will be recognized over an estimated weighted-average amortization period of 3.26 years. Total unrecognized compensation cost may be adjusted for actual forfeitures occurring in the future.

 

F-61



Table of Contents

 

BEST INC.

 

NOTES TO THE CONSOLIDATED FINANCIAL STATEMENTS

FOR THE YEARS ENDED DECEMBER 31, 2015, 2016 AND 2017 (CONTINUED)

(Amounts in thousands of Renminbi (“RMB”) and US dollars (“US$”)

except for number of shares and per share data)

 

18.  SHARE-BASED PAYMENTS (CONTINUED)

 

A summary of the employee share option activity under the 2017 Plan is stated below:

 

 

 

Number of
options

 

Weighted-
average
exercise price

 

Weighted-
average
grant-date
fair value

 

Weighted-
average
remaining
contractual
term

 

Aggregate
intrinsic
Value

 

 

 

 

 

US$

 

US$

 

Years

 

US$

 

Outstanding, December 31, 2016

 

 

 

 

 

 

Granted

 

40,000

 

11.08

 

5.08

 

 

 

 

 

Forfeited

 

 

 

 

 

 

 

 

Outstanding, December 31, 2017

 

40,000

 

11.08

 

5.08

 

9.83

 

 

Vested and expected to vest at December 31, 2017

 

40,000

 

11.08

 

5.08

 

9.83

 

 

Exercisable at December 31, 2017

 

 

 

 

 

 

 

The aggregate intrinsic value for the year ended December 31, 2017 was nil as the closing stock price on the last trading day in 2017 was lower than the option’s respective exercise price. Total intrinsic value of options exercised for the year ended December 31, 2017 was RMB nil as no options were exercised.

 

The total weighted average grant-date fair value of the equity awards granted during the years ended December 31, 2017 were US$nil, US$nil and US$5.08 per option respectively. The total fair value of the equity awards vested during the year ended December 31, 2017 were RMB nil, respectively.

 

As of December 31, 2017, the unrecognized compensation cost related to 40,000 unvested share options expected to vest was RMB1,313 (US$202). This unrecognized compensation will be recognized over an estimated weighted-average amortization period of 3.83 years. Total unrecognized compensation cost may be adjusted for actual forfeitures occurring in the future.

 

Fair value of employee share options

 

The fair value of share options was determined using the binomial option valuation model, with the assistance from an independent third-party appraiser. The binomial model requires the input of highly subjective assumptions, including the expected share price volatility and the suboptimal early exercise factor. For expected volatilities, the Company has made reference to historical volatilities of several comparable companies. The suboptimal early exercise factor was estimated based on the Company’s expectation of exercise behavior of the grantees. The risk-free rate for periods within the contractual life of the options is based on the market yield of U.S. Treasury Bonds in effect at the time of grant. Prior to the IPO, the estimated fair value of the ordinary shares, at the option grant dates, was determined with the assistance from an independent third-party appraiser. Subsequent to the IPO, fair value of the ordinary shares is the price of the Company’s publicly traded shares. The Company’s management is ultimately responsible for the determination of the estimated fair value of its ordinary shares.

 

F-62



Table of Contents

 

BEST INC.

 

NOTES TO THE CONSOLIDATED FINANCIAL STATEMENTS

FOR THE YEARS ENDED DECEMBER 31, 2015, 2016 AND 2017 (CONTINUED)

(Amounts in thousands of Renminbi (“RMB”) and US dollars (“US$”)

except for number of shares and per share data)

 

18.  SHARE-BASED PAYMENTS (CONTINUED)

 

Fair value of employee share options (continued)

 

The assumptions used to estimate the fair value of the share options granted to employees are as follows:

 

 

 

For the year ended December 31,

 

 

 

2015

 

2016

 

2017

 

Risk-free interest rate

 

2.13% ~ 2.27%

 

1.49% ~ 2.45%

 

2.32% ~ 2.41%

 

Expected volatility range

 

37.8% ~ 38.0%

 

37.5% ~ 37.8%

 

40.5% ~ 44.1%

 

Suboptimal exercise factor

 

2.20

 

2.20

 

2.20

 

Fair market value per ordinary share

 

US$2.51 ~ $3.78

 

US$5.17 ~ $5.53

 

US$5.08 ~ $11.24

 

 

Options granted to non-employees

 

Modification of non-employee options

 

On June 21, 2017 (“Modification Date”), all outstanding options amount to 1,500,154 shares granted to non-employees under 2008 Plan except for one external consultant amount to 50,000 shares were modified to be fully vested on the Modification Date, and exercisable upon the Company’s IPO. Therefore, upon the IPO completion date, the Company immediately recognized expenses amounting to RMB117,578 (US$18,071) associated with those non-employee options under the 2008 Plan that are vested as of the IPO completion date. In addition, the Company will also recognize remaining compensation expenses for the one external consultant over the remaining service requisite period using the accelerated method.

 

A summary of the non-employee share option activity under the 2008 Plan is stated below:

 

 

 

Number of
options

 

Weighted-
average
exercise price

 

Weighted-
average
grant-date
fair value

 

Weighted-
average
remaining
contractual
term

 

Aggregate
intrinsic
Value

 

 

 

 

 

US$

 

US$

 

Years

 

US$

 

Outstanding, December 31, 2016

 

1,500,154

 

0.62

 

0.91

 

10.03

 

1,057

 

Granted

 

166,500

 

0.75

 

9.05

 

 

 

 

 

Forfeited

 

 

 

 

 

 

 

 

Outstanding, December 31, 2017

 

1,666,654

 

0.63

 

1.72

 

9.81

 

13,907

 

Vested and expected to vest at December 31, 2017

 

1,666,654

 

0.63

 

1.72

 

9.81

 

13,907

 

Exercisable at December 31, 2017

 

1,636,529

 

0.63

 

1.67

 

9.74

 

13,659

 

 

The aggregate intrinsic value in the table above represents the difference between the closing stock price on the last trading day in 2017 and the option’s respective exercise price. Total intrinsic value of options exercised for the years ended December 31, 2016 and 2017 was nil as no options were exercised.

 

F-63



Table of Contents

 

BEST INC.

 

NOTES TO THE CONSOLIDATED FINANCIAL STATEMENTS

FOR THE YEARS ENDED DECEMBER 31, 2015, 2016 AND 2017 (CONTINUED)

(Amounts in thousands of Renminbi (“RMB”) and US dollars (“US$”)

except for number of shares and per share data)

 

18.  SHARE-BASED PAYMENTS (CONTINUED)

 

Options granted to non-employees (continued)

 

The total weighted average grant-date fair value of the equity awards granted during the years ended December 31, 2015, 2016 and 2017 were US$3.03, US$5.17 and US$ 9.05 per option, respectively. The total fair value of the equity awards vested during the years ended December 31, 2015, 2016 and 2017 were nil, nil and RMB118,002 (US$18,137), respectively.

 

As of December 31, 2017, there was RMB680 (US$104) of total unrecognized non-employee share-based compensation expenses related to 30,125 unvested share- based awards which were expected to be recognized over a weighted-average period of 2.54 years. Total unrecognized compensation cost may be adjusted for actual forfeitures occurring in the future.

 

Restricted Shares

 

The following table summarizes the Company’s Restricted Shares activity under the 2017 Plan:

 

 

 

Number of
shares

 

Weighted-
average
grant-date fair value

 

 

 

 

 

US$

 

Outstanding, December 31, 2016

 

 

 

Granted

 

38,500

 

10.19

 

Forfeited

 

 

 

Outstanding, December 31, 2017

 

38,500

 

10.19

 

Vested and expected to vest at December 31, 2017

 

38,500

 

10.19

 

 

The weighted average grant-date fair value of Restricted Shares granted during the year ended December 31, 2017 was US$10.19, which was derived from the fair value of the underlying ordinary shares. As of December 31, 2017, there was RMB2,586 (US$397) of total unrecognized non-employee share-based compensation expenses related to unvested Restricted Shares expected to vest which are expected to be recognized over a weighted-average period of 3.91 years. Total unrecognized compensation cost may be adjusted for actual forfeitures occurring in the future.

 

The following table summarizes the total share-based compensation expense recognized by the Company:

 

 

 

For the year ended December 31,

 

 

 

2015

 

2016

 

2017

 

2017

 

 

 

RMB

 

RMB

 

RMB

 

US$

 

Expensed as cost of revenues

 

 

 

6,799

 

1,045

 

Expensed as general and administrative

 

 

 

251,312

 

38,626

 

Expensed as selling

 

 

 

14,244

 

2,189

 

Expensed as research and development

 

 

 

26,608

 

4,090

 

Total share-based compensation expenses

 

 

 

298,963

 

45,950

 

 

F-64



Table of Contents

 

BEST INC.

 

NOTES TO THE CONSOLIDATED FINANCIAL STATEMENTS

FOR THE YEARS ENDED DECEMBER 31, 2015, 2016 AND 2017 (CONTINUED)

(Amounts in thousands of Renminbi (“RMB”) and US dollars (“US$”)

except for number of shares and per share data)

 

19. SHAREHOLDERS’ EQUITY

 

Pursuant to the Company’s memorandum and articles of association, upon the completion of the IPO, all the outstanding Preferred Shares will automatically be converted into 264,034,399 ordinary shares and all outstanding ordinary shares, will be re-designated into 182,168,452 Class A ordinary shares, 94,075,249 Class B ordinary shares and 47,790,698 Class C ordinary shares, respectively. The participating rights (liquidation and dividend rights) of the Class A, Class B and Class C ordinary shares are identical, except with respect to voting and conversion rights. Holders of Class A, Class B and Class C ordinary shares shall vote together as one class on all resolutions submitted to a vote by the shareholders (except with respect to the modification of the rights of any class of ordinary shares). Each share of Class A, Class B and Class C ordinary shares entitle the holder thereof to one vote per share, fifteen votes per share and thirty votes per share on all matters subject to vote at general meetings of BEST Inc. respectively, Each share of Class B and Class C ordinary share is convertible into one Class A ordinary share at any time at the option of the holder thereof. The right to convert shall be exercisable by the holder of Class B ordinary share or Class C ordinary share delivering a written notice to the Company that such holders elect to convert a specific number of Class B or Class C ordinary share into Class A ordinary share (Note 17). In no event shall Class A ordinary shares be convertible into Class B or Class C ordinary shares. In no event shall Class B ordinary shares be convertible into Class C ordinary shares, nor shall Class C ordinary shares be convertible into Class B ordinary shares.

 

On September 20, 2017, the Company completed its IPO on the New York Stock Exchange. The Company offered 45,000,000 ADSs representing 45,000,000 Class A ordinary shares at US$10.00 per ADS. Additionally, the underwriters exercised their options to purchase an additional 4,750,000 and 2,000,000 ADSs at US$10.00 per ADS, representing 4,750,000 and 2,000,000 Class A ordinary shares, from the Company and selling shareholders, respectively. Net proceeds from the IPO including the over-allotment option after deducting underwriting discount were RMB3,151,007 (US$484,301). Deferred IPO costs of RMB30,646 (US$4,710) were recorded as a reduction of the proceeds from the IPO in shareholders’ equity.

 

Upon completion of the IPO, all outstanding 264,034,399 Preferred Shares were converted on a one-for-one basis into 169,959,150 Class A ordinary shares and 94,075,249 Class B ordinary shares, respectively, and the related aggregate carrying value of RMB15,842,210 was reclassified from mezzanine equity to shareholders’ equity. Upon completion of the IPO, all 60,000,000 outstanding ordinary shares were converted on a one-for-one basis into 12,209,302 Class A ordinary shares and 47,790,698 Class C ordinary shares, respectively.

 

For the years ended December 31, 2015, 2016 and 2017, nil, nil and 730,000 Class A ordinary shares were issued pursuant to exercise of share options.

 

As of December 31, 2017, the Company had ordinary shares outstanding comprising of 232,648,452 Class A ordinary shares, 94,075,249 Class B ordinary shares and 47,790,698 of Class C ordinary shares, respectively. No Class B or Class C ordinary shares were converted into Class A ordinary shares as of December 31, 2017.

 

F-65



Table of Contents

 

BEST INC.

 

NOTES TO THE CONSOLIDATED FINANCIAL STATEMENTS

FOR THE YEARS ENDED DECEMBER 31, 2015, 2016 AND 2017 (CONTINUED)

(Amounts in thousands of Renminbi (“RMB”) and US dollars (“US$”)

except for number of shares and per share data)

 

20.  RELATED PARTY TRANSACTIONS

 

a)                                     Related Parties

 

Name of Related Parties

 

Relationship with the Group

Mr. Shao-Ning Johnny Chou

 

A shareholder and senior executive of the Group

Zhejiang Cainiao Supply Chain Management Co. Ltd (“Cainiao”)

 

Entity controlled by a principal shareholder of the Group

 

b)                                     The Group had the following related party transactions:

 

 

 

For the years ended December 31,

 

 

 

2015

 

2016

 

2017

 

2017

 

 

 

RMB

 

RMB

 

RMB

 

US$

 

Rendering of express delivery and supply chain management services:

 

 

 

 

 

 

 

 

 

Cainiao

 

61,619

 

271,422

 

489,999

 

75,311

 

 

 

 

For the years ended December 31,

 

 

 

2015

 

2016

 

2017

 

2017

 

 

 

RMB

 

RMB

 

RMB

 

US$

 

Rental of warehouse as a lessee:

 

 

 

 

 

 

 

 

 

Cainiao

 

 

 

8,731

 

1,342

 

 

 

 

For the years ended December 31,

 

 

 

2015

 

2016

 

2017

 

2017

 

 

 

RMB

 

RMB

 

RMB

 

US$

 

Operating costs paid on behalf of the Company:

 

 

 

 

 

 

 

 

 

Cainiao

 

 

 

19,892

 

3,057

 

 

c)                                      The Group had the following related party balances at the end of the year:

 

 

 

As at December 31

 

 

 

2016

 

2017

 

2017

 

 

 

RMB

 

RMB

 

US$

 

Amounts due from related parties:

 

 

 

 

 

 

 

Cainiao

 

83,302

 

164,894

 

25,344

 

 

 

 

As at December 31

 

 

 

2016

 

2017

 

2017

 

 

 

RMB

 

RMB

 

US$

 

Amounts due to related parties:

 

 

 

 

 

 

 

Cainiao

 

 

12,011

 

1,846

 

Entity controlled by a principal shareholder

 

891

 

891

 

137

 

 

 

891

 

12,902

 

1,983

 

 

F-66



Table of Contents

 

BEST INC.

 

NOTES TO THE CONSOLIDATED FINANCIAL STATEMENTS

FOR THE YEARS ENDED DECEMBER 31, 2015, 2016 AND 2017 (CONTINUED)

(Amounts in thousands of Renminbi (“RMB”) and US dollars (“US$”)

except for number of shares and per share data)

 

20.  RELATED PARTY TRANSACTIONS (CONTINUED)

 

Included in Notes 12 and 13, is a guarantee by a senior executive of the Group’s short-term bank loans, and a payable to former and current shareholders for repurchases of preferred shares as of December 31, 2016. The payable to the former and current shareholders was paid off during the year ended December 31, 2017 (Note 13).

 

21.  SEGMENT REPORTING

 

The Group has determined that it operates in five operating segments: (1) Supply chain management services, (2) Express delivery services, (3) Freight delivery services, (4) Store+ services, and (5) Others. The “Others” category principally relates to finance leasing and cross-border logistic services. The operating segments also represented the reporting segments.

 

The chief operating decision maker (“CODM”) has been identified as the Chief Executive Officer. The CODM assesses the performance of the operating segments based on the measures of revenue, cost of revenue and gross profit/(loss). Other than the information provided below, the CODM does not use any other measures by segments. The Group currently does not allocate assets to its operating segments, as the CODM does not use such information to allocate resources to or evaluate the performance of the operating segments. As most of the Group’s long-lived assets are located in the PRC and most of the Group’s revenue are derived from the PRC, no geographical information is presented.

 

F-67



Table of Contents

 

BEST INC.

 

NOTES TO THE CONSOLIDATED FINANCIAL STATEMENTS

FOR THE YEARS ENDED DECEMBER 31, 2015, 2016 AND 2017 (CONTINUED)

(Amounts in thousands of Renminbi (“RMB”) and US dollars (“US$”)

except for number of shares and per share data)

 

21.   SEGMENT REPORTING (CONTINUED)

 

The table below provides a summary of the Group’s operating segment results for the years ended December 31, 2015, 2016 and 2017.

 

 

 

For the year ended December 31,

 

 

 

2015

 

2016

 

2017

 

2017

 

 

 

RMB

 

RMB

 

RMB

 

US$

 

Revenue:

 

 

 

 

 

 

 

 

 

Supply chain management

 

861,753

 

1,363,468

 

1,854,356

 

285,009

 

Express delivery

 

3,758,956

 

5,412,729

 

12,850,067

 

1,975,019

 

Freight delivery

 

680,746

 

1,609,391

 

3,178,850

 

488,580

 

Store+

 

9,700

 

560,226

 

2,226,034

 

342,135

 

Others

 

32,023

 

125,456

 

649,784

 

99,870

 

Inter-segment*

 

(86,851

)

(227,133

)

(769,529

)

(118,274

)

Total revenue

 

5,256,327

 

8,844,137

 

19,989,562

 

3,072,339

 

Cost of revenue:

 

 

 

 

 

 

 

 

 

Supply chain management

 

823,356

 

1,297,227

 

1,746,999

 

268,509

 

Express delivery

 

4,087,157

 

5,696,746

 

12,508,090

 

1,922,458

 

Freight delivery

 

929,708

 

1,912,750

 

3,363,457

 

516,954

 

Store+

 

9,714

 

569,557

 

2,072,912

 

318,601

 

Others

 

27,583

 

122,239

 

573,581

 

88,158

 

Inter-segment*

 

(86,810

)

(221,952

)

(761,028

)

(116,968

)

Total cost of revenue

 

5,790,708

 

9,376,567

 

19,504,011

 

2,997,712

 

Gross (loss)/profit:

 

 

 

 

 

 

 

 

 

Supply chain management

 

38,397

 

66,241

 

107,357

 

16,500

 

Express delivery

 

(328,201

)

(284,017

)

341,977

 

52,561

 

Freight delivery

 

(248,962

)

(303,359

)

(184,607

)

(28,374

)

Store+

 

(14

)

(9,331

)

153,122

 

23,534

 

Others

 

4,440

 

3,217

 

76,203

 

11,712

 

Inter-segment*

 

(41

)

(5,181

)

(8,501

)

(1,306

)

Total gross (loss)/profit

 

(534,381

)

(532,430

)

485,551

 

74,627

 

 


(*)                                     The inter-segment eliminations mainly consist of (i) express delivery services provided by the Express delivery services segment to the Supply chain management services segment; and (ii) supply chain management services provided by the Supply chain management services segment to the Store+ services segment, and (iii) services provided by the Others segment to the Express delivery services, Freight delivery services and Supply chain management services segment, for the years ended December 31, 2015, 2016 and 2017, respectively.

 

F-68



Table of Contents

 

BEST INC.

 

NOTES TO THE CONSOLIDATED FINANCIAL STATEMENTS

FOR THE YEARS ENDED DECEMBER 31, 2015, 2016 AND 2017 (CONTINUED)

(Amounts in thousands of Renminbi (“RMB”) and US dollars (“US$”)

except for number of shares and per share data)

 

22.  FAIR VALUE MEASUREMENTS

 

The Company applies ASC 820, Fair Value Measurements and Disclosures. ASC 820 defines fair value, establishes a framework for measuring fair value and expands disclosures about fair value measurements. ASC 820 requires disclosures to be provided for fair value measurements.

 

ASC 820 establishes a three-tier fair value hierarchy, which prioritizes the inputs used in measuring fair value as follows:

 

Level 1—Observable inputs that reflect quoted prices (unadjusted) for identical assets or liabilities in active markets.

 

Level 2—Includes other inputs that are directly or indirectly observable in the marketplace.

 

Level 3—Unobservable inputs which are supported by little or no market activity.

 

ASC 820 describes three main approaches to measuring the fair value of assets and liabilities: (1) market approach; (2) income approach; and (3) cost approach. The market approach uses prices and other relevant information generated from market transactions involving identical or comparable assets or liabilities. The income approach uses valuation techniques to convert future amounts to a single present value amount. The measurement is based on the value indicated by current market expectations about those future amounts. The cost approach is based on the amount that would currently be required to replace an asset.

 

The following tables illustrate the fair value measurement hierarchy of the Group’s financial instruments:

 

 

 

Fair value measurements as at December 31, 2016 using

 

 

 

Quoted
prices in
active
markets
(Level 1)

 

Significant
observable
inputs
(Level 2)

 

Significant
unobservable
inputs
(Level 3)

 

Total

 

 

 

 

RMB

 

RMB

 

RMB

 

RMB

 

 

Recurring fair value measurement for:

 

 

 

 

 

 

 

 

 

 

Derivative

 

 

3,149

 

 

3,149

 

 

 

As of December 31, 2016, the derivative represented a forward exchange rate contract that did not qualify for hedge accounting in accordance with ASC 815. The derivative is accounted for at fair value by recording the unrealized mark-to-market (fair value adjustment) in each period in the consolidated statements of comprehensive loss within “Foreign exchange (loss) gain”. The fair value of the derivative is determined utilizing market observable forward exchange rates. During all periods presented, there were no changes in valuation technique; or transfers in and out of each level. The forward exchange rate contract matured on January 12, 2017 resulting in a RMB nil (US$ nil) balance as of December 31, 2017. Therefore, there were no recurring fair value measurements as at December 31, 2017.

 

F-69



Table of Contents

 

BEST INC.

 

NOTES TO THE CONSOLIDATED FINANCIAL STATEMENTS

FOR THE YEARS ENDED DECEMBER 31, 2015, 2016 AND 2017 (CONTINUED)

(Amounts in thousands of Renminbi (“RMB”) and US dollars (“US$”)

except for number of shares and per share data)

 

23.  COMMITMENTS AND CONTINGENCIES

 

Operating lease commitments

 

Future minimum payments under non-cancelable operating leases with initial terms in excess of one year consist of the following as of December 31, 2017:

 

 

 

RMB

 

US$

 

2018

 

971,666

 

149,342

 

2019

 

788,543

 

121,197

 

2020

 

684,938

 

105,273

 

2021

 

604,309

 

92,881

 

2022

 

523,446

 

80,452

 

 

 

3,572,902

 

549,145

 

 

Payments under operating leases are expensed on a straight-line basis over the periods of their respective leases. Certain of the Group’s lease arrangements have renewal options and rent escalation clauses but no restrictions or contingent rents. For the years ended December 31, 2015, 2016 and 2017, total rental expenses for all operating leases amounted to approximately RMB475,403, RMB772,819 and RMB981,737 (US$150,890), respectively.

 

Capital expenditure commitments

 

The Group has commitments for the construction of warehouses, hubs and sortation centers and related equipments of RMB161,478 (US$24,819) at December 31, 2017, which are scheduled to be paid within one year.

 

Contingencies

 

From time to time, the Group is subject to legal proceedings, investigations, and claims incidental to the conduct of its business. The Group is currently not involved in any legal or administrative proceedings that may have a material adverse impact on the Group’s business, financial position or results of operations.

 

24.  EMPLOYEE DEFINED CONTRIBUTION PLAN

 

Full time employees of the Group in the PRC participate in a government mandated defined contribution plan, pursuant to which certain pension benefits, medical care, employee housing fund and other welfare benefits are provided to employees. Chinese labor regulations require that the PRC subsidiaries and VIE of the Group make contributions to the government for these benefits based on certain percentages of the employees’ salaries. The Group has no legal obligation for the benefits beyond the contributions made. The total amounts for such employee benefits, which were expensed as incurred, were approximately RMB143,166, RMB220,952 and RMB219,646 (US$33,759) for the years ended December 31, 2015, 2016 and 2017, respectively.

 

F-70



Table of Contents

 

BEST INC.

 

NOTES TO THE CONSOLIDATED FINANCIAL STATEMENTS

FOR THE YEARS ENDED DECEMBER 31, 2015, 2016 AND 2017 (CONTINUED)

(Amounts in thousands of Renminbi (“RMB”) and US dollars (“US$”)

except for number of shares and per share data)

 

25.  ACCUMULATED OTHER COMPREHENSIVE (LOSS)/ INCOME

 

 

 

RMB

 

Balance as of January 1, 2015

 

(9,387

)

Foreign currency translation adjustments

 

26,182

 

Balance as of December 31, 2015

 

16,795

 

Foreign currency translation adjustments

 

129,305

 

Balance as of December 31, 2016

 

146,100

 

Foreign currency translation adjustments

 

(133,767

)

Balance as of December 31, 2017

 

12,333

 

Balance as of December 31, 2017 (US$)

 

1,896

 

 

There have been no reclassifications out of accumulated other comprehensive loss to net loss for all the periods presented.

 

F-71



Table of Contents

 

BEST INC.

 

NOTES TO THE CONSOLIDATED FINANCIAL STATEMENTS

FOR THE YEARS ENDED DECEMBER 31, 2015, 2016 AND 2017 (CONTINUED)

(Amounts in thousands of Renminbi (“RMB”) and US dollars (“US$”)

except for number of shares and per share data)

 

26.  CONDENSED FINANCIAL INFORMATION OF THE PARENT COMPANY

 

Condensed Balance Sheets

 

 

 

 

 

As at December 31

 

 

 

Notes

 

2016

 

2017

 

2017

 

 

 

 

 

RMB

 

RMB

 

US$

 

Current assets:

 

 

 

 

 

 

 

 

 

Cash

 

 

 

20,445

 

39,135

 

6,015

 

Prepayments and other current assets

 

 

 

 

3,263

 

502

 

Total current assets

 

 

 

20,445

 

42,398

 

6,517

 

Non-current assets:

 

 

 

 

 

 

 

 

 

Other non-current assets

 

 

 

 

4,724

 

726

 

Investments in subsidiaries

 

 

 

2,485,272

 

4,491,263

 

690,295

 

Total non-current assets:

 

 

 

2,485,272

 

4,495,987

 

691,021

 

Total assets

 

 

 

2,505,717

 

4,538,385

 

697,538

 

Current liabilities:

 

 

 

 

 

 

 

 

 

Accrued liabilities and other payables

 

 

 

97,118

 

49,950

 

7,677

 

Non-current liabilities:

 

 

 

 

 

 

 

 

 

Long-term payable due to subsidiaries

 

 

 

74,494

 

96,618

 

14,850

 

Total liabilities

 

 

 

171,612

 

146,568

 

22,527

 

 

F-72



Table of Contents

 

BEST INC.

 

NOTES TO THE CONSOLIDATED FINANCIAL STATEMENTS

FOR THE YEARS ENDED DECEMBER 31, 2015, 2016 AND 2017 (CONTINUED)

(Amounts in thousands of Renminbi (“RMB”) and US dollars (“US$”)

except for number of shares and per share data)

 

26.  CONDENSED FINANCIAL INFORMATION OF THE PARENT COMPANY (CONTINUED)

 

Condensed Balance Sheets (continued)

 

 

 

 

 

As at December 31

 

 

 

Notes

 

2016

 

2017

 

2017

 

 

 

 

 

RMB

 

RMB

 

US$

 

Mezzanine equity:

 

 

 

 

 

 

 

 

 

Series A redeemable convertible preferred shares (par value of US$0.01 and US$ nil per share as of December 31, 2016 and 2017; 30,000,000 and nil shares authorized, issued and outstanding as of December 31, 2016 and 2017, respectively)

 

14

 

1,510,352

 

 

 

Series B redeemable convertible preferred shares (par value of US$0.01 and US$ nil per share as of December 31, 2016 and 2017; 20,000,000 and nil shares authorized as of December 31, 2016 and 2017, 10,343,535 and nil shares issued and outstanding as of December 31, 2016 and 2017, respectively)

 

14

 

521,648

 

 

 

Series C redeemable convertible preferred shares (par value of US$0.01 and US$ nil per share as of December 31, 2016 and 2017; 16,173,914 and nil shares authorized as of December 31, 2016 and 2017, 12,981,287 and nil shares issued and outstanding as of December 31, 2016 and 2017, respectively)

 

14

 

652,194

 

 

 

Series D redeemable convertible preferred shares (par value of US$0.01 and US$ nil per share as of December 31, 2016 and 2017; 29,896,623 and nil shares authorized as of December 31, 2016 and 2017, 28,820,219 and nil shares issued and outstanding as of December 31, 2016 and 2017, respectively)

 

14

 

1,445,547

 

 

 

Series E redeemable convertible preferred shares (par value of US$0.01 and US$ nil per share as of December 31, 2016 and 2017; 42,731,874 and nil shares authorized as of December 31, 2016 and 2017, 41,177,988 and nil shares issued and outstanding as of December 31, 2016 and 2017, respectively)

 

14

 

2,040,782

 

 

 

 

F-73



Table of Contents

 

BEST INC.

 

NOTES TO THE CONSOLIDATED FINANCIAL STATEMENTS

FOR THE YEARS ENDED DECEMBER 31, 2015, 2016 AND 2017 (CONTINUED)

(Amounts in thousands of Renminbi (“RMB”) and US dollars (“US$”)

except for number of shares and per share data)

 

26.  CONDENSED FINANCIAL INFORMATION OF THE PARENT COMPANY (CONTINUED)

 

Condensed Balance Sheets (continued)

 

 

 

 

 

As at December 31

 

 

 

Notes

 

2016

 

2017

 

2017

 

 

 

 

 

RMB

 

RMB

 

US$

 

Series F redeemable convertible preferred shares (par value of US$0.01 and US$ nil per share as of December 31, 2016 and 2017; 56,680,441 and nil shares authorized, issued and outstanding as of December 31, 2016 and 2017, respectively)

 

14

 

2,806,393

 

 

 

Series G-1 redeemable convertible preferred shares (par value of US$0.01 and US$ nil per share as of December 31, 2016 and 2017; 15,479,382 and nil shares authorized, issued and outstanding as of December 31, 2016 and 2017, respectively)

 

14

 

1,280,749

 

 

 

Series G-2 redeemable convertible preferred shares (par value of US$0.01 and US$ nil per share as of December 31, 2016 and 2017; 68,551,547 and nil shares authorized, issued and outstanding as of December 31, 2016 and 2017, respectively)

 

14

 

5,584,545

 

 

 

Total mezzanine equity

 

 

 

15,842,210

 

 

 

 

F-74



Table of Contents

 

BEST INC.

 

NOTES TO THE CONSOLIDATED FINANCIAL STATEMENTS

FOR THE YEARS ENDED DECEMBER 31, 2015, 2016 AND 2017 (CONTINUED)

(Amounts in thousands of Renminbi (“RMB”) and US dollars (“US$”)

except for number of shares and per share data)

 

26.  CONDENSED FINANCIAL INFORMATION OF THE PARENT COMPANY (CONTINUED)

 

Condensed Balance Sheets (continued)

 

 

 

 

 

As at December 31

 

 

 

Notes

 

2016

 

2017

 

2017

 

 

 

 

 

RMB

 

RMB

 

US$

 

Shareholders’ (deficit)/equity :

 

 

 

 

 

 

 

 

 

Ordinary shares (par value of US$0.01 and US$ nil per share as of December 31, 2016 and 2017; 420,486,219 shares authorized as of December 31, 2016 and 2017; 60,000,000 and nil shares issued and outstanding as of December 31, 2016 and 2017, respectively)

 

19

 

4,116

 

 

 

Class A ordinary shares (par value of US$ nil and US$0.01 per share as of December 31, 2016 and 2017; nil and 1,858,134,053 shares authorized as of December 31, 2016 and 2017; nil and 232,648,452 shares issued and outstanding as of December 31, 2016 and 2017, respectively)

 

19

 

 

15,330

 

2,356

 

Class B ordinary shares (par value of US$ nil and US$0.01 per share as of December 31, 2016 and 2017; nil and 94,075,249 shares authorized, issued and outstanding as of December 31, 2016 and 2017, respectively)

 

19

 

 

6,178

 

950

 

Class C ordinary shares (par value of US$ nil and US$0.01 per share as of December 31, 2016 and 2017; nil and 47,790,698 shares authorized, issued and outstanding as of December 31, 2016 and 2017, respectively)

 

19

 

 

3,278

 

504

 

Additional paid in capital

 

 

 

 

19,240,912

 

2,957,274

 

Accumulated deficit

 

 

 

(13,658,321

)

(14,886,214

)

(2,287,969

)

Accumulated other comprehensive income

 

 

 

146,100

 

12,333

 

1,896

 

BEST Inc. shareholders’ (deficit)/equity

 

 

 

(13,508,105

)

4,391,817

 

675,011

 

Total liabilities, mezzanine equity and shareholders’ (deficit)/equity

 

 

 

2,505,717

 

4,538,385

 

697,538

 

 

F-75



Table of Contents

 

BEST INC.

 

NOTES TO THE CONSOLIDATED FINANCIAL STATEMENTS

FOR THE YEARS ENDED DECEMBER 31, 2015, 2016 AND 2017 (CONTINUED)

(Amounts in thousands of Renminbi (“RMB”) and US dollars (“US$”)

except for number of shares and per share data)

 

26.  CONDENSED FINANCIAL INFORMATION OF THE PARENT COMPANY (CONTINUED)

 

Condensed Statements of Comprehensive Loss

 

 

 

For the years ended December 31,

 

 

 

2015

 

2016

 

2017

 

2017

 

 

 

RMB

 

RMB

 

RMB

 

US$

 

Operating expenses

 

 

 

 

 

 

 

 

 

General and administrative expenses

 

(831

)

(8,419

)

(30

)

(5

)

Operating loss

 

(831

)

(8,419

)

(30

)

(5

)

Share of losses of subsidiaries and VIE

 

(860,033

)

(1,658,038

)

(1,227,847

)

(188,716

)

Interest expense

 

 

 

(30

)

(4

)

Interest income

 

2

 

570

 

14

 

2

 

Net loss

 

(860,862

)

(1,665,887

)

(1,227,893

)

(188,723

)

Accretion to redemption value of Redeemable Convertible Preferred Shares

 

(3,996,288

)

(3,661,975

)

 

 

Deemed dividend—Repurchase of Redeemable Convertible Preferred Shares

 

 

(160,891

)

 

 

Deemed dividend—Modification of Redeemable Convertible Preferred Shares

 

 

(423,979

)

 

 

Deemed dividend—Extinguishment loss of Series D Redeemable Convertible Preferred Shares

 

(296,677

)

 

 

 

Net loss attributable to ordinary shareholders

 

(5,153,827

)

(5,912,732

)

(1,227,893

)

(188,723

)

Other comprehensive income (loss), net of tax of nil Foreign currency translation adjustments

 

26,182

 

73,368

 

(133,767

)

(20,560

)

Comprehensive loss

 

(834,680

)

(1,592,519

)

(1,361,660

)

(209,283

)

 

Condensed Statements of Cash Flows

 

 

 

For the years ended December 31,

 

 

 

2015

 

2016

 

2017

 

2017

 

 

 

RMB

 

RMB

 

RMB

 

US$

 

Net cash (used in)/generate from operating activities

 

(831

)

(8,419

)

56,730

 

8,719

 

Net cash used in investing activities

 

(952,309

)

(6,907,867

)

(3,069,955

)

(471,843

)

Net cash generated from financing activities

 

953,150

 

6,936,720

 

3,031,915

 

465,997

 

Net increase in cash and cash equivalents

 

10

 

20,434

 

18,690

 

2,873

 

Cash and cash equivalents at beginning of the year

 

1

 

11

 

20,445

 

3,142

 

Cash and cash equivalents at end of the year

 

11

 

20,445

 

39,135

 

6,015

 

 

F-76



Table of Contents

 

BEST INC.

 

NOTES TO THE CONSOLIDATED FINANCIAL STATEMENTS

FOR THE YEARS ENDED DECEMBER 31, 2015, 2016 AND 2017 (CONTINUED)

(Amounts in thousands of Renminbi (“RMB”) and US dollars (“US$”)

except for number of shares and per share data)

 

26.  CONDENSED FINANCIAL INFORMATION OF THE PARENT COMPANY (CONTINUED)

 

Basis of presentation

 

For the presentation of the parent company only condensed financial information, the Company records its investments in subsidiaries and VIE under the equity method of accounting as prescribed in ASC 323, Investments—Equity Method and Joint Ventures. Such investments are presented on the condensed balance sheets as “Investments in subsidiaries” and the subsidiaries’ and VIE’s losses as “Share of losses of subsidiaries and VIE” on the condensed statements of comprehensive loss.

 

The subsidiaries did not pay any dividends to the Company for the periods presented.

 

The Company does not have significant commitments or long-term obligations as of the period end other than those presented.

 

The parent company only financial statements should be read in conjunction with the Company’s consolidated financial statements.

 

F-77